|
|
(21), (22) Заявка: 2006109777/28, 27.03.2006
(24) Дата начала отсчета срока действия патента:
27.03.2006
(46) Опубликовано: 20.09.2007
(56) Список документов, цитированных в отчете о поиске:
Газета «Энергетика и промышленность России», №2 (54) февраль 2005, рис.1 «в». RU 25095 U1, 10.09.2002. SU 1815715 A1, 15.05.1993. SU 1359760 A1, 15.12.1987. WO 01/14897 A1, 01.03.2001.
Адрес для переписки:
630084, г.Новосибирск, ул. Авиастроителей, 2/2, кв.59, Я.М. Пикману
|
(72) Автор(ы):
Пикман Яков Маркович (RU)
(73) Патентообладатель(и):
Пикман Яков Маркович (RU)
|
(54) УСТРОЙСТВО ДЛЯ ОЦЕНКИ НАДЕЖНОСТИ ОГРАНИЧИТЕЛЯ ПЕРЕНАПРЯЖЕНИЯ НЕЛИНЕЙНОГО
(57) Реферат:
Предложенное техническое решение относится к области измерительной техники и может быть использовано для проведения оценки надежности ограничителя перенапряжения нелинейного, постоянно находящегося под рабочим напряжением. Технический результат данного изобретения заключается в исключении сложной технической и конструктивной реализации устройств для оценки надежности ограничителя перенапряжения нелинейного. Устройство для оценки надежности ограничителя перенапряжения нелинейного содержит источник электрического напряжения, один нелинейный резистор, источник электрического напряжения, резистор, схему измерения, дополнительный нелинейный резистор с отверстием, выполненным в его центральной части, электроконтактно установленный своей верхней торцевой поверхностью на нижней торцевой поверхности, как минимум, одного нелинейного резистора испытываемого ограничителя перенапряжения нелинейного, при этом дополнительный нелинейный резистор выполнен с высотой много меньшей, чем высота как минимум, одного нелинейного резистора испытываемого ограничителя перенапряжения нелинейного, и имеет емкостное сопротивление много большее, чем сопротивление резистора при номинальном напряжении источника электрического напряжения, а динамическое сопротивление много меньшее, чем сопротивление резистора при возникновении перенапряжений выше порога срабатывания испытываемого ограничителя перенапряжения нелинейного и дополнительного нелинейного резистора. 1 ил.
Предлагаемое техническое решение относится к области измерительной техники и может быть использовано для проведения оценки надежности ограничителя перенапряжения нелинейного, постоянно находящегося под рабочим напряжением, при несложной конструктивной реализации.
Аналогичное техническое решение известно (см., например, Энергетика и промышленность России, газета №2 (54) февраль 2005 года. Рис.1в), в котором описано аналогичное техническое решение и которое содержит:
– источник электрического напряжения;
– ограничитель перенапряжения нелинейный, подсоединенный своим первым выводом к источнику электрического напряжения;
– металлическое кольцо, подсоединенное к нижней торцевой поверхности нижнего нелинейного резистора ограничителя перенапряжения нелинейного;
– переключатель, подсоединенный своим первым выводом к металлическому кольцу и своим вторым выводом к второму (Заземляющему) выводу источника электрического напряжения;
– схему измерения, подсоединенную своими входами параллельно переключателю.
Общими признаками предлагаемого технического решения и вышеохарактеризованного аналога являются:
– источник электрического напряжения;
– ограничитель перенапряжения нелинейный, подсоединенный своим первым выводом к первому выводу источника электрического напряжения;
– схема измерения.
Известно также аналогичное техническое решение (см., публикацию Научно-технический центр «Спектр-Энерго», г.Москва, Ограничители перенапряжений ОПН нелинейные в полимерных корпусах для электрических сетей переменного тока 1-35 кВ, которое выбрано в качестве прототипа и которое содержит:
– источник электрического напряжения;
– ограничитель перенапряжения нелинейный, содержащий, как минимум, один нелинейный резистор (варистор), подсоединенный своим первым выводом к первому выводу источника электрического напряжения;
– переключатель, подсоединенный одним своим выводом к второму выводу ограничителя перенапряжения нелинейного и другим своим выводом к второму (заземляющему) выводу источника электрического напряжения;
– резистор, подсоединенный своим первым выводом к второму выводу ограничителя перенапряжения нелинейного и своим вторым выводом к второму (заземляющему) выводу источника электрического напряжения;
– разрядник, включенный параллельно резистору;
– схему измерения, подсоединенную своим первым входом к первому выводу резистора и своим вторым входом к второму (заземляющему) выводу источника электрического напряжения.
Общими признаками предлагаемого технического решения и прототипа являются:
– источник электрического напряжения;
– ограничитель перенапряжения нелинейный, содержащий, как минимум, один нелинейный резистор (варистор), подсоединенный своим первым выводом к первому выводу источника электрического напряжения, резистор, подсоединенный своим первым выводом к второму выводу ограничителя перенапряжения нелинейного и своим вторым выводом к второму заземляющему выводу источника электрического напряжения;
– схема измерения, подсоединенная своим первым входом к первому выводу резистора и своим вторым входом к второму заземляющему выводу источника электрического напряжения.
Технический результат, который невозможно достичь ни одним из аналогичных технических решений, при обеспечении оценки надежности ограничителя перенапряжения нелинейного, постоянно находящегося под рабочим напряжением и постоянно обеспечивающего защиту от возникающих перенапряжений, заключается в исключении сложной технической и конструктивной реализации устройств для оценки надежности ограничителя перенапряжения нелинейного, связанной с использованием мощных высоковольтных переключателей и разрядников.
Причиной невозможного достижения технического результата, указанного выше, является то, что сложившаяся практика при проведении оценки надежности ограничителей перенапряжений нелинейных, предусматривает измерение тока проводимости ограничителя перенапряжения нелинейного, только после отключения ограничителей перенапряжений нелинейных от заземляющего провода и, например, подключение к свободному выводу ограничителя перенапряжения нелинейной схемы измерения, что в свою очередь сопряжено, как со значительными техническими и конструктивными сложностями, так и с небезопасными условиями труда при проведении измерений для оценки надежности ограничителей перенапряжений нелинейных.
Учитывая характеристику и анализ известных аналогичных технических решений можно сделать вывод, что задача создания средств по оценке надежности ограничителей перенапряжений нелинейных, находящимися постоянно под рабочим напряжением, имеющими менее сложную техническую и конструктивную реализацию, а также и безопасные условия измерения, является актуальной на сегодняшний день.
Технический результат, указанный выше, достигается тем, что в устройство для оценки надежности ограничителя перенапряжения нелинейного, находящегося постоянно под рабочим напряжением, содержащее источник электрического напряжения, ограничитель перенапряжения нелинейный, в который входит, как минимум, один нелинейный резистор (варистор), подсоединенный своим первым выводом к первому потенциальному выводу источника электрического напряжения, резистор, подсоединенный своим первым выводом к второму выводу ограничителя перенапряжения нелинейного и своим вторым выводом к второму заземляющему выводу источника электрического напряжения и схему измерения, подсоединенную своим первым входом к первому выводу резистора и своим вторым входом к второму заземляющему выводу источника электрического напряжения, – введен дополнительный нелинейный резистор (варистор) с отверстием, выполненным в его центральной части, электроконтактно установленный своей верхней торцевой поверхностью на нижней торцевой поверхности, как минимум, одного нелинейного резистора (варистора) ограничителя перенапряжения нелинейного и подсоединенный своей нижней торцевой поверхностью к второму заземляющему выводу, источника электрического напряжения, первый вывод резистора электроизолирован от внутренней поверхности отверстия и нижней торцевой поверхности дополнительного нелинейного резистора (варистора).
Введение дополнительного нелинейного резистора (варистора) с отверстием, выполненным в его центральной части, его расположение и подсоединение, как указано выше позволяет, за счет приложенного напряжения с выводов источника электрического напряжения к выводам ограничителя перенапряжения нелинейного, содержащего, как минимум, один нелинейный резистор (варистор), получить с его выхода ток проводимости, который при прохождении через резистор создает в этом резисторе падение напряжения, пропорциональное току проводимости ограничителя перенапряжения нелинейного и четко характеризует надежность ограничителя перенапряжения нелинейного, поэтому, проведя измерение этого падения напряжения на резисторе, по его величине всегда можно определить надежность ограничителя перенапряжения нелинейного, постоянно находящегося под рабочим напряжением, не нарушая работоспособности и защитных свойств ограничителя перенапряжения нелинейного. В чем и проявляется достижение технического результата, указанного выше.
Проведенный анализ известных технических решений показал, что ни одно из них не содержит как всей совокупности признаков, так и отличительных признаков предлагаемого технического решения, что позволило сделать вывод о наличии «новизны» и «изобретательского уровня» предложенного технического решения.
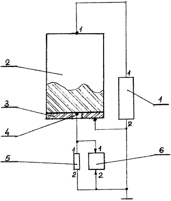
Предлагаемое устройство для оценки надежности ограничителя перенапряжения нелинейного, находящегося под рабочим напряжением содержит:
– источник электрического напряжения – 1, например, высоковольтная линия электропередач;
– ограничитель перенапряжений нелинейный, выполненный, например, в виде, как минимум, одного основного нелинейного резистора (варистора) – 2 и подсоединенный своим первым выводом к первому выводу источника электрического напряжения – 1;
– дополнительный нелинейный резистор (варистор) – 3 с отверстием – 4, выполненным в его центральной части, электроконтактно установленный своей верхней торцевой поверхностью на нижней торцевой поверхности, как минимум, одного основного нелинейного резистора – 2 ограничителя перенапряжения нелинейного и подсоединенный своей нижней торцевой поверхностью к второму выводу источника электрического напряжения – 1;
– резистор – 5, первый вывод которого электроизолирован относительно внутренней поверхности отверстия – 4 и нижней торцевой поверхности дополнительного нелинейного резистора (варистора) – 3 и подсоединенный своим первым выводом к нижней торцевой поверхности, как минимум, одного основного нелинейного резистора (варистора) – 2 ограничителя перенапряжения нелинейного и своим вторым выводом к второму выводу источника электрического напряжения – 1;
– схему измерения – 6, подсоединенную своим первым входом к первому выводу резистора – 5 и своим вторым входом к второму выводу источника электрического напряжения – 1.
Предлагаемое устройство для оценки надежности ограничителя перенапряжения нелинейного, находящегося под рабочим напряжением, работает следующим образом.
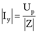
При номинальном напряжении источника электрического напряжения – 1 через ограничитель перенапряжения нелинейный протекает ток проводимости величины (доли миллиампера), который рассчитывается по формуле:
, где – модуль тока проводимости, Up – рабочее напряжение и – модуль комплексного сопротивления, как минимум, одного основного нелинейного резистора – 2. При этом ток проводимости при номинальном напряжении источника электрического напряжения – 1 имеет в основном емкостной характер. В общем случае ток проводимости: , где – емкостной ток и – активный ток.
Точки над , , говорят о том, что сложение векторное.
В нормально работающем ограничителе перенапряжения нелинейном активный ток: IR 0,31с емкостного тока. Следовательно: где – модуль тока проводимости. То есть модуль тока проводимости практически совпадает с емкостным током Iс.
Дополнительный нелинейный резистор (варистор) – 3 с центральным отверстием – 4 имеет высоту много меньшую, чем высота, как минимум, одного основного нелинейного резистора (варистора) – 2 и, соответственно, имеет много меньшее емкостное сопротивление, поэтому ток проводимости ограничителя перенапряжения нелинейного будет определяться емкостным сопротивлением, как минимум, одного основного нелинейного резистора (варистора) – 2.
Ток проводимости, протекая по резистору – 5 (величина которого много меньше емкостного сопротивления дополнительного нелинейного резистора (варистора) – 3), создает падение напряжения на резисторе – 5, пропорциональное этому току проводимости, которое поступает на входы схемы измерения – 6 и фиксируется в виде конкретной величины, соответствующей уровню оценки надежности ограничителя перенапряжения нелинейного, находящегося под рабочим напряжением.
При возникновении перенапряжений выше порога срабатывания нелинейных резисторов (варисторов) – 2 и 3 ограничителя перенапряжения нелинейного их динамическое сопротивление резко уменьшается. При этом динамическое сопротивление дополнительного нелинейного резистора (варистора) – 3 становится во много раз меньше резистора – 5 и ток при перенапряжении проходит по цепи: вывод – 1 ограничителя перенапряжения нелинейного, его основной нелинейный резистор (варистор) – 2, введенный нелинейный резистор (варистор) – 3, заземляющий вывод – 2 источника электрического напряжения. Так происходит ограничение возникающих перенапряжений.
Но за счет частых воздействий перенапряжений, вольтамперная характеристика нелинейных резисторов (варисторов) – 2, 3 изменяется, что приводит к возрастанию активного тока проводимости и при достижении активной составляющей тока проводимости значения, в 2-3 раза превосходящего значение емкостной составляющей тока, возникает предаварийная ситуация. Так как рост активного тока проводимости приводит к росту мощности потерь ограничителя перенапряжения нелинейного и, соответственно, к росту температуры. А так как температурный коэффициент тока нелинейных резисторов (варисторов) положителен, то рост температуры вызывает рост активного тока проводимости, что приводит в дальнейшем к тепловому пробою ограничителя перенапряжения нелинейного.
Причем, если значение тока проводимости ограничителя перенапряжения нелинейного, находящегося под рабочим напряжением достигло предельно допустимого значения, что соответствует также предельно допустимому значению падения напряжения на резисторе – 5, то во избежании в дальнейшем различных аварийных ситуаций, должна быть проведена своевременная замена этого ненадежного ограничителя перенапряжения нелинейного на другой, имеющий необходимый уровень надежности.
Таким образом, предлагаемое устройство для оценки надежности ограничителя перенапряжения нелинейного, находящегося под рабочим напряжением, позволяет, без нарушения его защитных свойств от появления различных перенапряжений, осуществлять в любой момент времени измерение падения напряжения, которое пропорционально току проводимости ограничителя перенапряжения нелинейного, находящегося под рабочим напряжением, и соответствует уровню надежности ограничителя перенапряжения нелинейного, находящегося под рабочим напряжением.
Формула изобретения
Устройство для оценки надежности ограничителя перенапряжения нелинейного, содержащее источник электрического напряжения, подсоединенный к испытываемому ограничителю перенапряжения нелинейному, в который входит как минимум один нелинейный резистор, подсоединенный своим первым выводом к первому потенциальному выводу источника электрического напряжения, резистор, подсоединенный своим первым выводом к второму выводу испытываемого ограничителя перенапряжения нелинейного и своим вторым выводом к второму заземляющему выводу источника электрического напряжения, схему измерения, подсоединенную своим первым входом к первому выводу резистора и своим вторым входом к второму заземляющему выводу источника электрического напряжения, отличающееся тем, что в него введен дополнительный нелинейный резистор с отверстием, выполненным в его центральной части, электроконтактно установленный своей верхней торцевой поверхностью на нижней торцевой поверхности как минимум одного нелинейного резистора испытываемого ограничителя перенапряжения нелинейного и подсоединенный своей нижней торцевой поверхностью к второму заземляющему выводу источника электрического напряжения, а первый вывод резистора электроизолирован от внутренней поверхности отверстия и нижней торцевой поверхности дополнительного нелинейного резистора, при этом дополнительный нелинейный резистор выполнен с высотой много меньшей, чем высота как минимум одного нелинейного резистора испытываемого ограничителя перенапряжения нелинейного, и имеет емкостное сопротивление много большее, чем сопротивление резистора при номинальном напряжении источника электрического напряжения, а динамическое сопротивление много меньшее, чем сопротивление резистора при возникновении перенапряжений выше порога срабатывания испытываемого ограничителя перенапряжения нелинейного и дополнительного нелинейного резистора.
РИСУНКИ
|
|