|
|
(21), (22) Заявка: 2006115534/28, 02.05.2006
(24) Дата начала отсчета срока действия патента:
02.05.2006
(46) Опубликовано: 20.09.2007
(56) Список документов, цитированных в отчете о поиске:
СИНЕЛЬНИКОВ А.Е. Низкочастотные линейные акселерометры. – М.: Изд-во стандартов, 1971, с.77-81. SU 178536 А, 03.03.1960. SU 459735 А, 28.04.1975. SU 1700413 A1, 23.12.1991. RU 2115129 C1, 10.07.1998. JP 63085365 A, 15.04.1988.
Адрес для переписки:
197046, Санкт-Петербург, ул. М. Посадская, 30, ФГУП ЦНИИ “Электроприбор”, первому зам. директора В.М. Зиненко
|
(72) Автор(ы):
Грязин Дмитрий Геннадьевич (RU), Лычев Дмитрий Игоревич (RU), Бердюгин Андрей Викторович (RU)
(73) Патентообладатель(и):
Федеральное государственное унитарное предприятие “Центральный научно-исследовательский институт “Электроприбор” (RU)
|
(54) СТЕНД ДЛЯ ВОСПРОИЗВЕДЕНИЯ УГЛОВЫХ СКОРОСТЕЙ
(57) Реферат:
Изобретение относится к приборостроению и может быть использовано для оценки амплитудно-частотных и фазово-частотных характеристик датчиков угловых скоростей в навигационных приборах и других приборах управления. Устройство содержит две жестко скрепленные катушки, находящиеся в зазоре магнитной системы, задающий генератор, подключенный через усилитель к первой катушке, вращающуюся платформу, соединенную с помощью безлюфтового шарнира с катушками, и датчик угла поворота платформы, подключенный через второй усилитель ко второй катушке. Изобретение обеспечивает возможность воспроизведения угловых скоростей, изменяющихся по гармоническому закону в заданном частотном диапазоне при упрощенной системе управления стендом в связи с его работой в резонансном режиме. 1 ил.
Изобретение относится к области приборостроения, в частности к измерительной технике, и может быть использовано для оценки амплитудно-частотных и фазово-частотных характеристик датчиков угловых скоростей (ДУС) при необходимости их использования в навигационных приборах и других приборах управления.
Известно устройство для задания линейных виброперемещений, построенное по компенсационной схеме, состоящее из двух катушек, жестко связанных с платформой, магнитной системы, преобразователя перемещения платформы, задающего генератора и двух усилителей, при этом задающий генератор через первый усилитель соединен с первой катушкой, находящейся в зазоре магнитной системы, а выход преобразователя перемещения платформы соединен через второй усилитель со второй катушкой, находящейся в зазоре магнитной системы [Синельников А.Е., Шкаликов B.C. Электродинамический вибростенд. Авт. свид. №178536. – «Бюлл. изобр.», 1966, №3].
Наиболее близким по технической сущности является электродинамический вибратор для калибровки линейных акселерометров, который содержит платформу для установки испытуемого объекта, установленную на направляющих, с которой жестко соединены два преобразователя силы [Синельников А.Е. Низкочастотные линейные акселерометры. Методы и средства поверки и градуировки. – Издательство стандартов. М., 1979, с.77-81]. Линейные колебания платформы вибратора возбуждаются системой: задающий генератор, усилитель, первый преобразователь силы. Для выработки противодействующего усилия используется второй преобразователь силы, на который через усилитель подается сигнал с датчика положения платформы. Датчики силы выполнены в виде катушек, находящихся в поле постоянных магнитов. В качестве датчика положения платформы используется индукционный преобразователь. Изменение коэффициента усиления сигнала, подаваемого на второй преобразователь силы с датчика положения платформы, позволяет настраивать частоту собственных колебаний вибратора таким образом, чтобы система работала в резонансном режиме.
Однако данный вибратор непригоден для оценки амплитудно-частотных и фазово-частотных характеристик ДУС. Это объясняется тем, что для этого необходимо задавать угловые скорости в заданном частотном диапазоне.
Задачей изобретения является создание стенда, позволяющего воспроизводить угловые скорости, изменяющиеся по гармоническому закону в заданном частотном диапазоне.
Поставленная задача решается тем, что в устройство, содержащее две жестко скрепленные катушки, находящиеся в зазоре магнитной системы, задающий генератор, подключенный через усилитель к первой катушке, дополнительно введена вращающаяся платформа, соединенная с помощью безлюфтового шарнира с катушками, а датчик угла поворота платформы подключен через второй усилитель ко второй катушке.
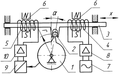
Схема предлагаемого стенда показана на чертеже, где 1 – платформа для установки испытуемого объекта, 2 – шарнир, 3 – якорь, 4, 5 – катушки, жестко закрепленные на якоре, 6 – магнитная система, 7 – задающий генератор, 8 – усилитель, 9 – датчик угла поворота, 10 – усилитель.
Принцип работы стенда заключается в том, что колебания возбуждаются с помощью системы: задающий генератор 7, усилитель 8, катушка 4, и передаются с якоря 3 на платформу 1 через безлюфтовый шарнир 2. Для выработки противодействующего момента используется датчик угла поворота 9, усилитель 10 и катушка 5. Противодействующий момент, создаваемый катушкой 5, будет определяться соотношением

где kд [В/рад]; kу [В/В] – коэффициенты преобразования датчика угла поворота 9 и усилителя 10; В2 [Тл], l2 [м], R2 [Ом] – индукция в зазоре, длина провода и сопротивление обмотки катушки 5; [рад] – угол поворота платформы 1; r[м] – расстояние от оси вращения платформы 1 до шарнира 2.
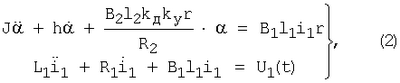
В этом случае работа устройства описывается системой уравнений

где J [кг·м2] – приведенный момент инерции; h [кг·м2/с] – приведенный коэффициент демпфирования; В1 [Тл], l1 [м], R1 [Ом], L1 [Гн] – индукция в зазоре, длина провода, сопротивление и индуктивность обмотки катушки 4; i1 [A], U1(t) [B] – ток в обмотке катушки 4 и приложенное к ней напряжение.
Если под коэффициентом жесткости системы понимать коэффициент «электрической» жесткости

то, изменяя в зависимости от частоты гармонического сигнала задающего генератора коэффициент усиления kу в соответствии с соотношением

можно добиться устойчивой работы стенда в резонансном режиме, что позволяет значительно увеличить амплитуду угловых скоростей платформы 1, которая в первом приближении будет описываться выражением

В результате появляется возможность воспроизведения угловых скоростей, изменяющихся по гармоническому закону в заданном частотном диапазоне при упрощенной системе управления стендом в связи с его работой в резонансном режиме.
Формула изобретения
Стенд для воспроизведения угловых скоростей, изменяющихся по гармоническому закону в заданном частотном диапазоне, содержащий две жестко скрепленные катушки, расположенные в зазоре магнитной системы, задающий генератор, подключенный через усилитель к первой катушке, отличающийся тем, что в него дополнительно введены вращающаяся платформа с одной степенью свободы, соединенная с помощью безлюфтового шарнира с катушками, и датчик угла поворота платформы, подключенный через второй усилитель ко второй катушке.
РИСУНКИ
|
|