|
|
(21), (22) Заявка: 2006122911/04, 27.06.2006
(24) Дата начала отсчета срока действия патента:
27.06.2006
(46) Опубликовано: 20.09.2007
(56) Список документов, цитированных в отчете о поиске:
SU 389989 A1, 13.12.1983. SU 449299 A1, 23.04.1975. SU 439718 A1, 02.04.1975. SU 1211147 A1, 15.02.1986. SU 1013347 A1, 23.04.1983. SU 800840 A1, 02.02.1981. GB 1254351 A, 24.11.1971. КАСАТКИН А.Г. Основные процессы и аппараты химической технологии. – М.: Химия, 1971, с.384-385.
Адрес для переписки:
690022, г.Владивосток, 22, пр-кт 100-лет Владивостоку, 159, Институт химии ДВО РАН, отдел интеллектуальной собственности, пат.пов. О.Н.Ивлюшкиной
|
(72) Автор(ы):
Гнеденков Сергей Васильевич (RU), Минаев Александр Николаевич (RU), Машталяр Дмитрий Валерьевич (RU), Синебрюхов Сергей Леонидович (RU), Кудрявцев Александр Олегович (RU)
(73) Патентообладатель(и):
Институт химии Дальневосточного отделения Российской академии наук (статус государственного учреждения) (Институт химии ДВО РАН) (RU)
|
(54) УСТАНОВКА ДЛЯ ИССЛЕДОВАНИЯ НАКИПЕОБРАЗОВАНИЯ
(57) Реферат:
Изобретение относится к исследованию накипеобразования в приближенных к производственным условиях при контролируемых значениях таких параметров как давление и концентрации солей в рабочей жидкости. Установка для исследования накипеобразования, выполненная в виде испарительной камеры и включающая установленную с возможностью замены систему теплообмена в виде горизонтальных трубок с размещенными внутри электронагревательными элементами, на поверхности которой происходит образование осадка накипи, систему подачи рабочей жидкости в испарительную камеру и средство для конденсации пара, связанное с испарительной камерой отводной магистралью пара, дополнительно снабжена средством регулировки давления в испарительной камере, включающим игольчатый клапан и размещенным в отводной магистрали пара, и системой вывода рабочей жидкости из испарительной камеры, включающей игольчатый клапан, установленный в отводной магистрали рабочей жидкости. Достигается расширение диапазона условий для исследования накипеобразования и повышение достоверности результатов. 1 ил.
Изобретение относится к устройствам для исследования процесса накипеобразования, в частности к устройствам, в которых нагретую поверхность металла подвергают воздействию потока жидкости, содержащей вещества, вызывающие накипеобразование.
Скорость образования осадка накипи зависит от нескольких переменных, к которым относятся температура рабочей жидкости, давление, температура и состояние поверхности осаждения, скорость потока жидкости и ее состав. При создании устройств для исследования процесса накипеобразования задачей является получение и измерение в экспериментальных условиях осадка накипи, идентичного образующемуся в производственных установках. Поскольку скорость накипеобразования трудно контролируема и подвержена вариациям даже в том случае, когда независимые переменные поддерживаются постоянными, для получения статистически значимых результатов устройство должно обеспечивать проведение большого количества испытаний в одинаковых условиях.
Известно устройство для испытания жидкостей на накипеобразование, описанное в патенте Франции №2493523, опубл. 07.05.82, включающее систему теплообмена, предназначенную для испытаний и содержащую нагреватель с тепловыделяющим элементом, систему трубопроводов со средствами подачи и вывода жидкости, а также средства для измерения температуры жидкости, температуры стенки тепловыделяющего элемента, средство для измерения скорости потока жидкости через средство подачи жидкости и средство для регулирования количества электроэнергии, подаваемого в тепловыделяющий элемент. Недостатком известного устройства является недостаточно высокий нагрев испытуемой жидкости, не обеспечивающий ее кипения и парообразования, что не позволяет исследовать накипеобразование в более жестких условиях, приближенных к существующим в целом ряде промышленных установок.
Недостатком известной установки является недостаточно широкий диапазон обеспечиваемых условий исследования накипеобразования, поскольку исследование возможно только при атмосферном давлении в испарительной камере. Кроме того, постоянная подпитка испарительной камеры рабочей жидкостью без слива образующегося в результате испарения рассола приводит к неконтролируемому увеличению концентрации упомянутого рассола, следствием чего являются искажение реальной картины накипеобразования, сложность воспроизведения идентичных условий исследования и, соответственно, снижение достоверности результатов исследования.
Задачей изобретения является создание установки, обеспечивающей возможность исследования накипеобразования в более широком диапазоне условий, при регулируемых давлении в испарительной камере и концентрации солей в рабочей жидкости, а также повышение достоверности результатов исследования.
Поставленная задача решается установкой для исследования накипеобразования, выполненной в виде испарительной камеры, включающей систему теплообмена, на поверхности которой происходит образование осадка накипи, установленную с возможностью замены, систему подачи рабочей жидкости в испарительную камеру и средство для конденсации пара, связанное с испарительной камерой отводной магистралью пара, в которой в отличие от известного устройства система теплообмена выполнена в виде, по крайней мере, одной горизонтально установленной трубки с размещенным внутри электронагревательным элементом, при этом установка снабжена средством регулировки давления в испарительной камере, установленным в отводной магистрали пара, и системой вывода рабочей жидкости из рабочей камеры.
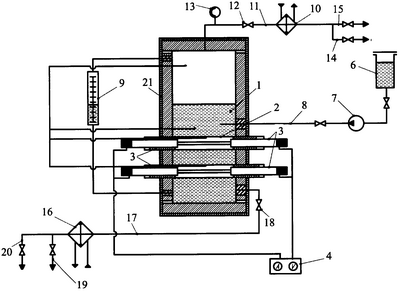
Схема предлагаемой установки наглядно представлена на чертеже.
Установка включает испарительную камеру 1, систему теплообмена в виде горизонтально установленных трубок 2, на поверхности которых происходит осаждение накипи, с размещенными внутри электронагревательными элементами 3, нагреваемыми постоянным либо переменным током от соответствующего источника тока 4 и изолированными от внутренней поверхности трубок 2 с помощью известных изолирующих средств 5. Система подачи рабочей жидкости включает расходную емкость 6 и дозаторный насос 7, обеспечивающий подачу рабочей жидкости, например морской воды, из расходной емкости 6 по соответствующей подводящей магистрали 8 в испарительную камеру 1. Для контроля уровня жидкости в испарительной камере предусмотрено водомерное стекло 9.
Установка включает также средство 10 конденсации пара (холодильник), связанное с испарительной камерой 1 отводной магистралью 11, при этом давление в испарительной камере регулируется игольчатым клапаном 12, установленным в отводной магистрали 11, а для измерения давления пара служит установленный там же манометр 13. Для отвода конденсата, образовавшегося в холодильнике 10, предусмотрена сливная магистраль 14, а для взятия проб конденсата – магистраль 15.
Система вывода концентрированного рассола из испарительной камеры 1 включает охладитель рассола 16 со змеевиком (не показан), охлаждаемым водопроводной водой, связанный с испарительной камерой 1 отводной магистралью 17, при этом слив рассола из испарительной камеры регулируется установленным в магистрали 17 игольчатым клапаном 18, размещенным между испарительной камерой 1 и охладителем рассола 16. Для слива охлажденного рассола и взятия его проб предусмотрены, соответственно, отводные магистрали 19 и 20.
Для уменьшения потерь тепла испарительная камера снабжена термоизолирующим слоем 21, выполненным, например, из совелита и асботкани.
Количество трубок с электронагревательными элементами в системе теплообмена может быть различным, в зависимости от задач исследования. Обычно оно является четным, при этом трубки устанавливаются симметрично с двух противоположных сторон испарительной камеры.
Электронагревательные элементы 3 системы теплообмена выполнены преимущественно из силита и изолированы от внутренней поверхности трубок 2, например, с помощью фарфоровых изолирующих втулок и кварцевой ткани. Электропроводящие шины (не показаны) крепятся к концам электронагревателей с помощью зажимов, конструкция которых обеспечивает хороший контакт, при этом для улучшения контакта в местах крепления зажимов поверхность нагревательного элемента может быть покрыта слоем серебра, позволяющим уменьшить торцевые потери тепла.
Средство 10 конденсации пара выполнено в виде холодильника с размещенным внутри него змеевиком, охлаждаемым водопроводной водой,
Установка работает следующим образом.
Рабочую жидкость, например морскую воду, из расходной емкости 6 подают с помощью дозаторного насоса 7 в испарительную камеру 1. При этом уровень рабочей жидкости в испарительной камере 1 контролируют с помощью водомерного стекла 9. При достижении необходимого уровня (количества) рабочей жидкости в испарительной камере 1 на концы электронагревательных элементов 3, помещенных в трубки 2, подают напряжение от источника тока 4 и нагревают рабочую жидкость до температуры кипения. При этом давление в испарительной камере 1, создаваемое при кипении рабочей жидкости, измеряют с помощью манометра 13 и регулируют в интервале от 1 до 20-25 атм путем открытия-закрытия игольчатого клапана 12. Работа установки в указанном диапазоне давлений позволяет расширить возможности исследования накипеобразования и изучать осаждение накипи в условиях, близких к существующим в реальных теплообменных установках (например, в испарителях, парогенераторах, конденсаторах работающих на морской и другой высокоминерализованной воде).
Пар, сконденсировавшийся в холодильнике 10, в виде конденсата по магистрали 15 поступает в емкость, служащую для отбора проб (не показана), и в магистраль 14, по которой он сливается в дренаж (либо может быть использован, например, для получения дистиллята).
По мере испарения рабочей жидкости в испарительной камере происходит увеличение концентрации в ней солей с образованием так называемого рассола. В предлагаемой установке предусмотрен слив образующегося рассола из испарительной камеры 1 по магистрали 17 через игольчатый клапан 18, с помощью которого регулируется количество сливаемого рассола.
Регулируемый слив образующегося рассола из испарительной камеры 1 с одновременной регулируемой подачей в нее рабочей жидкости обеспечивает поддержание заданной концентрации нагреваемой рабочей жидкости и позволяет, таким образом, изучать накипеобразование при различных заданных концентрациях солей в рабочей жидкости с возможностью неоднократного воспроизведения упомянутых концентраций.
В известной установке (прототип) неконтролируемое повышение концентрации рабочей жидкости может приводить к искажению реальной картины накипеобразования вследствие выпадения из пересыщенного раствора осадка солей, обычно не входящих в состав накипи, например осадка хлорида натрия в случае использования в качестве рабочей жидкости морской воды. Выпадение осадка хлорида натрия препятствует объективному исследованию осаждающейся из морской воды накипи, основными компонентами которой являются углекислый кальций СаСО3, гидроксид магния Mg(OH)2 и сернокислый кальций в виде гипса CaSO4·2H2O, полугидрата CaSO4·½H2О, ангидрита (безводного сульфата кальция) CaSO4.
В предлагаемой установке регулируемые подача рабочей жидкости и слив образующегося рассола препятствуют высокой кратности выпаривания морской воды, обусловливающей повышение концентрации рассола, что предотвращает нежелательные последствия.
Охлажденный в охладителе 16 рассол поступает по магистрали 20 для отбора проб и магистрали 19 слива в соответствующие емкости (не показанные).
Охлаждающую водопроводную воду подают в змеевики холодильника 10 для конденсации пара и охладителя рассола 16 одновременно с включением нагревательных элементов 3.
По мере расходования рабочей жидкости из расходной емкости 6 ее добавляют из дополнительной емкости (не показана).
По истечении времени эксперимента отключают напряжение на электронагревательных элементах 3 и прекращают подачу рабочей жидкости в испарительную камеру 1. По окончании кипения (температуру в испарительной камере 1 снижают за счет снижения давления путем открытия клапана 12) и прекращении поступления пара в холодильник 10 отключают подачу охлаждающей воды. Полностью опорожняют испарительную камеру 1 через магистраль слива рассола 17.
После опорожнения испарительной камеры осуществляют демонтаж электронагревательных элементов 3 и трубок 2. Образовавшиеся на поверхности трубок 2 отложения накипи высушивают, например, в сушильном шкафу, а затем с помощью известных методов проводят их исследования, в частности определение общей массы (перед началом эксперимента предварительно устанавливают исходную массу трубок), толщину слоя накипи, изучение ее фазового и элементного состава.
Полученные результаты позволяют сделать выводы относительно влияния вида покрытия на поверхности трубок системы теплообмена, вводимых антинакипных добавок и других возможных факторов на осаждение накипи.
Возможность работы установки может быть показана на примере исследования накипеобразования на поверхности системы теплообмена (трубок 2) с защитным покрытием, полученным методом плазменно-электролитического оксидирования (ПЭО) и дополнительно обработанным политетрафторэтиленом.
Испарительная камера общим объемом 50 л была выполнена из медно-никелевого сплава и покрыта слоем изоляции из асботкани и совелита. Рабочий объем камеры составлял 15 л.
Горизонтальные трубки системы теплообмена в количестве 4 штук (по 2 с двух противоположных сторон) вводились в испарительную камеру через боковые сальниковые уплотнения.
Внешняя поверхность двух трубок системы теплообмена, выполненных из титана, была обработана путем плазменно-электролитического оксидирования в фосфатсодержащем электролите с последующим нанесением слоя политетрафторэтилена. Две другие трубки (необработанные) имели естественное оксидное покрытие.
Испытания проводили с использованием теплоэлектронагревателей (ТЭНов) мощностью 5,5 кВт. При этом величина теплового потока на теплообменных поверхностях составляла 0,2 МВт.
В качестве рабочей жидкости была использована морская вода, испарение которой внутри испарительной камеры осуществляли при атмосферном давлении. Время испытания в режиме кипения морской воды составляло 27 часов.
Контроль за концентрацией морской воды, изменяющейся в ходе испытаний, осуществляли путем измерения ее электропроводности с помощью кондуктометра ОК 102/1 с учетом исходного значения величины электропроводности морской воды, равной 25·10-3 (Ом·см)-1.
После демонтажа трубок теплообменника с солевыми отложениями (накипью) их высушивали на воздухе при температуре 100°С в течение 1 часа. Исследования образовавшихся отложений накипи включали определение общей массы и толщины слоя накипи, а также проведение рентгенофазового анализа.
Полученные данные позволили сделать вывод относительно влияния покрытия, полученного методом ПЭО с дополнительной обработкой политетрафторэтиленом на поверхности трубок теплообменника, на осаждение накипи. Количество накипи (по массе), образовавшейся на поверхности трубок с покрытием, составляет примерно 14 мас.% от количества накипи на необработанных трубках теплообменника.
Таким образом, предлагаемая установка обеспечивает возможность исследования накипеобразования в более широком диапазоне и при контролируемых значениях таких параметров как давление в испарительной камере и концентрации солей в рабочей жидкости, а также позволяет повысить достоверность результатов проводимых исследований, что является техническим результатом изобретения.
Указанный технический результат дает возможность проводить изучение накипеобразования в условиях, приближенных к условиям, осуществляемым в установках, которые используются в судовой и стационарной энергетике.
Кроме того, система теплообмена, на поверхности которой происходит осаждение накипи, включающая несколько трубок с электронагревательными элементами, позволяет одновременно изучать процесс накипеобразования на различным образом подготовленных поверхностях.
Формула изобретения
Установка для исследования накипеобразования, выполненная в виде испарительной камеры, включающая установленную с возможностью замены систему теплообмена, на поверхности которой происходит образование осадка накипи, систему подачи рабочей жидкости в испарительную камеру и средство для конденсации пара, связанное с испарительной камерой отводной магистралью пара, отличающаяся тем, что система теплообмена выполнена в виде, по крайней мере, одной горизонтально установленной трубки с размещенным внутри электронагревательным элементом, при этом установка дополнительно снабжена средством регулировки давления, включающим игольчатый клапан, и системой вывода рабочей жидкости из испарительной камеры, включающей игольчатый клапан, установленный в отводной магистрали рабочей жидкости.
РИСУНКИ
|
|