|
|
(21), (22) Заявка: 2005115604/28, 23.05.2005
(24) Дата начала отсчета срока действия патента:
23.05.2005
(43) Дата публикации заявки: 27.11.2006
(46) Опубликовано: 20.09.2007
(56) Список документов, цитированных в отчете о поиске:
RU 2003113764 А, 10.12.2004. SU 419153 A1, 20.11.2004. SU 373565 A1, 01.01.1973. ЕР 1338881, 27.08.2003.
Адрес для переписки:
664009, г.Иркутск, ул. 1-я Советская, 176, Иркутское высшее военное авиационное инженерное училище (военный институт), НИО
|
(72) Автор(ы):
Пахомов Сергей Васильевич (RU), Сафарбаков Андрей Мирсасимович (RU), Ачекин Андрей Александрович (RU)
(73) Патентообладатель(и):
Иркутское высшее военное авиационное инженерное училище (военный институт) (RU)
|
(54) УСТАНОВКА ДЛЯ ИССЛЕДОВАНИЯ ВЛИЯНИЯ КОЛЕСА ПЕРЕДНЕЙ СТОЙКИ ШАССИ НА ИНТЕНСИВНОСТЬ ПОПАДАНИЯ ПОСТОРОННИХ ПРЕДМЕТОВ В ГТД
(57) Реферат:
Изобретение относится к области авиации, в частности к установкам для исследования процессов попадания посторонних предметов в ГТД с поверхности аэродрома. Задача предложенного изобретения – оценить влияние колеса передней стойки шасси на количество посторонних предметов, попавших в двигатель. Установка для исследования влияния колеса передней стойки шасси на интенсивность попадания посторонних предметов в ГТД, содержащая электродвигатель, соединенный с воздуходувкой, модель самолета. При этом дополнительно содержит модель движущегося аэродрома, представляющую собой замкнутую движущуюся ленту, приводящуюся в движение через цепную передачу системой валов, вращающихся с помощью электродвигателя с изменяемой реостатом частотой вращения и понижающим редуктором, трубопровод нагнетания воздуха и трубопровод всасывания воздуха с заслонками, связанные с электродвигателем. Причем всасывающий трубопровод связан с улавливателем частиц, а на движущейся ленте с определенной плотностью размещаются посторонние частицы. 2 ил.
Изобретение относится к области авиации, в частности к установкам для исследования процессов попадания посторонних предметов в ГТД с поверхности аэродрома.
Известна установка для определения интенсивности вихря (вихрей) под воздухозаборником летательного аппарата. Она представляет собой воздуходувку, соединенную со специальным насадком в виде полого диффузора с воздухозаборником, расположенным на расстоянии над экраном (имитатором поверхности аэродрома). На поверхности экрана установлен расходный сосуд с жидкостью, соединенный через трубопровод с мерным устройством (см. заявка RU №2003113764/28(014568) от 12.05.2003. получено положительное решение 20.01.2005., прототип).
Недостатком установки является невозможность исследования процессов попадания посторонних предметов в воздухозаборник летательного аппарата при движении самолета по аэродрому, так как в этом случае частицы могут попадать в воздухозаборник как от вихревого шнура, так и от переднего колеса шасси. Она позволяет только количественно оценить интенсивность вихря (вихрей) под воздухозаборником.
Задача предложенного изобретения – оценить влияние колеса передней стойки шасси на количество посторонних предметов, попавших в двигатель.
Для решения этой задачи в установку для определения интенсивности вихря (вихрей) под воздухозаборником летательного аппарата была включена модель движущегося аэродрома, представляющая собой транспортерную ленту, установленную на гладкую панель и приводящуюся в движение системой валов, вращающихся через цепную передачу с помощью электродвигателя с изменяемой реостатом частотой вращения и понижающим редуктором.
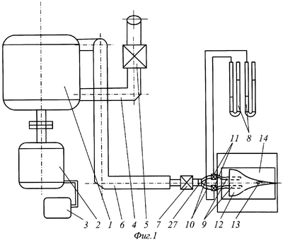
На фиг.1 изображен общий вид установки, на фиг.2 изображена схема модели движущегося аэродрома.
Установка включает в себя пульт управления 3, электродвигатель 2, воздуходувку 1, трубопровод нагнетания воздуха 4 с заслонкой 5, трубопровод 6 всасывания воздуха с заслонкой 7, два U-образных дифференциальных манометра 8 для замера скорости воздушного потока в каналах воздухозаборников 9, улавливатель частиц 27, гибкие армированные шланги 10 с заслонками 11 для регулировки расхода воздуха в воздухозаборниках 9, планер 12, поворотную переднюю стойку шасси 13, модель движущегося аэродрома 14 (фиг.1).
Модель движущегося аэродрома представляет собой замкнутую движущуюся ленту 15, установленную на систему валов. Для имитации бетонного покрытия аэродрома лента выполнена из мелкозернистой абразивной шкурки на тканевой основе. Лента приводится в движение валом 16, который вращается электродвигателем 17. Вращение от электродвигателя 17 передается валу 16 через понижающий редуктор 18 и цепную передачу 19. Частота вращения электродвигателя изменяется при помощи реостата 20. Рядом с валом 16 шарнирно закреплен вал 21, который при помощи пружин 22 плотно прижимает ленту к валу 16, исключая ее проскальзывание. Для исключения прогиба ленты 15 под ней между валами 16 и 23 установлена панель из оргстекла 24. Ось вала 23 свободная и соединена с рамой установки пружинами 25. Вал 23 служит для натяжения ленты 15, обеспечивая ее равномерное скольжение по поверхности панели 24. На валах 23, 16, 26 имеются ограничители, препятствующие соскальзыванию ленты 15 с этих валов (фиг.2).
Установка работает следующим образом.
В момент запуска установки с пульта управления 3 подается сигнал на закрытие заслонок 5 и 7 для обеспечения легкого запуска воздуходувки 1 и электродвигателя 2. Производится перекрытие поступления воздуха в рабочую часть воздуходувки 1, тем самым уменьшается потребная работа для его раскрутки и уменьшается заброс пускового тока электродвигателя 2. После раскрутки электродвигателя 2 происходит плавное открытие заслонок 5 и 7. Воздуходувка 1 выходит на рабочий режим с заданным расходом воздуха. Расход в воздухозаборниках 9 задается заслонками 11 и определяется по U-образным дифференциальным манометрам 8. Включением электродвигателя 17 модели движущегося аэродрома в электрическую сеть приводится в движение через редуктор 18, цепную передачу 19 и ведущий вал 16 лента 15, и реостатом 20 задается скорость ее движения. На движущейся ленте 15 с определенной плотностью размещаются посторонние частицы. Сначала проводится серия экспериментов без колеса передней стойки шасси и по количеству частиц, оказавшихся в улавливателе 27, определяется интенсивность попадания их в воздухозаборники. Затем повторяем эту же серию экспериментов, но уже с установленным колесом передней стойки шасси и таким же способом определяем интенсивность попадания посторонних предметов в воздухозаборники. По разнице полученных результатов определяем влияние переднего колеса шасси на интенсивность попадания посторонних предметов в воздухозаборники. Применение предлагаемой установки позволит количественно оценить попадание посторонних предметов с поверхности аэродрома в двигатель от колеса передней стойки и вихревого шнура.
Формула изобретения
Установка для исследования влияния колеса передней стойки шасси на интенсивность попадания посторонних предметов в ГТД, содержащая электродвигатель, соединенный с воздуходувкой, модель самолета, отличающаяся тем, что дополнительно содержит модель движущегося аэродрома, представляющую собой замкнутую движущуюся ленту, приводящуюся в движение через цепную передачу системой валов, вращающихся с помощью электродвигателя с изменяемой реостатом частотой вращения и понижающим редуктором, трубопровод нагнетания воздуха и трубопровод всасывания воздуха с заслонками, связанные с электродвигателем, причем всасывающий трубопровод связан с улавливателем частиц, а на движущейся ленте с определенной плотностью размещаются посторонние частицы.
РИСУНКИ
MM4A – Досрочное прекращение действия патента СССР или патента Российской Федерации на изобретение из-за неуплаты в установленный срок пошлины за поддержание патента в силе
Дата прекращения действия патента: 24.05.2007
Извещение опубликовано: 20.12.2008 БИ: 35/2008
|
|