|
|
(21), (22) Заявка: 2006115801/06, 06.05.2006
(24) Дата начала отсчета срока действия патента:
06.05.2006
(46) Опубликовано: 20.09.2007
(56) Список документов, цитированных в отчете о поиске:
ИСМАГИЛОВ З.Р., КЕРЖЕНЦЕВ М.А. Экологически чистое сжигание топлив и каталитическая очистка газов ТЭС от оксидов азота: состояние и перспективы. Журнал ВХО им. Д.И.Менделеева, т.XXXV, раздел «Химия в защите окружающей среды», 1990, №1, с.47, рис.5. RU 2206835 С2, 20.06.2003. SU 1726898 A1, 15.04.1992. US 5623819 A, 29.04.1997. US 6896509 B2, 29.07.2004.
Адрес для переписки:
630501, Новосибирская обл., Новосибирский р-н, п. Краснообск, а/я 367 ОАО “САД”
|
(72) Автор(ы):
Арюпин Владимир Викторович (RU), Колинко Вадим Павлович (RU), Колинко Павел Вадимович (RU), Рыжанков Михаил Иосифович (RU), Потапов Олег Аркадьевич (RU)
(73) Патентообладатель(и):
Открытое акционерное общество “Сибирский Агропромышленный Дом” (ОАО “САД”) (RU)
|
(54) СПОСОБ СЖИГАНИЯ ЖИДКОГО ИЛИ ГАЗООБРАЗНОГО ТОПЛИВА ДЛЯ ПОЛУЧЕНИЯ ТЕПЛА И ВОЗДУХОНАГРЕВАТЕЛЬ ДЛЯ ЕГО ОСУЩЕСТВЛЕНИЯ
(57) Реферат:
Изобретения относятся к теплоэнергетике и могут использоваться преимущественно в сельском хозяйстве в установках для нагрева воздуха, например для сушки зерна, для обогрева теплиц и других помещений. Способ сжигания жидкого или газообразного топлива для получения тепла включает подачу топлива в горелку с одновременной подачей первичного воздуха, сжигание топлива в смеси с первичным воздухом в жаровой трубе камеры сгорания, последующий ввод в жаровую трубу вторичного воздуха, дожигание не сгоревшего в топочных газах топлива в камере дожигания, разбавление воздухом потока горячих газов, выходящих из камеры дожигания, и вывод нагретого воздуха для использования по целевому назначению. Причем сжигание топлива с его дожиганием осуществляют в три стадии, на первой из которых смесь топлива с первичным воздухом сжигают с низким коэффициентом избытка первичного воздуха, на второй – горящую топливовоздушную смесь распределяют по периферии жаровой трубы, завихряют и смешивают с частью вторичного воздуха, ввод которого в жаровую трубу осуществляют хотя бы в двух ее зонах. Полученную смесь с высоким коэффициентом избытка воздуха интенсивно сжигают. На третьей стадии вводят в жаровую трубу остальную часть вторичного воздуха, охлаждая и обогащая кислородом топочные газы, вводят их в камеру дожигания и дожигают в ней не сгоревшее в топочных газах топливо. Воздухонагреватель /для осуществления этого способа/ включает горелку 1 с вентилятором первичного воздуха, камеру сгорания с внешним корпусом 2 и жаровой трубой 3, имеющей отверстия 4 и 5 для ввода в нее вторичного воздуха, размещенную во внешнем корпусе 2 с образованием кольцевого канала 6 между жаровой трубой 3 и внешним корпусом 2, а также камеру дожигания 7 не сгоревшего в топочных газах топлива. При этом он содержит отдельный вентилятор 9 вторичного воздуха, соединенный с полостью внешнего корпуса 2 камеры сгорания, и завихритель 10 в виде полого конического смесителя, установленный в жаровой трубе 3 и разделяющий ее на первичную А и вторичную Б жаровые камеры. Первичная жаровая камера А размещена между горелкой 1 и завихрителем 10, а вторичная Б – между завихрителем 10 и камерой дожигания 7. Отверстия 4 и 5 для ввода в жаровую трубу 3 вторичного воздуха расположены хотя бы в двух зонах вторичной жаровой камеры Б, первая из которых находится ближе к завихрителю 10, а вторая с отверстиями 5 – к камере дожигания 7. Кольцевой канал 6 между жаровой трубой 3 и внешним корпусом 2 закрыт со стороны камеры дожигания 7. Изобретения позволяют без внесения изменений в конструкцию воздухонагревателя использовать в нем стандартные (покупные) горелки 1 для жидкого или газообразного топлива и обеспечивать качественное сжигание топлива. 2 н. и 3 з.п.ф-лы, 1 ил.
Изобретения относятся к теплоэнергетике и могут быть использованы в различных технологических установках для нагрева воздуха, например в качестве агента сушки в зерносушилках, для обогрева сельскохозяйственных помещений и т.п.
При сжигании жидкого или газообразного топлива для получения тепла, особенно в маломощных энергетических установках, как правило, не обеспечивается полное сжигание топлива. Несгоревшее топливо оседает на стенках камеры сгорания, на них образуется нагар, часть несгоревшего топлива с потоком воздуха попадает в воздушную среду. Из многих загрязнителей атмосферного воздуха оксиды азота NOx и окислы углерода СО являются наиболее опасными. Основное количество NOx и СО образуется в результате неполного сгорания топлива.
Известен способ сжигания топлива и теплоиспользующая установка, в которых способ сжигания топлива включает нагрев смеси исходного топлива с продуктами сгорания, каталитическую конверсию с последующим дожиганием конвертированного топлива (авт. свид. СССР №1726898, МКИ F23С 9/06; F22В 33/18, бюл. №14 опубл. 15.04.1992).
Известны способ и устройство последовательного постадийного каталитического сжигания топлива, в которых обедненная смесь топлива и воздуха предварительно нагревается горячим газом, поступающим от горелки. Предварительно нагретая смесь затем катализируется в каталитическом реакторе и далее сжигается для получения горячего газа, нагретого до температуры, превышающей температуру зажигания топлива. Вторая и третья порции обедненной топливовоздушной смеси затем последовательно вводятся в горячий газ, при этом их температура превышает температуру зажигания, что способствует гомогенному сжиганию этих порций смеси. Такое гомогенное сжигание усиливается благодаря присутствию трех радикалов, создаваемых в процессе катализации первой порции смеси. Далее каталитический реактор действует таким образом, чтобы обеспечить стабильность сжигания обедненной смеси (второй и третьей порций) (Method and apparatus for sequentially staged combustion using a catalyst. Пат. США №5,623,819, МКИ F23R 003/40, 1997 г).
Известны способ сжигания и горелка для его реализации. По данному техническому решению первая стадия сжигания происходит в каталитическом реакторе, затем поток топлива сжигается в каталитическом реакторе вместе с отработанным газом, поступающим из каталитического реактора, подается на вторую стадию сжигания для формирования однородного пламени путем самозажигания (воспламенения). Если топливо из топливовоздушной смеси сжигается на первой стадии в каталитическом реакторе лишь частично, а недосожженный остаток топлива дожигается на второй стадии, то сжигание может стабилизироваться таким путем, что топливосодержащий отработанный газ из каталитического реактора между выходом из каталитического реактора и однородным пламенем пропускается через специальные устройства, которые аэродинамически стабилизируют однородное пламя (Combustion method and burner for carrying out the method. Пат. США №6,896,509, МКИ F23D 014/22, май 2005 г).
Приведенные технические решения предназначены для сжигания топлива в мощных промышленных стационарных котельных установках, газовых турбинах и т. д. В таких установках используются, как правило, мощные воздушные компрессоры с мощным электрическим приводом и большим расходом электроэнергии. Кроме того, такие установки рассчитаны на работу только на газообразном топливе.
Известен способ подготовки и устройство для сжигания топлива с узлом подачи топлива для получения потока и подачи его в трубопровод. При этом создается турбулентный поток топлива. На топливо воздействуют комбинацией элементов в смеси или поэлементно (медь, алюминий, нерж. сталь, магний, барий, кальций и т.д.), которые изменяют химический состав топлива, подаваемого на сжигание, изменяя молекулярные связи в топливе путем катализа. Топливо, независимо от его типа, затем рассеивается с помощью небольших форсунок, размещенных по всей площади печи. При этом снижается плотность испарения (парообразования) топлива. Одновременно увеличивается эффективность сжигания топлива (Fuel conditioning assembly. Пат. США №6,915,789, МКИ F02M 033/00, 1997 г).
Данный способ сжигания предусматривает использование множества форсунок, что требует сложной регулировки подачи топлива и воздуха к форсункам и поддерживания устойчивого горения.
Устройства для осуществления данного способа чрезвычайно сложны по конструкции, дороги в изготовлении, обслуживании, ремонте и поэтому не могут быть использованы в средствах малой энергетики, в частности в сельском хозяйстве.
Известны способ сжигания топлива для получения тепла и воздухонагреватель для его осуществления, которые по назначению и большинству сходных признаков приняты в качестве прототипов соответственно первого и второго заявленных изобретений (Смесительный каталитический воздухонагреватель ВГСК, рассмотренный в статье Исмагилова 3.Р. и Керженцева М.А. «Экологически чистое сжигание топлив и каталитическая очистка дымовых газов ТЭС от оксидов азота: состояние и перспективы», опубл. в Журнале Всесоюзного химического общества им. Д.И.Менделеева, том XXXV, раздел «Химия в защите окружающей среды», 1990, №1, с.47 рис.5, а также – в рекламном листке «Экологически чистый воздухонагреватель ВГСК» Института катализа им. Г.К.Борескова Сибирского отделения Российской академии наук. Копия листка приложена к заявке).
Прототип первого изобретения (способа) включает подачу топлива в горелку с одновременной подачей первичного воздуха, сжигание топлива в смеси с первичным воздухом в жаровой трубе камеры сгорания, последующий ввод в жаровую трубу вторичного воздуха, дожигание не сгоревшего в топочных газах топлива в камере дожигания, разбавление воздухом потока горячих газов, выходящих из камеры дожигания, и вывод нагретого воздуха для использования по целевому назначению. При этом способе во всей полости жаровой трубы камеры сгорания осуществляют многофакельное сжигание топлива (природного газа), обеспечивая высокую (не менее 85%) степень сжигания. Для этого предварительно разделяют объем топлива на несколько малых объемов с помощью достаточно сложного многофорсуночного горелочного устройства.
Способ-прототип не обладает универсальностью (по типу горелки и виду топлива) по следующей причине. Для его осуществления невозможно использовать однофакельные широко распространенные типовые горелки, включая горелки для жидкого топлива. При использовании в этом способе однофакельных горелок значительная часть топлива, не сгоревшего за одну стадию в жаровой трубе камеры сгорания, из-за низкой степени сжигания топлива в факеле (не более 60%), будет поступать в камеру дожигания, нарушая ее работу.
Прототип второго изобретения (воздухонагревателя) включает горелку с вентилятором первичного воздуха, камеру сгорания с внешним корпусом и жаровой трубой, имеющей отверстия для ввода в нее вторичного воздуха, размещенную во внешнем корпусе с образованием кольцевого канала между жаровой трубой и внешним корпусом, а также камеру дожигания не сгоревшего в топочных газах топлива. Воздухонагреватель ВГСК, согласно осуществляемого им способа-прототипа, снабжен сложным многофорсуночным горелочньм устройством для сжигания природного газа.
Недостаток воздухоподогревателя-прототипа – отсутствие его универсальности, а именно невозможность использования в нем широко распространенных типовых однофакельных горелок для жидкого или газообразного топлива. Этот недостаток обусловлен указанным выше недостатком осуществляемого им способа-прототипа, рассчитанного на многофакельное сжигание топлива (природного газа) во всем объеме жаровой трубы камеры сгорания с последующим дожиганием. Иначе говоря, конструкция ВГСК не позволяет обеспечить высокую (не менее 85%) степень сжигания топлива при однофакельном горении его в жаровой трубе камеры сгорания, а при меньшей степени основного сжигания топлива камера дожигания не выполняет свою функцию.
Задача первого изобретения – обеспечение универсальности способа сжигания топлива для получения тепла путем повышения степени сжигания топлива в жаровой трубе камеры сгорания при использовании однофакельных горелок для жидкого или газообразного топлива, то есть устранение недостатка способа-прототипа.
Задача второго изобретения – обеспечение универсальности воздухонагревателя за счет создания условий для осуществления им заявленного способа сжигания жидкого или газообразного топлива.
Задача первого изобретения решается тем, что заявленный способ сжигания жидкого или газообразного топлива для получения тепла, как и его прототип, включает подачу топлива в горелку с одновременной подачей первичного воздуха, сжигание топлива в смеси с первичным воздухом в жаровой трубе камеры сгорания, последующий ввод в жаровую трубу вторичного воздуха, дожигание не сгоревшего в топочных газах топлива в камере дожигания, разбавление воздухом потока горячих газов, выходящих из камеры дожигания, и вывод нагретого воздуха для использования по целевому назначению. Однако, в отличие от способа-прототипа, в заявленном способе сжигание топлива с его дожиганием осуществляют в три стадии, на первой из которых смесь топлива с первичным воздухом сжигают с низким коэффициентом избытка первичного воздуха, на второй – полученную горящую топливовоздушную смесь распределяют по периферии жаровой трубы камеры сгорания, при этом смесь завихряют и смешивают с частью вторичного воздуха, ввод которого в жаровую трубу осуществляют хотя бы в двух ее зонах, полученную смесь с высоким коэффициентом избытка воздуха интенсивно сжигают, на третьей – вводят в жаровую трубу остальную часть вторичного воздуха, чем понижают температуру топочных газов, вводят их в камеру дожигания и дожигают в ней не сгоревшее в топочных газах топливо (продукты неполного сгорания топлива).
Названная новая совокупность существенных признаков заявленного способа, дополнительно включающего стадию интенсивного сжигания топлива (вторая стадия), во всех случаях его осуществления повышает степень сжигания топлива в жаровой трубе камеры сгорания при использовании типовых однофакельных горелок для жидкого или газообразного топлива, то есть обеспечивает достижение технического результата, указанного в задаче первого изобретения.
Задача второго изобретения решается тем, что заявленный воздухонагреватель для сжигания жидкого или газообразного топлива для получения тепла, как и его прототип, включает горелку с вентилятором первичного воздуха, камеру сгорания с внешним корпусом и жаровой трубой, имеющей отверстия для ввода в нее вторичного воздуха, размещенную во внешнем корпусе с образованием кольцевого канала между жаровой трубой и внешним корпусом, а также камеру дожигания не сгоревшего в топочных газах топлива. Однако, в отличие от прототипа, заявленный воздухонагреватель дополнительно содержит отдельный вентилятор вторичного воздуха, соединенный с полостью внешнего корпуса камеры сгорания, и завихритель в виде полого конического смесителя, установленный в жаровой трубе и разделяющий ее на первичную и вторичную жаровые камеры. Первичная жаровая камера размещена между горелкой и завихрителем, а вторичная – между завихрителем и камерой дожигания. При этом отверстия для ввода в жаровую трубу вторичного воздуха расположены хотя бы в двух зонах вторичной жаровой камеры, первая из которых находится ближе к завихрителю, вторая – к камере дожигания, а кольцевой канал, образованный между жаровой трубой и внешним корпусом камеры сгорания, закрыт со стороны камеры дожигания.
Разделение жаровой трубы на первичную и вторичную жаровые камеры установкой в ней завихрителя в совокупности с другими названными общими существенными признаками во всех случаях осуществления второго изобретения позволяет реализовать заявленный способ трехстадийного сжигания топлива. Это обеспечивает необходимую степень сжигания топлива в жаровой трубе камеры сгорания при использовании покупных горелок для жидкого или газообразного топлива и эффективный дожиг остатков топлива в камере дожигания.
Кроме того, в частных случаях осуществления заявленного воздухонагревателя его камера дожигания выполнена в виде отдельного узла, соединенного с жаровой трубой камеры сгорания. Это позволяет сократить потребность дорогой жаропрочной стали на изготовление жаровой трубы и камеры дожигания.
Кроме того, часть камеры дожигания, соединенная с жаровой трубой, выполнена с расширением по ходу движения в ней топочных газов. Это обеспечивает возможность более качественно дожигать остатки не сгоревшего в топочных газах топлива при достаточно высокой теплопроизводительности воздухонагревателя.
Кроме того, воздухонагреватель имеет воздухозаборник и вентилятор подогретого воздуха, расположенный входным окном напротив выхода камеры дожигания, дистанционно от него, а воздухозаборник соединен с входным окном вентилятора и выполнен в виде экрана, охватывающего хотя бы часть камеры сгорания и камеру дожигания с образованием между ним и названными камерами кольцевого канала для прохода наружного нагреваемого воздуха к вентилятору. Наличие указанных элементов, их расположение и взаимосвязь расширяет функции воздухонагревателя, сокращает потери тепла, обеспечивает создание равномерного по температуре, интенсивно нагнетаемого потока нагретого воздуха и необходимую компактность воздухонагревателя.
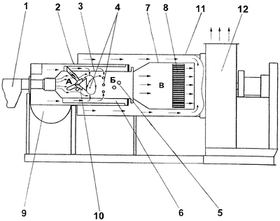
Сущность изобретений поясняется чертежом, на котором представлен воздухонагреватель, вид сбоку с местным разрезом, схема.
На чертеже приняты следующие обозначения:
1 – горелка с вентилятором;
2 – корпус камеры сгорания;
3 – жаровая труба камеры сгорания;
4 и 5 – отверстия для ввода воздуха;
6 – кольцевой канал камеры сгорания;
7 – камера дожигания;
8 – дожигатель (каталитическая кассета);
9 – вентилятор вторичного воздуха;
10 – завихритель;
11 – воздухозаборник;
12 – вентилятор подогретого воздуха;
А – первичная жаровая камера;
Б – вторичная жаровая камера;
В – полость камеры дожигания.
Воздухонагреватель для осуществления заявленного способа включает горелку 1 для сжигания жидкого или газообразного топлива с вентилятором первичного воздуха, камеру сгорания с внешним корпусом 2 и жаровой трубой 3. Головка горелки 1 расположена в передней части жаровой трубы 3 соосно с ней. Жаровая труба 3 имеет отверстия 4 и 5 для ввода в нее вторичного воздуха, размещена во внешнем корпусе 2 камеры сгорания и образует с ним кольцевой канал 6 для подвода вторичного воздуха. Воздухонагреватель имеет также камеру дожигания 7 не сгоревшего в топочных газах топлива с дожигателем 8, например, выполненным в виде сотовой керамической каталитической кассеты.
Для качественного сжигания жидкого или газообразного топлива при работе с соответствующей широко распространенной типовой горелкой 1, в том числе однофакельной, воздухонагреватель имеет отдельный вентилятор 9 вторичного воздуха, соединенный с полостью внешнего корпуса 2 камеры сгорания, и завихритель 10, выполненный в виде полого конического смесителя. Завихритель 10 установлен в жаровой трубе 3 и разделяет ее на первичную А и вторичную Б жаровые камеры. Первичная жаровая камера А размещена между горелкой 1 и завихрителем 10, а вторичная Б – между завихрителем 10 и камерой дожигания 7 с полостью В. Кольцевой канал 6 между жаровой трубой 3 и внешним корпусом 2 камеры сгорания закрыт со стороны камеры дожигания 7, например кольцом, имеющим тепловой зазор между ним и жаровой трубой 3. Отверстия 4 и 5, предназначенные для распределенного ввода в жаровую трубу 3 из кольцевого канала 6 вторичного, в том числе охлаждающего, воздуха, расположены хотя бы в двух зонах вторичной жаровой камеры Б. Первая из этих зон с отверстиями 4 находится ближе к завихрителю 10, вторая зона с отверстиями 5 для охлаждения и обогащения кислородом топочных газов – к камере дожигания 7.
В данном примере камера дожигания 7 выполнена в виде отдельного узла, соединенного с жаровой трубой 3 камеры сгорания. Кроме того, часть камеры дожигания 7, соединенная с жаровой трубой 3, выполнена с расширением по ходу движения в ней топочных газов. Это улучшает работу камеры дожигания 7 путем увеличения рабочего объема ее полости В и дожигателя 8, что позволяет повысить тепловую мощность воздухонагревателя.
Для нагнетания подогретого воздуха, например в установки для сушки сельскохозяйственных продуктов активным вентилированием или в сеть для отопления нескольких помещений, воздухонагреватель имеет воздухозаборник 11 и вентилятор 12 подогретого воздуха, расположенный входным окном напротив выхода камеры дожигания 7, дистанционно от него. Входное окно вентилятора 12 соединено с воздухозаборником 11, который выполнен в виде экрана, охватывающего часть внешнего корпуса 2 камеры сгорания и камеру дожигания 7 с образованием между ним и названными камерами кольцевого канала для прохода наружного нагреваемого воздуха к вентилятору 12.
Заявленный способ осуществляется, при работе предложенного воздухонагревателя, следующим образом.
Жидкое или газообразное топливо под давлением подается в горелку 1, в частности однофакельного типа, в которую одновременно нагнетается ее вентилятором первичный воздух. В первичной жаровой камере А жаровой трубы 3, в торце которой расположена головка работающей горелки 1, осуществляется первая стадия сжигания топлива, то есть происходит факельное (диффузионное) горение топлива в смеси с первичным воздухом при коэффициенте избытка воздуха =0,3÷0,4. Далее начинается вторая стадия сжигания, то есть горящая в первичной жаровой камере А топливовоздушная смесь направляется на завихритель 10, обтекая его, входит во вторичную жаровую камеру Б. Благодаря этому и рассмотренному ниже действию завихрителя 10 происходит распределение потока факельного горения топливовоздушной смеси по периферии жаровой трубы 3.
Поток вторичного воздуха вентилятором 9 нагнетается в полость корпуса 2 камеры сгорания, поступает в кольцевой канал 6, расположенный между названным корпусом 2 и жаровой трубой 3. Основная масса вторичного воздуха продолжает движение в кольцевом канале 6, а часть ее из этого канала направляется в завихритель 10, в котором закручивается. Струи закрученного воздуха, выходящие из завихрителя 10, объединяются с обтекающей его горящей топливовоздушной смесью, завихряют и эффективно смешивают ее с вторичным воздухом, поступающим из кольцевого канала 6 во вторичную жаровую камеру Б через отверстия 4. Во вторичной камере Б жаровой трубы 3 происходит основной процесс второй стадии, то есть интенсивно сжигается топливо при коэффициенте избытка воздуха =1,5÷2,5. При этом во много раз снижается концентрация оксидов азота и окиси углерода в продуктах сгорания, повышается скорость и температура зон горения, обеспечивая полноту сгорания топлива не менее 85%.
Известными средствами регулируют расход топлива в горелке 1 и производительность вентилятора вторичного воздуха 9, тем самым устанавливают максимальную температуру в зоне интенсивного горения не выше 1800°С, что многократно снижает вероятность образования окислов азота.
Подготовка к третьей стадии сжигания топлива начинается в зоне вторичной жаровой камеры Б, смежной с камерой дожигания 7. При этом из кольцевого канала 6 через отверстия 5 вводится в жаровую трубу 3 остальная часть вторичного воздуха, которая эффективно смешивается с завихренньми топочными газами, охлаждая и обогащая их кислородом. Температура топочных газов перед вводом их в камеру дожигания 7 понижается до величины, допустимой для работы дожигателя 8, например до температуры 500÷800°С, рациональной для работы дожигателя 8, выполненного в виде сотовой керамической каталитической кассеты.
Из жаровой трубы 3 камеры сгорания охлажденные и обогащенные кислородом топочные газы поступают в полость В камеры дожигания 7. Благодаря расширению начального участка камеры дожигания 7 скорость потока топочных газов снижается. Во всем, достаточно большом, объеме полости В и в дожигателе 8 этой камеры происходит дожигание, вплоть до 99,5%, остатков топлива, не сгоревшего ранее в топочных газах. Этот процесс протекает при пониженной температуре, что исключает образование окиси азота, способствует более эффективному дожиганию остатков топлива, дальнейшему снижению концентрации вредных газов (СО, СН).
В конце третьей стадии сжигания топлива горячие газы, очищенные в камере дожигания 7 от продуктов неполного сгорания топлива, выходят из этой камеры, разбавляются наружным воздухом, нагревая его до заданной температуры. Подогретый воздух используется по целевому назначению, например за счет разрежения, создаваемого автономным вентилятором, поступает в отопительную систему или в систему приема агента сушки сушилки сельскохозяйственных продуктов.
В рассматриваемом примере наружный воздух за счет разрежения, создаваемого вентилятовом 12, входит в воздухозаборник 11 и проходит по кольцевому каналу между ним, внешним корпусом 2 камеры сгорания и камерой дожигания 7. При этом воздух подогревается, охлаждая стенки камер 2 и 7, что увеличивает срок их службы и сокращает потери тепла. Далее этот воздух направляется во входное окно вентилятора 12, в которое одновременно поступают горячие газы, выходящие из камеры дожигания 7, и разбавляет их, нагреваясь до заданной температуры. Подогретый воздух эффективно перемешивается с горячими газами, проходя через вентилятор 12, и выходит из его нагнетательного окна в виде интенсивного равномерного по температуре потока для использования по назначению.
На основе заявленной группы изобретений в ОАО «Сибирский Агропромышленный Дом» (ОАО «САД») Сибирского отделения Российской Академии сельскохозяйственных наук (СО РАСХН) создан и испытан экспериментальный образец воздухонагревателя (универсального генератора тепла каталитического «УГТК-0,45 «ПИОНЕР»), рассчитанный на работу с типовыми, в том числе с однофакельными, горелками для жидкого или газообразного топлива. Показатели его следующие: максимальная мощность 0,45 МВт; тепловая мощность по воздуху 215÷385 Мкал/ч; наибольшая подача нагретого воздуха 18 тыс. м3/ч; степень нагрева воздуха 30÷70°С; полное давление подогретого воздуха на выходе из вентилятора 1000 Па; расход топлива – при работе на газе 18÷32 м3/ч, при работе на жидком топливе (дизтопливо) 22÷38 кг/ч; тепловой КПД 99,5%.
При обогреве 2200 м3 рассадно-овощных теплиц заявленным воздухоподогревателем содержание вредных веществ не превысило нормы ПДК для рабочей зоны, а система автоматического управления обеспечивала поддержание температуры в теплице на уровне заданных параметров.
Формула изобретения
1. Способ сжигания жидкого или газообразного топлива для получения тепла, включающий подачу топлива в горелку с одновременной подачей первичного воздуха, сжигание топлива в смеси с первичным воздухом в жаровой трубе камеры сгорания, последующий ввод в жаровую трубу вторичного воздуха, дожигание несгоревшего в топочных газах топлива в камере дожигания, разбавление воздухом потока горячих газов, выходящих из камеры дожигания, и вывод нагретого воздуха для использования по целевому назначению, причем сжигание топлива с его дожиганием осуществляют в три стадии, на первой из которых смесь топлива с первичным воздухом сжигают с низким коэффициентом избытка первичного воздуха, на второй – горящую топливовоздушную смесь распределяют по периферии жаровой трубы, при этом смесь завихряют и смешивают с частью вторичного воздуха, ввод которого в жаровую трубу осуществляют хотя бы в двух ее зонах, полученную смесь с высоким коэффициентом избытка воздуха интенсивно сжигают, на третьей – вводят в жаровую трубу остальную часть вторичного воздуха, охлаждая и обогащая кислородом топочные газы, вводят их в камеру дожигания и дожигают в ней несгоревшее в топочных газах топливо.
2. Воздухонагреватель, включающий горелку для сжигания жидкого или газообразного топлива с вентилятором первичного воздуха, камеру сгорания с внешним корпусом и жаровой трубой, имеющей отверстия для ввода в нее вторичного воздуха, размещенную во внешнем корпусе с образованием кольцевого канала между жаровой трубой и внешним корпусом, а также камеру дожигания несгоревшего в топочных газах топлива, причем он дополнительно содержит отдельный вентилятор вторичного воздуха, соединенный с полостью внешнего корпуса камеры сгорания, и завихритель в виде полого конического смесителя, установленный в жаровой трубе и разделяющий ее на первичную и вторичную жаровые камеры, причем первичная жаровая камера размещена между горелкой и завихрителем, а вторичная – между завихрителем и камерой дожигания, при этом отверстия для ввода в жаровую трубу вторичного воздуха расположены хотя бы в двух зонах вторичной жаровой камеры, первая из которых находится ближе к завихрителю, вторая – к камере дожигания, а кольцевой канал, образованный между жаровой трубой и внешним корпусом камеры сгорания, закрыт со стороны камеры дожигания.
3. Воздухонагреватель по п.2, отличающийся тем, что камера дожигания выполнена в виде отдельного узла, соединенного с жаровой трубой камеры сгорания.
4. Воздухонагреватель по п.3, отличающийся тем, что часть камеры дожигания, соединенная с жаровой трубой, выполнена с расширением по ходу движения в ней топочных газов.
5. Воздухонагреватель по п. 2, или 3, или 4, отличающийся тем, что имеет воздухозаборник и вентилятор подогретого воздуха, расположенный входным окном напротив выхода камеры дожигания, дистанционно от него, а воздухозаборник соединен с входным окном вентилятора и выполнен в виде экрана, охватывающего хотя бы часть камеры сгорания и камеру дожигания с образованием между ним и названными камерами кольцевого канала для прохода наружного нагреваемого воздуха к вентилятору.
РИСУНКИ
|
|