|
|
(21), (22) Заявка: 2005140213/06, 22.12.2005
(24) Дата начала отсчета срока действия патента:
22.12.2005
(46) Опубликовано: 20.09.2007
(56) Список документов, цитированных в отчете о поиске:
SU 1201544 А, 30.12.1985. DE 4139907 A1, 09.06.1993. EP 1498603 A1, 19.01.2005. JP 63038692 A, 19.02.1988. RU 2231673 C2, 20.06.2003. JP 11117829 A1, 27.04.1999. JP 01193468 A, 03.08.1989. DE 10004702 A1, 09.08.2001. JP 63170548 A, 14.07.1988.
Адрес для переписки:
630501, Новосибирская обл., пос. Краснообск, а/я 161, Е.В. Иваницкому
|
(72) Автор(ы):
Герман Виктор Адольфович (RU), Иваницкий Евгений Васильевич (RU), Лебедев Анатолий Афанасьевич (RU)
(73) Патентообладатель(и):
Герман Виктор Адольфович (RU), Иваницкий Евгений Васильевич (RU), Лебедев Анатолий Афанасьевич (RU)
|
(54) РАСПЫЛИТЕЛЬ ФОРСУНКИ
(57) Реферат:
Изобретение относится к области двигателей внутреннего сгорания, преимущественно дизельных, применительно к форсункам с непосредственным впрыскиванием топлива. Изобретение позволяет уменьшить утечки топлива при любых давлениях впрыска, повысить долговечность распылителя, снизить трудоемкость изготовления и сборки. Распылитель форсунки содержит установленный в направляющей корпуса игольчатый клапан, образующий с ней прецизионную пару и имеющий на торце запорный конус, сопряженный с коническим седлом, выполненным на внутренней поверхности корпуса. В направляющей корпуса выполнены замкнутые канавки, расположенные перпендикулярно движению игольчатого клапана. Канавки выполняют способом врезного алмазно-электрохимического шлифования. 2 ил
Изобретение относится к области двигателей внутреннего сгорания, преимущественно дизельных, применительно к форсункам с непосредственным впрыскиванием топлива.
Известен распылитель форсунки, содержащий установленный в направляющей корпуса игольчатый клапан, образующий с ней прецизионную пару и имеющий на торце запорный конус, сопряженный с коническим седлом, выполненным на внутренней поверхности корпуса [Файнлеб Б.Н. Топливная аппаратура автотракторных дизелей. Л., «Машиностроение», 1974, с.94].
Недостатком известных распылителей является необходимость выполнения весьма малого зазора между направляющей корпуса и игольчатым клапаном, что увеличивает трудоемкость изготовления и сборки распылителя, малый зазор в этом сопряжении вызывает неизбежное смещение осей седла и запорного конуса относительно оси направляющей корпуса. Эти смещения возникают как в результате ограниченных возможностей технологии изготовления распылителя, так и в результате монтажных и тепловых деформаций распылителя на двигателе. В результате таких смещений возникают потери легкости перемещений игольчатого клапана из-за повышенного трения в прецизионном сопряжении вследствие перекоса игольчатого клапана в направляющей корпуса распылителя, приводящие к образованию натиров и износов, что снижает долговечность распылителя. При высоких давлениях впрыска создается большая разница давлений топлива при входе в зазор и выходе из корпуса, что способствует увеличению утечки топлива через малый зазор.
Наиболее близким к предлагаемому изобретению является распылитель форсунки, содержащий установленный в направляющей корпуса игольчатый клапан, образующий с ней прецизионную пару и имеющий на торце запорный конус, сопряженный с коническим седлом, выполненным на внутренней поверхности корпуса [авт. св. СССР №861701, МПК F02M 61/10, опубл. 07.09.81].
Недостатком данного распылителя форсунки является то, что одна четвертая (1/4) часть направляющей корпуса выполнена в виде усеченного конуса, большое основание которого расположено со стороны седла, чем обеспечивается увеличение зазора и самоустанавливаемость игольчатого клапана. Однако в результате этого возникает потеря легкости перемещения игольчатого клапана из-за повышенного трения в прецизионной паре, приводящего к образованию натиров и износов, что снижает долговечность распылителя. При этом увеличенный зазор не обеспечивает уменьшения утечки топлива при впрыске как при низких, так и при высоких давлениях.
Кроме того, выполнение одной четвертой (1/4) части направляющей корпуса в виде усеченного конуса создает трудности в изготовлении и сборке распылителя.
Задачей предлагаемого изобретения является уменьшение утечки топлива при любых давлениях впрыска, повышение долговечности распылителя, снижение трудоемкости изготовления и сборки.
Для достижения данного технического результата в распылителе форсунки, содержащем установленный в направляющей корпуса игольчатый клапан, образующий с ней прецизионную пару и имеющий на конце с ней запорный конус, сопряженный с коническим седлом, выполненным на внутренней поверхности конуса, в направляющей корпуса выполнены замкнутые канавки, расположенные перпендикулярно движению игольчатого клапана, при этом в прецизионной паре выполнен зазор больше на толщину слоя топлива в ней.
Отличительными признаками предлагаемого изобретения от указанного выше известного, наиболее близкого, являются выполнение замкнутых канавок в направляющей корпуса, расположенных перпендикулярно движению игольчатого клапана, при этом выполнение зазора в прецизионной паре больше на толщину слоя топлива в ней.
Благодаря наличию этих признаков при работе распылителя увеличивается сопротивление движению топлива в зазоре прецизионной пары, что уменьшает утечки топлива при любых давлениях впрыска.
Увеличение сопротивления движения топлива в зазоре прецизионной пары способствует образованию устойчивого слоя топлива, который уменьшает трение в прецизионной паре, снижающее натиры и износы, вследствие чего повышается легкость перемещения иглы, что повышает долговечность распылителя.
При этом выполнение зазора в прецизионной паре больше на толщину слоя топлива в ней снижает трудоемкость изготовления и сборки распылителя, т.к. увеличивается поле допуска на изготовление диаметра направляющей корпуса и увеличивается поле допуска на зазор, что улучшает самоустанавливаемость игольчатого клапана.
Предлагаемое изобретение иллюстрируется фиг.1 и 2.
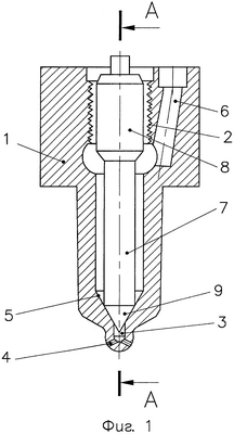
На фиг.1 изображен общий вид распылителя форсунки, разрез; на фиг.2 – разрез А-А на фиг.1.
Распылитель состоит из корпуса 1 с направляющей 2. В торцевой части корпуса размещен тупиковый канал 3, в котором выполнены сопловые отверстия 4. На внутренней поверхности корпуса расположено коническое седло 5. Канал 6 предназначен для подвода топлива во внутреннюю полость распылителя. Внутри корпуса 1 размещен игольчатый клапан 7, поверхность 8 которого образует с направляющей 2 прецизионную пару. Игольчатый клапан 7 на торце имеет коническую запорную часть 9, сопряженную в закрытом состоянии с коническим седлом 5.
В направляющей 2 корпуса выполнены замкнутые канавки 10, расположенные перпендикулярно движению игольчатого клапана 7, которые являются гидрозатворами.
При этом в прецизионной паре зазор выполнен больше на толщину слоя топлива в ней. Канавки 10 выполняют, например, способом врезного алмазно-электрохимического шлифования.
Распылитель форсунки работает следующим образом.
При подаче топлива насосом оно поступает во внутреннюю полость корпуса 1 распылителя по каналу 6. Когда давление во внутренней полости достигает величины, достаточной для преодоления силы пружины (не показана), нагружающей игольчатый клапан 7, последний поднимается. При этом топливо из внутренней полости поступает в канал 3 и через сопловые отверстия 4 в цилиндр двигателя (не показан). После прекращения подачи топлива насосом давление на внутренней полости понижается, игольчатый клапан 7 под действием пружины закрывается. При этом его коническая запорная часть 9 садится на коническое седло 5.
В процессе работы распылителя топливо от перетекания через зазор между корпусом 1 и поверхностью 8 игольчатого клапана 7 удерживается с помощью замкнутых канавок, выполненных в направляющей 2 и расположенных перпендикулярно движению игольчатого клапана 7.
В результате чего в зазоре прецизионной пары создается устойчивый слой топлива, который уменьшает трение в прецизионной паре, снижающее натиры и износы, вследствие чего повышается легкость перемещения игольчатого клапана 7.
Таким образом предлагаемое изобретение уменьшает утечки топлива при любых давлениях впрыска и повышает долговечность распылителя благодаря выполнению в направляющей корпуса замкнутых канавок, расположенных перпендикулярно движению игольчатого клапана.
При этом выполнение зазора в прецизионной паре больше на толщину слоя топлива в ней снижает трудоемкость изготовления и сборки распылителя, т.к. увеличивается поле допуска на изготовление диаметра направляющей корпуса и увеличивается поле допуска на зазор, что улучшает самоустанавливаемость игольчатого клапана.
Формула изобретения
Распылитель форсунки, содержащий установленный в направляющей корпуса игольчатый клапан, образующий с ней прецизионную пару и имеющий на торце запорный конус, сопряженный с коническим седлом, выполненным на внутренней поверхности корпуса, отличающийся тем, что в направляющей корпуса выполнены замкнутые канавки, расположенные перпендикулярно движению игольчатого клапана, при этом канавки выполняют способом врезного алмазно-электрохимического шлифования.
РИСУНКИ
|
|