|
| На основании пункта 3 статьи 13 Патентного закона Российской Федерации от 23 сентября 1992 г. № 3517-I патентообладатель обязуется передать исключительное право на изобретение (уступить патент) на условиях, соответствующих установившейся практике, лицу, первому изъявившему такое желание и уведомившему об этом патентообладателя и федеральный орган исполнительной власти по интеллектуальной собственности, – гражданину РФ или российскому юридическому лицу. |
|
(21), (22) Заявка: 2005139001/06, 15.12.2005
(24) Дата начала отсчета срока действия патента:
15.12.2005
(43) Дата публикации заявки: 27.06.2007
(46) Опубликовано: 20.09.2007
(56) Список документов, цитированных в отчете о поиске:
SU 666279 A1, 05.06.1979. SU 1544995 А, 23.02.1990. SU 1815356 A1, 15.05.1993. RU 49906 U1, 10.12.2005. RU 47978 U1, 21.03.2005. SU 371354 A1, 01.01.1973. GB 1408030 А, 01.10.1975. JP 59122716 А, 16.07.1984. JP 61108821 А, 27.05.1986. JP 60108514 А, 14.06.1985.
Адрес для переписки:
123458, Москва, ул. Твардовского, 11, кв.92, О.С. Кочетову
|
(72) Автор(ы):
Кочетов Олег Савельевич (RU), Кочетова Мария Олеговна (RU), Львов Геннадий Васильевич (RU), Львова Наталья Анатольевна (RU), Львова Юлия Геннадиевна (RU), Львов Михаил Геннадиевич (RU), Куличенко Александр Владимирович (RU), Кочетов Сергей Савельевич (RU), Кочетов Сергей Сергеевич (RU), Шестернинов Александр Владимирович (RU)
(73) Патентообладатель(и):
Кочетов Олег Савельевич (RU)
|
(54) ГЛУШИТЕЛЬ КОЧЕТОВЫХ
(57) Реферат:
Изобретение относится к машиностроению, в частности к средствам глушения аэродинамического шума пневматического оборудования и систем выпускав сжатого газа или воздуха. Технический результат – повышение эффективности шумоглушения. Глушитель шума содержит впускной патрубок и жестко связанный с ним корпус. Корпус содержит нижнюю и верхнюю крышки с канавками для фиксации внешней цилиндрической втулки из пористого материала. Крышки корпуса закреплены между собой посредством внутренней цилиндрической втулки посредством винта, взаимодействующего с резьбовой частью втулки. Во втулке выполнены калиброванные отверстия диаметром d, оси которых перпендикулярны оси втулки. Снаружи внешней втулки закреплен к верхней крышке корпуса цилиндрический стакан-экран. Отношение высоты В втулки из пористого материала к диаметру D впускного патрубка находится в диапазоне оптимальных величин B/D=5,5…7,5. Отношение толщины b внешней втулки из пористого материала к ее высоте В находится в диапазоне оптимальных величин b/В=0,05…0,1. Величина зазора s между внешней втулкой из пористого материала и стаканом-экраном находится в диапазоне оптимальных величин s=(0,05…0,2)×B. Внешняя цилиндрическая втулка выполнена из металлокерамики со степенью пористости, находящейся в диапазоне оптимальных величин 30…45%. 1 ил.
Изобретение относится к машиностроению, в частности к средствам глушения аэродинамического шума пневматического оборудования и систем выпуска сжатого газа или воздуха.
Наиболее близким техническим решением по технической сущности является глушитель шума выхлопа, содержащий впускной патрубок и примыкающий к нему корпус из пористого материала (а.с. СССР №666279, опубл. 05.06.1979 – прототип).
Недостатком известного технического решения является сравнительно невысокая эффективность шумоглушения на низких частотах.
Технический результат – повышение эффективности шумоглушения.
Это достигается тем, что в глушителе шума, содержащем впускной патрубок и жестко связанный с ним корпус, последний содержит нижнюю и верхнюю крышки с канавками для фиксации внешней цилиндрической втулки из пористого материала, причем крышки корпуса закреплены между собой посредством внутренней цилиндрической втулки посредством винта, взаимодействующего с резьбовой частью втулки, во втулке выполнены калиброванные отверстия диаметром d, оси которых перпендикулярны оси втулки, а снаружи внешней втулки закреплен к верхней крышке корпуса цилиндрический стакан-экран, причем отношение высоты В втулки из пористого материала к диаметру D впускного патрубка находится в диапазоне оптимальных величин B/D=5,5…7,5, а отношение толщины b внешней втулки из пористого материала к ее высоте В находится в диапазоне оптимальных величин b/В=0,05…0,1, а величина зазора s между внешней втулкой из пористого материала и стаканом-экраном находится в диапазоне оптимальных величин s=(0,05…0,2)×B, внешняя цилиндрическая втулка выполнена из металлокерамики со степенью пористости, находящейся в диапазоне оптимальных величин 30…45%.
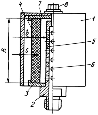
На чертеже представлен фронтальный разрез предлагаемого глушителя шума.
Глушитель шума содержит впускной патрубок 2 с отверстием диаметром D и жестко связанный с ним корпус, содержащий нижнюю 3 и верхнюю 7 крышки с канавками для фиксации внешней цилиндрической втулки 4 из пористого материала, причем крышки 3 и 7 корпуса закреплены между собой посредством внутренней цилиндрической втулки 5 посредством винта 8, взаимодействующего с резьбовой частью втулки 5, причем во втулке 5 выполнены калиброванные отверстия диаметром d, оси которых перпендикулярны оси втулки, а снаружи внешней втулки 4 закреплен к верхней крышке 7 корпуса цилиндрический стакан-экран 1, причем отношение высоты В втулки из пористого материала к диаметру D впускного патрубка находится в диапазоне оптимальных величин B/D=5,5…7,5, а отношение толщины b внешней втулки из пористого материала к ее высоте В находится в диапазоне оптимальных величин b/В=0,05…0,1, а величина зазора s между внешней втулкой из пористого материала и стаканом-экраном находится в диапазоне оптимальных величин s=(0,05…0,2)×B.
Внешняя цилиндрическая втулка может быть выполнена из металлокерамики со степенью пористости, находящейся в диапазоне оптимальных величин 30…45%.
Глушитель шума работает следующим образом.
Звуковые волны вместе с турбулентным потоком сжатого воздуха от пневматического оборудования поступают через впускной патрубок 2 через его отверстие в корпус 1. При этом явление лучевого эффекта полностью исключается за счет наличия втулки 4 из пористого материала и стакана-экрана 1, а эффективность шумоглушения возрастает за счет подбора геометрических параметров корпуса втулки и пористости структуры предлагаемых шумопоглощающих материалов.
Формула изобретения
Глушитель шума, содержащий впускной патрубок и жестко связанный с ним корпус, отличающийся тем, что корпус содержит нижнюю и верхнюю крышки с канавками для фиксации внешней цилиндрической втулки из пористого материала, причем крышки корпуса закреплены между собой посредством внутренней цилиндрической втулки посредством винта, взаимодействующего с резьбовой частью втулки, во втулке выполнены калиброванные отверстия диаметром d, оси которых перпендикулярны оси втулки, а снаружи внешней втулки закреплен к верхней крышке корпуса цилиндрический стакан-экран, причем отношение высоты В втулки из пористого материала к диаметру D впускного патрубка находится в диапазоне оптимальных величин B/D=5,5…7,5, a отношение толщины b внешней втулки из пористого материала к ее высоте В находится в диапазоне оптимальных величин b/В=0,05…0,1, а величина зазора s между внешней втулкой из пористого материала и стаканом-экраном находится в диапазоне оптимальных величин s=(0,05…0,2)·B, внешняя цилиндрическая втулка выполнена из металлокерамики со степенью пористости, находящейся в диапазоне оптимальных величин 30…45%.
РИСУНКИ
|
|