|
(21), (22) Заявка: 2006104294/03, 14.02.2006
(24) Дата начала отсчета срока действия патента:
14.02.2006
(46) Опубликовано: 20.09.2007
(56) Список документов, цитированных в отчете о поиске:
SU 909132 A1, 28.02.1982. RU 2209943 C1, 10.08.2003. SU 1067204 A1, 15.01.1984. SU 1714092 A1, 23.02.1992. US 3362475 А, 09.01.1968.
Адрес для переписки:
390048, г.Рязань, ул. Новоселов, 54/2, кв.292, В.А. Керимову
|
(72) Автор(ы):
Башкатов Алексей Дмитриевич (RU), Керимов Ваид Амирджанович (RU)
(73) Патентообладатель(и):
Башкатов Алексей Дмитриевич (RU), Керимов Ваид Амирджанович (RU)
|
(54) ИНСТРУМЕНТ ДЛЯ СООРУЖЕНИЯ ФИЛЬТРОВОЙ СКВАЖИНЫ
(57) Реферат:
Изобретение относится к горному делу, в частности к установкам для сооружения скважин для добычи воды и другой текучей среды, и может быть использовано при закачивании скважин в процессе бурения или проведения ремонта скважин для борьбы с выносом песка. Технический результат – повышение надежности очистки от бурового шлама и пластового песка и формирование естественного фильтра. Инструмент для сооружения фильтровой скважины включает скважинный фильтр, промывочную муфту и промывочную трубу, в котором промывочная муфта снабжена клапаном, телескопически установленным в ней и жестко связанным с промывочной трубой, выполненным с приводным узлом и перекрытым центральным каналом в нижней части, радиальными каналами, сообщенными с затрубной полостью скважины через промывочную муфту и скважинным фильтром соответственно в верхнем и нижнем положениях клапана. 3 з.п. ф-лы, 1 ил.
Настоящее изобретение относится к горному делу, в частности к установкам для сооружения скважин для добычи воды и другой текучей среды, и может быть использовано при заканчивании скважин в процессе бурения или проведения ремонта скважин для борьбы с выносом песка.
Известен инструмент для сооружения фильтровой скважины, включающий эксплуатационную, фильтровую колонны, двойную промывочную трубу [1].
Недостатком известного инструмента является промывка скважины через фильтровую колонну, что не обеспечивает надежной очистки фильтровой зоны.
Наиболее близким является инструмент для сооружения фильтровой скважины, включающий эксплуатационную, фильтровую колонны, промывочную муфту и промывочную трубу [2].
Недостатком известного инструмента является промывка фильтровой зоны через эксплуатационную колонну, что не обеспечивает надежную очистку от бурового шлама и пластового песка и формирование естественного фильтра.
В задачу настоящего изобретения ставится повышение надежности очистки от бурового шлама и пластового песка и формирование естественного фильтра.
Поставленная задача решается тем что, в инструменте для сооружения фильтровой скважины, включающем скважинный фильтр, промывочную муфту, промывочную трубу, промывочная муфта снабжена клапаном, телескопически установленным в ней и жестко связанным с промывочной трубой, выполненным с приводным узлом и перекрытым в нижней части центральным каналом, радиальными каналами, сообщенными с затрубной полостью скважины через промывочную муфту, и скважинным фильтром соответственно в верхнем и нижнем положениях клапана.
Кроме того, промывочная труба выполнена двойной.
Также промывочная муфта снабжена дополнительной промывочной трубой, установленной в скважинном фильтре.
А также приводной узел выполнен в виде шлицевого или шпоночного соединения промывочной муфты с клапаном и снабжен опорной гайкой.
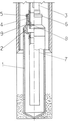
Сущность изобретения пояснена чертежом.
Инструмент включает скважинный фильтр 1, промывочную муфту 2, промывочную трубу 3. Промывочная муфта 2 снабжена клапаном 4.
Клапан 4 телескопически установлен в промывочной муфте 2 и выполнен с приводным узлом 5 в виде шлицевого и шпоночного соединения с промывочной муфтой 2 и снабжен опорной гайкой 6.
Промывочная муфта 2 снабжена дополнительной промывочной трубой 7, а промывочная труба 3 выполнена двойной.
Клапан 4 выполнен с перекрытым центральным каналом в нижней части заглушкой 8 и радиальными каналами 9, сообщенными с затрубной полостью скважины через промывочную муфту 2, и со скважинным фильтром через дополнительную и промывочную трубу 7 соответственно в верхнем и нижнем положениях клапана 4.
Промывочная муфта 2 соединена со скважинным фильтром 1 левым переводником.
Работа инструмента заключается в следующем.
Скважинный фильтр 1 спускают в скважину, устанавливают на забое и переводят клапан 4 в нижнее положение, когда радиальные каналы 9 сообщены через дополнительную промывочную трубу 7 с внутренней полостью скважинного фильтра 1.
Производят подачу промывочной жидкости и засыпку гравийной набивки в восходящем потоке промывочной жидкости.
При этом мелкие фракции гравийной набивки и буровой шлам вместе с пластовым песком вымываются из фильтровой зоны, и фильтровая набивка оседает в кольцевую полость, образуя естественный фильтр, а вымытые частицы выносятся из фильтровой зоны обратной промывкой через промывочную трубу 3 при переводе клапана 4 в верхнее положение и сообщения с затрубным пространством через радиальные каналы 9 промывочной трубы 3 через промывочную муфту 2.
Процесс засыпки гравийной набивки производят порциями с последовательным выносом вымытых частиц обратной промывкой, включением эрлифтной откачки.
После окончания засыпки гравийной набивки инструмент раскрепляется от скважинного фильтра и выносится из скважины.
Источники информации
1. Патент РФ №2209943, МПК 7, Е 21 В 43/04, 10.08.2003.
2. Авторское свидетельство SU №909132, МПК Е21В 43/08, 28.02.1982.
Формула изобретения
1. Инструмент для сооружения фильтровой скважины, включающий скважинный фильтр, промывочную муфту и промывочную трубу, отличающийся тем, что промывочная муфта снабжена клапаном, телескопически установленным в ней и жестко связанным с промывочной трубой, выполненным с приводным узлом и перекрытым центральным каналом в нижней части, радиальными каналами, сообщенными с затрубной полостью скважины через промывочную муфту и скважинным фильтром соответственно в верхнем и нижнем положениях клапана.
2. Инструмент по п.1, отличающийся тем, что промывочная труба выполнена двойной.
3. Инструмент по п.1, отличающийся тем, что промывочная муфта снабжена дополнительной промывочной трубой, установленной в скважинном фильтре.
4. Инструмент по п.1, отличающийся тем, что приводной узел выполнен в виде шлицевого или шпоночного соединения промывочной муфты с клапаном и снабжен опорной гайкой.
РИСУНКИ
MM4A – Досрочное прекращение действия патента СССР или патента Российской Федерации на изобретение из-за неуплаты в установленный срок пошлины за поддержание патента в силе
Дата прекращения действия патента: 15.02.2008
Извещение опубликовано: 10.12.2009 БИ: 34/2009
|