|
(21), (22) Заявка: 2006102020/03, 25.01.2006
(24) Дата начала отсчета срока действия патента:
25.01.2006
(46) Опубликовано: 20.09.2007
(56) Список документов, цитированных в отчете о поиске:
RU 2209943 C1, 10.08.2003. RU 2169254 C2, 20.06.2001. RU 2001248 C1, 15.10.1993. SU 1521865 A1, 15.11.1989. SU 844766 A1, 07.07.1981. US 4474239 A, 02.10.1984.
Адрес для переписки:
390048, г.Рязань, ул. Новоселов, 54/2, кв.292, В.А. Керимову
|
(72) Автор(ы):
Башкатов Алексей Дмитриевич (RU), Керимов Ваид Амирджанович (RU)
(73) Патентообладатель(и):
Башкатов Алексей Дмитриевич (RU), Керимов Ваид Амирджанович (RU)
|
(54) ИНСТРУМЕНТ ДЛЯ СООРУЖЕНИЯ ФИЛЬТРОВОЙ СКВАЖИНЫ
(57) Реферат:
Изобретение относится к области горного дела, в частности к устройствам для сооружения скважин для добычи воды и другой текучей среды, и может быть использовано при заканчивании скважин в процессе бурения или проведения ремонта скважин для борьбы с выносом песка из слабосцементированных и несцементированных продуктивных пластов. Обеспечивает оптимальное распределение гравия по всей прифильтровой зоне и надежную очистку от бурового шлама и пластового песка, а также формирование естественного фильтра. В инструменте для сооружения фильтровой скважины, включающем основной и дополнительный фильтры, отстойник с обратным клапаном, соединенную с ним с возможностью разъединения промывочную трубу с блокирующим средством и кольцевым обратным клапаном, подвижно установленную в основном и дополнительном фильтрах, обратный клапан выполнен с радиальными промывочными каналами, установлен в перегороженную часть отстойника, выполненного с радиальными промывочными каналами, снабжен полым толкателем, выполненным в нижней части с радиальными промывочными каналами, а верхней части – в качестве блокирующего средства кольцевого обратного клапана. 2 з.п.ф-лы, 1 ил.
Изобретение относится к области горного дела, в частности к устройствам для сооружения скважин для добычи воды и другой текучей среды и может быть использовано при заканчивании скважин в процессе бурения или проведения ремонта скважин для борьбы с выносом песка из слабосцементированных и несцементированных продуктивных пластов.
Известен скважинный инструмент для гравийной набивки интервала внутри ствола скважины, включающий трубопровод с основной секцией фильтра и верхним обходным фильтром [1]. Наличие обходного фильтра несколько выравнивает скорости намыва гравия и обеспечения фракционирования частиц.
Однако проблема недостаточной очистки от бурового шлама и пластового песка также не решается, особенно при превышении давлений промывочной жидкости над пластовым.
Известен также инструмент для сооружения фильтровой скважины [2], включающий трубопровод с основным и дополнительными фильтрами, промывочную трубу со средствами блокирования потока промывочной жидкости.
Снабжение инструмента промывочной трубой с блокирующими средствами и наличие обходного фильтра дают возможность управления потоком промывочной жидкости для хорошей набивки кольцевой полости фильтра, но не обеспечивают полную очистку фильтра от выбуренного шлама и пластового песка.
Наиболее близким является инструмент для сооружения фильтровой скважины, включающий основной фильтр с отстойником и обратным клапаном в нем, соединенный с ним дополнительный фильтр, промывочную трубу с блокирующим средством и кольцевым обратным клапаном с возможностью разъединения и подвижно установленную в основном и дополнительном фильтрах [3].
Недостатком известного инструмента является невозможность обеспечения полной очистки фильтра от выбуренного шлама и пластового песка.
В соответствии с настоящим изобретением предусмотрено создание инструмента для сооружения фильтровой скважины, который обеспечивает оптимальное распределение гравия по всей прифильтровой зоне и надежную очистку от бурового шлама и пластового песка и обеспечивает формирование естественного фильтра.
Поставленная задача решается тем что, в инструменте для сооружения фильтровой скважины, включающем основной и дополнительный фильтры, отстойник с обратным клапаном в нем, промывочную трубу с блокирующим средством и кольцевым обратным клапаном над ним, соединенную с обратным клапаном с возможностью разъединения и подвижно установленную в основном и дополнительном фильтрах, обратный клапан выполнен с радиальными промывочными каналами, установлен в перегороженную часть отстойника, выполненного с радиальными промывочными каналами, снабжен полым толкателем, выполненным в нижней части с радиальными промывочными каналами, а верхней части – в качестве блокирующего средства кольцевого обратного клапана.
Также основной и дополнительный фильтры соединены между собой срезными штифтами.
Кроме того, над радиальными промывочными каналами отстойника установлены центрирующие фонари.
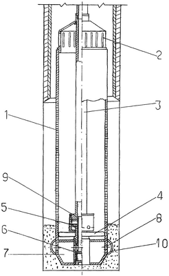
Сущность изобретения пояснена чертежом.
Инструмент включает основной 1, дополнительный 2 фильтры, промывочную трубу 3 с блокирующим средством 4 и кольцевым обратным клапаном 5, соединенную с обратным клапаном 6, установленном в перегороженной части отстойника 7, выполненного с радиальными промывочными каналами 8.
Обратный клапан 6 снабжен полым толкателем 9, выполненным с радиальными промывочными каналами и в качестве блокирующего средства кольцевого обратного клапана.
Над радиальными промывочными каналами 8 установлены центрирующие фонари 10.
Работа инструмента заключается в следующем.
Основной 1 и дополнительный 2 фильтры, соединенные между собой срезными штифтами, спускают на промывочной трубе 3, соединенной с обратным клапаном 6 и с возможностью разъединения.
В процессе спуска и установки фильтров 1, 2 в зону расширенной части ствола скважины производят обратную промывку кольцевой полости скважины.
При этом промывочная жидкость вместе с буровым шламом и остатками песка выносится через радиальные промывочные каналы 8, радиальные промывочные каналы обратного клапана 6 и полого толкателя 9 в промывочную трубу 3, а из нее – на поверхность.
После промывки и посадки фильтров на забой производят засыпку гравийной набивки в кольцевую полость скважины и разъединяют промывочную трубу 3 от обратного клапана 6, и дальнейшую засыпку и формирование гравийной набивки производят посредством чередования прямой и обратной промывок. При этом мелкие частицы гравия и остатки песка выносятся с кольцевой полости скважины и через дополнительный фильтр 2 поступают в основной фильтр 1, а из него обратной промывкой выносятся промывочной трубой 3 на поверхность. После окончания засыпки и формирования гравийной набивки промывочная труба 3 вместе с дополнительным фильтром 2 выносятся из скважины, предварительно срезав штифты, соединяющие фильтры.
Источники информации
1. А.С. СССР №1521865, МКИ 4 Е 21 В 43/08, 20.11.85.
2. Патент РФ №2169254, МПК 7 Е 21 В 43/04, 20.06.2001.
3. Патент РФ №2209943, МПК 7 Е 21 В 43/04, 10.08.2003.
Формула изобретения
1. Инструмент для сооружения фильтровой скважины, включающий основной и дополнительный фильтры, отстойник с обратным клапаном, соединенную с ним с возможностью разъединения промывочную трубу с блокирующим средством и кольцевым обратным клапаном, подвижно установленную в основном и дополнительном фильтрах, отличающийся тем, что обратный клапан выполнен с радиальными промывочными каналами, установлен в перегороженную часть отстойника, выполненного с радиальными промывочными каналами, снабжен полым толкателем, выполненным в нижней части с радиальными промывочными каналами, а верхней части – в качестве блокирующего средства кольцевого обратного клапана.
2. Инструмент по п.1, отличающийся тем, что основной и дополнительный фильтры соединены между собой срезными штифтами.
3. Инструмент по п.1, отличающийся тем, что над радиальными промывочными каналами отстойника установлены центрирующие фонари.
РИСУНКИ
MM4A – Досрочное прекращение действия патента СССР или патента Российской Федерации на изобретение из-за неуплаты в установленный срок пошлины за поддержание патента в силе
Дата прекращения действия патента: 26.01.2008
Извещение опубликовано: 20.10.2009 БИ: 29/2009
|