|
|
(21), (22) Заявка: 2005132329/03, 19.10.2005
(24) Дата начала отсчета срока действия патента:
19.10.2005
(43) Дата публикации заявки: 27.04.2007
(46) Опубликовано: 20.09.2007
(56) Список документов, цитированных в отчете о поиске:
SU 150387 A1, 28.08.1962. WO 99/51352, 14.10.1999. GB 1141892 A, 05.02.1969. DE 3802260 A1, 10.08.1989. SU 400355 A1, 16.05.1974.
Адрес для переписки:
450039, г.Уфа, ул. Сельская Богородская, 2, ФГУП “Научно-производственное предприятие “Мотор”
|
(72) Автор(ы):
Голубев Борис Семенович (RU), Ивах Александр Федорович (RU), Скиба Владимир Васильевич (RU)
(73) Патентообладатель(и):
Федеральное Государственное Унитарное предприятие “Научно-производственное предприятие “Мотор” (ФГУП “НПП “Мотор”) (RU)
|
(54) УСТРОЙСТВО ДЛЯ ИЗМЕЛЬЧЕНИЯ МАТЕРИАЛОВ
(57) Реферат:
Изобретение относится к технологии тонкого и сверхтонкого измельчения материалов. Устройство содержит корпус с осевым входным отверстием, выходным отверстием и камерой измельчения, в которой соосно установлены с возможностью встречного вращения два ротора, снабженных кольцевыми рядами измельчающих элементов. Измельчающие элементы роторов выполнены в виде лопаток с рабочей боковой поверхностью, установленных таким образом, что между рабочей боковой поверхностью лопатки и плоскостью вращения соответствующего ротора образован угол 95÷105°. Изобретение повышает качество измельчения материала. 2 ил.
ОБЛАСТЬ ТЕХНИКИ
Изобретение относится к технологии тонкого и сверхтонкого измельчения материалов и может быть использовано в энергетике, химической, строительной, пищевой, горнорудной и других отраслях промышленности.
УРОВЕНЬ ТЕХНИКИ
Известно устройство (патент WO 99/51352) для измельчения материалов, содержащее корпус с осевым входным отверстием, радиальным выходным отверстием и цилиндрической камерой измельчения, в которой соосно установлены с возможностью встречного вращения два горизонтально расположенных ротора, снабженных кольцевыми рядами измельчающих элементов, имеющих плоскую фронтальную поверхность, ориентированную под углом к радиальному направлению камеры измельчения. Между измельчающими элементами проходят каналы с поперечным сечением, имеющим замкнутый контур, сужающийся от центра в сторону периферии. Устройство по патенту WO 99/51352 принято в качестве прототипа.
РАСКРЫТИЕ ИЗОБРЕТЕНИЯ
Данным изобретением решается задача расширения арсенала технических средств, обеспечивающих тонкое и сверхтонкое измельчение материала.
Технический результат заключается в реализации этого назначения.
Существенные признаки:
– ограничительные:
корпус с осевым входным отверстием, выходным отверстием и камерой измельчения, два соосных ротора с возможностью встречного вращения, кольцевые ряды измельчающих элементов;
– отличительные:
измельчающие элементы роторов в виде лопаток с рабочей боковой поверхностью, лопатки установлены таким образом, что между рабочей боковой поверхностью лопатки и плоскостью вращения соответствующего ротора образован угол 95-105°.
КРАТКОЕ ОПИСАНИЕ ЧЕРТЕЖЕЙ
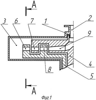
На Фиг.1 представлен разрез по оси устройства для измельчения материалов.
На Фиг.2 представлено сечение ротора по измельчающим элементам.
ОСУЩЕСТВЛЕНИЕ ИЗОБРЕТЕНИЯ
Устройство для измельчения материалов содержит корпус 1 с осевым входным отверстием 2 и выходным отверстием (не показано), камеру измельчения 3, соосные, встречно вращающиеся относительно вертикальной оси роторы 4 и 5 с кольцевыми рядами измельчающих элементов 6, 7, 8, и 9, смонтированных на них.
Измельчающие элементы 6, 7, 8 и 9 выполнены в виде лопаток с рабочей боковой поверхностью 10, установленных на роторах таким образом, что между рабочей боковой поверхностью 10 лопаток 6, 7, 8, 9 и плоскостью вращения 11 соответствующего ротора образован угол 12, равный 95-105°, т.е. лопатки установлены с так называемым “навалом” по направлению вращения ротора.
При работе подача измельчаемого материала осуществляется через входное отверстие 2 корпуса 1.
Попеременное соударение материала с измельчающими элементами 6, 7, 8 и 9, установленными кольцевыми рядами на встречно вращающихся роторах 4 и 5 с “навалом” по направлению их вращения относительно вертикальной оси, обеспечивает высокую степень использования кинетической энергии для его измельчения за счет того, что такая установка лопаток на роторе обеспечивает создание осевой составляющей скорости потока измельчаемого материала, что благоприятно сказывается на степени его перемешивания и ведет к повышению тонкости измельчения материала.
Формула изобретения
Устройство для измельчения материалов, содержащее корпус с осевым входным отверстием, выходным отверстием и камерой измельчения, в которой соосно установлены с возможностью встречного вращения два ротора, снабженных кольцевыми рядами измельчающих элементов, отличающееся тем, что измельчающие элементы роторов выполнены в виде лопаток с рабочей боковой поверхностью, установленных таким образом, что между рабочей боковой поверхностью лопатки и плоскостью вращения соответствующего ротора образован угол 95÷105°.
РИСУНКИ
Прежний патентообладатель:
Федеральное государственное унитарное предприятие “Научно – производственное предприятие “Мотор”
(73) Патентообладатель:
Открытое акционерное общество “Научно – производственное предприятие “Мотор”
Договор № РП0000760 зарегистрирован 18.05.2010
Извещение опубликовано: 27.06.2010 БИ: 18/2010
|
|