|
|
(21), (22) Заявка: 2004136597/09, 05.05.2003
(24) Дата начала отсчета срока действия патента:
05.05.2003
(30) Конвенционный приоритет:
15.05.2002 FR 02 05942
(43) Дата публикации заявки: 10.05.2005
(46) Опубликовано: 10.09.2007
(56) Список документов, цитированных в отчете о поиске:
DE 19520698 A1, 12.12.1996. SU 1686558 A1, 23.10.1991. DE 19646547 A1, 07.05.1998. DE 2817418 A1, 25.10.1979.
(85) Дата перевода заявки PCT на национальную фазу:
15.12.2004
(86) Заявка PCT:
FR 03/01383 (05.05.2003)
(87) Публикация PCT:
WO 03/098760 (27.11.2003)
Адрес для переписки:
129010, Москва, ул. Б. Спасская, 25, стр.3, ООО “Юридическая фирма Городисский и Партнеры”, пат.пов. Ю.Д.Кузнецову, рег.№ 595
|
(72) Автор(ы):
ШЕВАЛЬЕ Патрик (FR), ФЕЙ Жан-Клод (FR), ЖЕНТИЙ Франсуа (FR), ЖИРО Стефан (FR), СЕРВ Доминик (FR)
(73) Патентообладатель(и):
ШНЕЙДЕР ЭЛЕКТРИК ЭНДРЮСТРИ САС (FR)
|
(54) ЭЛЕКТРИЧЕСКАЯ УСТАНОВКА С ГАЗОВОЙ ИЗОЛЯЦИЕЙ, ИМЕЮЩАЯ УСТРОЙСТВО, РАССЕИВАЮЩЕЕ ЭНЕРГИЮ, ГЕНЕРИРУЕМУЮ ЭЛЕКТРИЧЕСКОЙ ДУГОЙ
(57) Реферат:
Изобретение относится к электрической установке, в которой оболочка электрооборудования выполнена на охлаждающем корпусе, открытом наружу. Выпускное отверстие обеспечивает возможность сообщения емкости с охлаждающим корпусом. Это отверстие закрыто мембраной или стопорным клапаном. Решетка разделяет охлаждающий корпус на верхний объем и нижний объем. На решетке находится слой твердого сыпучего материала, верхняя поверхность которого остается свободной. Этот материал предпочтительно является пористым и также содержит пыль. При возникновении внутренней электрической дуги ударная волна, выходящая из емкости, гасится поверхностной деформацией слоя твердого материала. Раскаленные частицы, выбрасываемые через отверстие, останавливаются слоем твердого материала. Горячие газы охлаждаются при прохождении через материал, обусловливая образование облака пыли, которая препятствует последующему возгоранию. Технический результат – обеспечение надежной защиты электроустановки от последствий внутренней дуги с помощью недорогого и негромоздкого устройства. 11 з.п. ф-лы, 3 ил., 1 табл.
Область техники, к которой относится изобретение
Изобретение относится к электрической установке, имеющей корпус, в котором установлены проводники и, возможно, электрические устройства, такие как: устройства для отключения тока, для измерения, переключения или электрического преобразования. В частности, помимо прочего, настоящее изобретение относится к электрической установке высокого напряжения с газовой изоляцией. Во всем тексте данного документа термин «высокое напряжение» понимается в его самом широком смысле и также включает в себя напряжение, которое в некоторых странах называют «средним напряжением».
Уровень техники
Электрические установки высокого напряжения подвержены неисправностям, которые могут привести к короткому замыканию, вызывающему появление электрической дуги, имеющей очень высокую энергию. В отношении электрической установки с корпусом для обозначения этой неуправляемой дуги в данном документе имеется в виду внутренняя дуга. Внутренняя дуга вызывает появление потоков горячих газов, иногда воспламеняющихся или воспламененных и имеющих высокое давление, и предшествуемых или сопровождаемых волнами сжатия. Поэтому нужно принимать меры для того чтобы электрическая дуга не вызвала взрыв корпуса и разрушение установки и ее окружения, с одной стороны, и чтобы предотвратить слишком сильное истечение горячих или воспламененных газов наружу из корпуса, с другой стороны. Эти виды защиты для оборудования и персонала обеспечить трудно, они дорогостоящие; и при этом необходимо учитывать большие величины энергии.
В документе DE 3,424,363 предложено направлять поток горячих газов, создаваемый внутренней дугой, через фильтр, выполненный с возможностью охлаждения газов, испускаемых внутренней дугой. Первая функция фильтра заключается в охлаждении газов, исходящих из шкафа. Поэтому фильтр заполнен материалом с большой поверхностью теплообмена и с большой теплоемкостью. В числе предполагаемых для этого фильтра материалов: гофрированные металлические листы малой толщины, гравий или дробленые минералы. Недостаток этих материалов заключается в их значительной плотности или значительной массе фильтра. Фильтр заключен в выдерживающем высокое давление корпусе, имеющем входное и выходное отверстия. Недостаток этого технического решения – недостаточное поглощение ударной волны. Фильтр подвергается разрушению, и потом не способен выполнять свою функцию при истечении газов. Помимо этого ударная волна ослабляется ненамного и представляет собой прямую угрозу окружению.
Для решения этой конкретной проблемы ударной волны в документе DE 19,520,698 предложено заставить газы из высоковольтного электрического шкафа идти через выпускной клапан в колене воздуховода в охлаждающий фильтр. Изгиб отражает ударную волну, предположительно расфокусирует волну, и это решение позволяет уменьшить количество используемого в фильтре материала. Это техническое решение обусловливает некоторые трудности в отношении габаритов. Помимо этого стенка колена воздуховода, отражающего ударную волну, должна обладать достаточной жесткостью, чтобы не быть разрушенной ударной волной, в результате чего повышается себестоимость. Причем отражения волны в колене воздуховода трудно регулировать, и их влияние на поток может быть отрицательным.
Также, согласно другому техническому решению в соответствии с документом DE 530,905, известно, что целесообразным решением может быть распространение облака минеральной пыли при взрыве в целях предотвращения распространения пламени. В данном документе предложено заключить электрическую установку, работающую во взрывоопасной обстановке, например в шахте, в наполненный пылью корпус. В случае взрыва установки пыль рассеивается в виде облака и предотвращает появление искр. Но это техническое решение сталкивается с технической трудностью сохранения пыли в неагломерированном виде в течение длительного времени. Причем это техническое решение не в состоянии разбивать ударную волну взрыва.
Сущность изобретения
Поэтому задача настоящего изобретения заключается в устранении недостатков известного уровня техники за счет обеспечения электрической установки, защищенной от последствий внутренней дуги с помощью недорогого и негромоздкого, относительно легкого и очень эффективного устройства и для поглощения ударной волны, исходящей от внутренней дуги, и для предотвращения распространения горячих или даже воспламененных газов, и для предотвращения последующего сгорания или спонтанного воспламенения газов на расстоянии от установки.
В этих целях – задача настоящего изобретения заключается в обеспечении электрической установки, содержащей:
– вмещающий корпус функционального узла, с газовой изоляцией,
– выходной путь из внутреннего вмещающего корпуса наружу – для удаления потока газа, возникающего по причине внутренней электрической дуги во вмещающем корпусе,
– пористый слой негорючего твердого сыпучего материала, расположенного в выходном пути таким образом, что поток газа проходит через него, причем слой составлен и расположен таким образом, чтобы создавать облако негорючей твердой пыли при прохождении потока газа через пористый слой.
Присутствие мелких негорючих взвешенных в газе частиц видоизменяет и стехиометрию смеси, ее теплоемкость и ее кинетику. Это техническое решение по существу предотвращает самовозгорание газа, проходящего через слой.
Твердый сыпучий материал предпочтительно является неагломерированным, с обеспечением возможности прохождения между гранулами. Также предпочтительно, чтобы твердый сыпучий материал был хрупким. Когда возникающая с внутренней дугой ударная волна достигает указанного слоя, гранулы трутся друг о друга и крошатся. Эти механические перемещения и видоизменения поглощают энергию ударной волны. Крошение, естественно, создает пыль, образующую облако. Хрупкость материала можно измерять модифицированным микроиспытанием по Девалю. Микроиспытание по Девалю определяет износостойкость, которая характеризует стойкость породы в виде гранул выдерживать воздействие дорожного движения, в частности износ из-за трения частиц друг о друга в сухом состоянии. Для модифицированного испытания приготавливают образец массой 500 г предварительно промытого и высушенного материала в виде гранул диаметром 10-14 мм. Образец помещают вместе с 2 кг шариков из нержавеющей стали диаметром 10 мм в цилиндр из нержавеющей стали с внутренней резиновой облицовкой, и закрывают плотной крышкой. Закрытый цилиндр вращают 3000 раз вокруг его горизонтальной оси в течение 30 мин, и затем материал просеивают через проверочное сито с размером ячеек 1,6 мм. Затем взвешивают вес М1 – вес материала, прошедшего сито. Затем характеристику параметра MD хрупкости определяют согласно следующему выражению: MD=100(M-М1)/М, определяющему процентную долю мелких частиц, образовавшихся в результате трения. При использовании этого показателя считается, что материал достаточно хрупкий, если коэффициент MD больше 10. Для примера: результаты, полученные испытанием разных испытанных материалов, изложены в приводимой ниже таблице:
| материал |
MD |
| базальт |
2 |
| пуццолан |
16-17 |
| сипорекс® |
17 |
| пемза |
40-42 |
Пористый материал имеет преимущество очень низкой насыпной плотности в сочетании с большой теплоемкостью. Помимо этого, эти материалы имеют значительную поверхностную шероховатость, способствующую рассеянию энергии за счет трения, когда гранулы перемешиваются при прохождении ударной волны. Предпочтительно подбирать материалы, в которых сочетаются пористость и хрупкость. В числе материалов, дающих хорошие результаты, нужно отметить пемзу, пуццолан и «сипорекс».
Слой сыпучего материала предпочтительно содержит негорючую твердую пыль, распределенную в твердом сыпучем материале для формирования указанного облака. Это техническое решение устраняет риск агломерирования пыли, которое может произойти по прошествии нескольких лет, например, при наличии влажности или механических колебаний. Это агломерирование будет иметь чрезвычайно отрицательные последствия: облако пыли более не сможет образоваться, и агломерированная пыль даже сможет образовать закупорку, которая будет препятствовать прохождению газов, создавшихся при взрыве установки. Наличие распределенной в материале пыли, разумеется, не является несовместимым с выбором хрупкого материала, а скорее наоборот.
Согласно осуществлению настоящего изобретения путь удаления газа закрывается уплотняющим средством, которое автоматически открывается под воздействием разности давления, превышающей заданное пороговое значение. Поэтому вмещающий корпус является герметизированным. Газом может быть газ с большей диэлектрической прочностью, чем у воздуха, например, гексафторид серы.
Слой предпочтительно выполнен после уплотнительного средства. Путь удаления газа расширяется от уплотнительного средства к слою, образуя объем расширения газа. Путь удаления газа представляет собой проем на уровне уплотнительного средства, при этом слой представляет свободную наружную поверхность, обращенную к уплотнительному средству, и площадь которой в три раза превышает площадь сечения отверстия. При изложенных выше геометрических характеристиках газ выходит на уровне уплотнительного средства в виде «стрелы». Выполнение указанного слоя материала позволяет расположить его на пути «стрелы». Зона расширения газа, расположенная между уплотнительным средством и слоем сыпучего материала, поэтому значительно уменьшена, что позволяет уменьшить поверхность стенок, ограничивающих путь удаления газа, и поэтому поступающая в слой волна сжатия оказывает меньшее воздействие на эти стенки, и таким образом позволяет ограничить деформацию установки.
Согласно осуществлению настоящего изобретения свободная наружная поверхность расположена относительно проема на расстоянии, меньшем, чем шестикратный характеристический диаметр отверстия, определяемый как диаметр наибольшего круга, вписываемого в указанном проеме.
Это техническое решение, в случае создания внутренней дугой волны сжатия или ударной волны, обеспечивает возможность значительной деформации материала в зоне, непосредственно обращенной к отверстию, которое поглощает энергию волны и предотвращает ее распространение далее слоя сыпучего материала. Применение очень шероховатого и/или хрупкого сыпучего материала позволяет слою материала располагаться значительно ближе к сообщающемуся отверстию, что способствует снижению давления в объеме, оставшемся свободным между сообщающимся отверстием и поверхностью слоя материала.
Согласно осуществлению настоящего изобретения функциональным устройством является устройство высокого напряжения в широком смысле этого термина, включая, в частности, среднее напряжение. Но применение установок низкого напряжения не исключается.
Перечень чертежей
Прочие преимущества и признаки поясняются в приводимом ниже описании определенных осуществлений изобретения, описываемых только в качестве неограничивающих примеров и представленных на прилагаемых чертежах, на которых:
фиг.1 – схематическое изображение поперечного сечения электрической установки согласно настоящему изобретению;
фиг.2 – схематическое изображение поперечного сечения установки, показываемой на Фиг. 1, после внутреннего короткого замыкания;
фиг.3 – схематическое изображение поперечного сечения второго осуществления настоящего изобретения.
Сведения, подтверждающие возможность осуществления изобретения
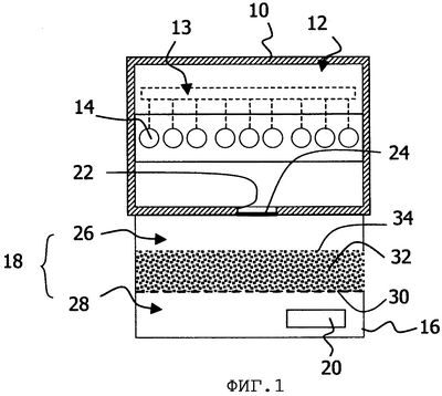
Обращаясь к фиг. 1, электрическая установка высокого напряжения содержит герметизированный корпус 10, образующий емкость 12, содержащую газ с высокой диэлектрической прочностью, например, гексафторид серы, и вмещающую в себе функциональное устройство 13 высокого напряжения, представленное схематически пунктирной линией на фиг. 1 и содержащее электрические проводники под высоким напряжением, которые могут быть соединены с такими электрическими устройствами, как, например, автоматические выключатели, разъединители, заземляющие переключатели, прерыватели или трансформаторы распределительной сети или измерительные вспомогательные устройства; и могут быть соединены с внешними устройствами с помощью высоковольтных вводов 14. Этот герметизированный корпус 10 выполнен на основании 16, стенки которого образуют, вместе с нижней стенкой корпуса, охлаждающий корпус 18, имеющий в нижней части отверстие 20 сброса. Нижняя стенка емкости 12 имеет выпускное отверстие 22, с помощью которого емкость сообщается с охлаждающим корпусом. Во время нормальной работы это отверстие 22 закрыто мембраной 24.
Емкость разделена на верхний объем 26 и нижний объем 28 жесткой горизонтальной решеткой 30. На жесткой решетке 30 расположен слой твердого сыпучего материала 32. Решетка 30, разумеется, калибрована таким образом, что не пропускает гранулы твердого материала 32, находящегося на ней. По существу плоская поверхность 34 слоя сыпучего материала находится в свободном состоянии или держится на деформируемой сетке. Незаполненный объем расширения остается между нижней стенкой вмещающего корпуса 10 и верхней свободной поверхностью 34 материала.
Твердый сыпучий материал 32 предпочтительно является пористым минералом низкой насыпной плотности, с открытой или закрытой пористостью, например пемза или пуццолан. Таким образом, для относительной небольшой массы получается крупный объем материала. Также предпочтительными являются материалы, содержащие большие количества минеральной пыли, которая, как будет показано ниже, играет роль в подавлении пламени и охлаждении газов.
Можно также использовать непористые сыпучие материалы, например мелкий литейный песок, расположенный на листе бумаги и формирующий облако при прохождении потока газа. Но эти материалы требуются в большом количестве.
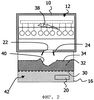
При значительной аварии в емкости, создающей внутреннюю электрическую дугу 38, согласно фиг. 2, мембрана 24 разрушается, выпуская через выпускное отверстие струю горячих газов и раскаленных твердых частиц, сопровождаемую волной сжатия. В практических условиях эта струя является по существу сверхзвуковой, и волна является ударной волной. Строя пробуривает воронку 40 в сыпучем материале. Раскаленные частицы, сопровождающие взрыв, останавливаются в первых миллиметрах слоя материала, который действует для них как фильтр. Газы под давлением проходят через сыпучий материал и охлаждаются за счет теплообмена при контакте с гранулами перед выходом через решетку 30 в нижний объем 28, и сопровождаются облаком пыли 42. Это облако твердых частиц 42, сопровождающее газы за пределы слоя материала, содействует охлаждению газов. Это облако оказывается еще более полезным поскольку – в противоположность известному уровню техники – выходящие из устройства газы полностью не расходуются, и поэтому перекрытие дугой может вызвать цепную реакцию с окружающим воздухом, что приведет к последующему сгоранию. Присутствие твердых взвешенных частиц в газе изменяет стехиометрию смеси, ее теплоемкость и ее кинетику, и по существу исключает возможность повторного сгорания.
Эмпирически можно отметить, что имеется возможность разместить слой сыпучего материала на небольшом расстоянии от отверстия. Деформация фильтра при взрыве в значительной степени гасит, по-видимому, ударную волну и сводит к минимуму повышение давления в охлаждающем корпусе.
Не излагая здесь полную теорию происходящих при этом явлений, можно указать, что отверстие действует как сопло, в результате чего, при отсутствии слоя сыпучего материала, струя примет форму сфокусированного острия, также называемого стрелой, основанием которой будет периметр отверстия и вершина которой будет находиться на расстоянии, приблизительно равном 6 диаметрам основания. Но в связи с близостью слоя сыпучего материала струя натолкнется на свободную поверхность сыпучего материала до своей точки фокусировки, пробурив в нем воронку. Образующие материал гранулы будут перемещаться, создавая трение, сопровождаемое значительным крошением и образованием пыли. В этом отношении шероховатость гранул материала предпочтительна, поскольку она увеличивает рассеяние энергии за счет трения и эрозии. Энергия струи и ударной волны передается гранулам, смещая и дробя их. По существу слой материала поглощает падающую энергию волны и предотвращает распространение ударной волны сквозь слой материала. По причине значительной видимой шероховатости границы раздела, образуемой верхней поверхностью слоя материала, отражение волны на свободной поверхности слоя материала также в значительной степени ослабляется, и рост давления в свободном объеме над свободной поверхностью слоя материла также ограничивается.
Для закрытия верхней поверхности слоя сыпучего материала, чтобы удерживать его на месте, можно предусмотреть деформируемую решетку или сетку. Но эта сетка или решетка не должны препятствовать крупной деформации 40 слоя материала, обусловливаемой ударной волной.
Второе осуществление изобретения представлено на фиг. 3. Согласно этому осуществлению электрическая распределительная установка содержит множество шкафов высокого напряжения. Каждый шкаф имеет герметичный корпус 10а, 10b, 10с, формирующий емкость 12а, 12, 12с для электрооборудования высокого напряжения. Шкафы установлены на общем основании 16, образуя общий охлаждающий корпус 18. На нижней стенке каждого шкафа имеется выпускное отверстие 22а, 22b, 22с, закрытое стопорным клапаном 24а, 24b, 24с. Как и в первом осуществлении, охлаждающий корпус 18 содержит промежуточную решетку 30, на которой расположен один или более слоев сыпучего материала 32. Действие установки при возникновении внутренней электрической дуги в одном из шкафов то же, что и описываемое выше в отношении первого осуществления. Нужно отметить, что замена мембран первого осуществления на стопорные клапаны гарантирует, что рост давления, происшедший в верхнем объеме охлаждающего шкафа в начале аварии, не обусловит поступление газа в соседние нормально работающие шкафы.
Разумеется, возможны различные модификации.
Мембрану, используемую для закрытия сообщающегося отверстия, можно заменить клапаном, открывающимся, когда разность между давлением в емкости и давлением в охлаждающем шкафу превысит заданное пороговое значение.
Твердый сыпучий материал можно расположить несколькими слоями, которые можно отделить друг от друга жесткими или нежесткими решетками. Разные слои могут иметь разную геометрию гранул. Как правило, разные слои могут быть сформированы разными материалами.
Также предполагается использовать агломерированный сыпучий материал при том условии, что гранулы будут иметь достаточно крупный диаметр и что между гранулами останутся пути для прохождения газов. В этом отношении жесткая решетка из гранул пуццолана диаметром 10-15 мм, например, связанных огнеупорным цементом, в частности пуццолановым ,на основе пыли ,цементом, может представлять собой целесообразный вариант. Преимущество этого технического решения заключается в облегчении позиционирования фильтра вертикально или наклонно, например. Содержащаяся в пуццолане пыль будет достаточной для образования нужного облака.
В качестве твердого сыпучего материала можно также использовать неоднородный материал, содержащий гранулы разного диаметра.
Присутствующим в оболочке газом может быть воздух. Оболочка может находиться либо не находиться под давлением.
Настоящее изобретение также применимо и для установок низкого напряжения.
Формула изобретения
1. Электрическая установка, содержащая
вмещающий корпус (12) функционального устройства (13) с газовой изоляцией;
выходной путь из внутреннего пространства вмещающего корпуса (12) наружу для удаления потока газа, возникшего вследствие внутренней электрической дуги во вмещающем корпусе (12);
пористый слой негорючего твердого сыпучего материала (32), расположенного в выходном пути таким образом, что поток газа проходит через этот слой;
отличающаяся тем, что слой имеет такой состав и расположен таким образом, что создает облако (42) негорючей пыли твердого материала, когда поток газа проходит через пористый слой (32).
2. Электрическая установка с газовой изоляцией по п.1, отличающаяся тем, что твердый сыпучий материал (32) является неагломерированным.
3. Электрическая установка с газовой изоляцией по п.2, отличающаяся тем, что твердый сыпучий материал (32) является хрупким.
4. Электрическая установка с газовой изоляцией по любому из предыдущих пунктов, отличающаяся тем, что твердый сыпучий материал (32) сформирован, по меньшей мере частично, из пористых гранул.
5. Электрическая установка с газовой изоляцией по п.4, отличающаяся тем, что пористые гранулы выбирают из числа гранул пемзы, пуццолана или «сипорекса».
6. Электрическая установка с газовой изоляцией по п.1, отличающаяся тем, что слой сыпучего материала содержит негорючую твердую пыль, распределенную в твердом сыпучем материале таким образом, что образует указанное облако (42).
7. Электрическая установка с газовой изоляцией по п.1, отличающаяся тем, что путь удаления газа закрыт уплотнительным средством (24), открывающимся автоматически, когда на него воздействует разность давления, превышающая заданное пороговое значение.
8. Электрическая установка с газовой изоляцией по п.1, отличающаяся тем, что слой выполнен после уплотнительного средства (24).
9. Электрическая установка с газовой изоляцией по п.8, отличающаяся тем, что путь удаления газа расширяется от уплотнительного средства в сторону слоя, образуя объем (26) расширения газа.
10. Электрическая установка с газовой изоляцией по п.9, отличающаяся тем, что путь удаления газа представляет собой проем на уровне уплотнительного средства; причем слой имеет свободную наружную поверхность (34), обращенную к уплотнительному средству (24), и имеет площадь, в три раза превышающую площадь проема.
11. Электрическая установка с газовой изоляцией по п.10, отличающаяся тем, что свободная наружная поверхность (34) расположена по отношению к проему на расстоянии, меньшем, чем шестикратный характеристический диаметр проема, определяемый как диаметр самого крупного круга, вписываемого в указанном проеме.
12. Электрическая установка с газовой изоляцией по п.11, отличающаяся тем, что функциональное устройство (13) является устройством высокого напряжения.
РИСУНКИ
|
|