|
|
(21), (22) Заявка: 2006104162/06, 10.02.2006
(24) Дата начала отсчета срока действия патента:
10.02.2006
(46) Опубликовано: 10.09.2007
(56) Список документов, цитированных в отчете о поиске:
US 6882092 B1, 19.04.2005. JP 54117840 A, 12.09.1979. SU 1802382 C1, 15.03.1993. US 4028576 A, 07.06.1993. RU 2133536 C1, 20.07.1999. SU 1653042 A1, 30.05.1991.
Адрес для переписки:
152903, Ярославская обл., г. Рыбинск, ул. Чкалова, 89, комн.224, Общественная организация ВОИР
|
(72) Автор(ы):
Михайлов Владимир Владимирович (RU), Мухин Андрей Николаевич (RU), Фигурин Владимир Александрович (RU)
(73) Патентообладатель(и):
Общество с ограниченной ответственностью “Научно-производственное предприятие “САТЭК” (RU)
|
(54) СВЕЧА ЗАЖИГАНИЯ
(57) Реферат:
Изобретение относится к электрооборудованию двигателей внутреннего сгорания, в частности к устройствам зажигания горючей смеси в инжекторных и карбюраторных двигателях. Свеча зажигания содержит корпус и размещенный в корпусе изолятор с центральным стержневым электродом, при этом торец корпуса, погружаемый в объем цилиндра двигателя, имеет углубление, центр которого лежит на продольной геометрической оси, а на цилиндрической части корпуса между торцом и резьбовой поверхностью корпуса выполнены отверстия, соединяющие форкамеру с объемом цилиндра двигателя, углубление выполнено полусферическим, отверстия выполнены тангенциально, а глубина углубления h связана с радиусом полусферы R соотношением 0,2 h/R 0,5. Техническим результатом заявляемого технического решения является повышение надежности зажигания и работы, увеличение ресурса работы свечи. 3 ил.
Изобретение относится к электрооборудованию двигателей внутреннего сгорания, в частности к устройствам зажигания горючей смеси в инжекторных и карбюраторных двигателях.
Известна свеча зажигания, содержащая корпус с боковым электродом, выполненным в виде кожуха с центральным сопловым отверстием, и расположенный в кожухе изолятор с центральным электродом, причем в стенке кожуха выполнены тангенциальные отверстия, а в кожухе размещено коническое кольцо, выполненное из пористого топливопоглощающего материала (см. МПК Н01Т 13/00 описание изобретения к авторскому свидетельству СССР №1233237, опубл. 23.05.86 г.).
Недостатками известной свечи зажигания являются:
– низкий ресурс работы, обусловленный интенсивным тепловым воздействием при воспламенении топливовоздушной смеси на рабочие части центрального и бокового электродов, а также на кожух и пористое кольцо;
– ограниченные технологические возможности использования свечи лишь на жидком топливе.
Наиболее близким техническим решением к заявляемому является свеча зажигания, содержащая корпус и размещенный в корпусе изолятор с центральным стержневым электродом, а корпус снабжен сужающимся и расширяющимся соплами, образующими с корпусом форкамеру, при этом сужающее сопло выполнено в виде завихрителя (см. МПК Н01Т 13/20, Н01Т 13/54 описание изобретения к патенту Российской Федерации №2155422, опубл. 2000.08.27).
Недостатками известной свечи зажигания являются:
– низкая надежность зажигания и работы, обусловленная малой устойчивостью горения смеси по коэффициенту избытка воздуха и недостаточным количеством тепла, подводимого к дуге горения, а также образованием нагара и коротким замыканием электродов свечи;
– малый ресурс работы, обусловленный электроэрозионным износом материала корпуса.
Техническим результатом заявляемого технического решения является повышение надежности зажигания и работы, увеличение ресурса работы свечи.
Сущность технического решения заключается в том, что в свече зажигания, содержащей корпус и размещенный в корпусе изолятор с центральным стержневым электродом, торец корпуса, погружаемый в объем цилиндра двигателя, имеет полусферическое углубление, центр которого лежит на продольной геометрической оси, а на цилиндрической части корпуса между торцом и резьбовой поверхностью корпуса выполнены отверстия, соединяющие форкамеру с объемом цилиндра двигателя, при этом отверстия выполнены тангенциальными.
Выполнение торца корпуса, погружаемого в объем цилиндра двигателя, с полусферическим углублением, центр которого лежит на продольной геометрической оси, обеспечивает взаимодействие потоков топливовоздушной смеси и образование вихревого течения в объеме углубления, что приводит к увеличению площади поверхности и протяженности дугового разряда, увеличению времени взаимодействия дугового разряда с топливовоздушной смесью за счет увеличения длины дуги и снижения скорости движения топливовоздушной смеси и ее рециркуляции в объеме полусферического углубления, что повышает надежность зажигания и увеличивает ресурс работы свечи.
Выполнение на цилиндрической части корпуса между торцом и резьбовой поверхностью корпуса отверстий, соединяющих форкамеру с объемом цилиндра двигателя, обеспечивает постоянную продувку форкамеры за счет повышения давления при торможении потока топливовоздушной смеси, натекающего на боковую стенку корпуса, позволяет препятствовать образованию нагара и короткого замыкания электродов свечи. При электрическом пробое кольцевого разрядного промежутка и возникновении дуги наличие продувки делает разряд не стабильным и выдувает его в объем полусферического углубления, где он взаимодействует с вихревым потоком топливовоздушной смеси, повышая надежность работы и увеличивая ресурс работы свечи зажигания.
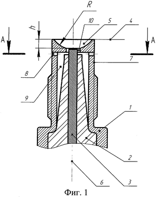
Предлагаемое изобретение поясняется чертежом, где на фиг.1 изображен общий вид свечи зажигания в разрезе, на фиг.2 – сечение А-А с радиальным расположением отверстий, на фиг.3 – сечение А-А с тангенциальным расположением отверстий.
Свеча зажигания состоит из металлического корпуса 1, снабженного резьбой для вворачивания в головку двигателя внутреннего сгорания, жестко закрепленного внутри него керамического изолятора 2, через который пропущен центральный стержневой электрод 3. Торец 4 корпуса 1 имеет полусферическое углубление 5, центр которого лежит на геометрической оси 6, а глубина углубления h связана с радиусом полусферы R соотношением 0,2 h/R 0,5. На цилиндрической части 7 корпуса 1 между торцом 4 и резьбой выполнены отверстия 8, соединяющие форкамеру 9 с объемом цилиндра двигателя (не показан).
Работа свечи осуществляется следующим образом. При установке свечи зажигания в крышку цилиндра двигателя внутреннего сгорания торец 4 корпуса 1 с полусферическим углублением 5 и разрядный промежуток, образованный корпусом 1 и центральным стержневым электродом 3, погружаются в объеме цилиндра двигателя так, что отверстия 8 полностью выступают над поверхностью крышки цилиндра.
При работе двигателя внутреннего сгорания на любом такте в объеме цилиндра происходит движение массы воздуха, топливной смеси и продуктов сгорания (далее газа). Средняя скорость инерционного движения газа в месте установки свечи зажигания направлена преимущественно вдоль поверхности крышки цилиндра двигателя. При движении газа над торцевой поверхностью корпуса 1 происходит отрыв потока и в объеме полусферического углубления 5 формируется устойчивое вихревое течение. Скорость движения газа в углублении 5 снижается в 4-5 раз по сравнению со скоростью основного потока, при этом статическое давление в углублении остается равным статическому давлению в основном потоке газа. При натекании газа на цилиндрическую часть 7 корпуса поток претерпевает торможение и его давление повышается на величину динамического напора. Под действием перепада давления обеспечивается непрерывное течение газа через отверстия 8 в форкамеру 9 и далее в полусферическое углубление 5 через кольцевой зазор 10.
При подаче разности электрических потенциалов на центральный электрод 3 и корпус 1 происходит пробой кольцевого зазора 10 и формируется электрическая дуга. Если условно считать корпус 1 свечи анодом, а центральный электрод 3 катодом, то под действием потока газа, направленного из форкамеры 9 в углубление 5, возникшая дуга теряет устойчивость, анодное пятно контакта дуги переходит на поверхность углубления 5, а катодное пятно контакта перемещается на торец центрального электрода 3. Протяженность электрической дуги возрастает, что ведет к увеличению разности напряжений между корпусом 1 и электродом 3. Далее под действием вихревого движения газа в углублении 5 дуга занимает такое положение, при котором анодное пятно контакта дуги расположено на внешней кромке углубления 5.
При контакте с электрической дугой, имеющей высокую температуру, скорость протекания химических реакций в горючей смеси увеличивается, в объеме углубления 5 формируется начальный очаг горения. Далее при контакте начального очага горения со свежей смесью на границе углубления происходит воспламенение и распространение фронта пламени на весь объем цилиндра двигателя внутреннего сгорания.
Применение предлагаемого изобретения позволит повысить надежность зажигания и работы свечи, увеличить ее рабочий ресурс, а также использовать свечу зажигания как при работе двигателя внутреннего сгорания на жидком топливе, так и на газообразном.
Формула изобретения
Свеча зажигания, содержащая корпус и размещенный в корпусе изолятор с центральным стержневым электродом, при этом торец корпуса, погружаемый в объем цилиндра двигателя, имеет углубление, центр которого лежит на продольной геометрической оси, а на цилиндрической части корпуса между торцом и резьбовой поверхностью корпуса выполнены отверстия, соединяющие форкамеру с объемом цилиндра двигателя, отличающаяся тем, что углубление выполнено полусферическим, отверстия выполнены тангенциально, а глубина углубления h связана с радиусом полусферы R соотношением 0,2 h/R 0,5.
РИСУНКИ
MM4A – Досрочное прекращение действия патента СССР или патента Российской Федерации на изобретение из-за неуплаты в установленный срок пошлины за поддержание патента в силе
Дата прекращения действия патента: 11.02.2009
Извещение опубликовано: 10.12.2009 БИ: 34/2009
NF4A – Восстановление действия патента СССР или патента Российской Федерации на изобретение
Дата, с которой действие патента восстановлено: 27.04.2010
Извещение опубликовано: 27.04.2010 БИ: 12/2010
|
|