|
|
(21), (22) Заявка: 2006100956/06, 17.01.2006
(24) Дата начала отсчета срока действия патента:
17.01.2006
(43) Дата публикации заявки: 27.11.2006
(46) Опубликовано: 10.09.2007
(56) Список документов, цитированных в отчете о поиске:
RU 2144627 C1, 20.01.2000. RU 2162571 C1, 27.01.2001. RU 2204770 C1, 20.05.2003. RU 2177591 C1, 27.12.2001. WO 98/14737 A, 09.04.1998.
Адрес для переписки:
103735, Москва, ул. Ильинка, 5/2, ООО “СОЮЗПАТЕНТ”, пат.пов. М.Н.Стручкову, № 1102
|
(72) Автор(ы):
Курносов Николай Ефимович (RU), Пичугин Валерий Михайлович (RU), Иноземцев Дмитрий Сергеевич (RU), Крехов Дмитрий Геннадьевич (RU)
(73) Патентообладатель(и):
Курносов Николай Ефимович (RU), Пичугин Валерий Михайлович (RU), Иноземцев Дмитрий Сергеевич (RU), Крехов Дмитрий Геннадьевич (RU)
|
(54) КАВИТАЦИОННЫЙ ТЕРМОГЕНЕРАТОР
(57) Реферат:
Кавитационный термогенератор относится к устройствам для получения тепла, образующегося за счет образования и последующего разрушения кавитирующих пузырьков. Использование: в системах отопления, водоснабжения для нагрева воды. Задача: повышение эффективности (теплоотдачи) за счет интенсификации процесса кавитации, и снижение вредного влияния кавитации (эрозии) на элементы термогенератора. Термогенератор содержит циклон с входным и выходным отверстиями, а также стаканообразный корпус и выходное сопло, присоединенные жестко и герметично своими открытыми полостями к одной из оппозитных сторон циклона соосно друг другу, тормозной элемент, бак с жидкой средой, в которую погружен термогенератор, выходное отверстие циклона направлено в камеру корпуса по ее касательной. В донной части корпуса по его оси выполнено сквозное отверстие, а тормозной элемент выполнен в виде кольцевого торцевого выступа на части выходного сопла, соединенной с циклоном, и образованного за счет разности диаметров камеры корпуса и входного отверстия сопла, причем на внутренние поверхности термогенератора, контактирующие с потоками жидкости, нанесено покрытие из группы гидрофобные полимеры. 7 з.п. ф-лы, 1 ил.
Предлагаемое изобретение относится к устройствам для получения тепла, образующегося иначе, чем в результате сгорания, а именно за счет закручивания потока жидкости в трубе с последующим образованием кавитирующих пузырьков и их разрушения. Предлагаемый термогенератор может быть использован в системах водяного отопления, горячего водоснабжения и для других целей, где требуется нагретая жидкость.
Известны статические аппараты, в которых наблюдается явление кавитации, когда жидкость натекает с большой скоростью на неподвижный элемент специальной конфигурации (см. Федоткин И.М., Немчин А.Ф. Использование кавитации в технологических процессах. – Киев: Высшая школа, 1984. – С.30-32). Статический кавитационный аппарат содержит участки входа и выхода жидкости, конфузор, диффузор и шток, на котором закреплены конусы-кавитаторы с возможностью перемещения вместе со штоком в диффузоре и изменения гидродинамической обстановки в аппарате.
Недостаток статического аппарата заключается в значительной потере потоком жидкости кинетической энергии за счет его торможения конусами-кавитаторами. (В настоящее время известно, что интенсивность процесса кавитации усиливается с увеличением скорости движения жидкости относительно элементов аппарата, способствующих ее увеличению).
Другой недостаток заключается в быстрой эрозии и разрушении конуса-кавитатора, постоянно находящегося в центре потока и испытывающего воздействие на него жидкости с максимальной скоростью.
Известно другое устройство для получения тепла путем интенсивной обработки потока жидкости, в результате чего накопленная при движении кинетическая энергия переходит в тепловую (см. патент RU № 2144627 С1, МПК 7 F15D 1/02, F24J 3/00 от 1998.08.10). Устройство выполнено в виде трубы, содержащей на входном отверстии торцевую крышку – ускоритель потока, цилиндрическую камеру – разделитель потока, камеру-рубашку, приемник потока, кавитационную вставку – сопло, помещенную в конфузорную камеру, выполненную в виде кольцевого канала, и камеру глушителя.
Недостатком устройства является наличие в нем значительного количества непрямолинейных каналов, проходя через которые, жидкость теряет скорость и кинетическую энергию, являющуюся основным поставщиком тепловой энергии. В этом случае интенсификация процесса кавитации в потоке жидкости уже не является определяющим фактором для получения избыточной тепловой энергии. Уменьшение скорости жидкости, протекающей через устройство, также является нежелательным, так как в этом случае замедляется оборот ее в замкнутом цикле через нагрузку (потребителя тепловой энергии) и насос.
Другим недостатком устройства является относительная сложность его конструкции, которая обусловлена наличием камеры-рубашки, торцевой крышки, приемника потока с множеством сквозных каналов.
Последнее устройство является наиболее близким к заявляемому объекту по своей технической сущности и выполняемой функции.
Известно, что кавитация как физическое явление обладает полезным и негативным свойствами.
Задачами предлагаемого изобретения является увеличение полезного влияния кавитации и устранение (уменьшение) ее вредного влияния в заявляемом термогенераторе. Полезное свойство кавитации в заявляемом объекте направлено на образование тепла. Активизация кавитации прямо зависит от скорости потока жидкой среды через термогенератор и от наличия в нем зон с пониженным давлением в протекающем потоке.
Другой задачей предлагаемого изобретения является снижение вредного влияния кавитации (эрозии) на элементы конструкции термогенератора за счет локализации и удаления ее зоны от элементов конструкции при одновременном сохранении высокой скорости движения потока жидкости через термогенератор.
Еще одной задачей предлагаемого изобретения является создание простого по конструкции, компактного и технологичного в изготовлении термогенератора.
Поставленные задачи решаются тем, что в известном кавитационном термогенераторе, содержащем циклон с входным и выходными отверстиями, стаканообразный корпус, выходное сопло, каждый из которых присоединен жестко и герметично своей открытой полостью к одной из оппозитных сторон циклона соосно друг другу, тормозной элемент, бак с жидкой средой, в которую погружен термогенератор, выходное отверстие циклона направлено в камеру корпуса по ее касательной, в донной части корпуса по его оси выполнено сквозное отверстие, а тормозной элемент выполнен в виде торцевого кольцевого выступа на части выходного сопла, присоединенной к циклону, и образованного (выступа) за счет разности диаметров камеры корпуса и входного отверстия сопла, причем на внутренние поверхности термогенератора, контактирующие с потоками жидкой среды, нанесено покрытие из группы гидрофобные полимеры.
При этом предпочтительно, чтобы камера корпуса была выполнена цилиндрической.
В другом варианте возможно, чтобы камера корпуса была выполнена в форме усеченного конуса, обращенного меньшим основанием к циклону.
Желательно, чтобы отверстие в донной части корпуса было выполнено в форме усеченного конуса, обращенного большим основанием наружу.
Целесообразно, чтобы длина цилиндрической камеры корпуса составляла 2,7÷4,5 ее внутреннего диаметра.
Предпочтительно, чтобы диаметр сквозного осевого отверстия в донной части корпуса составлял 0,12÷0,25 от диаметра цилиндрической камеры корпуса, а угол конуса при его вершине находился в пределах 40°÷70°.
Целесообразно, чтобы диаметр входного отверстия выходного сопла составлял 0,55÷0,75 от внутреннего диаметра цилиндрической камеры, а выходного отверстия – 0,85÷0,95 от ее внутреннего диаметра.
Предпочтительно, чтобы угол диффузора составлял 5,5°÷6°
Технический результат заключается в генерировании избыточной энергии в форме теплоты за счет более высоких скорости и кавитации потоков жидкости, протекающих через термогенератор.
Выполнение сквозного отверстия в центре дна камеры корпуса термогенератора коническим по форме, обращенным большим основанием конуса наружу к жидкой среде в баке-накопителе, позволило создать прямолинейный осевой поток жидкости за счет придания ему (сквозному отверстию) эжекционного свойства. Приобретение такого свойства стало возможным благодаря вихревому движению жидкости внутри камеры корпуса и на его донной части вокруг сквозного осевого отверстия из-за падения давления в центре закрученного потока.
Наличие встречных потоков в цилиндрической камере (осевого, приосевого потоков, направленных к входному отверстию сопла, и закрученного по спирали, двигающегося в направлении к дну корпуса), позволяет осуществить контакт между ними, образуя кавитационную зону в виде поверхности усеченного конуса. Такая форма зоны интенсивной кавитации, ее удаление от внутренней поверхности стенки камеры предотвращают разрушительное воздействие на нее кавитации.
Нанесение покрытия из группы гидрофобные полимеры на внутренние поверхности термогенератора, контактирующие с потоками жидкой среды, существенно увеличило скорость потока жидкости и интенсифицировало процесс кавитации.
Выполнение тормозного элемента в виде кольцевого торцевого выступа на части выходного сопла, присоединенной к циклону и образованной за счет разности диаметров цилиндрической камеры и входного отверстия сопла, способствует усилению кавитационного эффекта при сохранении прямолинейности и скорости потока жидкости.
Выполнение камеры корпуса цилиндрической в технологическом и функциональном отношениях является наиболее предпочтительным.
Выполнение камеры корпуса в форме усеченного конуса усложняет ее изготовление, но повышает при этом функциональную способность термогенератора.
Выполнение отверстия в донной части корпуса в форме усеченного конуса, обращенного большим основанием корпуса наружу, позволило активизировать эжекцию осевого потока жидкости, поступающего в камеру корпуса.
Увеличение длины цилиндрической камеры свыше 4,5 ее диаметра ведет к снижению скорости вихревого периферийного потока и уменьшению скорости эжектирования вспомогательного приосевого потока (через отверстие в торцевой стенке цилиндрической камеры).
Уменьшение длины цилиндрической камеры менее 2,7 ее диаметра ухудшает ее энергетические характеристики за счет уменьшения поверхности взаимодействия основного и вспомогательного потоков.
Увеличение диаметра отверстия в торцевой стенке цилиндрической камеры выше 0,25 от ее диаметра камеры ухудшает работу генератора по причине уменьшения скорости осевого потока, ведет к неустойчивому режиму кавитационного процесса.
Уменьшение диаметра отверстия в торцевой стенке цилиндрической камеры менее 0,12 от ее диаметра ведет к падению кинетической энергии струи осевого потока, к ухудшению кавитационного процесса за счет уменьшения поверхности взаимодействия встречных потоков.
Увеличение диаметра входного отверстия сопла свыше 0,75 от внутреннего диаметра цилиндрической камеры ухудшает его свойство как тормозного элемента по причине уменьшения площади кольцевого выступа. Уменьшение диаметра входного отверстия сопла менее 0,55 от внутреннего диаметра цилиндрической камеры дестабилизирует работу термогенератора из-за значительного сопротивления потоку жидкости.
Увеличение выходного диаметра отверстия диффузора сопла свыше 0,95 от внутреннего диаметра цилиндрической камеры и угла диффузора больше 6° уменьшает теплоотдачу термогенератора.
Уменьшение выходного диаметра отверстия диффузора сопла менее 0,85 от внутреннего диаметра цилиндрической камеры и угла диффузора менее 5,5° увеличит сопротивление выходному потоку жидкости и дестабилизирует работу термогенератора.
Термогенератор, выполненный в соответствии с настоящим предлагаемым изобретением, компактен, обладает малой массой, прямоточен. Последняя характеристика позволила повысить эффективность его работы за счет сохранения высокой скорости движения жидкости вдоль его оси. Прямоточность конструкции и наличие отверстия в торцевой стенке цилиндрической камеры корпуса термогенератора позволили создать кавитирующую зону в приосевом потоке и снизить негативное влияние кавитационной эрозии на элементы конструкции термогенератора.
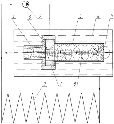
На приведенном схематичном чертеже иллюстрируется в качестве примера реализация кавитационного термогенератора, подтверждающая возможность промышленного применения его при использовании всей совокупности признаков.
Кавитационный термогенератор выполнен на основе вихревой трубы и содержит циклон 1, полость которого через входное отверстие соединена с нагнетательным патрубком центробежного насоса 2, а выходной канал циклона, выполненный по спирали (например, по спирали Архимеда), примыкает по касательной под углом к внутренней цилиндрической поверхности стаканообразного корпуса 3 термогенератора. В другом варианте возможно, чтобы камера корпуса 3 была выполнена в форме усеченного конуса, обращенного меньшим основанием к циклону 1. Корпус 3 и сопло 4 присоединены каждый своей открытой полостью жестко, герметично и соосно друг другу к циклону 1 для образования единой полости с одной геометрической осью. В торцевой стенке корпуса 3 выполнено сквозное осевое отверстие 5, коническое по форме, обращенное большим основанием конуса наружу. Отверстие 5 выполняет функцию эжектора вспомогательного (осевого) потока жидкости. Его диаметр (наименьший) составляет 0,12÷0,25 от внутреннего диаметра цилиндрической камеры корпуса 3, а угол конуса 40°÷70°.
Внутренние поверхности циклона 1, камеры корпуса 3 и сопла 4, контактирующие с потоками жидкости, покрыты гидрофобными полимерами.
Термогенератор помещен в бак-накопитель 6 с водой. Через выходное отверстие и нагрузку 7 полость бака 6 соединена с входом насоса 2, а также, минуя нагрузку 7, соединена с всасывающей линией насоса 2. Рабочий объем 8 корпуса 3 ограничен цилиндрической поверхностью, его дном и кольцевым тормозным элементом 9 с левой стороны на части выходного сопла 4, примыкающего к циклону 1 и образованного за счет разности диаметров цилиндрической камеры и входного отверстия выходного сопла 4.
Термогенератор работает следующим образом.
Насос 2 подает жидкость (воду) под избыточным давлением в циклон 1 по каналу, выполненному по спирали (например, по спирали Архимеда). Канал, обращенный во внутреннюю полость по касательной к ее цилиндрической поверхности, закручивает поток и направляет его одновременно по спирали к торцевой стенке камеры. Потоку в периферийной зоне сообщается значительная кинетическая энергия и он частично нагревается за счет трения о стенку корпуса 3. Обладая большой кинетической энергией, закрученный поток образует на внутренней поверхности дна корпуса 3 водоворотную зону с пониженным давлением в центре. Это разрежение давления в жидкости является необходимым условием для зарождения в ней множества кавитационных пузырьков. Понижение давления в центре у отверстия 5 способствует эжекции через него вспомогательного потока жидкости из бака 6. В зависимости от скорости потока и диаметра отверстия происходит дополнительно образование кавитационных пузырьков.
На границе взаимодействия основного и вспомогательного потоков (граница, согласно чертежу, имеет поверхность усеченного конуса), имеющих различную скорость и давление, возникает образование и дальнейшее схлопывание кавитационных пузырьков, кинетическая энергия переходит в тепловую, что приводит к интенсивному нагреву жидкости. При этом наличие кольцевого тормозного элемента 9 на выходном сопле 4, соотношение его геометрических размеров позволяют стабилизировать рабочий процесс и компенсировать потерю скорости выходящего потока жидкости. Нагретая жидкость из бака 6 поступает потребителю на нагрузку 7, откуда по всасывающей линии после потери части тепловой энергии насосом возвращается в циклон 1.
Создание кавитирующей зоны в приосевом потоке и сохранение высокой скорости движения жидкости вдоль его оси за счет прямоточной конструкции позволило повысить эффективность его работы (теплоотдачу). Одновременно с этим кавитирующая зона была смещена в приосевой поток, что позволило существенно уменьшить вредное влияние (эрозию) кавитации на элементы термогенератора. Кроме того, предлагаемый термогенератор прост по своей конструкции, компактен, обладает малой массой и технологичен в изготовлении.
Перечень позиций к заявке «Кавитационный термогенератор»
1 – циклон
2 – насос центробежный
3 – корпус
4 – сопло выходное
5 – отверстие (для эжекции вспомогательного потока)
6 – бак-накопитель (для горячей воды)
7 – нагрузка
8 – рабочий объем
9 – элемент тормозной
Формула изобретения
1. Кавитационный термогенератор, содержащий циклон с входным и выходным отверстиями, стаканообразный корпус, выходное сопло, каждый из которых присоединен жестко и герметично своей открытой полостью к одной из оппозитных сторон циклона соосно друг другу, тормозной элемент, бак с жидкой средой, в которую погружен термогенератор, выходное отверстие циклона направлено в камеру корпуса по ее касательной, отличающийся тем, что в донной части корпуса по его оси выполнено сквозное отверстие, а тормозной элемент выполнен в виде кольцевого торцевого выступа на части выходного сопла, соединенной с циклоном, и образованного за счет разности диаметров камеры корпуса и входного отверстия сопла, причем на внутренние поверхности термогенератора, контактирующие с потоками жидкости, нанесено покрытие из группы гидрофобные полимеры.
2. Кавитационный термогенератор по п.1, отличающийся тем, что камера корпуса выполнена цилиндрической.
3. Кавитационный термогенератор по п.1, отличающийся тем, что камера корпуса выполнена в форме усеченного конуса, обращенного меньшим основанием к циклону.
4. Кавитационный термогенератор по п.1, отличающийся тем, что отверстие в донной части корпуса выполнено коническим и обращено большим основанием конуса наружу.
5. Кавитационный термогенератор по п.2, отличающийся тем, что длина цилиндрической камеры составляет 2,7÷4,5 ее внутреннего диаметра.
6. Кавитационный термогенератор по любому из п.1 или 4, отличающийся тем, что диаметр отверстия в торцевой стенке цилиндрической камеры, выполняющего функцию эжектора вспомогательного потока жидкости, составляет 0,12÷0,25 от внутреннего диаметра цилиндрической камеры, а угол конуса 40÷70°.
7. Кавитационный термогенератор по любому из п.1 или 2, отличающийся тем, что диаметр входного отверстия выходного сопла составляет 0,55÷0,75 от внутреннего диаметра цилиндрической камеры, а выходного отверстия – 0,85÷0,95 от ее внутреннего диаметра.
8. Кавитационный термогенератор по п.1, отличающийся тем, что угол диффузора выходного сопла находится в пределах 5,5÷6,0°.
РИСУНКИ
|
|