|
| На основании пункта 3 статьи 13 Патентного закона Российской Федерации от 23 сентября 1992 г. № 3517-I патентообладатель обязуется передать исключительное право на изобретение (уступить патент) на условиях, соответствующих установившейся практике, лицу, первому изъявившему такое желание и уведомившему об этом патентообладателя и федеральный орган исполнительной власти по интеллектуальной собственности, – гражданину РФ или российскому юридическому лицу. |
|
(21), (22) Заявка: 2006103047/02, 02.02.2006
(24) Дата начала отсчета срока действия патента:
02.02.2006
(46) Опубликовано: 10.09.2007
(56) Список документов, цитированных в отчете о поиске:
RU 2112065 C1, 27.05.1998. RU 2203337 C1, 31.10.2001. JP 2005023367 А, 27.01.2005. US 2001008095 А, 19.07.2001. ЕР 0065854 А2, 01.12.1982. US 4365993 A, 28.12.1982.
Адрес для переписки:
398002, г.Липецк, ул. Игнатьева, 32, кв.2, А.И. Гончарову
|
(72) Автор(ы):
Гончаров Алексей Иванович (RU)
(73) Патентообладатель(и):
Гончаров Алексей Иванович (RU)
|
(54) СПОСОБ ОЧИСТКИ АЛЮМИНИЯ ОТ ОКСИДОВ ПРИМЕСНЫХ МЕТАЛЛОВ
(57) Реферат:
Изобретение относится к металлургической промышленности и может быть использовано для очистки различных отходов алюминия от оксидов примесных металлов с получением алюминия, используемого для антикоррозионного покрытия стальных полос, раскисления стали в мартеновских печах, изготовления различных изделий из алюминия, получения различных сплавов на основе алюминия. Способ включает загрузку алюминия в клети в расплав смеси солей натрия хлористого, натрия фтористого, калия хлористого, содержащего 5-7 мас.% натрия тетраборнокислого, при температуре 750-850°С. Расплав смеси солей имеет следующий состав, мас.%: NaCl – 63, NaF – 25, KCl – 12. Способ можно осуществлять в непрерывном режиме. Техническим результатом является увеличение производительности печи, содержание алюминия в очищенном алюминии не ниже 99,35 мас.%, исключение образования настыля на стенках тигля печи и снижение затрат энергоносителей. 1 з.п. ф-лы, 1 ил., 1 табл.
Предлагаемое изобретение относится к металлургической промышленности и может быть использовано для очистки алюминия от оксидов примесных металлов. Очищенный алюминий может быть использован в процессе антикоррозийного покрытия стальных полос для получения различных сплавов на основе алюминия, изготовления различных изделий, в процессе раскисления стали в мартеновских печах.
Известен способ рафинирования алюминия и сплавов на его основе, выбранный в качестве прототипа, включающий обработку непрерывного потока расплава флюсами, содержащими хлориды и фториды щелочных металлов, при одновременном его перемешивании мешалкой и отделении металла от продуктов реакции. В состав флюса вводят фторсоли титана и бора в соотношении к хлоридам и фторидам щелочных металлов 7-9:3-1, при этом расплав перемешивают со скоростью в 20-30 раз больше скорости потока металла, а флюс вводят в вихревую воронку, образованную мешалкой, при ее глубине, равной 0,3-0,4 глубины погружения мешалки в расплав (Патент RU 2112065, опубликован 27.05.1998 г.)
Данный способ является сложным по технологическому и аппаратурному оформлению, расходуется значительная масса фторидов и хлоридов титана, бора, натрия и калия, которые после их загрязнения примесями, содержащимися в исходном алюминии, подлежат очистке, а это также достаточно сложный процесс.
Известен способ переработки загрязненного тонкостенного скрапа цветных металлов и устройство для его осуществления. Способ относится преимущественно к алюминиевым сплавам. По данному способу нагрев и переплавку скрапа ведут в тигле из ферромагнитного материала в атмосфере азота внешним переменным магнитным полем, создаваемым соленоидом, с шагом витков, увеличивающимся по высоте тигля от горловины к днищу, при этом переход на режим переплавки производят путем увеличения мощности источника энергии магнитного поля при отсутствии продуктов загрязнения в отходящих газах (Патент РФ 2250269, Бюл. 11, 2005 г.). Данный способ нельзя использовать для очистки отходов алюминия, содержащих оксиды примесных металлов, так как на дне и на стенках тигля печи будет происходить образование настыля, что повлечет за собой необходимость частых периодических очисток тигля печи от настыля. Также следует отметить, что способ и устройство достаточно сложные.
Задачами предлагаемого способа очистки алюминия от оксидов примесных металлов являются устранение образования на стенках тигля печи настыля, упрощение управления операциями в процессе очистки алюминия от примесей, создание технологии ведения процесса очистки отходов алюминия в непрерывном режиме, увеличение производительности печи, снижение себестоимости получаемого очищенного алюминия.
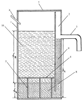
Решение указанных задач достигается тем, что плавление алюминия осуществляют в расплаве смеси солей: натрия хлористого, натрия фтористого, калия хлористого, содержащего 5-7 мас.% натрия тетраборнокислого, при температуре 750-850°С. Расплав смеси солей имеет следующий состав, мас.%: NaCl – 63, NaF – 25, KCl – 12. Для осуществления способа очистки алюминия от оксидов примесных металлов используют печь с установленным в нее вертикальным тиглем, представленным на рисунке. Печь в режиме готовности представлена на рисунке и включает в себя следующие элементы:
1. Тигель печи из огнеупорной стали;
2. Пристенный карман для затвора из расплава алюминия, представляющий собой трубу из огнеупорной стали;
3. Отводной патрубок для слива очищенного алюминия в изложницы, представляет собой трубу из огнеупорной стали;
4. Опорная решетка из огнеупорной стали;
5. Опорные стойки из огнеупорной стали;
6. Патрубок для ввода азота в тигельное пространство над поверхностью расплава солей;
7. Крышка тигля;
8. Расплав очищенного алюминия;
9. Затвор из расплава очищенного алюминия;
10. Расплав солей.
Для установления отводного патрубка для слива очищенного алюминия в изложницы, рассчитывают высоту затвора из очищенного расплава алюминия по заданным значениям высоты слоя расплава алюминия на дне тигля и высоты слоя расплава солей в соответствии с формулой:
h1=(h2×Р2+h3×Р2):Р1;
где h1 – высота слоя расплава алюминия в затворе, м.;
h2 – высота слоя расплава алюминия на дне тигля печи, м.;
h3 – высота слоя расплава солей в тигле печи, м.;
P1 – удельная масса расплава алюминия, кг/м3.;
Р2 – удельная масса расплава солей, кг/м3.
Опорную решетку устанавливают над слоем расплава алюминия на расстоянии 50-80 мм.
Первоначально печь приводят в рабочее состояние. Для этого в тигель печи загружают смесь солей натрия хлористого, натрия фтористого, калия хлористого на 2/3 высоты тигля печи. Далее включают обогрев печи, расплавляют загруженные соли и поднимают температуру расплава солей до 750-850°С. Затем в печь загружают буру из расчета 5-7 мас.% натрия тетраборнокислого от массы загруженных солей натрия хлористого, натрия фтористого, калия хлористого. Буру в расплав солей загружают в клети из металлических прутков, обшитых металлической сеткой, небольшими порциями.
В пространство тигля над раствором солей через штуцер (поз.6) подают азот. Затем в расплав солей погружают клеть с алюминием. Клеть устанавливают на опорную решетку (поз.4). Масса алюминия в клети должна быть такой, чтобы алюминий был полностью погружен в расплав солей. Подачу азота в тигель прекращают. Тигель закрывают крышкой. После полного расплавления алюминия и отекания расплава на дно печи крышку тигля отводят в сторону, клеть из расплава солей вынимают и оставляют для охлаждения и очистки от метаборнокислых солей примесных металлов. Операции плавления алюминия в расплаве солей повторяют аналогично первой операции до тех пор, пока из отводного патрубка (поз.3) не будет изливаться расплав алюминия в изложницы. Затем в тигель печи загружают затвердевший плав солей, который вылили в изложницы в первых операциях и продолжают засыпку смеси солей натрия хлористого, натрия фтористого, калия хлористого до тех пор, пока высота слоя расплава солей не достигнет ранее заданного значения высоты (h3). После этого в расплав загружают небольшими порциями буру из расчета 5-7 мас.% от загруженной массы солей во второй раз. Для перехода метаборнокислого натрия (NaBO2), который образовался в результате очистки алюминия, в натрий тетраборнокислый (Na2B4O7) в расплав загружают осторожно, небольшими порциями определенную массу борной кислоты. Нужно более точно определять необходимую массу загружаемой борной кислоты, так как избыток ее приведет к восстановлению бора алюминием по схеме реакции:
В2O3+2Al=2В+Al2О3.
После всех этих операций печь готова к очистке алюминия от оксидов примесных металлов в непрерывном режиме.
Совокупность признаков заявляемого технологического решения – способа очистки алюминия от оксидов примесных металлов – имеет отличия от прототипа и не следует явным образом из изученного уровня техники, поэтому автор считает, что способ является новым и имеет изобретательский уровень. Способ очистки алюминия от оксидов примесных металлов позволяет исключить образование настыля на стенках тигля печи, повысить производительность печи, уменьшить потери алюминия в процессе очистки, создать технологию непрерывной очистки алюминия, понизить себестоимость очищенного алюминия.
Результаты технологического процесса предлагаемого способа очистки алюминия от оксидов примесных металлов представлены в таблице 1.
Таким образом использование предлагаемого способа очистки алюминия от оксидов примесных металлов позволяет выполнить поставленные задачи и получить положительные результаты технического решения.
Таблица 1. Состав загрязненного алюминия, мас.%: алюминий – 96,7%, примеси – 3,3%. |
| №№ опытов |
Наименование параметров процесса |
Единицы измерения |
Значение параметра |
Результаты технологического процесса |
| 1 |
2 |
3 |
4 |
5 |
| 1. |
Температура в печи |
°С |
750 |
Время выплавки загруженного алюминия – 0,7 ч. |
| |
Массовая доля натрия тетраборнокислого в расплаве солей |
% |
5,3 |
Суммарная масса примесей в очищенном алюминии – 0,75% Коэффициент выхода очищенного алюминия – 0,97 |
| 2. |
Температура в печи |
°С |
740 |
Время выплавки загруженного алюминия – 0,8 ч. |
| Массовая доля натрия тетраборнокислого в расплаве солей |
% |
5,7 |
Суммарная масса примесей в очищенном алюминии – 0,65% Коэффициент выхода очищенного алюминия -0,92 |
| 3. |
Температура в печи |
°С |
850 |
Время выплавки загруженного алюминия – 0,55 ч. |
| Массовая доля натрия тетраборнокислого в расплаве солей |
% |
5,5 |
Суммарная масса примесей в очищенном алюминии – 0,70% Коэффициент выхода очищенного алюминия -0,96 |
| 4. |
Температура в печи |
°С |
900 |
Время выплавки загруженного алюминия – 0,45 ч. |
| Массовая доля натрия тетраборнокислого в расплаве солей |
% |
6,1 |
Суммарная масса примесей в очищенном алюминии – 0,75% Коэффициент выхода очищенного алюминия -0,96 Повышенный расход энергоносителей, качество очищенного алюминия не улучшается. |
| 5. |
Температура в печи |
°С |
780 |
Время выплавки загруженного алюминия – 0,63ч. |
| Массовая доля натрия тетраборнокислого в расплаве солей |
% |
4,1 |
Суммарная масса примесей в очищенном алюминии – 0,80% Коэффициент выхода очищенного алюминия – 0,91 Ухудшается качество и уменьшается коэффициент выхода очищенного алюминия. |
| 6. |
Температура в печи |
°С |
800 |
Время выплавки загруженного алюминия – 1,1 ч. |
| Массовая доля натрия тетраборнокислого в расплаве солей |
% |
8,5 |
Суммарная масса примесей в очищенном алюминии – 0,65% Коэффициент выхода очищенного алюминия – 0,97 Возрастает удельный вес расплава солей, уменьшается скорость оседания расплава алюминия на дно тигля печи. |
Формула изобретения
1. Способ очистки алюминия от оксидов примесных металлов, включающий плавление алюминия с использованием смеси солей хлоридов и фторидов щелочных металлов и отделение твердой фазы оксидов примесных металлов от расплава алюминия, отличающийся тем, что плавление алюминия осуществляют в расплаве смеси солей натрия хлористого, натрия фтористого и калия хлористого, содержащего 5-7 мас.% натрия тетраборно-кислого, при температуре 750-850°С.
2. Способ по п.1, отличающийся тем, что расплав смеси солей имеет следующий состав, мас.%:
| Натрий хлористый |
63 |
| Натрий фтористый |
25 |
| Калий хлористый |
12 |
РИСУНКИ
|
|