|
|
(21), (22) Заявка: 2005118051/15, 14.06.2005
(24) Дата начала отсчета срока действия патента:
14.06.2005
(43) Дата публикации заявки: 20.12.2006
(46) Опубликовано: 10.09.2007
(56) Список документов, цитированных в отчете о поиске:
RU 2057714 C1, 10.04.1996. RU 2252817 C1, 27.05.2005. RU 2214296 C1, 20.10.2003. RU 2230033 С1, 10.06.2004. RU 2125018 C1, 20.01.1999. SU 1777965 A1, 30.11.1992. US 3275411 А, 27.09.1966. СА 1008799 А, 19.04.1977.
Адрес для переписки:
125009, Москва, Средний Кисловский пер., 7/10, кв.26, пат. пов. А.С. Попову, рег.№ 694
|
(72) Автор(ы):
Горовой Михаил Алексеевич (UA), Горовой Юрий Михайлович (RU)
(73) Патентообладатель(и):
Горовой Михаил Алексеевич (UA), Горовой Юрий Михайлович (RU)
|
(54) УСТАНОВКА ДЛЯ СИНТЕЗА ДИОКСИДА ТИТАНА И СПОСОБ СИНТЕЗА ДИОКСИДА ТИТАНА
(57) Реферат:
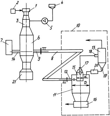
Изобретение может быть использовано для получения порошкового диоксида титана по хлоридной технологии. Установка для синтеза диоксида титана содержит плазмотрон 1, к которому подключен источник 2 кислорода или кислородсодержащего газа, плазмохимический реактор 3, связанный с расходной емкостью 4 и средством 5 подачи тетрахлорида титана, закалочную камеру 6, однотрубчатый теплообменник 8 типа “труба в трубе” и блок 10 разделения продуктов синтеза. Блок разделения продуктов синтеза состоит из циклона 11 и фильтра 13. Закалочная камера имеет цилиндрический корпус, к коническому днищу которого подсоединен бункер 21 крупной фракции диоксида титана, и радиально расположенный выходной патрубок 9. Закалочная камера дополнительно снабжена пневмоимпульсным генератором 7. Ствол 14 пневмоимпульсного генератора установлен в нижней части цилиндрического корпуса соосно и диаметрально противоположно радиальному выходному патрубку 9. Циклон блока разделения продуктов синтеза, вход которого подсоединен к теплообменнику 8, выполнен с осесимметричной успокоительной камерой 15, соосно размещенной между корпусом и отводной трубой 17 при следующем соотношении геометрических параметров: d/D=(0,1-0,7), где d – максимальный диаметр успокоительной камеры; D – диаметр цилиндрического корпуса. В способе синтеза диоксида титана охлаждение продуктов реакции после закалочной камеры осуществляют при течении пылегазового потока в однотрубчатом теплообменнике типа “труба в трубе” с массовой скоростью – плотностью потока массы от 5 до 80 кг/м2с. Изобретение позволяет повысить эффективность и надежность работы установки для синтеза диоксида титана. 2 н. и 1 з.п. ф-лы, 1 ил., 2 табл.
Изобретение относится к производству порошковых материалов и может быть использовано для получения диоксида титана по хлоридной технологии.
Из уровня техники известна установка для синтеза диоксида титана, содержащая последовательно включенные плазмотрон, соединенный с источником кислорода или кислородсодержащего газа, плазмохимический реактор, связанный с расходной емкостью тетрахлорида титана, закалочную камеру, теплообменник и блок разделения продуктов синтеза, состоящий из циклона и фильтра (RU 2057714 С1, C01G 23/047, 1996). Основным недостатком известной установки являются постоянные забивки теплообменника и циклона отложениями диоксида титана, требующие остановок производства для чисток, и наличие нескольких точек выгрузки диоксида титана, что усложняет конструкцию и снижает эффективность работы установки в целом.
Известен также способ синтеза диоксида титана, включающий генерацию плазмы кислорода или кислородсодержащего газа, введение в плазменный поток тетрахлорида титана и разложение последнего в плазме, последовательное охлаждение образовавшихся продуктов реакции в закалочной камере и в теплообменнике и отделение целевого продукта – диоксида титана из пылегазового потока (RU 2057714 С1, C01G 23/047, 1996). К недостатку данного способа можно отнести возможность забивки теплообменника отложениями диоксида титана, что снижает эффективность процесса получения диоксида титана.
Изобретение направлено на повышение эффективности и надежности работы установки и улучшение процесса синтеза диоксида титана.
Решение поставленной задачи обеспечивается тем, что в установке для синтеза диоксида титана, содержащей последовательно включенные плазмотрон, соединенный с источником кислорода или кислородсодержащего газа, плазмохимический реактор, связанный с расходной емкостью тетрахлорида титана, закалочную камеру, теплообменник и блок разделения продуктов синтеза, состоящий из циклона и фильтра, согласно изобретению закалочная камера выполнена с цилиндрическим корпусом, к коническому днищу которого подсоединен бункер крупной фракции диоксида титана, и радиально расположенным выходным патрубком, и дополнительно снабжена пневмоимпульсным генератором, ствол которого установлен в нижней части цилиндрического корпуса соосно и диаметрально противоположно радиальному выходному патрубку, при этом теплообменник выполнен однотрубчатым типа “труба в трубе” и соосно напрямую подключен к радиальному выходному патрубку закалочной камеры, а циклон блока разделения продуктов синтеза, вход которого подсоединен к теплообменнику, выполнен с осесимметричной успокоительной камерой, соосно размещенной между корпусом и отводной трубой при следующем соотношении геометрических параметров:
d/D=(0,1÷0,7),
где d – максимальный диаметр успокоительной камеры;
D – диаметр цилиндрического корпуса.
Кроме того, входной патрубок запыленного газа рукавного фильтра блока разделения продуктов синтеза подключен к отводной трубе циклона, а выходной патрубок уловленных частиц соединен транспортной магистралью с периферийной зоной верхней части цилиндрического корпуса циклона, который выполнен с коническим днищем, снабженным пневмотранспортным средством диоксида титана.
При этом в способе синтеза диоксида титана, включающем генерацию плазмы кислорода или кислородсодержащего газа, введение в плазменный поток тетрахлорида титана и разложение последнего в плазме, последовательное охлаждение образовавшихся продуктов реакции в закалочной камере и в теплообменнике и отделение целевого продукта – диоксида титана из пылегазового потока, согласно изобретению, охлаждение продуктов реакции после закалочной камеры осуществляют при течении пылегазового потока в однотрубчатом теплообменнике типа “труба в трубе” с массовой скоростью – плотностью потока массы от 5 до 80 кг/м2с.
Наличие в закалочной камере пневмоимпульсного генератора и выполнение теплообменника однотрубчатым типа “труба в трубе” с подключением его к радиальному выходному патрубку закалочной камеры позволяет для исключения забивки теплообменника диоксидом титана посылать пневматические импульсы из генератора через его ствол в канал теплообменника, под воздействием которых происходит разрушение отложений диоксида титана, а эффективное их удаление из канала теплообменника обеспечивается в заявленном диапазоне массовой скорости – плотности потока массы пылегазового потока от 5 до 80 кг/м2с.
При этом заявленная конструкция циклона с наличием успокоительной камеры, которая является дополнительным осадителем, способствует повышению эффективности осаждению мелких фракций порошка диоксида титана до 82÷97%. Кроме того, подключение выходного патрубка уловленных частиц рукавного фильтра транспортной магистралью с периферийной зоной верхней части цилиндрического корпуса циклона уменьшает число точек выгрузки диоксида титана, что также способствует упрощению конструкции и повышению надежности работы установки.
На чертеже изображена схема установка для синтеза диоксида титана.
Установка содержит плазмотрон 1, к которому подключен источник кислорода 2, плазмохимический реактор 3, соединенную с расходной емкостью 4 и средством 5 подачи тетрахлорида титана закалочную камеру 6, снабженную пневмоимпульсным генератором 7, теплообменник 8, который выполнен однотрубчатым типа “труба в трубе” в виде прямой трубы или прямоугольных витков из прямых труб с закругленными углами и соосно напрямую подключен к радиальному выходному патрубку 9 закалочной камеры 6, и блок 10 разделения продуктов синтеза, включающий циклон 11, тангенциальный входной патрубок 12 которого подсоединен к теплообменнику 8, и рукавный фильтр 13. Выхлопной ствол 14 пневмоимпульсного генератора 7 установлен в стенке нижней части цилиндрического корпуса закалочной камеры 6 соосно и диаметрально противоположно радиальному выходному патрубку 9. Циклон 11 выполнен с осесимметричной коническо-цилиндрической успокоительной камерой 15, максимальный диаметр “d” которой составляет от 0,1 до 0,7 от диаметра “D” цилиндрического корпуса, в коническом днище которого установлено пневмотранспортное средство 16. Отводная труба 17 циклона 11 соединена с входным патрубком 18 запыленного газа рукавного фильтра 13, выходной патрубок 19 уловленных частиц которого соединен транспортной магистралью 20 (винтовым конвейером) с периферийной зоной верхней части цилиндрического корпуса циклона 11.
Заявленное изобретение осуществляется следующим образом.
В плазмотроне 1 генерируют плазму кислорода (или кислородсодержащего газа), подаваемого из источника 2. Струя кислородной плазмы из плазмотрона 1 поступает в плазмохимический реактор 3, в который из расходной емкости 4 средством 5 подают тетрахлорид титана. В плазмохимическом реакторе 3 при взаимодействии тетрахлорида титана с плазмой кислорода протекают процессы реакции-синтеза диоксида титана. Продукты реакции представляют собой газовзвесь частиц диоксида титана размером 0,2÷1,0 мкм в хлор-газе, состоящем из хлора и избыточного кислорода. Пылегазовый поток продуктов реакции из реактора 3 поступает в закалочную камеру 6, где происходит их частичное охлаждение и осаждение крупной фракции диоксида титана, которая накапливается в бункере 21 крупной фракции, присоединенном к коническому днищу цилиндрического корпуса закалочной камеры 6, и затем направляется на переработку. Пылегазовый поток продуктов реакции из закалочной камеры 6 через радиальный выходной патрубок 9 направляют в теплообменник 8, в котором при течении с массовой скоростью – плотностью потока массы от 5 до 80 кг/м2с производят их окончательное охлаждение. Из теплообменника 8 пылегазовый поток через тангенциальный входной патрубок 12 поступает в верхнюю часть цилиндрического корпуса циклона 11, где под действием центробежных сил происходит осаждение диоксида титана из пылегазового потока в коническое днище. Закрученный пылегазовый поток из корпуса циклона 11 поступает в успокоительную камеру 15, у стенки которой тангенциальная скорость потока значительно выше тангенциальной скорости у стенки корпуса, что обеспечивает более полное осаждение мелких частиц диоксида титана. Хлор-газ с остаточным диоксидом титана из успокоительной камеры 15 по отводной трубе 17 подают во входной патрубок 18 запыленного газа рукавного фильтра 13, где происходит очистка хлор-газа от остаточного диоксида титана. Хлор-газ из рукавного фильтра 13 поступает к потребителю, а уловленный диоксид титана из выходного патрубка 19 уловленных частиц по транспортной магистрали 20 (винтовым конвейером) направляют в периферийную зону верхней части цилиндрического корпуса циклона 11. Осажденные в коническом днище циклона 11 мелких частиц диоксида титана пневмотранспортным средством 16 передают на дальнейшую переработку.
В процессе синтеза диоксида титана пневмоимпульсный генератор 7, выхлопной ствол 14 которого установлен в стенке нижней части цилиндрического корпуса закалочной камеры 6 соосно и диаметрально противоположно радиальному выходному патрубку 9 и соответственно входному – начальному участку теплообменника 8, периодически посылает импульсы давления и разрежения в проточный внутренний канал теплообменника 8, которые разрушают отложения диоксида титана на внутренних стенках теплообменника 8, а унос фракций диоксида титана из теплообменника 8 осуществляется пылегазовым потоком со следующими параметрами течения:
G/F= u=5÷80 кг/м2с,
где G/F- массовая скорость пылегазового потока;
u – плотность потока массы пылегазового потока, кг/м2с;
G – массовый расход охлаждаемой среды через канал, кг/с;
F – площадь поперечного сечения канала теплообменника, м2;
– плотность охлаждаемой среды, кг/м3;
u – скорость течения охлаждаемой среды, м/с;
При этом наличие забивок канала теплообменника 8 возникает при u<5 кг/м2с, а при u>80 кг/м2с резко возрастает гидравлическое сопротивление теплообменника 8.
Примеры осуществления способа приведены в таблице 1, а показатели эффективности работы циклона приведены в таблице 2.

| Таблица 2 |
| Корпус циклона |
Успокоитель Диаметр d, м |
Отношение d/D |
Эффективность осаждения пыли |
Наличие забивок циклона |
| Диаметр D, м |
Высота м |
| 3 |
3 |
1,2 |
0,4 |
97 |
Отсутствуют |
| 3 |
3 |
0,3 |
0,1 |
82 |
Отсутствуют |
| 3 |
3 |
0,24 |
0,08 |
75 |
Отсутствуют |
| 3 |
3 |
2,25 |
0,75 |
80 |
Отсутствуют |
| 3 |
3 |
2,1 |
0,7 |
87 |
Отсутствуют |
| 2 |
1,6 |
0,4 |
0,2 |
85 |
Отсутствуют |
| 3 |
3 |
1,5 |
0,5 |
95 |
Отсутствуют |
| 1.6 |
1.6 |
0.6 |
0.4 |
97 |
Отсутствуют |
Формула изобретения
1. Установка для синтеза диоксида титана, содержащая последовательно включенные плазмотрон, соединенный с источником кислорода или кислородсодержащего газа, плазмохимический реактор, связанный с расходной емкостью тетрахлорида титана, закалочную камеру, теплообменнник и блок разделения продуктов синтеза, состоящий из циклона и фильтра, отличающаяся тем, что закалочная камера выполнена с цилиндрическим корпусом, к коническому днищу которого подсоединен бункер крупной фракции диоксида титана, и радиально расположенным выходным патрубком, и дополнительно снабжена пневмоимпульсным генератором, ствол которого установлен в нижней части цилиндрического корпуса соосно и диаметрально противоположно радиальному выходному патрубку, при этом теплообменник выполнен однотрубчатым типа “труба в трубе” и соосно напрямую подключен к радиальному выходному патрубку закалочной камеры, а циклон блока разделения продуктов синтеза, вход которого подсоединен к теплообменнику, выполнен с осесимметричной успокоительной камерой, соосно размещенной между корпусом и отводной трубой при следующем соотношении геометрических параметров
d/D=(0,1-0,7),
где d – максимальный диаметр успокоительной камеры;
D – диаметр цилиндрического корпуса.
2. Установка для синтеза диоксида титана по п.1, отличающаяся тем, что входной патрубок запыленного газа рукавного фильтра блока разделения продуктов синтеза подключен к отводной трубе циклона, а выходной патрубок уловленных частиц соединен транспортной магистралью с периферийной зоной верхней части цилиндрического корпуса циклона, который выполнен с коническим днищем, снабженным пневмотранспортным средством диоксида титана.
3. Способ синтеза диоксида титана, включающий генерацию плазмы кислорода или кислородсодержащего газа, введение в плазменный поток тетрахлорида титана и разложение последнего в плазме, последовательное охлаждение образовавшихся продуктов реакции в закалочной камере и в теплообменнике и отделение целевого продукта – диоксида титана из пылегазового потока, отличающийся тем, что охлаждение продуктов реакции после закалочной камеры осуществляют при течении пылегазового потока в однотрубчатом теплообменнике типа “труба в трубе” с массовой скоростью-плотностью потока массы от 5 до 80 кг/м2с.
РИСУНКИ
|
|