|
|
(21), (22) Заявка: 2003131884/14, 08.03.2002
(24) Дата начала отсчета срока действия патента:
08.03.2002
(30) Конвенционный приоритет:
30.03.2001 US 09/820,895
(43) Дата публикации заявки: 10.12.2004
(46) Опубликовано: 10.09.2007
(56) Список документов, цитированных в отчете о поиске:
US 5897594 А, 27.04.1999. US 6206934 А, 27.03.2001. RU 2102942 C1, 27.01.1998. RU 2085155 C1, 27.07.1997. SU 1623644 A1, 30.01.1991.
(85) Дата перевода заявки PCT на национальную фазу:
30.10.2003
(86) Заявка PCT:
US 02/06901 (08.03.2002)
(87) Публикация PCT:
WO 02/078577 (10.10.2002)
Адрес для переписки:
129010, Москва, ул. Б.Спасская, 25, стр.3, ООО “Юридическая фирма Городисский и Партнеры”, пат.пов. Г.Б. Егоровой, рег.№ 513
|
(72) Автор(ы):
ТАУНСЕНД Барри В. (US), КЛАУДИНО Байрон К. (US)
(73) Патентообладатель(и):
ТАУНСЕНД Барри В. (US)
|
(54) ПРОТЕЗ СТОПЫ С РЕГУЛИРУЕМОЙ ФУНКЦИЕЙ
(57) Реферат:
Изобретение относится к области медицинской техники. Протез стопы содержит киль стопы и стержень голени, прикрепленный к килю стопы для образования области голеностопного сочленения протеза стопы. Киль стопы имеет передний отдел стопы и задний отдел стопы и относительно длинный средний отдел стопы, проходящий между передним отделом стопы и задним отделом стопы. Стержень голени содержит выпукло-изогнутый вниз нижний конец, который прикреплен в его части к среднему отделу стопы киля посредством регулируемого крепежного устройства. Стопа имеет возможность движения в двух плоскостях и в предпочтительном виде также имеет высокую и низкую динамическую характеристику. Регулируемое крепежное устройство обеспечивает возможность регулировки совмещения стержня голени и киля стопы относительно друг друга в продольном направлении киля стопы для регулировки функции протеза стопы. Изобретение позволяет улучшить функциональные характеристики протеза стопы. 8 н. и 69 з.п. ф-лы, 27 ил.
Область техники
Настоящее изобретение относится к высокофункциональному протезу стопы, обеспечивающему улучшенные динамические характеристики в ответ на действие прилагаемой силы.
Предшествующий уровень техники
Бессуставная искусственная стопа для протеза нижней конечности раскрыта Martin et al. в патенте США № 5897594. В отличие от предшествующих решений, при которых искусственная стопа имеет жесткую конструкцию, обеспеченную суставом для имитации функции голеностопного сустава, в бессуставной искусственной стопе Martin et al. используется упругий вкладыш стопы, который расположен внутри формованного изделия стопы. Вкладыш имеет приблизительно С-образный профиль в продольном срезе с отверстием сзади и принимает нагрузку протеза своим верхним С-плечом и посредством своего нижнего С-плеча передает указанную нагрузку на соединенную с ним пластинчатую пружину. Пластинчатая пружина, как видно снизу, имеет выпуклый профиль и проходит приблизительно параллельно области подошвы вперед за пределы вкладыша стопы в область кончика стопы. Изобретение Martin et al. основано на усовершенствовании бессуставной искусственной стопы в отношении демпфирования соударения пятки, эластичности, ходьбы от пятки к пальцам стопы и латеральной устойчивости, для того чтобы, таким образом, обеспечить возможность пользователю ходить нормальным образом, причем намерение состояло в обеспечении возможности пользователю и нормально ходить, а также осуществлять физические упражнения и спортивные игры. Однако динамические характеристики указанной известной искусственной стопы ограничены. Существует потребность в протезе стопы с более совершенными функциональными характеристиками, имеющем улучшенные конструктивные признаки механики, которые могут улучшить выполнение лицами, перенесшими ампутацию нижней конечности, спортивных мероприятий, включающих такие виды физической активности, как, например, бег, прыжки, спринтерский бег, старт бега, остановка и прерывистое движение.
Другой протез стопы был предложен Van L. Philips, который, как полагают, обеспечивает лиц, перенесших ампутацию нижней конечности, быстротой и подвижностью при участии в широком разнообразии видов активности, которым ранее препятствовали структурные ограничения и соответствующие функциональные характеристики протезов предшествующего уровня техники. Полагают, что указанные известные стопы, которые, по сообщениям, можно использовать таким же образом, как и нормальную стопу пользователя, способны переносить бег, прыжки и другие виды активности (см., например, патенты США №6071313, 5993488, 5899944, 5800569, 5800568, 5728177, 5728176, 5824112, 5593457, 5514185, 5181932 и 4822363, 6402790 на имя Celebi и патент Франции 26404499 на имя Palfray).
Описание изобретения
Для того чтобы обеспечить возможность спортсмену, перенесшему ампутацию нижней конечности, достичь более высокий функциональный уровень, существует потребность в высокофункциональном протезе стопы, имеющем усовершенствованную прикладную механику, причем стопа может функционально превосходить стопу человека, а также функционально превосходить протезы стопы предшествующего уровня техники. Спортсмен, перенесший ампутацию нижней конечности, заинтересован в наличии высокофункционального протеза стопы, имеющего улучшенную прикладную механику, динамическую характеристику от высокого до низкого уровня, и возможность регулирования совмещения с обеспечением возможности тонкой настройки для улучшения горизонтального и вертикального компонентов функционирования, которые по природе могут быть специфичными в зависимости от конкретных потребностей.
Протез стопы настоящего изобретения направлен на удовлетворение указанных потребностей. В соответствии с раскрытым здесь иллюстративным вариантом реализации протез стопы изобретения содержит проходящий в продольном направлении киль стопы, имеющий на одном конце передний отдел стопы, задний отдел стопы на противоположном конце и относительно длинный средний отдел стопы, проходящий между передним отделом стопы и задним отделом стопы, и в виде арки изогнутый вверх от них. Предоставлен также стержень голени, включающий в себя выпукло-изогнутый вниз нижний конец. Регулируемое крепежное устройство прикрепляет изогнутый нижний конец стержня голени к изогнутому вверх в виде арки среднему отделу стопы киля стопы для образования области голеностопного сочленения протеза стопы.
Регулируемое крепежное устройство обеспечивает возможность регулировки совмещения стержня голени и киля стопы относительно друг друга в продольном направлении киля стопы для регулировки функции протеза стопы. Путем регулировки совмещения расположенных напротив изогнутого вверх в виде арки среднего отдела стопы киля стопы и выпукло-изогнутого вниз нижнего конца стержня голени относительно друг друга в продольном направлении киля стопы динамические характеристики и достигаемые в результате движения стопы меняются, становясь специфичными в зависимости от конкретных потребностей в отношении необходимых/желаемых горизонтальных и вертикальных линейных скоростей. Протез стопы, предназначенный для разнообразного использования, раскрыт с наличием возможностей высокой и низкой динамической характеристики, а также в виде двигательных характеристик в двух плоскостях, которые улучшают достигаемые в результате функциональные характеристики у лиц, перенесших ампутацию нижней конечности, принимающих участие в спортивных и/или развлекательных видах деятельности. Раскрыт также протез стопы, в частности для спринтерского бега.
Указанные и другие задачи, признаки и преимущества настоящего изобретения становятся более очевидными в результате рассмотрения следующего подробного описания раскрытых иллюстративных вариантов реализации и сопровождающих чертежей.
Краткое описание чертежей
Фиг. 1 – схематическая иллюстрация, представляющая два примыкающих радиуса кривизны R1 и R2, одна против другой, киля стопы и стержня голени протеза стопы изобретения, который создает динамическую характеристику и достигаемое в результате движение стопы при ходьбе в направлении стрелки В, которая перпендикулярна касательной линии А, соединяющей два радиуса.
Фиг. 2 – вид, аналогичный фиг. 1, но показывающий совмещение двух радиусов, которые были изменены в протезе стопы в соответствии с изобретением для увеличения горизонтального компонента и уменьшения вертикального компонента возможной динамической характеристики и достигаемого в результате движения стопы при ходьбе таким образом, что стрелка В1, перпендикулярная касательной линии А1, направлена более горизонтально, чем в случае, изображенном на фиг. 1.
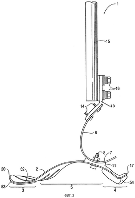
Фиг. 3 – вид сбоку протеза стопы в соответствии с иллюстративным вариантом реализации изобретения с адаптером пилона и присоединенным к нему пилоном для фиксации стопы к нижней части нижней конечности лица, перенесшего ампутацию нижней конечности.
Фиг. 4 – вид спереди протеза стопы с адаптером пилона и пилоном, изображенным на фиг. 3.
Фиг. 5 – вид сверху варианта реализации, показанного на фиг. 3 и 4.
Фиг. 6 – вид сбоку другого киля стопы изобретения, специально для спринтерского бега, который можно использовать в протезе стопы изобретения.
Фиг. 7 – вид сверху киля стопы, изображенного на фиг. 6.
Фиг. 8 – вид снизу киля стопы в протезе стопы, изображенного на фиг. 3, который обеспечивает высокую и низкую динамическую характеристику, а также возможности движения в двух плоскостях.
Фиг. 9 – вид сбоку дополнительного киля стопы изобретения протеза стопы, который можно, в частности, использовать для спринтерского бега лиц, которые перенесли ампутацию нижней конечности по Symes.
Фиг. 10 – вид сверху киля стопы, изображенного на фиг. 9.
Фиг. 11 – еще один вариант киля стопы для протеза стопы изобретения для лиц, которые перенесли ампутацию нижней конечности по Symes, причем киль стопы предоставляет протез стопы, который обеспечивает высокую и низкую динамические характеристики, а также возможность движения в двух плоскостях.
Фиг. 12 – вид сверху киля стопы, изображенного на фиг. 11.
Фиг. 13 – вид сбоку киля стопы изобретения, в котором толщина киля сужается, т.е. прогрессивно уменьшается от среднего отдела стопы к заднему отделу стопы киля.
Фиг. 14 – вид сбоку другого вида киля стопы, в котором толщина уменьшается от среднего отдела стопы по направлению и к переднему отделу стопы, и к заднему отделу стопы киля.
Фиг. 15 – вид сбоку немного выше и спереди от стержня голени, спрофилированного в форме параболы протеза стопы изобретения, причем толщина стержня голени сужается по направлению к его верхнему концу.
Фиг. 16 – вид сбоку, подобный фиг. 15, но показывающий другой стержень голени, сужающийся от середины в направлении и к верхнему, и к нижнему концу.
Фиг. 17 – вид сбоку С-образного стержня голени протеза стопы, причем толщина стержня голени сужается от середины в направлении и к верхнему, и к нижнему концу.
Фиг. 18 – вид сбоку другого примера С-образного стержня голени для протеза стопы, причем толщина стержня голени прогрессивно уменьшается от его медиальной части к его верхнему концу.
Фиг. 19 – вид сбоку S-образного стержня голени для протеза стопы, причем толщина обоих концов прогрессивно уменьшается от его середины.
Фиг. 20 – еще один пример S-образного стержня голени, который сужается по толщине только на его верхнем конце.
Фиг. 21 – вид сбоку J-образного стержня голени, сужающегося на каждом конце, для протеза стопы изобретения.
Фиг. 22 – вид, аналогичный фиг. 21, но показывающий J-образный стержень голени, который прогрессивно уменьшается по толщине только по направлению к его верхнему концу.
Фиг. 23 – вид сбоку, немного выше алюминиевого или пластикового соединительного элемента, используемого в регулируемом крепежном устройстве изобретения для прикрепления стержня голени к килю стопы, как показано на фиг. 3.
Фиг. 24 – вид сбоку и немного впереди от адаптера пилона, используемого на протезе стопы, изображенном на фиг. 3-5, для присоединения стопы к пилону, который предстоит прикрепить к нижней конечности лица, перенесшего ампутацию нижней конечности.
Фиг. 25 – вид сбоку другого протеза стопы изобретения, аналогичного протезу на фиг. 3, но показывающий использование соединительного элемента двумя разъединяемыми крепежами, расположенными с промежутком в продольном направлении и присоединяющими элемент соответственно к стержню голени и килю стопы.
Фиг. 26 – увеличенный вид сбоку соединительного элемента, показанного на фиг. 25.
Фиг. 27 – увеличенный вид сбоку стержня голени протеза стопы, показанного на фиг. 25.
Наилучший способ осуществления изобретения
Теперь, обращаясь к чертежам, видно, что протез стопы 1 в иллюстративном варианте реализации, изображенном на фиг. 3-5, содержит проходящий в продольном направлении киль 2 стопы, имеющий передний отдел 3 стопы на одном конце, задний отдел 4 стопы на противоположном конце и относительно длинный средний отдел 5 стопы, проходящий между передним отделом стопы и задним отделом стопы и дугообразно изогнутый вверх. Средний отдел 5 стопы выпукло изогнут вверх по всему его продольному протяжению между передним отделом стопы и задним отделом стопы в иллюстративном варианте реализации.
Вертикально стоящий стержень 6 голени стопы 1 прикреплен у части выпукло-изогнутого вниз его нижнего конца 7 к ближайшей задней поверхности среднего отдела 5 стопы киля посредством разъединяемого крепежа 8 и соединительного элемента 11. Крепеж 8 в иллюстративном варианте реализации представляет собой одиночный болт с гайкой и шайбой, но он может представлять собой размыкающийся зажим или другое крепежное средство для фиксированного расположения и удерживания стержня голени на киле стопы при затягивании крепежа.
Продольно проходящее отверстие 9 образовано в ближайшей задней поверхности среднего отдела 5 стопы киля (см. фиг. 8). Продольно проходящее отверстие 10 также образовано в изогнутом нижнем конце 7 стержня 6 голени, как отверстие, показанное, например, на фиг. 15. Разъединяемый крепеж 8 проходит через отверстия 9 и 10 для обеспечения возможности регулировки совмещения стержня голени и киля стопы относительно друг друга в продольном направлении (линия А-А на фиг. 5), когда крепеж 8 ослаблен или разомкнут для регулировки функции протеза стопы, специфичной для конкретной потребности. Так, крепеж 8, соединительный элемент 11 и продольно проходящие отверстия 9 и 10 составляют регулируемое крепежное устройство для прикрепления стержня голени к килю стопы для образования области голеностопного сочленения протеза стопы.
Эффект регулировки совмещения стержня 6 голени и киля 2 стопы виден при рассмотрении фиг. 1 и 2, на которых два радиуса R1 и R2, один за другим, представляют прилегающие, обращенные друг к другу, куполообразные или выпукло-изогнутые поверхности среднего отдела 5 киля стопы и стержня 6 голени. Когда два таких радиуса рассматриваются один рядом с другим, существует возможность движения перпендикулярно касательной линии А на фиг. 1, А1 на фиг. 2, прочерченной между двумя радиусами. Взаимоотношение между указанными двумя радиусами определяет направление совершаемого в результате движения. Как следствие, приложение силы динамической характеристики стопы 1 зависит от данной связи. Чем больше радиус выпуклости, тем больше динамическая характеристика. Однако чем компактнее радиус, тем быстрее он реагирует.
Возможность совмещения стержня голени и киля стопы в протезе стопы изобретения обеспечивает возможность сдвига радиусов таким образом, что осуществляется воздействие на горизонтальную и вертикальную линейную скорость при спортивных видах функционирования стопы. Например, для обеспечения возможности развивать горизонтальную линейную скорость протезом стопы 1 изменение совмещения может воздействовать на взаимоотношение между радиусом стержня голени и радиусом киля стопы. То есть, для улучшения характеристики горизонтальной линейной скорости нижний радиус R2 киля стопы изготовлен дистальнее, чем его исходное положение (фиг. 2, в сравнении с фиг. 1). Это изменяет динамические характеристики и совершаемые в результате движения стопы 1, делая их более горизонтально направленными, а в результате при аналогичных прилагаемых силах может быть достигнута большая горизонтальная линейная скорость.
Посредством практического использования лицо, перенесшее ампутацию нижней конечности, может найти установку для каждого вида деятельности, которая удовлетворяет его/ее нужды, поскольку указанные нужды относятся к горизонтальным и вертикальным линейным скоростям. Например, прыгун и баскетболист нуждаются в большем вертикальном подъеме, чем бегун-спринтер. Соединительный элемент 11 представляет собой пластиковое или алюминиевое совмещающее соединение (см. фиг. 3, 4 и 23), расположенное в виде слоя между прикрепленным килем 2 стопы и стержнем 6 голени. Разъединяемый крепеж 8 проходит через отверстие 12 в соединительном элементе. Соединительный элемент проходит вдоль прикрепленной части стержня голени и ближайшей задней поверхности среднего отдела 5 киля стопы.
Изогнутый нижний конец 7 стержня 6 голени имеет форму параболы с наименьшим радиусом кривизны параболы, расположенным на нижнем конце и проходящим вверх и исходно впереди в профиле параболы. Обращенная назад вогнутость образована изгибом стержня голени, как изображено на фиг. 3. Форма параболы имеет преимущества в том, что она имеет увеличенные динамические характеристики при создании улучшенной горизонтальной линейной скорости, связанной с относительно большими радиусами ее проксимальной концевой части при одновременно меньшем радиусе изгиба на ее нижнем конце для более быстрой динамической характеристики. Большие радиусы изгиба на верхнем конце параболического профиля обеспечивают возможность того, что касательная линия А, объясненная со ссылкой на фиг. 1 и 2, остается более вертикально ориентированной при изменениях совмещения, что создает улучшенную горизонтальную линейную скорость.
Адаптер 13 пилона соединен с верхним концом стержня 6 голени крепежами 14. Адаптер 13 в свою очередь фиксирован к нижнему концу пилона 15 крепежами 16. Пилон 15 фиксирован к нижней конечности лица, перенесшего ампутацию нижней конечности, опорной структурой (не показана), прикрепленной к культе нижней конечности.
В иллюстративном варианте реализации передний отдел стопы, средний отдел стопы и задний отдел стопы киля 2 стопы образованы из одного блока упругого материала. Например, можно использовать твердый кусок материала, пластичного по природе, имеющего характеристики удерживания формы при прогибе под действием реактивных сил со стороны грунта. В частности, для изготовления киля стопы, а также стержня голени можно использовать высокопрочный графит, ламинированный эпоксидными термореактивными смолами, или подвергнутый экструзии пластик, используемый под торговым названием Delran, или дегазированные полиуретановые сополимеры. Функциональные качества, связанные с указанными материалами, обеспечивают высокую прочность при низкой массе и минимальную ползучесть. Термореактивные смолы ламинируют в вакууме с использованием стандартов протезной промышленности. Полиуретановые сополимеры можно выливать в негативные формы, и подвергнутый экструзии пластик можно обрабатывать на станке. Каждый используемый материал имеет свои преимущества и недостатки.
Все физические свойства упругого материала, поскольку они относятся к жесткости, гибкости и прочности, определяются толщиной материала. Более тонкий материал будет легче прогибаться, чем более толстый материал такой же плотности. Используемый материал, а также физические свойства связаны с характеристиками соотношения жесткости и гибкости киля протеза и стержня голени. В иллюстративном варианте реализации, показанном на фиг. 3-5, толщина киля и стержня голени равномерна или симметрична, но толщина по длине указанных компонентов может варьировать, как обсуждается ниже, как, например, изготовлением областей заднего отдела стопы и переднего отдела стопы, которые толще и больше реагируют на прогиб области среднего отдела стопы.
Для содействия обеспечению стопы 1 возможной высокой и низкой динамической характеристикой средний отдел 5 стопы образован продольной аркой так, что медиальная сторона продольной арки имеет относительно более высокую динамическую характеристику, чем латеральная сторона продольной арки. Для этого в иллюстративном варианте реализации медиальная сторона вогнутости продольной арки больше по радиусу, чем ее латеральная сторона. Задний конец 17 заднего отдела 4 стопы спрофилирован в изогнутую вверх арку, которая реагирует на реактивные силы при упоре в грунт во время удара пятки сжатием для амортизации. Пятка, образованная задним отделом 4 стопы, сформирована с задним латеральным углом 18, который находится дальше назад и в сторону, чем средний угол 19, для содействия вывороту заднего отдела стопы во время фазы начального контакта при ходьбе. Передний конец 20 переднего отдела 3 стопы спрофилирован в изогнутую вверх арку для имитации пальцев стопы человека, разогнутых назад в положении подъема пятки и разгибания пальцев стопы на поздней фазе отталкивания при ходьбе. Резиновые или пенистые накладки 53 и 54 предоставлены на нижней поверхности переднего отдела стопы и заднего отдела стопы в качестве амортизаторов.
Улучшенная возможность движения в двух плоскостях протеза стопы создается отверстиями 21 и 22 компенсационных соединений, проходящих через передний отдел 3 стопы между его дорзальной и подошвенной поверхностями. Компенсационные соединения 23 и 24 проходят вперед от соответствующих отверстий к переднему краю переднего отдела стопы для образования медиальной, средней и латеральной компенсационных распорок 25-27, которые создают возможность улучшенного движения в двух плоскостях переднего отдела стопы киля стопы. Отверстия 21 и 22 компенсационных соединений расположены по линии В-В на фиг. 5, в поперечной плоскости, которая проходит под углом от 20° до 35° к продольной оси А-А киля стопы при расположении отверстия 21 компенсационного соединения впереди от отверстия 22 латерального компенсационного соединения. Отверстия 21 и 22 компенсационных соединений при проекции на сагиттальную плоскость наклонены под углом 45° к поперечной плоскости, причем дорзальная сторона отверстий расположена впереди от подошвенной стороны. При таком расположении расстояние от разъединяемого крепежа 8 до отверстия 22 латерального компенсационного соединения короче, чем расстояние от разъединяемого крепежа до отверстия 21 медиального компенсационного соединения так, что латеральная часть протеза стопы 1 имеет более короткое плечо рычага пальцев стопы, чем медиальная, для обеспечения высокой и низкой динамической характеристики среднего отдела стопы.
Передняя часть заднего отдела 4 киля 2 стопы, кроме того, содержит отверстия 28 компенсационного соединения, проходящего через задний отдел 4 стопы между его дорзальной и подошвенной поверхностями. Компенсационное соединение 29 проходит сзади от отверстия 28 к заднему краю заднего отдела стопы для образования компенсационных распорок 30 и 31. Они создают улучшенную возможность движения в двух плоскостях заднего отдела стопы.
Дорзальная сторона среднего отдела 5 стопы и передний отдел 3 киля 2 стопы образуют обращенную вверх вогнутость 32, показанную на фиг. 3, так, что она при функции имитирует пятую лучевую ось движения стопы человека. То есть вогнутость 32 имеет продольную ось С-С, которая ориентирована под углом от 200 до 350 к продольной оси А-А киля стопы, причем медиальная часть расположена впереди от латеральной для содействия движению пятого луча при ходьбе, как в косой оси низшей передачи вращения от второй до пятой плюсневых костей в стопе человека.
Важность возможности движения в двух плоскостях можно оценить, когда лицо, перенесшее ампутацию нижней конечности, идет по неровной почве, или когда спортсмен упирается на среднюю или латеральную часть стопы. Направление вектора силы, действующей со стороны грунта, изменяется от сагиттальной ориентации до наличия ее компонента во фронтальной плоскости. Грунт будет оказывать отталкивающее действие, направленное к середине, т.е. в противоположном направлении относительно действия стопы, отталкивающейся в сторону. Вследствие этого стержень голени отклоняется в медиальном направлении, и воздействие массы прилагается на медиальную структуру киля стопы. В ответ на указанные силы давления распорки 25 и 31 среднего компенсационного соединения киля 2 стопы сгибаются в дорзальном направлении (отклоняются вверх) и выворачиваются, а распорки 27 и 30 латерального компенсационного соединения сгибаются в подошвенном направлении (отклоняются вниз) и вворачиваются внутрь. Указанное движение пытается поставить подошвенную поверхность стопы плоско на грунт (подошвенный этап).
Другой киль 33 стопы изобретения, в частности, для спринтерского бега, можно использовать в протезе стопы изобретения (см. фиг. 6 и 7). Центр тяжести тела при спринте становится ориентированным исключительно в сагиттальной плоскости. Протезу стопы нет необходимости иметь низкую динамическую характеристику. Вследствие этого наружная вращательная ориентация на 35° продольной оси переднего отдела стопы и вогнутость среднего отдела стопы, подобная таковой в киле 2 стопы, не требуется. Скорее ориентация продольной оси вогнутости D-D должна стать параллельной фронтальной плоскости, как изображено на фиг. 6 и 7. Это обеспечивает возможность реакции спринтерской стопы только в сагиттальном направлении. Кроме того, ориентация отверстий 34 и 35 компенсаторных соединений в переднем и среднем отделах стопы по линии Е-Е параллельна фронтальной плоскости, т.е. латеральное отверстие 35 смещается вперед и по одной линии со средним отверстием 34 и параллельно фронтальной плоскости. Передний конец 36 киля 33 стопы также изготовлен параллельно фронтальной плоскости. Задняя концевая пяточная область 37 киля стопы также параллельна фронтальной плоскости. Указанные модификации отрицательным образом воздействуют на возможности многообразного использования протеза стопы. Однако ее функциональные характеристики становятся специфичными в зависимости от конкретной потребности. Другое изменение киля 33 спринтерской стопы заключено в пальцевой, лучевой области переднего отдела стопы, где дорзальное сгибание киля 2 стопы на 15° увеличено до дорзального сгибания киля 33 стопы на 25°-40°.
На фиг. 9 и 10 показан еще один киль 38 стопы изобретения для протеза стопы, который можно, в частности, использовать для спринтерского бега лицом, перенесшим ампутацию нижней конечности по Symes. Для этого средний отдел киля 38 стопы включает в себя заднюю, обращенную вверх вогнутость 39, в которой изогнутый нижний конец стержня голени прикреплен к килю стопы посредством разъединяемого крепежа. Указанный киль стопы могут использовать все лица, перенесшие ампутацию нижней конечности. Киль 38 стопы подходит к более длинной культе конечности, связанной с уровнем ампутации по Symes. Его функциональные характеристики отчетливо более быстрые в плане возможных динамических характеристик. Его использование не специфично для данного уровня ампутации. Его можно использовать при всех ампутациях через большеберцовую и бедренную кость. Киль 40 стопы в иллюстративном варианте реализации, показанном на фиг. 11 и 12, имеет вогнутость 41 для лиц, перенесших ампутацию нижней конечности по Symes, причем киль стопы обеспечивает протез стопы с высокой и низкой динамической характеристикой, а также возможностями движения в двух плоскостях, подобных тем, которые имеются в иллюстративном варианте реализации, показанном на фиг. 3-5 и 8.
Функциональные характеристики нескольких килей стоп для протеза стопы 1 связаны с признаками формы и конструкции, поскольку они относятся к вогнутостям, размеру радиусов, расширению, сжатию и физическим свойствам материала, и все указанные свойства связаны и реагируют на силы, действующие со стороны грунта при ходьбе, беге и прыжках. Киль 42 стопы, показанный на фиг. 13, аналогичен килю в иллюстративном варианте реализации, показанном на фиг. 3-5 и 8, за исключением того, что толщина киля стоп сужается от среднего отдела стопы к задней части заднего отдела стопы. Толщина киля 43 стопы на фиг. 14 прогрессивно уменьшается или сужается и на его переднем, и на заднем конце. Аналогичные изменения толщины показаны в стержне 44 голени на фиг. 14 и в стержне 45 голени на фиг. 16, которые можно использовать в протезе стопы 1. Каждая конструкция киля стопы и стержня голени дает различные функциональные результаты, поскольку указанные функциональные результаты связаны с горизонтальной и вертикальной линейными скоростями, которые специфичны для улучшения функции в зависимости от конкретных потребностей, связанных с занятиями спортом. Возможность использования множества конфигураций и регулировок стержня голени при установках между килем стопы и стержнем голени создает соотношение между протезом стопы и стержнем голени, которое обеспечивает лицу, перенесшему ампутацию нижней конечности, и/или специалисту по протезированию возможность регулирования протеза стопы для максимальной функциональной эффективности при выбранном виде спортивной и развлекательной деятельности из их широкого многообразия.
Другие стержни стопы для протеза стопы 1 показаны на фиг. 17-22 и включают в себя С-образные стержни 46 и 47 голени, S-образные стержни 48 и 49 голени и J-образные стержни 50 и 51 голени. Верхний конец стержня голени может также иметь прямой вертикальный конец с пирамидальной крепежной пластиной, прикрепленной к данному проксимальному концу. Вставляемую пирамиду можно прикрепить к вертикальному концу стержня голени болтом, проведенным через него. Пластиковые или алюминиевые наполнители для приема проксимальной вставляемой пирамиды и дистального киля стопы могут быть также предоставлены в удлиненных отверстиях на проксимальном и дистальном концах стержня голени. Протез стопы изобретения представляет собой модульное устройство, предпочтительно сконструированное из стандартизированных блоков или размеров для обеспечения гибкости и разнообразия при использовании.
Все виды активности в виде бега по беговой дорожке происходят в направлении против часовой стрелки. Другой, необязательный признак изобретения, учитывает силы, действующие на стопу, продвигающуюся по такой кривой траектории. Центростремительное ускорение действует в направлении центра вращения, где объект движется по кривой траектории. К действию энергии применим третий закон Ньютона. Существует равная и противоположная реакция. Так, для каждой силы, «стремящейся к центру», существует сила, «стремящаяся от центра». Центростремительная сила действует в направлении центра вращения, а центробежная сила, реактивная сила, действует в сторону от центра вращения. Если спортсмен бежит по кривой на дорожке, центростремительная сила тянет бегуна в направлении центра кривой, в то время как центробежная сила тянет в сторону от центра кривой. Для противодействия центробежной силе, которая пытается отклонить бегуна наружу, бегун наклоняется внутрь. Если направление вращения бегуна на дорожке происходит всегда против часовой стрелки, то левая сторона находится внутри дорожки. Как следствие, в соответствии с признаком настоящего изобретения левая сторона стержней голени правого и левого протеза стопы может быть изготовлена более тонкой, чем правая сторона, и можно улучшить выполнения бега по кривой бегуна, перенесшего ампутацию нижней конечности.
Каждый из килей 2, 33, 38, 42 и 43 стопы в нескольких вариантах реализации имеет длину 29 см с пропорциями обувной колодки стопы 1, показанной в уменьшенном масштабе на фиг. 3, 4 и 5 и в нескольких видах различных стержней голени и килей стопы. Однако, как легко понять специалисту в данной области, определенные размеры протеза стопы можно менять в зависимости от размера, массы тела и других характеристик перенесшего ампутацию нижней конечности лица, которому подбирают протез стопы.
Теперь будет рассмотрена работа протеза стопы 1 в циклах динамических фаз походки при ходьбе и беге. Три закона движения Ньютона, которые относятся к закону инерции, ускорения и действия-реакции, представляют собой основу для кинематики движения в стопе. По третьему закону Ньютона, закону действия-реакции, известно, что грунт отталкивает стопу в направлении, равном и противоположном направлению, в котором стопа отталкивается от грунта. Указанные силы известны как реактивные силы, действующие со стороны грунта. Проведено много научных исследований форм активности человека в виде ходьбы, бега и прыжков. Исследования с плитой пуансона показывают, что при ходьбе действует третий закон Ньютона. По данным исследованиям известно направление, в котором грунт отталкивает стопу.
Динамическую фазу активности в виде ходьбы/бега можно далее разбить на фазы замедления и ускорения. Когда протез стопы касается грунта, стопа отталкивается вперед от грунта, а грунт отталкивает назад в равном и противоположном направлении – то есть грунт отталкивает протез стопы назад. Данная сила заставляет протез стопы двигаться. Динамический фазовый анализ видов активности в форме ходьбы и бега начинается с точки контакта, представляющей собой задний латеральной угол 18 (фиг. 3 и 18), который смещен больше назад и в бок, чем медиальная сторона стопы. Данное смещение при начальном контакте вызывает выворот стопы и подошвенное сгибание стержня голени. Стержень голени всегда стремится к положению, которое передает массу тела через его стержень, например, он имеет тенденцию располагать свой длинный вертикальный элемент в положении для противодействия силам, действующим со стороны грунта. Вот почему он движется назад и сгибается к подошве для противодействия реактивной силе грунта, которая толкает стопу назад. Силы, действующие со стороны грунта, вызывают сжатие стержня голени, причем проксимальный конец движется назад. Нижний, компактный радиус стержня голени сжимается, имитируя подошвенное сгибание в голеностопном суставе человека, а передний отдел стопы снижается прижиманием к грунту. В то же самое время задняя сторона верхней части киля 2 стопы сжимается вверх посредством сжатия. Обе указанные силы сжатия действуют в качестве амортизаторов. Амортизация дополнительно усиливается смещенной задней латеральной пяткой, вызывающей выворот стопы, который также действует в качестве амортизатора, как только стержень голени прекращает движение в положении подошвенного сгибания, и при отталкивании стопы грунтом назад.
Сжатые элементы киля стопы и стержня голени начинают разгружаться, то есть они стремятся к своей первоначальной форме, и накопленная энергия высвобождается, что вызывает движение проксимального конца стержня голени вперед ускоренным образом. По мере того как стержень голени приближается к своему вертикальному начальному положению, силы, действующие со стороны грунта, изменяются от сил, отталкивающих стопу назад, в силы, отталкивающие стопу вертикально вверх. Поскольку в протезе стопы на задней и передней поверхности имеются области, несущие нагрузку массы тела, и указанные области соединены не несущей нагрузку массы тела длинной медиальной частью в форме арки, то вертикально направленные силы от протеза вызывают нагрузку растяжением длинной медиальной арочной части. Задняя и передняя поверхности, несущие нагрузку массы тела, расходятся. Указанные вертикально направленные силы накапливаются в длинной арочной медиальной части стопы, по мере того как силы, действующие со стороны грунта, перемещаются от сил, представляющих собой силы, вертикальные по природе, в силы, направленные вперед. Стержень голени растягивается, имитируя дорзальное сгибание голеностопного сустава. Это вызывает смещение оси вращения протеза стопы с передней подошвенной поверхности, несущей нагрузку массы тела. Состояние длинной арки заднего отдела стопы изменяется из сжатого в растянутое. Это высвобождает накопленную энергию вследствие вертикального сжатия, обеспечивая улучшенные возможности растяжения.
Длинная дуга киля стопы и стержень голени сопротивляются растяжению своих соответствующих структур. Вследствие этого продвижение вперед стержня голени останавливается, и ось вращения стопы начинает смещаться в сторону от несущей нагрузку массы тела области передней подошвенной поверхности. Растяжение среднего отдела киля стопы имеет такую высокую и низкую динамическую характеристику, как в случае килей стоп в иллюстративных вариантах реализации, показанных на фиг. 3-5, 8, 11, 12, 13 и 14. Поскольку переходная область от среднего к переднему отделу стопы указанных килей стоп отклоняется на 20°-35° наружу от длинной оси стопы, средняя длинная арка длиннее, чем латеральная длинная арка. Это важно, потому что в нормальной стопе во время ускорения или замедления используется средняя сторона стопы.
Более длинная средняя арка протеза стопы имеет большую динамическую характеристику, чем латеральная. Латеральное более короткое пальцевое плечо рычага используется при ходьбе или беге на более медленных скоростях. Центр тяжести тела движется через пространство по синусоидальной кривой. Он движется в среднем, латеральном, проксимальном и дистальном направлении. При ходьбе или беге на более медленных скоростях центр тяжести тела движется в большей степени в среднем и латеральном направлении, чем при быстрой ходьбе или беге. Кроме того, момент инерции меньше и меньше способность преодоления возможности более высокой динамической характеристики. Протез стопы изобретения приспособлен использовать указанные принципы в прикладной механике.
Поскольку силы, действующие со стороны грунта, отталкивают вперед протез стопы, отталкивающий грунт назад, по мере того как пятка начинает поднимать переднюю часть длинной дуги среднего отдела стопы, последняя спрофилирована таким образом, чтобы указанные направленные назад силы прикладывались перпендикулярно ее подошвенной поверхности. Это наиболее эффективный и эффектный способ приложения указанных сил. То же можно сказать о задней части заднего отдела протеза стопы. Она также спрофилирована таким образом, чтобы направленным назад силам, действующим со стороны грунта, при начальном контакте противодействовала подошвенная поверхность киля стопы, направленная перпендикулярно направлению их прилагаемой силы.
На более поздних стадиях подъема пятки, при ходьбе и беге с отрывом пальцев стоп от грунта, лучевая область переднего отдела стопы сгибается в дорзальном направлении на 15°-35°. Данная проходящая вверх арка позволяет направленным вперед силам, действующим со стороны грунта, сжимать данную область стопы. Сопротивление данному сжатию меньше, чем растяжению, и происходит плавный переход в фазу качания ходьбы и бега на протезе стопы. На более поздних стадиях динамической фазы ходьбы растянутый стержень голени и растянутая длинная дуга среднего отдела стопы высвобождают накопленную в них энергию, содействуя проталкиванию вперед центра тяжести тела лица, перенесшего ампутацию нижней конечности.
Как отмечено ранее, в нескольких вариантах реализации задняя сторона области заднего и переднего отдела стопы киля стопы содержит отверстия компенсационных соединений и распорки компенсационных соединений. Ориентация отверстий компенсационных соединений действует в качестве соединенного под углом в 450 шарнира, и возможности движения в двух плоскостях улучшаются для улучшения общих характеристик контакта подошвенной поверхности стопы при ходьбе по неровной почве.
Кили стопы после ампутации нижней конечности по Symes, показанные на фиг. 9-12, отчетливо отличаются по возможной динамической характеристике, поскольку указанные возможности связаны с активностью в виде ходьбы, бега и прыжков. Указанные кили стоп отличаются по четырем отличительным признакам. Они включают в себя наличие вогнутости в ближайшей, задней части среднего отдела стопы для лучшего соответствия форме дистальной культи конечности после ампутации по Symes, чем плоской поверхности. Вогнутость совмещения требует, чтобы соответствующие передний и задний радиусы изогнутой в виде арки средней части киля стопы были более агрессивными и меньшими по размеру. Вследствие этого все радиусы длинной дуги среднего отдела стопы и радиусы заднего отдела стопы компактнее и меньше. Это существенно воздействует на динамические характеристики. Меньшие радиусы создают меньшую динамическую характеристику. Однако протез стопы быстрее реагирует на все указанные выше силы, действующие со стороны грунта, при ходьбе, беге и прыжках. Результатом является более быстрая стопа с меньшей динамической характеристикой.
Улучшенную спортивную функцию, специфичную для конкретной потребности, можно достичь изменениями совмещения с использованием протеза стопы изобретения, поскольку указанные изменения совмещения воздействуют на вертикальные и горизонтальные компоненты каждого требуемого движения. Стопа человека представляет собой многофункциональную единицу – она ходит, бегает и прыгает. С другой стороны, структура стержня стопы в виде большеберцовой и малоберцовой костей не является многофункциональной единицей. Это простой рычаг, который прикладывает свои силы при активности в виде ходьбы, бега и прыжков параллельно ее длинной проксимально-дистальной ориентации. Она представляет собой несжимаемую структуру и не имеет потенциала накопления энергии. С другой стороны, протез стопы изобретения имеет динамические характеристики, поскольку указанные динамические характеристики связаны с горизонтальным и вертикальным линейными компонентами скорости спортивной активности в виде ходьбы, бега и прыжков и функционально превосходят большеберцовую кость и малоберцовую кость человека. Как следствие, существует возможность улучшения выполнения спортивных упражнений лицами, перенесшими ампутацию нижней конечности. Для этого в соответствии с настоящим изобретением крепеж 8 ослабляют, и совмещение стержня голени и киля стопы относительно друг друга регулируют в продольном направлении киля стопы. Такое изменение показано в связи с фиг. 1 и 2. Затем стержень голени фиксируют к килю стопы в подобранном положении крепежом 8. Во время данной регулировки болт крепежа 8 смещают скольжением относительно одного или обоих из противоположных, относительно более крупных, продольно проходящих отверстий 9 и 10 соответственно в киле стопы и стержне голени.
Изменение совмещения, которое улучшает функциональные характеристики бегуна, осуществляющего первоначальный контакт с грунтом при плоско расположенной стопе, как, например, при спринтерском беге, представляет собой изменение, при котором киль стопы сдвигают вперед относительно стержня голени и стопы, согнутой в подошвенном направлении на стержне голени. Данное новое соотношение улучшает горизонтальный компонент бега. То есть при стержне голени, согнутом в подошвенном направлении к стопе, и стопе, вступающей в контакт с грунтом при плоско расположенной стопе, в отличие от первоначального контакта пятки, грунт немедленно отталкивает назад стопу, которая отталкивает грунт вперед. Это вызывает быстрое движение стержня голени вперед (растяжением) и вниз. Силы динамической характеристики создаются растяжением, которое противодействует направлению первоначального движения стержня голени. Как следствие, стопа поворачивается по оси над областью, несущей нагрузку массы тела на плюсневой подошвенной поверхности. Это вызывает растяжение области среднего отдела киля стопы, сопротивление которому больше, чем сжатию. Чистый эффект растяжения стержня голени и растяжения среднего отдела стопы состоит в том, что осуществляется противодействие дальнейшему продвижению вперед стержня голени, что позволяет мышцам в теле пользователя, разгибающим нижнюю конечность в коленном суставе, и мышцам, разгибающим нижнюю конечность в тазобедренном суставе, более эффективным образом сдвигать центр тяжести тела вперед и проксимально (т.е. увеличивать горизонтальную скорость). В данном случае больше вперед и вверх, чем в случае бега с переводом стопы с пятки на пальцы, при котором продвижению стержня голени вперед меньше противодействует стартовое положение стержня голени с большим дорзальным сгибанием (вертикально), чем при беге с плоским положением стопы.
Для анализа функции стопы при спринтерском беге производят изменение совмещения стержня голени и киля стопы. Используют преимущество киля стопы, имеющего все свои вогнутости при ориентации их продольной оси параллельно фронтальной плоскости. Стержень голени согнут в подошвенном направлении и сдвинут назад на киле стопы. Это уменьшает дистальные окружности еще больше, чем при беге с плоским положением стопы при киле стопы многоцелевого использования, подобном килю, изображенному, например, на фиг. 3-5 и 8. Как следствие, имеется даже больший потенциал горизонтального движения, и динамическая характеристика направлена на данную улучшенную горизонтальную возможность.
У спринтеров имеется увеличенный диапазон движения, причем первичным движителем является количество движения (инерция). Поскольку фаза замедления их динамической фазы короче, чем их фаза ускорения, достигаются повышенные горизонтальные линейные скорости. Это значит, что при начальном контакте, когда большой палец стопы касается грунта, грунт отталкивает стопу назад, а стопа отталкивает грунт вперед. Стержень голени, который имеет увеличенные силы и количество движения, принуждается к еще большему сгибанию и движению вниз, чем у бегуна с начальным контактом плоской стопой. Как следствие действия указанных сил, вогнутость длинной арки стопы нагружается растяжением, и стержень голени нагружается растяжением. Указанным силам растяжения оказывается сопротивление в большей степени, чем всем другим ранее упомянутым силам, связанным с бегом. Как следствие, динамическая характеристика стопы пропорциональна прилагаемой силе. Реакция стержня голени из большеберцовой и малоберцовой кости человека связана только с энергетическим и силовым потенциалом, т.к. он представляет собой прямую структуру и не может накапливать энергию. Указанные силы растяжения в протезе стопы изобретения при спринтерском беге больше по величине, чем все другие ранее упомянутые силы, связанные с ходьбой и бегом. Как следствие, динамическая характеристика стопы пропорциональна прилагаемым силам и возможно увеличение способности спортсмена, перенесшего ампутацию нижней конечности, заниматься спортом, по сравнению с функцией тела человека.
Протез стопы 53, изображенный на фиг. 25, похож на протез стопы, показанный на фиг. 3, за исключением регулируемого крепежного устройства между стержнем голени и килем стопы и конструкции верхнего конца стержня голени для соединения с нижним концом пилона. В данном иллюстративном варианте реализации киль 54 стопы соединен с возможностью регулировки со стержнем 55 голени посредством пластикового или алюминиевого соединительного элемента 56. Соединительный элемент прикреплен к килю стопы и стержню голени соответствующими разъединяемыми крепежами 57 и 58, которые расположены с промежутком друг от друга в соединительном элементе в направлении вдоль продольной оси киля стопы. Крепеж 58, соединяющий соединительный элемент со стержнем голени, находится дальше назад, чем крепеж 57, соединяющий киль стопы и соединительный элемент. Путем увеличения, таким образом, активной длины стержня голени увеличиваются динамические характеристики самого стержня голени. Изменения совмещения производят совместно с продольно проходящими отверстиями в стержне голени и киле стопы, как и в других иллюстративных вариантах реализации.
Верхний конец стержня 55 голени изготовлен с удлиненным отверстием 59 для приема пилона 15. После приема в отверстие пилон можно фиксировать к стержню голени затягиванием болтов 60 и 61 для сближения свободных латеральных краев 62 и 63 стержня голени вдоль отверстия. Данное соединение пилона можно легко регулировать ослаблением болтов, выдвиганием пилона относительно стержня голени в желаемое положение и повторной фиксации пилона в отрегулированное положение затягиванием болтов.
Это заключает описание иллюстративных вариантов реализации. Хотя настоящее изобретение было описано со ссылкой на ряд иллюстративных вариантов реализации, следует понимать, что специалисты в данной области могут изобрести многочисленные другие модификации и варианты реализации, которые будут охватываться сущностью и диапазоном принципов данного изобретения. Конкретнее, возможны целесообразные изменения и модификации составных частей и/или устройств обсуждаемого комбинированного устройства в пределах сущности предшествующего описания, чертежей и прилагаемой формулы изобретения без отхода от сущности изобретения. Кроме изменений и модификаций составных частей и/или устройств, для специалистов в данной области будут также очевидны альтернативные виды использования.
Формула изобретения
1. Протез стопы, содержащий продольно проходящий киль стопы, имеющий на одном конце передний отдел стопы, задний отдел стопы на противоположном конце и относительно длинный средний отдел стопы, проходящий между передним и задним отделами стопы и изогнутый от них вверх в виде арки, стержень голени, имеющий обращенный вперед выпукло изогнутый нижний конец, и регулируемое крепежное устройство, прикрепляющее изогнутый нижний конец стержня голени к среднему отделу стопы киля для образования области голеностопного сочленения протеза стопы, обеспечивающее возможность регулировки совмещения стержня голени и киля стопы друг с другом в продольном направлении киля стопы для регулировки функции протеза стопы.
2. Протез стопы по п.1, в котором регулируемое крепежное устройство включает в себя, по меньшей мере, один разъединяемый крепеж и соединительный элемент, расположенные между стержнем голени и килем, прикрепляющие стержень голени к килю стопы.
3. Протез стопы по п.2, в котором регулируемое крепежное устройство содержит продольно проходящие отверстия в стержне голени и киле стопы, выполненные с возможностью приема соответствующих разъединяемых крепежей и обеспечения возможности скольжения относительно друг друга в продольном направлении в диапазоне регулировки для регулировки функции протеза стопы.
4. Протез стопы по п.1, в котором выпукло изогнутый нижний конец стержня голени проходит вверх.
5. Протез стопы по п.1, содержащий адаптер, соединенный с верхним концом стержня голени для использования при соединении протеза стопы с опорной структурой на культе ноги человека.
6. Протез стопы по п.1, в котором киль стопы имеет переднюю область подошвенной поверхности, несущую нагрузку массы тела, которая содержит компенсационные распорки, создающие возможность движения протеза стопы в двух плоскостях.
7. Протез стопы по п.1, в котором стержень голени изготовлен из одного блока упругого материала.
8. Киль стопы для протеза стопы, содержащий продольно проходящий упругий элемент, имеющий на одном конце передний отдел стопы, задний отдел стопы на противоположном конце и относительно длинный средний отдел стопы, проходящий между передним и задним отделами стопы и изогнутый от них вверх в виде арки, причем его медиальная сторона обладает более высокой динамической характеристикой, чем латеральная сторона, для обеспечения протеза стопы высокой и низкой динамической характеристикой при ходьбе, и в котором задняя поверхность киля стопы обеспечена крепежным устройством, обеспечивающим возможность регулируемого совмещения стержня голени относительно киля стопы в продольном направлении, и прикрепленным к килю стопы для регулировки функции протеза стопы.
9. Киль стопы по п.8, в котором крепежное устройство содержит продольно проходящее отверстие в среднем отделе стопы, выполненное для скольжения по нему крепежа для соединения киля стопы и стержня голени.
10. Киль стопы по п.8, в котором передний и задний отделы стопы изогнуты вогнутостью вверх.
11. Киль стопы по п.8, в котором средний отдел стопы выпукло изогнут вверх по всей его продольной протяженности между передним и задним отделами стопы.
12. Киль стопы по п.8, в котором средний отдел стопы содержит заднюю, обращенную вверх вогнутость для приема изогнутого нижнего конца стержня голени, выполненного с возможностью прикрепления к килю стопы посредством разъединяемого крепежа в крепежном устройстве.
13. Киль стопы по п.8, в котором задний отдел стопы включает в себя пятку с задним латеральным углом, который находится дальше сзади и в сторону, чем медиальный угол пятки.
14. Киль стопы по п.8, в котором подошвенная поверхность среднего отдела стопы киля стопы имеет продольную вогнутость в виде арки при радиусе ее медиальной стороны большим, чем радиус ее латеральной стороны.
15. Киль стопы по п.8, в котором дорзальная сторона среднего отдела стопы и передний отдел киля стопы сформированы с обращенной вверх вогнутостью, которая имитирует пятую лучевую ось движения стопы человека, причем указанная вогнутость имеет продольную ось, которая ориентирована под углом от 20 до 35° к продольной оси киля стопы, причем медиальная часть расположена впереди от латеральной.
16. Киль стопы по п.8, в котором дорзальная сторона среднего отдела стопы и передний отдел киля стопы сформированы с обращенной вверх вогнутостью, причем вогнутость имеет продольную ось, которая ориентирована параллельно фронтальной плоскости киля стопы.
17. Киль стопы по п.8, в котором задняя часть переднего отдела стопы киля стопы содержит медиальное и латеральное отверстия компенсационных соединений, проходящие через передний отдел стопы между его дорзальной и подошвенной поверхностями, в котором компенсационные соединения проходят вперед от соответствующих отверстий к переднему краю переднего отдела стопы для образования средней, медиальной и латеральной компенсационных распорок, которые создают возможность улучшенного движения в двух плоскостях переднего отдела стопы киля стопы.
18. Киль стопы по п.17, в котором указанные отверстия компенсационных соединений расположены вдоль линии в поперечной плоскости, которая проходит под углом от 20 до 35° к продольной оси киля стопы при расположении медиального отверстия компенсационного соединения впереди от латерального отверстия компенсационного соединения.
19. Киль стопы по п.17, в котором указанные отверстия компенсационных соединений расположены вдоль линии, параллельной фронтальной плоскости киля стопы.
20. Киль стопы по п.17, в котором указанные отверстия компенсационных соединений при проекции на сагиттальную плоскость наклонены под углом 45° к поперечной плоскости, причем дорзальная сторона отверстий расположена впереди от подошвенной стороны.
21. Киль стопы по п.17, в котором расстояние от крепежного устройства до латерального отверстия компенсационного соединения меньше, чем расстояние от разъединяемого крепежного устройства до медиального отверстия компенсационного соединения так, что латеральная часть протеза стопы имеет более короткое плечо рычага пальцев стопы, чем медиальная, для обеспечения высокой и низкой динамической характеристики среднего отдела стопы.
22. Киль стопы по п.8, в котором передний конец переднего отдела стопы спрофилирован в изогнутую вверх арку для имитации пальцев стопы человека, разогнутых назад в положении подъема пятки и разгибания пальцев стопы на поздней динамической фазе ходьбы.
23. Киль стопы по п.8, в котором задняя часть переднего отдела стопы киля содержит, по меньшей мере, одно отверстие компенсационного соединения, проходящее через передний отдел стопы между его дорзальной и подошвенной поверхностями, с компенсационным соединением, проходящим вперед от указанного отверстия компенсационного соединения к переднему краю переднего отдела стопы для образования компенсационных распорок, которые создают возможность улучшенного движения в двух плоскостях переднего отдела стопы.
24. Киль стопы по п.8, в котором средний отдел стопы сформирован с продольной аркой, спрофилированной для создания указанной низкой динамической характеристики в протезе стопы при ходьбе.
25. Киль стопы по п.8, в котором задний конец заднего отдела стопы спрофилирован в изогнутую вверх арку, которая реагирует на реактивные силы при упоре в грунт во время удара пятки сжатием для амортизации.
26. Киль стопы по п.8, в котором передняя часть заднего отдела киля содержит отверстие компенсационного соединения, проходящее через задний отдел стопы между его дорзальной и подошвенной поверхностями, причем компенсационное соединение проходит сзади от указанного отверстия компенсационного соединения к заднему краю заднего отдела стопы для образования компенсационных распорок, которые создают улучшенную возможность движения в двух плоскостях заднего отдела стопы в протезе стопы при ходьбе.
27. Киль стопы по п.8, в котором передний конец киля стопы параллелен фронтальной плоскости киля стопы.
28. Киль стопы по п.8, в котором задняя концевая пяточная область параллельна фронтальной плоскости киля стопы.
29. Киль стопы по п.8, в котором киль стопы содержит заднюю и переднюю области подошвенной поверхности, несущие нагрузку массы тела, и в котором передняя область подошвенной поверхности ориентирована под углом от 20 до 35° к продольной оси киля стопы причем медиальная сторона находится дальше вперед, чем латеральная сторона, для обеспечения латеральной части протеза стопы с более коротким пальцевым плечом рычага, чем у медиальной части.
30. Стержень голени для протеза стопы, содержащий удлиненный упругий элемент, имеющий изогнутую часть с вогнутостью, обращенной вперед, на одном конце для прикрепления к килю стопы для образования области голеностопного сочленения протеза стопы, при этом противоположный конец упругого элемента имеет средство для присоединения стержня голени к опорной структуре на ноге человека, перенесшего ампутацию нижней конечности, а изогнутая часть с вогнутостью, обращенной вперед, обеспечена крепежным устройством, позволяющим регулируемо совмещать стержень голени с килем стопы в продольном направлении киля стопы, прикрепленным к килю стопы для регулировки функции протеза стопы, образованного килем стопы и стержнем голени.
31. Стержень голени по п.30, в котором крепежное устройство содержит продольно проходящее отверстие в указанной изогнутой части с вогнутостью, вдоль которого способен скользить крепеж для присоединения стержня голени к килю стопы.
32. Стержень голени по п.30, в котором изогнутая часть с вогнутостью, обращенной вперед, выполнена в форме параболы.
33. Стержень голени по п.30, а котором стержень голени имеет S-образную форму.
34. Стержень голени по п.30, в котором стержень голени имеет J-образную форму.
35. Стержень голени по п.30, в котором стержень голени имеет С-образную форму.
36. Способ регулировки функции протеза стопы в соответствии с конкретными потребностями, включающий использование протеза стопы, содержащего продольно проходящий киль стопы, имеющий на одном конце передний отдел стопы, задний отдел стопы на противоположном конце и относительно длинный средний отдел стопы, проходящий между передним и задним отделами стопы и изогнутый от них вверх в виде арки, и стержень голени, имеющий обращенный вперед выпукло изогнутый нижний конец, прикрепленный к килю стопы для образования области голеностопного сочленения протеза стопы, регулировку совмещения стержня голени и киля стопы друг с другом в продольном направлении киля стопы и фиксацию стержня голени и киля стопы друг к другу в подогнанном положении крепежным устройством.
37. Стержень голени для использования с килем стопы, содержащий удлиненный упругий элемент с обращенным вперед выпукло изогнутым нижним концом для прикрепления к килю стопы в протезе стопы для прохождения вверх от киля стопы и образования области голеностопного сочленения протеза стопы, и в котором упругий элемент проходит вверх, по существу, криволинейным образом над областью голеностопного сочленения для образования нижней протезной части нижней конечности, которая выполнена с возможностью растягивания и сжимания в ответ на действующие со стороны грунта реактивные силы во время ходьбы.
38. Стержень голени по п.37, содержащий адаптер, присоединенный к верхней части упругого элемента для соединения с опорной структурой на культе нижней конечности человека, перенесшего ампутацию нижней конечности.
39. Стержень голени по п.37, в котором элемент, проходящий вверх, по существу, криволинейным образом над областью голеностопного сочленения, изогнут в обратном направлении для слияния с прямым вертикальным верхним концом упругого элемента.
40. Стержень голени по п.37, в котором упругий элемент над областью голеностопного сочленения также изогнут с выпуклостью обращенной вперед.
41. Стержень голени по п.40, в котором выпукло изогнутый нижний конец элемента имеет относительно меньший радиус кривизны, чем радиус выпукло изогнутого элемента над областью голеностопного сочленения.
42. Стержень голени по п.37, в котором упругий элемент является J-образным.
43. Стержень голени по п.37, в котором упругий элемент имеет форму параболы.
44. Стержень голени по п.37, в котором упругий элемент имеет форму параболы, которая изогнута в обратном направлении для слияния с прямым вертикальным верхним концом элемента.
45. Стержень голени по п.37, содержащий крепежное устройство для прикрепления нижнего конца элемента к килю стопы.
46. Стержень голени по п.45, в котором крепежное устройство выполнено с возможностью изменения активной длины стержня голени.
47. Стержень голени по п.45, в котором крепежное устройство выполнено регулируемым для обеспечения возможности регулирования совмещения элемента и киля стопы друг с другом в продольном направлении киля стопы.
48. Стержень голени по п.45, в котором крепежное устройство включает в себя средство для регулирования наклона, с которым элемент прикреплен к килю стопы, в продольном направлении киля стопы.
49. Стержень голени по п.37, в котором упругий элемент является S-образным.
50. Стержень голени по п.37, в котором упругий элемент является С-образным.
51. Стержень голени по п.37, в котором упругий элемент изготовлен из одного блока упругого материала.
52. Стержень голени по п.37, в котором упругий элемент изготовлен из материала, имеющего характеристики удерживания формы.
53. Киль стопы для протеза стопы, который выполнен регулируемым для улучшенной функции в соответствии со специфическими потребностями, содержащий продольно проходящий упругий элемент, имеющий передний отдел стопы на одном конце, задний отдел стопы на противоположном конце и относительно длинный средний отдел стопы, проходящий между передним отделом стопы и задним отделом стопы, изогнутый вверх от них в виде арки, в котором задняя часть киля стопы обеспечена крепежным устройством, позволяющим стержню голени регулироваться с возможностью совмещения относительно киля стопы в продольном направлении, прикрепленным к килю стопы для регулировки функции образованного им протеза стопы.
54. Киль стопы по п.53, в котором крепежное устройство содержит продольно проходящее отверстие в задней части, выполненное для скольжения по нему крепежа для соединения киля стопы и стержня голени.
55. Киль стопы по п.53, в котором передний и задний отдел изогнуты вогнутостью вверх.
56. Киль стопы по п.53, в котором средний отдел стопы выпукло изогнут вверх по его всему продольному протяжению между передним и задним отделами стопы.
57. Киль стопы по п.53, в котором средний отдел стопы включает в себя заднюю, обращенную вверх вогнутость для приема изогнутого нижнего конца стержня голени, предназначенного для прикрепления к килю стопы посредством разъединяемого крепежа в крепежном устройстве.
58. Киль стопы по п.53, в котором задний отдел стопы содержит пятку с задним латеральным углом, который расположен дальше сзади и в сторону, чем медиальный угол стопы.
59. Киль стопы по п.53, в котором подошвенная поверхность среднего отдела стопы имеет продольную арочную вогнутость с медиальной стороной большей, чем ее латеральная сторона.
60. Киль стопы по п.53, в котором дорзальные стороны среднего и переднего отделов стопы изготовлены с обращенной вверх вогнутостью, которая имитирует по функции пятую лучевую ось движения стопы человека, и имеет продольную ось, которая ориентирована под углом к продольной оси киля стопы, при этом медиальная сторона расположена дальше вперед, чем латеральная сторона.
61. Киль стопы по п.53, в котором дорзальные стороны среднего и переднего отделов стопы изготовлены с обращенной вверх вогнутостью, которая имеет продольную ось, которая ориентирована параллельно фронтальной плоскости киля стопы.
62. Киль стопы по п.53, в котором задняя часть переднего отдела стопы имеет медиальное и латеральное отверстия компенсационных соединений, проходящие через передний отдел стопы между его дорзальной и подошвенной поверхностями, при этом компенсационные соединения проходят вперед от соответствующих отверстий к переднему краю переднего отдела стопы для образования медиальной, средней и латеральной компенсационных распорок.
63. Киль стопы по п.62, в котором отверстия компенсационных соединений расположены вдоль линии в поперечной плоскости, которая проходит под углом к продольной оси киля стопы, при этом отверстие медиального компенсационного соединения расположено дальше вперед, чем отверстие латерального компенсационного соединения.
64. Киль стопы по п.62, в котором отверстия компенсационных соединений расположены вдоль линии, параллельной фронтальной плоскости киля стопы.
65. Киль стопы по п.62, в котором отверстия компенсационных соединений при проекции на сагиттальную плоскость наклонены под углом 45° к поперечной плоскости, при этом дорзальная сторона отверстий расположена дальше вперед, чем подошвенная сторона.
66. Киль стопы по п.62, в котором расстояние от крепежного устройства до отверстия медиального компенсационного соединения больше, чем расстояние от крепежного устройства до отверстия латерального компенсационного соединения, так что латеральная часть киля протеза стопы имеет более короткое пальцевое плечо рычага, чем медиальная.
67. Киль стопы по п.53, в котором передний конец переднего отдела стопы спрофилирован в изогнутую вверх арку для имитации пальцев стопы человека, согнутых в дорзальном направлении в положении подъема пятки с отрывом пальцев от грунта на поздней динамической фазе ходьбы.
68. Киль стопы по п.53, в котором задняя часть переднего отдела стопы киля имеет, по меньшей мере, одно отверстие компенсационного соединения, проходящее через передний отдел стопы, между его дорзальной и подошвенной поверхностями, при этом компенсационное соединение проходит вперед от отверстия компенсационного соединения к переднему краю переднего отдела стопы для образования компенсационных распорок.
69. Киль стопы по п.53, в котором средний отдел стопы изготовлен с продольной аркой, спрофилированной для создания возможной динамической характеристики в протезе стопы при ходьбе, так что медиальная сторона продольной арки получает возможность иметь относительно более высокую динамическую характеристику, а латеральная сторона продольной арки получает возможность иметь относительно более низкую динамическую характеристику.
70. Киль стопы по п.53, в котором задний конец заднего отдела стопы спрофилирован в изогнутую вверх арку, которая реагирует на реактивные силы, действующие со стороны грунта во время удара пятки, путем сжатия для амортизации.
71. Киль стопы по п.53, в котором передняя часть заднего отдела стопы киля имеет отверстие компенсационного соединения, проходящее через указанный задний отдел стопы, между его дорзальной и подошвенной поверхностями, при этом компенсационное соединение проходит сзади от отверстия компенсационного соединения к заднему краю заднего отдела стопы для образования компенсационных распорок.
72. Киль стопы по п.53, в котором передний конец киля стопы параллелен фронтальной плоскости киля стопы.
73. Киль стопы по п.53, в котором задняя конечная пяточная область параллельна фронтальной плоскости киля стопы.
74. Киль стопы по п.53, в котором киль стопы имеет несущие массу тела области задней и передней подошвенной поверхности и не несущую массу тела среднюю часть, проходящую между несущими массу тела областями.
75. Киль стопы по п.74, в котором несущая массу тела область передней подошвенной поверхности ориентирована под углом к продольной оси киля стопы, причем ее медиальная сторона расположена дальше вперед, чем ее латеральная сторона.
76. Протез стопы, содержащий стопу, вертикально стоящий стержень голени, содержащий удлиненный упругий элемент, имеющий обращенную вперед выпукло изогнутую часть с увеличивающимся снизу радиусом кривизны для обеспечения возможности его растягивания и сжимания в продольном направлении во время ходьбы, чтобы имитировать изгиб назад и сгибание в подошвенном направлении в голеностопном суставе человека, и крепежное устройство, содержащее соединительный элемент и, по меньшей мере, один крепеж, соединяющий нижний конец стержня голени с килем стопы.
77. Стержень голени для протеза стопы, имеющего продольно проходящий киль стопы, содержащий удлиненный упругий элемент с нижним концом для прикрепления к килю стопы и верхним концом для присоединения к опорной структуре на ноге человека, перенесшего ампутацию нижней конечности, имеющий обращенную вперед выпукло изогнутую часть с увеличивающимся снизу радиусом кривизны для образования области голеностопного сочленения протеза стопы, выполненного с возможностью движения назад и в подошвенном направлении в ответ на реактивную силу при упоре в грунт в протезе стопы при ходьбе.
РИСУНКИ
|
|