|
|
(21), (22) Заявка: 2005111732/13, 21.04.2005
(24) Дата начала отсчета срока действия патента:
21.04.2005
(43) Дата публикации заявки: 27.10.2006
(46) Опубликовано: 10.09.2007
(56) Список документов, цитированных в отчете о поиске:
RU 2223657 C1, 20.02.2004. RU 2229239 С2, 27.05.2004. RU 2078517 С1, 10.05.1997. RU 2103884 C1, 10.02.1998. Справочник кондитера, часть 1, М., Пищевая промышленность, 1966, с.279, 314.
Адрес для переписки:
141320, Московская обл., Сергиево-Посадский р-н, г. Пересвет, ул. Королева, 2Б, кв.11, В.Н. Матвееву
|
(72) Автор(ы):
Матвеев Сергей Борисович (RU)
(73) Патентообладатель(и):
Матвеев Сергей Борисович (RU)
|
(54) СПОСОБ ПОЛУЧЕНИЯ ГАЗИФИЦИРОВАННОЙ КАРАМЕЛИ
(57) Реферат:
Изобретение относится к технологии получения газифицированной карамели. Способ получения газифицированной карамели включает приготовление горячей карамельной массы в жидком или пастообразном состоянии. Горячую карамельную массу перемешивают с газом и формуют в карамельные изделия в виде корпусов карамели. Охлаждение сформованных и/или формующихся корпусов карамели ведут под избыточным давлением. Остаточное давление в пузырьках охлажденных корпусов карамели не приводит к их разрушению после сброса давления до атмосферного. Использование изобретения позволяет расширить номенклатуру производимых газифицированных карамельных продуктов, в частности леденцов. 3 ил.
Изобретение относится к технологии получения газифицированной карамели, в частности ее корпусов, содержащих в себе пузырьки газа, находящиеся под избыточным давлением, которые по мере растворения карамели во рту, освобождаясь, начинают «щелкать», «трещать», «взрываться» и «прыгать», при этом поверхность карамели «кипит» микровзрывами – обостряя и усиливая ощущения вкуса конфеты.
Известен способ получения карамельных газифицированных конфет в виде карамельной крошки, включающий приготовление горячей карамельной массы в жидком или пастообразном состоянии, перемешивание ее с газом и охлаждение карамельной газифицированной массы под избыточным давлением (см. патент РФ №2223657, МПК7 А23G 3/00, 2004).
Недостаток известного способа заключается в том, что он не позволяет получать готовый карамельный газифицированный продукт в виде отвержденных корпусов конфет, которые затем могут использоваться как конечный продукт или для шоколадного глазирования. Это связано с тем, что, как отмечено в описании патента, в конце периода охлаждения давление углекислого газа в реакторе резко сбрасывается и в результате этого внезапного падения давления конфетная масса разрушается на части и куски. При этом большие куски подают на блок дробления для их измельчения. Отсюда ясно, что такая карамельная конфетная масса не может иметь одинаковой законченной формы, что не позволяет ее упаковывать как отдельную конфету или придавать ей ту или иную заданную форму.
Техническая задача, решаемая изобретением, заключается в создании способа получения формованных карамельных газифицированных корпусов конфет.
Это достигается тем, что в известном способе получения газифицированной карамели, включающем приготовление горячей карамельной массы в жидком или пастообразном состоянии, перемешивание ее с газом и охлаждение карамельной газифицированной массы под избыточным давлением, согласно изобретению перемешанную с газом карамельную массу формуют в карамельные изделия в виде корпусов конфет, при этом охлаждение сформованных и/или формующихся корпусов конфет ведут под избыточным давлением, при котором остаточное давление в пузырьках охлажденных и отвержденных корпусов конфет не приводит к их разрушению после сброса давления до атмосферного.
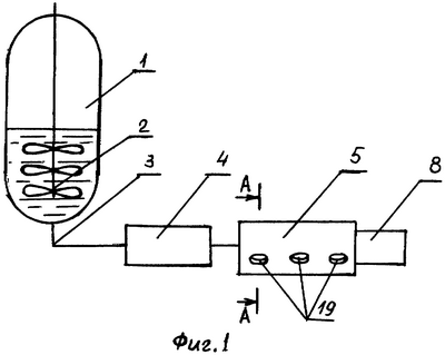
На фиг.1 схематично представлена установка, реализующая вариант способа получения газифицированной карамели, при котором производят охлаждение под избыточным давлением формующихся корпусов конфет, на фиг.2 – сечение А-А устройства для одновременного формования корпусов карамельных конфет и их охлаждения под избыточным давлением, изображенного на фиг.1, а на фиг.3 – общий вид кондитерского изделия в виде корпуса конфеты.
Установка включает бак 1 с мешалкой 2, на нижнем днище которого размещен патрубок 3 выдачи готовой перемешанной с газом карамельной массы, выход которого соединен с винтовым насосом 4, который в свою очередь соединен с устройством одновременного формования корпусов конфет и их охлаждения под избыточным давлением 5. Устройство одновременного формования корпусов конфет и их охлаждения под избыточным давлением 5 выполнено в виде цилиндрического корпуса 6, установленного неподвижно, внутри которого размещен ротор 7, соединенный с шаговым приводом вращения 8. Внутри ротора 7 размещен неподвижный вал 9. В корпусе 6 и валу 9 выполнены полости 10 и 11 соответственно, соединенные с системами подвода и отвода охладителя (на чертеже условно не показаны). Вдоль образующей вала 9 выполнен теплоизолированный глухой продольный канал 12, вход в который сообщен с выходом винтового насоса 4, при этом глухой канал 12 соединен с его внешней поверхностью отверстиями 13, напротив которых в роторе 7 вдоль образующей выполнены сквозные формообразующие прорези 14 для формования корпусов конфет. При этом прорези 14 выполнены равномерно (с одинаковым угловым шагом) по окружности ротора 7, причем в валу 9 на расстоянии углового шага от глухого канала 12, равного угловому шагу между прорезями 14, и напротив каждого отверстия 19 в корпусе 6 установлены выталкиватели 15. Каждый выталкиватель 15 выполнен в виде подпружиненного пружиной 16 шарика 17, размещенного в ступенчатом канале 18. Количество выталкивателей 15 равно количеству прорезей 14 в роторе 7 в одном ряду вдоль образующей ротора 7 и количеству отверстий 19 в корпусе 6, предназначенных для выхода готовых корпусов конфет.
Способ получения газифицированной карамели, при котором производят охлаждение под избыточным давлением формующихся корпусов конфет, осуществляется следующим образом.
В исходном состоянии, а также в любой момент заполнения сквозных формообразующих прорезей 14 карамельной массой отверстия 13 в валу 9 всегда располагаются напротив прорезей 14 в роторе 7, а выталкиватели 15 – напротив отверстий 19 в корпусе 6 и прорезей 14 последнего ряда (по часовой стрелке) в роторе 7. Охладитель циркулирует в полостях 10 и 11 в корпусе 6 и валу 9.
Заранее приготовленную в варочном котле (на чертеже условно не показан) горячую жидкую или пастообразную карамельную массу (состоящую, например, из сахара, патоки, глюкозы, лактозы и воды) выливают в бак 1 (бак теплоизолированный) и включают мешалку 2. Лопасти мешалки 2 при вращении создают разрежение на задних стенках лопастей, куда устремляется воздух из атмосферы бака 1, а за ним новый слой карамельной массы. При этом лопасти мешалки 2 установлены по высоте бака 1 и с угловым смещением в каждом ряду и обеспечивают дробление газовых пузырей, захваченных карамельной массой, при этом вращающиеся лопасти замешивают газ в карамельную массу. В зависимости от дополнительного эффекта, который может быть получен при освобождении пузырьков газа из карамели, для газирования карамельной массы может использоваться любой нейтральный газ или углекислый газ, который может подаваться в нижнюю часть бака 1 от внешнего источника. Затем газифицированная карамельная масса из бака 1 через патрубок 3 поступает в винтовой насос 4, который под избыточным давлением нагнетает ее в устройство для одновременного формования корпусов конфет и их охлаждения под избыточным давлением 5. При этом карамельная газифицированная масса заполняет продольный глухой канал 12 в валу 9 и через отверстия 13 – сквозные формообразующие прорези 14 в роторе 7, расположенные в одном ряду вдоль его образующей. За счет давления, создаваемого винтовым насосом 4, пузырьки газа, находящиеся внутри карамельной массы, сжимаются, уменьшаясь в размере, при этом заполняемые карамельной массой формообразующие прорези 14 в роторе 7 сразу начинают охлаждаться, поскольку они окружены охлаждаемыми корпусом 6 и валом 9. Шаговый привод 8 (в зависимости от времени его настройки) вращает ротор 7 (по часовой стрелке) на один шаг и поэтому перемещает отформованные кондитерские изделия (корпуса конфет) по окружности. При этом второй ряд прорезей 14 в роторе 7 располагается напротив отверстий 13, соединяющих прорези 14 с глухим каналом 12 в валу 9, и таким образом происходит заполнение карамельной массой второго ряда прорезей 14. Так циклы формования корпусов конфет повторяются до тех пор, пока первый ряд формообразующих отверстий 14 не расположится напротив подпружиненных выталкивателей 15 в валу 9 и сквозных отверстий 19 в корпусе 6. Выталкиватели 15 отправляют готовые отвержденные корпуса карамельных конфет в приемный бункер (на чертеже условно не показан). В зависимости от того, являются готовые корпуса конфет конечным продуктом, их или направляют на упаковку, или на дополнительную операцию, например на глазирование шоколадом. Поскольку избыточное давление, создаваемое винтовым насосом 4 при формовании и охлаждении корпуса конфет, меньше внутреннего остаточного давления в пузырьках газа, при котором возможно разрушение охлажденного отвержденного корпуса конфет, то разрушения их после выталкивания в приемный бункер, несмотря на снижение давления до атмосферного, не происходит. Именно такое явление происходит в прототипе, что не дает возможности получать формованные конфеты.
Другой вариант способа получения газифицированной карамели, при котором сначала производят формование карамельной массы, а затем ее охлаждение в уже сформованном виде под избыточным давлением, осуществляется следующим образом.
Получив известным способом горячую газифицированную карамельную массу, ее разливают в формочки для последующего образования корпусов конфет, а затем формочки с горячей карамельной массой помещают в герметичную барокамеру, в которой затем повышают давление выше атмосферного. Уровень избыточного давления в барокамере должен быть таким, что остаточное давление в пузырьках газа охлажденных и отвержденных корпусов конфет не приводит к их разрушению после сброса давления в барокамере до атмосферного, после чего производят охлаждение формочек с карамельной массой. После затвердевания карамельной массы в формочках сбрасывают давление из барокамеры до атмосферного, производят ее разгерметизацию и выгружают готовые изделия в приемный бункер.
Третий вариант способа получения газифицированной карамели, заключающийся в одновременном охлаждении под избыточным давлением сформованных и формующихся корпусов конфет, реализуется следующим образом.
Получив известным способом горячую карамельную газифицированную массу, ее затем выдают на два раздаточных узла: один обеспечивает заполнение порциями массы формочек, а другой, например, порциями выкладывает на противень. Этот процесс происходит в термостате с частичным теплоотводом. На первом узле карамельная газифицированная масса принимает соответствующую форму (т.е. корпуса конфет сформованы), а на другом узле – карамельная газифицированная масса, будучи в пастообразном состоянии, находится в стадии формования корпусов конфет под действием сил гравитации и сил сцепления компонентов массы. Из термостата их одновременно помещают в барокамеру, в которой создают избыточное давление и производят их охлаждение. Уровень избыточного давления в барокамере должен быть таким, что остаточное давление в пузырьках газа охлажденных и отвержденных корпусов конфет не приводит к их разрушению после сброса давления из барокамеры до атмосферного. Затем производят одновременное охлаждение карамельной массы, сформованной в формочках, и формующихся порций на противнях. После затвердевания карамельной массы сбрасывают давление из барокамеры до атмосферного, производят ее разгерметизацию и выгружают готовые изделия в приемный бункер.
Таким образом, использование изобретения позволит расширить номенклатуру производимых газифицированных конфетных продуктов – карамельных конфет, в частности леденцов.
Формула изобретения
Способ получения газифицированной карамели, включающий приготовление горячей карамельной массы в жидком или пастообразном состоянии, перемешивание ее с газом и охлаждение карамельной массы под избыточным давлением, отличающийся тем, что перемешанную с газом карамельную массу формуют в карамельные изделия в виде корпусов карамели, при этом охлаждение сформованных и/или формующихся корпусов карамели ведут под избыточным давлением, при котором остаточное давление в пузырьках охлажденных и отвержденных корпусов карамели не приводит к их разрушению после сброса давления до атмосферного.
РИСУНКИ
|
|