|
|
(21), (22) Заявка: 2005131140/12, 07.10.2005
(24) Дата начала отсчета срока действия патента:
07.10.2005
(43) Дата публикации заявки: 20.04.2007
(46) Опубликовано: 10.09.2007
(56) Список документов, цитированных в отчете о поиске:
SU 515493 А, 09.07.1976. SU 1766310 А1, 07.10.1992. SU 1715232 А1, 29.02.1992. SU 1479019 А1, 15.05.1989. RU 2010481 С1, 15.04.1994. DE 3918393 А1, 14.12.1989.
Адрес для переписки:
350044, г.Краснодар, ул. Калинина, 13, КГАУ, ПИО
|
(72) Автор(ы):
Тарасенко Борис Фёдорович (RU), Маслов Геннадий Георгиевич (RU), Медовник Анатолий Николаевич (RU), Сидоренко Леонид Иванович (RU)
(73) Патентообладатель(и):
Федеральное государственное образовательное учреждение высшего профессионального образования Кубанский государственный аграрный университет (RU)
|
(54) ЗЕРНОУБОРОЧНАЯ ОЧЕСЫВАЮЩАЯ МАШИНА
(57) Реферат:
Изобретение относится к сельскохозяйственному машиностроению и может быть использовано при уборке зерновых культур. Зерноуборочная машина включает энергетическое средство, колесную раму и прицеп. На колесной раме установлены очесывающая камера, кожух со всасывающим окном, приемник и вентилятор. В корпусе очесывающей камеры расположен барабан с очесывающими рабочими органами. Под барабаном размещена гребенка из желобов со скошенным концом, установленных наклонно и сообщенных с приемником. Приемник соединен с наклонной камерой со скребковым транспортером. Над приемником выше барабана расположен вентилятор с дефлектором. Наклонная камера и дефлектор сообщены пневмопроводом с прицепом. Наклонные желоба гребенки делят хлебную массу на полосы и улавливают осыпавшееся при колебании стеблей зерно, что обеспечивает снижение потерь зерна. 5 з.п. ф-лы, 4 ил.
Изобретение относится к области сельскохозяйственного машиностроения, в частности к устройствам для уборки зерновых колосовых и риса очесывающими рабочими органами.
Известен очесывающий хедер SR-4200 фирмы SRE (Великобритания), навешиваемый на наклонную камеру зерноуборочного комбайна СК-5М “Нива” (см. Маслов Г.Г., Богус Ш.Н. Механизированные технологии возделывания и уборки сельскохозяйственных культур, Майкоп, Республиканское издательско-полиграфическое объединение “Адыгея”, 1997, с 82-85.) и включающий корпус, кожух с приемным окном, размещенным внизу, очесывающий ротор с восемью рядами очесывающих пальцев из эластичной листовой пластины толщиной 10 мм, представляющие собой на общем основании стреловидные зубья с круглыми отверстиями между ними.
Недостатками являются высокие затраты энергии, т.к. хедер навешен на комбайн, и потери урожая из-за сильного самоосыпания зерна и обламывания колосьев.
Наиболее близкой по технической сущности и достигаемому экономическому эффекту является полевая уборочная очесывающая машина (см. А.Н.Леженкин “Моделирование полевой уборки зерновой части урожая машиной для фермерских и крестьянских хозяйств”: ж. “Механизация и электрификация сельского хозяйства”, №5, 2005, с 15-18.), включающая энергетическое средство (трактор), транспортирующее расположенные сбоку колесную раму и прицеп. На колесной раме установлены очесывающая камера с консольным креплением и центробежный вентилятор с дефлектором и пневмопроводом, сообщенным с прицепом. Очесывающая камера имеет корпус, кожух с всасывающим окном, размещенным внизу, два очесывающих барабана, приемник с наклонной камерой со скребковым транспортером, сообщенной с пневмопроводом.
Недостатками данной машины являются высокие потери урожая из-за самоосыпания зерна при контакте с внешней частью кожуха, загрязнение зерна всасываемыми комками почвы, лишние затраты энергии на холостое перемещение воздуха, т.к. транспортер выполняет роль затвора, а также на очес всей длины стебля, забивание углов приемной камеры колосьями и низкая производительность из-за небольшой ширины захвата.
Техническим решением задачи является снижение энергозатрат, потерь зерна, загрязнений, а также повышение производительности и эксплуатационной надежности.
Техническое решение задачи осуществляется тем, что в известной машине, включающей сагрегатированные энергетическое средство, колесную раму, расположенную сбоку, и прицеп, при этом на раме установлены очесывающая камера с консольным креплением корпуса, содержащим барабан с очесывающими рабочими органами, кожух со всасывающим окном, приемник с наклонной камерой со скребковым транспортером и вентилятор с дефлектором, при этом наклонная камера и дефлектор через пневмопровод сообщены с прицепом, причем всасывающее окно расположено спереди, а внизу под барабаном размещена гребенка из желобов со скошенным концом, установленных наклонно и сообщенных с приемником, над которым выше барабана размещается вентилятор с дефлектором, причем вентилятор выполнен диаметральным, а его лопасти имеют вид гребенки из полукруглых пластин, причем кожух выполнен волнистым и размещен над барабаном, причем очесывающая камера имеет гидрофицированный параллелограммный механизм подъема и опускания, а транспортер в приемнике оснащен двумя шнековыми наставками со встречными витками, рабочие очесывающие органы выполнены в виде радиально установленных на барабане Г-образных лопаток, на которых установлены с возможностью перемещения очесывающие пластины с гребенкой стреловидных зубьев с круглыми выемками между ними.
Новыми элементами являются: размещение спереди всасывающего окна; выполнение нижней части очесывающей камеры в виде гребенки желобов, сообщенных с приемником, имеющих скос и установленных наклонно; оснащение очесывающей камеры диаметральным вентилятором с дефлектором, у которого лопасти имеют вид гребенки из полукруглых пластин; оснащение скребкового транспортера шнековыми наставками;
выполнение кожуха над барабаном волнистым; оснащение очесывающей камеры гидрофицированным параллелограммным механизмом подъема и опускания; выполнение рабочих очесывающих органов в виде пластины с гребенкой из стреловидных зубьев и круглых выемок между ними, закрепленной с возможностью перемещения на Г-образной лопатке для регулировки площади выемки.
Новизна обеспечивается тем, что в зависимости от хлебостоя регулируется высота установки очесывающей камеры, желоба снизу расчесывают хлебную массу и делят ее на уплотненные полосы и в то же время направляют осыпающееся зерно в приемник, барабан пластинами с гребенкой зубьев выемками вычесывает зерно из полос и транспортирует Г-образными лопатками его в приемную камеру, а затем шнеками к скребковому транспортеру, при этом в зависимости от урожая площадь выемки регулируется перемещением пластины, предварительно расфиксированной, а потом зафиксированной, воздушный поток, равномерный по всему фронту барабана за счет волнистого кожуха и диаметрального вентилятора с лопастями в виде гребенки из полукруглых пластин, всасывает осыпающиеся части колосьев и т.д. в приемную камеру и в пневмопровод.
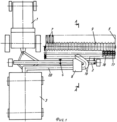
Зерноуборочная очесывающая машина представлена схематично на чертежах: на фиг.1. – вид сверху, на фиг.2. – разрез А-А, на фиг.3. – рисунок желобов, на фиг.4 – вид Б.
Зерноуборочная очесывающая машина состоит из энергетического средства 1 (например, трактора третьего класса 1, 4), с которым сагрегатированы выступающая сбоку колесная рама 2 и по ходу прицеп 3. На выступающей части рамы 2 установлена с возможностью подъема и опускания при помощи гидрофицированного параллелограммного механизма 4 очесывающая камера, содержащая корпус 5, приемник 6, размещенный внизу и сообщающийся с одной стороны с гребенкой из наклоненных желобов 7 со скошенным концом и с наклонной камерой 8 с другой стороны, а также размещенный сверху кожух 9. В корпусе 5 над желобами 7 установлен барабан 10, оснащенный Г-образными лопатками 11. На них крепится с возможностью фиксации в необходимом положении очесывающая пластина 12 с гребенкой из стреловидных зубьев 13 с круглыми выемками 14 между ними. В наклонной камере 8 установлен скребковый транспортер 15, оснащенный двумя шнековыми наставками 16, со встречными витками, которые размещены с двух сторон в приемнике 6. Над приемником 6 в корпусе 5 камеры выше барабана 10 установлен диаметральный вентилятор 17, лопасти которого выполнены в виде гребенки из полукруглых пластин 18. Вентилятор 17 оснащен дефлектором 19. Кожух 9 над барабаном 10 выполнен волнистым в соответствии с пластинами 18 и не закрывает его с передней части. Промежуток между кожухом 9 и гребенкой из желобов 7 спереди образует всасывающее окно. Дефлектор 19, наклонная камера 8 сообщены посредством пневмопровода 20 с прицепом 3. Привод барабана 10, транспортера 15 с наставками 16 и вентилятора 17 производится от ВОМ трактора 1 посредством кинематической связи с их шкивами (на схемах не показан). Механизм 4 связан с гидросистемой трактора 1.
Работа осуществляется следующим образом. При движении агрегата, состоящего из энергетического средства 1, рамы 2 и прицепа 3, по полю гребенка выступающих желобов 7 внедряется в хлебную массу и делит ее на полосы. Собранные пучки соломистой массы являются затвором, не пропускающим осыпающееся зерно на землю при колебании стеблей. Благодаря этому зерно поступает в желоба 7, из которых в приемную камеру 6 за счет наклона последних и вибрации работающего устройства. Кроме этого, при движении агрегата гребенка из желобов 7 осуществляет первичный очес зерна. Барабан 10, вращаясь в корпусе 5 по часовой стрелке, осуществляет окончательный очес зерна, в круглых выемках 14 между стреловидными зубьями 13, расчесывающих соломистую массу. При этом в зависимости от урожая круглые выемки 14 можно перекрывать перефиксацией очесывающей пластины 12 на Г-образной лопатке 11. Большой урожай – выемка 14 открыта полностью, урожай меньший – она перекрывается частично. Очесанное зерно лопатками 11 перемещается в приемник 6, а затем при помощи шнековых наставок 16 и скребкового транспортера 15 по наклонной камере 8 в пневмопровод 20. Воздушный поток, создаваемый диаметральным вентилятором 17, вращающимся в корпусе 5 против часовой стрелки, равномерный по всему фронту за счет лопастей из гребенки полукруглых пластин 18 и волнистого кожуха 9, всасывает все витающее (зерно, колоски, стебли и т.д.) через всасывающее окно и подает его через дефлектор 19 в пневмопровод 20, через который вместе с зерном, поступившим из наклонной камеры 8, – в прицеп 3. Высота внедрения желобов 7 в хлебную массу регулируется при помощи параллелограммного механизма 4, закрепленного на колесной раме 2 и управляемого от гидросистемы трактора 1. Если хлебная масса не полегшая, то при очесе ее верхушек меньше затраты энергии.
Предлагаемая зерноуборочная очесывающая машина эффективна для фермерских хозяйств за счет ее низкой стоимости, экономного расхода топлива, низких потерь, высокой эксплуатационной и технологической надежности.
Формула изобретения
1. Зерноуборочная очесывающая машина, включающая сагрегатированные энергетическое средство, колесную раму, расположенную сбоку, и прицеп, при этом на колесной раме установлены очесывающая камера с консольным креплением корпуса, содержащим барабан с очесывающими рабочими органами, кожух со всасывающим окном, приемник с наклонной камерой со скребковым транспортером и вентилятор с дефлектором, при этом наклонная камера и дефлектор через пневмопровод сообщены с прицепом, отличающаяся тем, что всасывающее окно расположено спереди, а внизу под барабаном размещена гребенка из желобов со скошенным концом, установленных наклонно и сообщенных с приемником, над которым выше барабана в корпусе смонтирован вентилятор с дефлектором.
2. Зерноуборочная очесывающая машина по п.1, отличающаяся тем, что вентилятор выполнен диаметральным, а его лопасти имеют вид гребенки из полукруглых пластин.
3. Зерноуборочная очесывающая машина по п.1, отличающаяся тем, что кожух выполнен над барабаном волнистым.
4. Зерноуборочная очесывающая машина по п.1, отличающаяся тем, что очесывающая камера имеет гидрофицированный параллелограммный механизм подъема и опускания.
5. Зерноуборочная очесывающая машина по п.1, отличающаяся тем, что транспортер в приемнике оснащен с двух сторон шнековыми наставками со встречными витками.
6. Зерноуборочная очесывающая машина по п.1, отличающаяся тем, что очесывающие рабочие органы выполнены в виде Г-образных радиально установленных на барабане лопаток, на которых установлены с возможностью перемещения очесывающие пластины с гребенкой из стреловидных зубьев и круглых выемок между ними.
РИСУНКИ
MM4A – Досрочное прекращение действия патента СССР или патента Российской Федерации на изобретение из-за неуплаты в установленный срок пошлины за поддержание патента в силе
Дата прекращения действия патента: 08.10.2007
Извещение опубликовано: 27.06.2009 БИ: 18/2009
|
|