|
(21), (22) Заявка: 2004103803/09, 28.06.2002
(24) Дата начала отсчета срока действия патента:
28.06.2002
(30) Конвенционный приоритет:
13.07.2001 GB 0117177.6
(43) Дата публикации заявки: 27.06.2005
(46) Опубликовано: 27.08.2007
(56) Список документов, цитированных в отчете о поиске:
RU 2131168 C1, 27.05.1999. WO 99/67903 А, 29.12.1999. US 5566022 А, 15.10.1996.
(85) Дата перевода заявки PCT на национальную фазу:
13.02.2004
(86) Заявка PCT:
GB 02/03032 (28.06.2002)
(87) Публикация PCT:
WO 03/007510 (23.01.2003)
Адрес для переписки:
190068, Санкт-Петербург, ул. Садовая, 51, офис 303, ООО “Патентика”, пат.пов. М.И.Ниловой
|
(72) Автор(ы):
ХЬЮЗ Филип Томас (GB)
(73) Патентообладатель(и):
РЕДВЭЙВ ТЕКНОЛОДЖИ ЛИМИТЕД (GB)
|
(54) СИСТЕМА И СПОСОБ ДЛЯ МАССОВОЙ ШИРОКОПОЛОСНОЙ СВЯЗИ
(57) Реферат:
Изобретение относится к технике связи и может использоваться в системах оптической связи. Технический результат состоит в обеспечении расположения оборудования абонента и системы на линии прямой видимости. Для этого система включает множество фрагментов, причем каждый фрагмент охватывает множество абонентов, а каждый абонент имеет соответствующий абонентский блок, предназначенный для передачи сигналов другим абонентам и приема сигналов от других абонентов. Каждый абонентский блок включает интерфейсный блок, устанавливаемый внутри помещения и предназначенный для организации доступа пользователя к системе, и блок связи, устанавливаемый вне помещения и предназначенный для передачи и приема сигналов. Сигналы встроены в сигнал на несущей частоте, лежащей в диапазоне от инфракрасного до ультрафиолетового излучения, а абонентские блоки соответствующего фрагмента способны передавать сигналы на несущей частоте по существу по всем направлениям и связываются в пределах фрагмента посредством соединений по линии прямой видимости. Объекты в пределах и/или вокруг соответствующего фрагмента используются для определения и/или модификации картины распространения сигнала на несущей частоте и задания границ фрагмента. Соответствующие фрагменты связаны между собой посредством блоков связи фрагментов, причем каждый блок связи фрагментов связан с абонентскими блоками с помощью по меньшей мере двух средств связи, отличающихся от используемого для связи между абонентскими блоками в пределах данного фрагмента. 2 н. и 16 з.п. ф-лы, 15 ил.
Уровень техники
Настоящее изобретение относится к системе и способу для абонентской связи высокой плотности.
В течение многих лет задачу по обеспечению большого количества абонентов из числа жителей и мелких бизнесменов одновременной высокоскоростной связью при сравнительно низкой стоимости услуг было трудно решить. Для связи между абонентами при малой пропускной способности (например, менее 56000 бит в секунду) вполне подходит существующая телефонная сеть. Однако если требуется, чтобы пропускная способность при связи между абонентами была на несколько порядков выше (например, при потоковой передаче высококачественной видеоинформации 2-6 мегабит/с), существующие устройства и способы больше не пригодны.
Были разработаны различные технические решения для предоставления абонентам связи с такой высокой пропускной способностью, причем предусматривалось, что владелец и/или оператор такого устройства устанавливает его, а затем взимает плату за его использование с тем, чтобы окупить его в течение нескольких лет. Понятно, что чем быстрее устройство окупится, тем лучше владельцу/оператору.
Такие устройства делятся на две категории: проводные и беспроводные. Проводные системы требуют прокладывания кабелей (подземных или надземных) к помещениям абонента. Кабели могут пропускать или электрические, или оптические сигналы. Однако в любом случае стоимость такого решения для систем с высокой пропускной способностью является очень высокой.
Другая категория систем – это беспроводные системы, в которых сигналы между абонентами передаются с помощью электромагнитных волн. Сами беспроводные системы делятся на системы радиочастотного диапазона, в которых используются электромагнитные волны с частотой менее 1012 Гц и которые известны уже почти в течение столетия, и оптические системы, которые, по-видимому, имеют еще более длинную родословную. Однако в последнее время приобрели популярность системы, в которых используется инфракрасное излучение (с длиной волны между 800 нм и 50000 нм), что обусловлено совершенствованием техники генерации и обнаружения излучения с такими длинами волн. В принципе, можно использовать как более коротковолновое, так и менее коротковолновое излучение; однако в настоящее время этому препятствуют практические трудности в детектировании и испускании такого излучения.
Преимущество беспроводных систем состоит в том, что такое оборудование легче и дешевле в установке, чем проводное, – отпадает необходимость в землеройных работах или в конструкциях для крепления кабеля. Как в области радиочастотной, так и в области оптической передачи было сделано много попыток, чтобы окончательно решить эту задачу “последней мили”.
В беспроводных системах основными факторами, определяющими их параметры и экономичность, являются следующие
1) “Эффективность использования спектра”, то есть доля частотного спектра, используемая для предоставления услуг абонентам.
2) Так называемое “покрытие” – возможность организации эффективного приема и передачи радиоизлучения для максимаольно возможного числа абонентов.
3) Сложность и, следовательно, стоимость изготовления устанавливаемого оборудования; в особенности оборудования, устанавливаемого в помещении абонента.
Что касается ширины частотного спектра, приходящегося на одного абонента, то этот параметр актуален как для радиосистем, так и для оптических систем. Поскольку носителем сигнала является испускаемая волна, то если одновременно работает достаточно много источников излучения, становится трудно распознать, от какого абонента сигнал получен и какому абоненту он предназначен. Это означает, что при некоторой концентрации абонентов начинает доминировать так называемая интерференция и система связи становится неработоспособной. Чем эффективнее система связи использует спектральный диапазон, тем выше будет эта предельная концентрация. Поэтому беспроводная система, предназначенная для массового использования, должна иметь очень хорошую эффективность использования спектра, чтобы оставаться работоспособной при концентрации абонентов, характерной для большей части жилых районов.
Имеется несколько известных технических решений, позволяющих повысить эффективность использования спектра в беспроводной системе; они включают частотное, временное, кодовое и пространственное мультиплексирование. В системах с частотным, временным и кодовым мультиплексированием используется различное кодирование передаваемых сигналов для уплотнения этих ресурсов при максимально возможном количестве сигналов без появления нежелательной интерференции. Каждая из таких систем увеличивает сложность и, следовательно, стоимость необходимого оборудования, но, с другой стороны, позволяет обеспечить абонента связью с большей плотностью. Для использования в реальной системе (особенно в оптических системах) из этих способов наиболее простым и радикальным является мультиплексирование с временным разделением сигналов.
При мультиплексировании с пространственным разделением сигналов для снижения интерференции путем ограничения пространственной геометрии излучения по существу используются геометрические свойства передаваемого излучения, например коллимационный угол и рабочий диапазон. Это означает, что группы устройств, находящихся вне пределов досягаемости друг друга или в конкретных угловых диапазонах, могут, в принципе, многократно использовать данную частоту без появления интерференции. Эти два вида мультиплексирования с пространственным разделением сигналов используются в современной многосекторной базовой станции сотовой связи стандарта GSM.
При мультиплексировании с пространственным разделением сигналов необходимо тщательно разработать передатчики и приемники, чтобы те в максимальной степени использовали радиус действия и угловой диапазон. В самом деле, в некоторых радиочастотных и в большинстве оптических систем используются высоконаправленные пучки излучения, так что угловое расхождение таких лучей очень мало; поэтому многократное использование спектра может быть очень интенсивным.
Основной проблемой этих так называемых “двухточечных” и “сетчатых” систем является то, что становится необходимым использование сложных средств для настройки и перенастройки передатчиков и приемников таких лучей, а это вновь приводит к повышению себестоимости оборудования, а также усложняет его установку при повышении трудоемкости. Это происходит потому, что географическое расположение абонентов не соответствует геометрически правильным моделям, однако оборудование, используемое при таком расположении абонентов, должно работать и в этих условиях. Другой проблемой, связанной с использованием излучения в свободном пространстве, является то, что при повышении частоты все более затрудняется надежный прием излучения. Например, при передаче в длинноволновом диапазоне (1500 м) эти волны легко проникают сквозь твердые (неметаллические) структуры (как искусственные, так и естественные, например сквозь растительность, холмы, горы и т.д.) и могут быть очень легко приняты простым устройством. Однако количество информации, которую можно передать с использованием излучения этой частоты, довольно мало. В вышеупомянутом примере теоретически достижимый максимум составляет лишь 400 кбит/с. Это совершенно неприемлемо для рассчитанной на массовое использование связи с высокой пропускной способностью, при которой требуется передача многих сотен или тысяч мегабитов в секунду.
Практически это означает, что необходимо использовать частоты свыше нескольких ГГц. Однако проблема состоит в том, что излучение с такой частотой гораздо хуже проникает сквозь сплошные объекты, чем длинноволновое излучение. Фактически при таких частотах излучение ведет себя по существу как видимое излучение. Таким образом, для передачи информации приемник должен находиться в пределах прямой видимости передатчика. В принципе это не является проблемой. Однако на практике широкополосные беспроводные системы обычно располагают в районах с высокой плотностью населения, а это означает, что линии прямой видимости заслонены строениями. Поэтому проектирование и размещение таких систем требует много времени и усилий, направленных на то, чтобы обеспечить расположение оборудования абонента и системы на линии прямой видимости или приблизительно на линии прямой видимости; поскольку абонентские блоки приходится устанавливать так, чтобы они выдавались наружу: выше линий крыш, на боковых сторонах высоких зданий и т.д. В свою очередь это затрудняет установку таких систем и увеличивает их сложность, а в некоторых случаях приводит к определенным проблемам, поскольку законом запрещены возведение или установка объектов выше определенной высоты или не соответствующих определенным эстетическим нормам.
Этот фактор взаимной видимости блоков в системая связи обычно именуется “покрытием” – термином, который возник в сотовых или многоточечных радиально-узловых системах радиосвязи, в которых абонентские блоки (стационарные или подвижные) разделены на географические зоны (или “ячейки”), каждая из которых обслуживается многоканальной приемо-передающей “базовой станцией”. Эти базовые станции должны быть установлены так, чтобы любой абонент в зоне действия базовой станции с высокой степенью вероятности мог связаться с ней. Если это имеет место, то говорят, что базовая станция “покрывает” абонентский блок.
В настоящем описании термин “покрытый” или “покрытие” используется для обозначения возможности связи абонента с остальной частью системы, а это не обязательно подразумевает систему радиально-узловой многоточечной связи или сотовой связи.
Известные системы и технические решения
ЕР-1085707 – Радиальные сети: система радиоячеек
В патенте ЕР-1085707 описана система связи, в которой имеется множество узлов, каждый из которых содержит передатчик и приемник для беспроводной передачи и приема сигналов. Кроме того, в каждом узле имеются средства для определения, содержит ли сигнал, принятый указанным узлом, информацию для другого узла, и, в случае если содержит, для передачи сигнала с такой информацией в этот другой узел. Каждый узел имеет по существу однонаправленную двухточечную связь лишь с одним другим узлом. Таким образом, в этом патенте раскрыта сетевая система, которая составлена из множества направленных радиолиний между парами приемо-передающих радиоустройств (между “узлами”), расположенными на зданиях абонентов. При любой конфигурации такой сети каждая радиолиния относится к одному конкретному передающему узлу и одному конкретному приемному узлу. Каждый узел может включать более одной такой связи с группой других узлов. Раскрытая сетевая система имеет многозвенную или “сетчатую” архитектуру, при которой каждый узел может осуществлять трафик для других узлов, а также быть непосредственно источником или приемником трафика. Это происходит путем проверки узлами сигналов, посланных по каждой линии, в поисках встроенной в сигналы информации по маршрутизации, а затем выполнением узлами действий согласно этой информации.
В этом изобретении достигнута хорошая эффективность использования спектра, но она ограничена вследствие использования мультиплексирования с пространственным разделением сигналов на основе разбиения на угловые (азимутальные) сектора. Это означает, что эффективность использования спектра достигнута с помощью антенн с высоким коэффициентом усиления. Увеличение эффективности использование спектра означает увеличение коэффициента усиления антенны и, следовательно, ее апертуры. Поэтому за высокую эффективность использования спектра в этой системе заплачено использованием крупногабаритных узлов, что затрудняет их установку. Кроме того, для обеспечения маршрутизации информации по сети в такой системе приходится использовать сложный процесс декодирования полученных сигналов в каждом узле. Это также повышает стоимость узла и увеличивает его сложность, а следовательно, повышает стоимость сети и усложняет ее установку.
WО99/45665 – Воздушный волновод: гибридная система связи с использованием пикоячеек
В заявке WО99/45665 описана лазерная система связи в свободном пространстве, которая состоит из большого числа пикоячеек. Каждая пикоячейка включает одну базовую станцию, обеспечивающую обычную (радио) связь с одним или несколькими (обычно со многими) пользователями. Кроме того, каждая базовая станция включает по меньшей мере два лазерных приемо-передатчика, которые механически ориентированы в пространстве с помощью механизма автоматической ориентации. Эти оптические приемо-передатчики обеспечивают создание двухточечной сети базовых станций, причем эта сеть образует промежуточную обратную сеть для трафика конечного пользователя. В этом изобретении доступ к конечному пользователю осуществляется известным средствами: системой сотовой связи с приемо-передатчиками радиосигнала. В новом ретрансляционном механизме используются высоконаправленные оптические лучи, обеспечивающие стационарные линии связи. И вновь, необходимость точной ориентации ретрансляционных линий увеличивает сложность и размер оборудования базовой станции. Поскольку размер пикоячейки составляет порядка 100 м, это означает, что для обслуживания одного квадратного километра требуется приблизительно 30-35 таких базовых станций (при условии, что они распределены равномерно). Стоимость такого количества сложных устройств затруднила бы их массовое использование.
Система радиосвязи фирмы Nokia для установки на крыше
Эта система описана в различных открытых документах, например см. “Маршрутизация в системе фирмы Nokia, устанавливаемой на крыше” (“Nokia Rooftop Wireless Routing”), официальный документ, размещенный на общедоступном вебсайте Nokia: www.nokia.com, а также другие документы на этом вебсайте.
Nokia раскрывает систему, состоящую из беспроводных маршрутизаторов, устанавливаемых на крыше, причем утверждается, что эта система позволяет оператору различного типа широкополосной связи предоставить доступ большей аудитории клиентов, чем можно было бы достигнуть с использованием только проводных средств. Используя эти всенаправленные беспроводные маршрутизаторы, можно создать пакетную (поэлементная обработка данных) многозвенную (ячеистую) сеть. Эти маршрутизаторы работают в диапазонах радиоволн, не подлежащих контролю (например 2,4 ГГц и 5,8 ГГц), что ограничивает спектр, доступный для размещения пользовательского трафика. Информация претерпевает несколько пересылок (обычно 3-4), прежде чем попадает в блок другого типа (“плацдарм”), который выполняет функцию интерфейса с концентрацией данных для передачи их в точку присутствия (POP) обычной проводной сети. Ограниченный доступный спектр при неограниченной по своей природе радиосвязи в системе означает то, что плотность размещения этого оборудования ограничена. Это частично компенсируется тем, что система внутренне поддерживает протоколы пакетной (поэлементная обработка данных) связи, которые не чувствительны к временным параметрам. Однако предоставление услуг, строго чувствительных к временным параметрам, например с использованием цифровых каналов Е1/Т1, жестко ограничило бы возможности такой системы.
Патент США 5724168 – Беспроводная система с диффузной инфракрасной локальной сетью
В патенте США 5724168 раскрыта беспроводная система с диффузной инфракрасной локальной сетью, которая работает в закрытых пространствах (в помещениях). Система связи включает контроллер и центральный, по существу всенаправленный, инфракрасный приемо-передатчик, расположенный на внутренних стенах закрытого помещения и оперативно связанный с контроллером. Система дополнительно включает удаленную станцию и средства для оперативного соединения с удаленной станцией и передачи сигнала связи с помощью всенаправленного инфракрасного приемо-передатчика.
Удаленные блоки имеют связь только с центральным приемо-передатчиком посредством либо одночастотной линии в пределах прямой видимости, либо за счет отражений от стен ограждения. Следовательно, блоки по существу “погружены” в “ванну” с изотропным излучением. Роль ограждающих стенок в этом изобретении сводится к обеспечению наличия отражающих поверхностей, чтобы отпадала необходимость в обязательном нацеливании удаленных (мобильных) блоков на центральный приемо-передатчик. Кроме того, раскрыт специальный протокол связи с множественным доступом с разделением по времени (TDMA) для связи между центральной и удаленными станциями, что позволяет удаленной станции и центральной станции связаться в совместно используемой среде изотропного инфракрасного излучения.
Понятно, что эта система, предназначенная для закрытых пространств, не подходит для использования в качестве наружной широкополосной системы связи общего пользования, поскольку она основана на рассеянном отражении сигналов от различных поверхностей, что для открытых систем недостижимо вследствие ослабления, которое при этом вносится в сигнал, и “шума”, который возникает из-за отраженных сигналов от других блоков.
Требования для широкополосных систем беспроводного доступа
Вышеупомянутые примеры демонстрируют непригодность таких известных систем для практических сетей связи массового использования.
Предпочтительно, чтобы техническое решение включало следующие признаки:
1) При высокой плотности размещения пользователей (то есть свыше 1000 абонентов на квадратный километр) доступный спектр используется оптимально и многократно.
2) Система должна обеспечивать высокую скорость передачи (то есть несколько мегабитов в секунду) одновременно для значительного числа абонентов.
3) Система должна быть экономичной, позволяющей устанавливать ее как при низкой плотности абонентов, так и при высокой (как в вышеописанном случае).
4) Необходимо обеспечить, в принципе, 100%-ный охват абонентов.
5) Система должна быть достаточно надежной, чтобы можно было организовать конкурентоспособное обслуживание.
6) Система должна удовлетворительно обеспечивать предоставление существующих услуг и иметь существенный резерв для оказания новых, не предусмотренных в настоящее время услуг.
7) Оборудование, устанавливаемое у абонента, должно быть по возможности максимально простым и, следовательно, дешевым. Поэтому необходимо по возможности избегать использования сложных схем, например с мультиплексированием с кодовым разделением сигналов.
8) Блок, устанавливаемый у абонента, должен быть как можно меньше и легче и не должен содержать никаких подвижных частей (например, для ориентации лазеров и антенн), которые обычно снижают надежность блока.
Кроме того, наружное оборудование должно иметь максимально возможный установочный и рабочий ресурс.
9) Оборудование, устанавливаемое у абонента, должно быть легким в установке и работать с высокой степенью надежности, при этом требования к квалификации оператора должны быть минимальными (в идеальном случае абоненты должны быть в состоянии установить оборудование самостоятельно).
10) Система должна обладать значительной гибкостью в работе и удовлетворительно взаимодействовать с существующим установленным оборудованием.
Сущность изобретения
Настоящее изобретение предлагает систему для сети массовой информации, основанную на модифицированном оптическом пропускании сигналов в свободном пространстве.
Система включает по меньшей мере один, а предпочтительно несколько “фрагментов”. Каждый фрагмент включает географическую группу абонентов сети, у каждого из которых имеется абонентский блок, установленный в здании абонента или рядом с ним, и различные объекты окружающей среды, например стоящие рядом строения.
Важным аспектом изобретения является использование объектов окружающей среды, например строений, внутри и вокруг фрагмента для изменения пути распространения сигналов в пределах фрагмента между абонентскими блоками.
Материальные объекты, расположенные в пространстве, обладают некоторыми свойствами, влияющими на распространение электромагнитного излучения в промежуточном пространстве.
Распространение излучения в этом промежуточном пространстве зависит, главным образом, от следующих характеристик:
1) Величина и частота/длина волны излучения как в абсолютных значениях, так и по отношению к размерам объектов.
2) Формы объектов.
3) Взаимное расположение объектов.
4) Свойства поверхности объектов – то есть, имеет ли место поглощение, пропускание или отражение излучения, или же имеет место комбинация всех трех эффектов.
При анализе расположения объектов такие конфигурации, в которых какое-либо промежуточное пространство полностью закрыто объектами (как, например, внутри строения), не рассматриваются.
Для окружающей среды, существующей в общественных сооружениях на открытом воздухе, – в городах, поселках, деревнях и т.д. – вышеупомянутые признаки могут быть сведены к следующим:
1) Излучение коротких длин волн – фактически, приблизительно от 10 ГГц и выше, включая инфракрасную область спектра, но не ограничиваясь ею.
2) Объекты с размерами строений – порядка десятков метров и разделенные на десятки метров.
3) Такие объекты являются чрезвычайно многогранными, причем имеют по меньшей мере одну почти вертикальную грань; фактически это обычные строения: жилые дома, офисы, заводы и т.д., расположенные на улице, в квартале, в комплексе зданий типа кампуса. Эти обычные совокупности объектов (включая ограждения и деревья) в дальнейшем называются “объектными зонами”.
4) Эти объекты в общем случае поглощают излучение при небольшом отражении.
На частотах (упомянутых выше), когда излучение распространяется “по линии прямой видимости”, при некоторых конфигурациях воображаемых всенаправленных источников излучения, распределенных вокруг данной объектной зоны, могут возникнуть одна или, предпочтительно, несколько пространственных “зон свободного распространения”, содержащих подмножество из общего количества воображаемых источников излучения. В зоне свободного распространения излучение от каждого имеющегося воображаемого источника попадает во все другие источники в данной зоне свободного распространения и не попадает в какие-либо другие (вне зоны свободного распространения).
Существует очень много возможных конфигураций зоны свободного распространения для данной объектной зоны. Однако количество реализуемых конфигураций зон свободного распространения для данной объектной зоны будет зависеть от количества и расположения воображаемых источников, разрешенных к установке в данной объектной зоне. В большинстве практических случаев для некоторой объектной зоны и источников в ней существует большое количество реализуемых зон свободного распространения.
Практическая эффективность зоны свободного распространения определяется следующими факторами/соображениями:
1) Не существует интерференции между излучением двух различных зон свободного распространения. Это означает, что спектральная полоса, используемая в этих зонах свободного распространения, может быть одинаковой.
2) Зоны свободного распространения могут быть пространственно разделены очень малыми участками (например толщиной стены, или строением) по сравнению с протяженностью самой объектной зоны. Таким образом, плотность зон свободного распространения может быть очень высокой.
3) Зона свободного распространения создает базис для эффективного способа организации сети связи.
При создании сети связи желательно, чтобы реализуемая конфигурация зоны свободного распространения характеризовалась следующими признаками:
1) Если имеется приблизительно один воображаемый источник на объект и никакой объект не ассоциируется более чем, скажем, с 10 источниками, то создается максимально возможное количество зон свободного распространения.
2) Зоны свободного распространения должны быть реализованы с использованием источников, установленных в разумных местах на объектах (например ниже, чем высота крыши), но не заслоняемых подвижными объектами, например людьми, транспортными средствами и т.п.
В большинстве практических случаев для данной конкретной объектной зоны заранее не ясно, сколько потребуется источников и где они должны быть расположены, чтобы образовалось максимальное количество практических зон свободного распространения и, следовательно, была достигнута максимальная эффективность использования спектра. Таким образом, для заданных параметров возможной зоны свободного распространения в произвольной объектной зоне (которые не зависят от технического решения) настоящее изобретение в наибольшей степени связано со следующим:
1) Раскрытие концепции зоны свободного распространения/объектной зоны и связанных с этим понятий в теоретическом (или общем) плане.
2) Демонстрация принципов возможного использования конкретной реализуемой зоны свободного распространения или любой объектной зоны для формирования базиса для экономичной высококачественной системы беспроводной связи с высокой плотностью.
3) Раскрытие основных элементов способа оптимизации конфигурации зоны свободного распространения для любой объектной зоны.
4) Раскрытие основных элементов конструкции оборудования и способов его установки для реализации вышеупомянутых принципов.
Реализуемая и оборудованная зона свободного распространения называется “фрагментом”.
Поэтому, согласно одному из аспектов настоящего изобретения, предлагается сетевая система для широкополосной массовой связи, включающая:
множество фрагментов,
причем каждый фрагмент, охватывает множество абонентов,
каждый абонент имеет соответствующий абонентский блок для передачи сигналов другим абонентам и для приема сигналов от других абонентов,
соответствующие фрагменты связаны посредством блоков связи фрагментов,
отличающаяся тем, что:
каждый абонентский блок содержит интерфейсный блок, установленный в помещении и предназначенный для доступа пользователя к системе, и блок связи, установленный вне помещения и предназначенный для передачи и приема сигналов,
сигналы встроены в сигнал на несущей частоте, лежащей в диапазоне от инфракрасного до ультрафиолетового излучения,
абонентские блоки в соответствующем фрагменте способны передать сигналы на несущей частоте по существу во всех направлениях и связываются посредством соединений по линии прямой видимости в пределах фрагмента,
объекты в пределах и/или вокруг соответствующего фрагмента используются для определения и/или изменения картины распространения сигнала на несущей частоте и для задания границы фрагмента,
каждый блок связи фрагментов связан с соответствующими абонентскими блоками по меньшей мере двух соседних фрагментов средствами связи, отличающимися от используемых для связи между соответствующими абонентскими блоками в пределах фрагмента.
Таким образом, в настоящем изобретении экранирующие свойства объектов в окружающей среде используются для разделения пространства на области, называемые “фрагментами”, в которых беспроводный частотный канал можно использовать многократно без интерференции с таким же каналом соседних фрагментов. Это позволяет достичь высокой эффективности использования спектра путем мультиплексирования с пространственным разделением сигналов.
В предпочтительном варианте выполнения настоящего изобретения, описанном ниже, абонентские блоки связаны с оборудованием, установленным у абонента, и могут передавать информацию друг другу посредством сигналов, встроенных в сигнал на несущей частоте в инфракрасном диапазоне спектра. Сигналы таких частот легче поглощаются и менее интенсивно рассеиваются, чем радиочастотные сигналы, что обеспечивает формирование четко определенных границ фрагментов.
Абонентские блоки являются по существу всенаправленными, а все абонентские блоки в конкретном фрагменте находятся в прямой видимости друг от друга. Это позволяет упаковать сигналы при максимальной скорости передачи до частот, допустимых в данном фрагменте, и означает, что абонентские блоки не обязательно ориентировать с высокой точностью. То есть абонентские блоки в различных фрагментах не находятся на линии прямой видимости друг относительно друга и не могут связаться непосредственно.
Максимальный линейный размер фрагмента может составлять порядка 200 м. Имеется много свидетельств, которые доказывают, что затухание в атмосфере при распространении ИК сигнала на такое расстояние не влияет на работоспособность системы.
Эта невидимость абонентских блоков в разных фрагментах обусловлена преимущественно физическими преградами естественного и искусственного происхождения в той среде, где установлены абонентские блоки. Примерами физических преград являются стены строений, ограждения, деревья, географические особенности местности и т.д.
Поскольку строения и другие объекты в типичной среде, окружающей зоны с высокой плотностью абонентов, эффективно поглощают высокочастотное излучение типа инфракрасного излучения, изобретение позволяет осуществить очень интенсивное многократное использование спектра (и, следовательно, обеспечить обслуживание абонентов, размещенных с высокой плотностью). Это высокое интенсивное многократное использование спектра не является следствием конструктивных особенностей оборудования, но обусловлено способом использования оборудования в качестве системы. Использование таких эффектов экранирования означает также, что абонентские блоки не нужно устанавливать на крыше или дымовой трубе, а можно разместить гораздо ниже.
Во избежание необходимости активной переориентации или настройки передатчиков и приемников сигналы из абонентских блоков предпочтительно испускаются и принимаются по всем направлениям. Эта особенность значительно снижает стоимость и уменьшает сложность оборудования, а также значительно облегчает монтаж установки вследствие полученного в результате уменьшения габаритов и веса оборудования.
Сигналы, возникшие в конкретном фрагменте, можно передать в любое место в сети благодаря взаимосвязи фрагментов с помощью блока связи фрагментов. Поэтому фрагменты могут переносить не только сигналы, сгенерированные и принимаемые внутри данного фрагмента, но также и сигналы, полученные от других фрагментов или передаваемые в другие фрагменты.
Основные преимущества использования малых, связанных по отдельности фрагментов состоят в следующем:
1) Может быть показано, что при использовании малых фрагментов уменьшаются затраты системных ресурсов (временных интервалов).
2) Соответственно, пропускная способность сети больше (а вероятность потенциальной перегрузки меньше).
3) Эффективность повторного использования ИК спектра больше, а следовательно, больше максимальная плотность развертывания.
Использование инфракрасного излучения означает, что большую часть полосы частот можно использовать для переноса сигналов, а следовательно, практически достижима скорость передачи данных порядка многих мегабит в секунду для многих абонентов одновременно.
Согласно другому аспекту настоящего изобретения предложен способ для осуществления массовой широкополосной связи, включающий:
формирование множества фрагментов, каждый из которых охватывает множество абонентов,
обеспечение каждого абонента соответствующим абонентским блоком для передачи сигналов другим абонентам и приема сигналов от них, причем каждый абонентский блок содержит интерфейсный блок, установленный в помещении и предназначенный для доступа пользователя к системе, и блок связи, установленный вне помещения и предназначенный для передачи и приема сигналов,
такое размещение абонентских блоков соответствующего фрагмента, чтобы они связывались по линии прямой видимости в пределах фрагмента,
встраивание сигналов в сигнал на несущей частоте, лежащей в диапазоне от инфракрасного до ультрафиолетового излучения,
передачу сигнала несущей частоты по существу по всем направлениям,
использование объектов в пределах и/или вокруг соответствующего фрагмента для определения и/или изменения картины распространения сигнала на несущей частоте и для задания границы фрагмента,
взаимное соединение соответствующих фрагментов через блоки связи фрагментов, причем каждый блок связи фрагментов связан с соответствующими абонентскими блоками по меньшей мере двух соседних фрагментов средствами связи, отличающимися от используемых для связи между соответствующими абонентскими блоками в пределах данного фрагмента.
В настоящем изобретении способ связи в пределах фрагментов и между ними разработан для имитации связи на некоторой части электрического каблея. Следовательно, в изобретении можно использовать протоколы работы с конечным пользователем.
Благодаря относительной простоте устройства и легкости установки эксплуатационные расходы могут быть невысоки, а следовательно, изобретение дает оператору экономически эффективное решение для создания сетей.
Краткое описание предпочтительного варианта выполнения настоящего изобретения
Ниже настоящее изобретение подробно описано на примере со ссылками на сопровождающие чертежи, где
на фиг.1а иллюстрируется типичная установка абонентского блока согласно настоящему изобретению;
на фиг.1b в том же масштабе иллюстрируется типичная установка известного беспроводного абонентского блока;
на фиг.2 иллюстрируется несколько абонентских блоков, установленных в типичной застроенной зоне с формированием фрагмента;
на фиг.3а показана обобщенная граница фрагмента в виде многоугольника, включающая в общем случае непрозрачные и прозрачные участки;
на фиг.3b показаны конкретные особенности абонентского блока, предназначенного для работы в условиях границ фрагмента, отличающихся от идеальных;
на фиг.4 показана блок-схема одного из вариантов выполнения абонентского блока;
на фиг.5 иллюстрируется взаимосвязь фрагментов за счет блоков связи фрагментов;
на фиг.6а показана область, покрытая множеством взаимосвязанных фрагментов;
на фиг.6b показана область фиг.6а с точки зрения развертывания блоков связи фрагментов, причем линии между блоками связи фрагментов представляют структуру мультимаршрутизации для фрагментов;
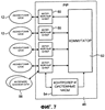
на фиг.7 показана блок-схема одного из вариантов выполнения блока связи фрагментов;
на фиг.8 показана блок-схема одного из вариантов выполнения интерфейса базовой сети;
на фиг.9 показана диаграмма, иллюстрирующая аспекты контроля и управления в сети согласно настоящему изобретению;
на фиг.10а показана таблица, отражающая работу блоков согласно настоящему изобретению в любой момент времени в виде периодической временной последовательности;
на фиг.10b показан фрагмент сети на фиг.9, иллюстрирующий ее работу в последовательные моменты времени для двух компонентов фрагмента;
на фиг.11 показана блок-схема, соответствующая фиг.4, но демонстрирующая модифицированный вариант выполнения абонентского блока.
Подробное описание предпочтительных вариантов выполнения настоящего изобретения
Ниже предпочтительный вариант выполнения настоящего изобретения описан со ссылками на сопровождающие чертежи.
Фрагмент
Основным компонентом настоящего изобретения является фрагмент 10, один из вариантов выполнения которого иллюстрируется на фиг.2. Распределительная сеть согласно настоящему изобретению включает один или несколько таких фрагментов 10.
Каждый фрагмент 10 включает два или несколько абонентских блоков 12 и различные физические преграды 14, формирующие концептуальную границу фрагмента 10. Абонентские блоки 12 фрагмента 10 установлены, например, на соответствующих строениях 16, так что они находятся друг от друга на линии прямой видимости, а оптически непрозрачные части границы 14 фрагмента экранируют их от абонентских блоков 12 других фрагментов 10.
Физически каждый абонентский блок 12 состоит из двух основных частей: главного блока 18 связи, установленного вне помещения, и интерфейсного блока 20, установленного внутри помещения и предназначенного для организации доступа пользователя к сети. Эти две части 18, 20 соединены с помощью подходящего короткого кабеля. Это иллюстрируется на фиг.1а.
На фиг.1b в относительном масштабе показан известный беспроводной блок. Видно, что известный блок значительно больше (благодаря наличию антенны), чем абонентский блок 12 в настоящем изобретении. Кроме того, в отличие от известного блока абонентский блок 12 в настоящем изобретении не обязательно устанавливать выше конька крыши, но можно установить намного ниже.
Единственное требование к высоте установки абонентского блока 12 заключается в следующем:
1) эта высота должна быть достаточной для того, чтобы блок находился вне обычных маршрутов людей, транспортных средств и т.д.,
2) блок должен быть скрыт от людских глаз,
3) блок должен быть установлен достаточно низко, чтобы можно было использовать вертикальные (или почти вертикальные) поверхности строения 16 для формирования части границы 14 фрагмента,
На фиг.2 иллюстрируется, как можно практически сформировать типичный фрагмент.
Каждый абонентский блок 12 включает передающую подсистему и приемную подсистему, описанные ниже, и способен испускать и принимать ИК излучение по существу по всем азимутальным направлениям. По углу места диаграмма может быть более направленной. Кроме того, абонентские блоки 12 способны изменять эту диаграмму направленности излучения для учета неидеальных границ 14 фрагмента. Границу 14 фрагмента можно считать неправильным многоугольником с одной или несколькими сторонами, которые состоят из следующих элементов:
1) Непрозрачный барьер 24 (например, кирпичная стена).
2) Проем 26 (например, отсутствие стены, открытое пространство).
3) Комбинация предыдущих п.п.
Это иллюстрируется на фиг.3а. В реальной окружающей среде в зависимости от архитектуры, растительности, топографии и т.д. придется встретиться со многими разными типами границ фрагментов.
Проще всего сформировать фрагмент там, где возможная граница, безотносительно ее точной формы, имеет полностью непрозрачные элементы. Однако на практике придется иметь дело с неидеальными границами 28. Чтобы подходить к наибольшему числу различных типов границ фрагментов, абонентские блоки должны иметь следующие свойства:
1) Способность подавлять передачу и прием излучения в произвольных азимутальных диапазонах.
Одним из хорошо известных способов для этого является:
а) разделение на отдельные фиксированные сектора передающей подсистемы или приемной подсистемы, или и той, и другой,
б) такая организация этих фиксированных секторов, чтобы ось излучения для каждого из них была направлена в различных географических направлениях, но при этом все вместе формировали непрерывное целое;
в) уменьшение мощности, передаваемой одной или несколькими передающими секциями, или чувствительности одной или нескольких приемных станций, или и того, и другого. Таким способом можно изменить всенаправленную диаграмму приемо-передатчика, в принципе, в полном диапазоне 360 градусов, так что облучаться будут только 270, 180, 90 градусов, и т.д.
2) Возможность установки заподлицо со стеной строения или на небольшом (<1 м) кронштейне. Это необходимо для того, чтобы расположенные в линию абонентские блоки были “видимы” друг другу.
3) Способность менять мощность передатчика абонентского блока или чувствительность приемника или и того, и другого. Это позволяет расширить или ограничить рабочий диапазон блока.
На фиг.3b поясняется использование этих свойств во фрагменте с неидеальными границами. С границами такого вида по всей вероятности придется иметь дело в районе с высокой плотностью маловысотных строений, расположенных вдоль прямых подъездных дорог.
Предпочтительный вариант выполнения элементов абонентского блока 12 описан со ссылкой на фиг.4. Имеется четыре основных компонента:
1) Передающая ИК подсистема (ТХ) 30.
2) Приемная ИК подсистема (RX) 32.
3) Интерфейс 34 абонента, состоящий из 2 симплексных буферов (с алгоритмом FIFO – первым пришел – первым обслужен) – выходного 36 и входного 38.
4) Буфер 40 передачи (TX_FIFO).
Абонентский выходной буфер 36 связан с передающей ИК подсистемой 30, так же как и буфер 40 передачи. Приемная ИК подсистема 32 связана со входом 42 буфера 40 передачи и входного буфера 38 абонента. Имеются три основных тракта данных, представляющих интерес: приемный тракт, начальный тракт и транзитный тракт. ИК сигналы (обозначенные стрелкой R), обнаруженные приемником приемной подсистемы 32, преобразовываются в цифровой электронный вид и поступают либо во входной буфер 38 абонента (для данных, используемых в этом абонентском блоке – приемный тракт) или в буфер 40 передачи для последующей передачи в другой абонентский блок 12 (транзитный тракт). Буфер 40 передачи выдает данные в передающую подсистему 30, которая получает цифровые данные и преобразовывает их в соответствующие сигналы для передачи в виде ИК излучения (стрелка Т). Цифровые электронные данные из выходного буфера 36 абонента также подаются в передающую подсистему 30 для аналогичного преобразования и излучения (начальный тракт).
Для правильного функционирования системы работа различных абонентских блоков 12 во фрагменте 10 должна быть должным образом синхронизирована. Для этого в каждом абонентском блоке имеется контроллер 44, в котором хранится программа инструкций, выполняемых в регулярные моменты времени (“временные интервалы”), которые являются общими для всех других компонентов сети. Например, синхронизацию различных абонентских блоков 12 можно осуществить, обеспечив доступ для каждого абонентского блока 12 к сигналам внутренних часов, например, как это делается в глобальной системе позиционирования (GPS).
Основными видами инструкций, выполняемых абонентским блоком 12 под управлением контроллера 44, являются следующие:
1) Не делай ничего (холостая команда).
2) Возьми блок данных из внутреннего буфера 40 передачи, преобразуй и передай его.
3) Прими данные и добавь их в конец внутреннего буфера 40 передачи.
4) Прими данные и добавь их в конец входного интерфейсного буфера 38 абонента. Затем эти данные будут обработаны, как описано ниже.
5) Возьми блок данных из выходного буфера 36 абонента и передай данные в передающую подсистему 30 для преобразования и передачи.
Программа, хранящаяся в каждом абонентском блоке, может быть загружена беспроводным способом из центрального устройства управления работой сети.
На фиг.2 взаимные соединения, которые фактически используются, обозначены линиями между блоками. Важно отметить, что эта взаимосвязь может быть очень быстро изменена: либо для подключения/отключения абонентов от фрагмента 10, либо в ответ на изменение трафика во фрагменте 10, без необходимости реальных физических перемещений чего-либо (устанавливаемых блоков, монтажа и т.п.).
Модификация абонентского блока 12, изображенного на фиг.4, показана на фиг.11. Аналогичные компоненты обозначены одинаковыми позициями. В абонентском блоке 12 добавлены одна дополнительная передающая ИК подсистема (ТХ2) 130 и одна дополнительная приемная ИК подсистема (RX2) 132. Эти дополнительные передающая и приемная подсистемы 130, 132 соединены соответственно с выходным и входным буферами 36, 38 абонента и с буфером 40 передачи и контроллером 44 тем же способом, что и передающая и приемная подсистемы 30, 32. В этом случае угловым сегментам для передачи или приема сигнала, присущим абонентскому блоку 112, соответствуют свои передающая и приемная подсистемы 30, 32 или 130, 132, а контроллер 44 обеспечивает выбор соответствующей пары для передачи/приема в конкретном угловом сегменте. Таким образом, подавление сигналов несущей частоты, идущих из абонентского блока, может быть достигнуто выбором угловым диапазонов.
Для более эффективного управления можно добавить дополнительные передающие и приемные подсистемы.
Взаимосвязь фрагментов
Таким образом, в пределах фрагмента 10 можно организовать тракты связи между многими произвольными парами пользователей, обеспечивая их одновременную связь. Чтобы обеспечить пользователям связь с другими пользователями вне данного фрагмента 10, можно осуществить обмен сигналами между фрагментами 10, как показано на фиг.5.
Для этого фрагмент 10 может также содержать один или несколько абонентских блоков 12, которые связаны с блоками второго типа, называемыми блоками 46 связи фрагментов. Для достижения оптимальной эффективности использования спектра важно, чтобы эти соединения использовали другой носитель, нежели используемый для связи между абонентскими блоками 12 во фрагменте. В данном варианте выполнения настоящего изобретения это соединение выполнено с использованием коротких кабелей. Следовательно, блок 46 связи фрагментов “виден” абонентскому блоку 12 как его внутренний интерфейс. Абонентский блок, связанный таким образом, в дальнейшем будем называть “портальным” блоком 48. Обычно один портал 48 связан с одним блоком 46 связи фрагментов, а один блок 46 связи фрагментов связан с двумя или большим количеством порталов 48 в различных фрагментах 10.
Блок 46 связи фрагментов может быть или блоком для установки внутри помещения или блоком для установки вне помещения. Таким образом, блоки 46 связи фрагментов расположены там, где два или большее количество фрагментов по существу пространственно соседствуют, например находятся на противоположных сторонах строения. Совокупность связанных фрагментов иллюстрируется на фиг.6а. На этом чертеже для простоты показаны только блоки 46 связи фрагментов и границы 14 фрагментов.
Таким образом, глядя на блоки 46 связи фрагментов и абстрагируясь на минуту от абонентских блоков 12 во фрагментах 10, мы видим полную сеть в виде набора полностью взаимосвязанных блоков 46 связи фрагментов, как показано на фиг.6b. На этом чертеже линии соответствуют соединениям между блоками 46 связи фрагментов, поддерживаемым фрагментами 10 (то есть абонентскими блоками 12 и площадью, на которой они развернуты). При этом формируется мощная структура для передачи пользовательских данных. Имеется множество избыточных потенциально доступных маршрутов, что вносит существенный вклад в потенциальную пропускную способность сети, улучшает ее работу при перегрузках и значительно повышает ее надежность/пригодность.
Если по какой-либо причине абонентский блок 12 во фрагменте 10 выходит из строя, существенный по длительности перерыв в обслуживании будет иметь место только для абонента, непосредственно связанного с дефектным блоком. При обнаружении отказа блока соединения между фрагментами можно переопределить дистанционно, так что обслуживание других абонентов не нарушается. При необходимости можно сделать служебный звонок тому абоненту, чей блок вышел из строя, для замены абонентского блока 12; никаких других действий на местах установки блоков не требуется. Это является очень важный фактором.
Блок 46 связи фрагментов можно считать программируемым коммутатором, состоящим из компонентов, которые показаны на фиг.7, и содержащим две следующих подсистемы:
1) Несколько дуплексных интерфейсных буферов 50 – по одному на каждый подключенный абонентский блок 12.
2) Коммутатор 52, на который подаются сигналы из буферов 50 и который выдает данные в буферы 50.
Кроме того, для управления работой блока 46 связи фрагментов имеется контроллер 54 со внутренними часами, в результате чего в течение каждого временного интервала (см. выше) блок 46 связи фрагментов выполняет следующие операции:
1) Устанавливает таблицу маршрутизации коммутатора для данного интервала.
2) Считывает все входные буферы 50.
3) Использует коммутатор 52 согласно таблице переключений, так чтобы входные данные коммутатора переместились к соответствующим выходам коммутатора.
4) Добавляет данные из выходных портов коммутатора в выходные буферы 50.
Таким образом, пользовательские данные последовательно переносятся из исходного абонентского блока 12 в целевой абонентский блок 12, возможно, проходя по пути через несколько фрагментов и блоков 46 связи фрагментов.
Конечно, блоки 46 связи фрагментов могут также быть соединены беспроводными двухточечными линиями, например поддерживаемыми существующими ИК или радиоустройствами связи. Однако такому решению присущи потенциальные недостатки, заключающиеся в необходимости установки дополнительного устройства, проведения технического обслуживания и организации управления, и такое решение может породить проблемы, связанные с интерференцией сигнала в пределах фрагмента.
Чтобы понять, почему настоящее изобретение превосходит существующие технические решения с использованием пикоячеек, рассмотрим ситуацию, когда базовая станция соответствует блоку связи фрагментов, а выносные абонентские станции соответствуют абонентским блокам. Все выносные системы абонента в пикоячейке расположены на линии прямой видимости с базовой станцией (хотя не обязательно друг с другом) и лишь одна выносная система абонента связывается с базовой станцией. В статической ситуации такая система будет работать. Однако в этом подходе имеются недостатки по следующим причинам:
1) По мере роста системы с целью охвата большего количества абонентов понадобятся фрагменты/пикоячейки в произвольных точках. В модели выносная система абонента/базовая станция это потребует новой базовой станции. В модели с использование фрагментов все, что требуется, – это соединить блок 46 связи фрагментов с существующим абонентским блоком 12. Это и физически легче и дешевле.
2) Возможность полной/произвольной взаимосвязи абонентских блоков 12 позволяет организовать избыточную маршрутизацию в пределах фрагмента 10, например, для того, чтобы скомпенсировать временную потерю линии прямой видимости к порталу 48. В модели выносная система абонента/базовая станция такое решение невозможно.
3) Для достижения наилучшей эффективности использования спектра предпочтительно, чтобы все абонентские блоки 12 во фрагменте 10 находились на линии прямой видимости относительно друг друга. Однако это требование может быть смягчено на раннем этапе развитии сети согласно настоящему изобретению, т.е. возможны фрагменты с малой плотностью заполнения. Это означает, что все абонентские блоки 12 во фрагменте 10 могут быть связаны с соответствующим блоком 46 связи фрагментов посредством результирующей логической сети, образованной соединениями во фрагменте 10. Модель с пикоячейками лишена такой гибкости.
Топология РМР, или топология пикоячеек, фактически представляет собой пример одной из многой топологий, осуществляемых с использованием программируемости компонентов фрагмента (см. ниже). Поэтому настоящее изобретение охватывает известные топологии систем, но сильнее обобщает их в приложении к системам с высокой скоростью передачи при высокой плотности абонентов.
Соединение с обратной сетью
Если абоненты требуют услуг, доступных только посредством соединения с базовой сетью (или магистралью) (например, для связи с другими абонентами, не использующими настоящее изобретение), используется блок третьего типа: интерфейс 56 с базовой сетью, как показано на фиг.6b. Это обеспечивает перемещение сигналов из сегмента 58 сети согласно настоящему изобретению в магистраль 60 базовой сети и обратно. Этот тип соединения требует больших функциональных возможностей, чем требовалось для блока 46 связи фрагментов, и необходим в гораздо в меньшем количестве мест в сети согласно настоящему изобретению, чем блоки 46 связи фрагментов. Следовательно, финансовые соображения диктуют потребность в дополнительном специализированном блоке, призванном выполнить эту задачу. В данной зоне может потребоваться один или несколько интерфейсов 56 с базовой сетью. На фиг.6 интерфейсы 56 с базовой сетью показаны в виде прямоугольников и связаны с одним или несколькими блоками связи фрагментов, предпочтительно посредством кабелей.
Интерфейс 56 с базовой сетью относится исключительно к сопряжению данных, а не к покрытию абонентской зоны. Поэтому интерфейс 56 с базовой сетью может быть расположен в произвольном месте сети, но предпочтительно поблизости от соответствующей точки присутствия базовой сети.
Данные от всех подключенных абонентов достигают интерфейса 56 с базовой сетью с использованием временного скремблирования, при котором последовательные временные интервалы с большой вероятностью будут содержать данные от различных пользователей. Поэтому основной функцией интерфейса 56 с базовой сетью должна быть обработка таких объединенных потоков абонентских данных и передача их после соответствующего декодирования в базовую сеть.
Интерфейс 56 с базовой сетью может быть выполнен так, что это дескремблирование отделено от стандартного объединения данных и сопряжения с базовой сетью. Таким образом, сеть согласно настоящему изобретению может быть независима от рабочих транспортных протоколов, используемых сетевым оператором и абонентами.
По своим внутренним функциональным возможностям интерфейс 56 с базовой сетью аналогичен блоку 46 связи фрагментов, как показано на фиг.8. Однако дополнительной функцией интерфейса 56 с базовой сетью является сопряжение со стандартной базовой сетью. Как показано на фиг.8, интерфейс с базовой сетью можно рассматривать как состоящий из двух половин 62, 64, обозначенных как “часть Р” и “часть S”. В части Р данные обрабатываются согласно принципам и процессам, присущим настоящему изобретению. В части S обработка данных происходит согласно некоторому стандартному транспортному протоколу, например, с асинхронным режимом передачи (ATM), с поэлементной обработкой данных (IP) и т.д.
Основными подсистемами интерфейса 56 с базовой сетью являются следующие подситсемы:
1) Несколько дуплексных интерфейсных буферов 66 – по одному на каждый подключенный блок 46 связи фрагментов.
2) Коммутатор 68, который связан с интерфейсными буферами 66.
3) Служебная оконечная подсистема 70, которая состоит из нескольких буферов (как правило, по одному на каждое служебное соединение в сегменте сети. Эти буферы связаны, с одной стороны, с коммутатором 68 и, с другой стороны, – с соответствующим служебным мультиплексором (шлюз 72 базовой сети).
4) Шлюз 72 базовой сети (готовый компонент) связывает служебную оконечную подсистему со стандартным интерфейсом 74 базовой сети (например, OC-3/STS-3C, STM-4 и т.д.).
Контроллер 76, содержащий внутренние часы 78, так управляет работой интерфейса 56 с базовой сетью, что последний выполняет следующие функции в каждый временной такт:
1) Считывает данные из блока связи фрагментов 66 (алгоритм: первым пришел – первым обслужен) и помещает такие данные в соответствующий портовый буфер коммутатора 70.
2) Согласно таблице маршрутизации коммутатора, перемещает данные, соответствующие временному такту, со стороны входного порта в сторону выходного порта. Как правило, для каждого активного в данный момент пользователя имеется один выходной порт. Поэтому работа коммутатора 68 для интерфейса с базовой станцией должна заключаться в перемещении данных во временной интервал Tj из любого порта (k) в соответствующий канал (х).
3) Вновь согласно таблице маршрутизации коммутатора перемещает данные из канала х пользователя во входной порт с соответствующим номером и соответствующим временным интервалом. (Действие, комплиментарное действию 2).
3) Данные для каждого пользовательского канала буферизуются служебным оконечным блоком 70 для согласования со стандартным транспортным протоколом базовой сети, поддерживаемым интерфейсом 72 с базовой сетью. Выход служебного оконечного блока 70 представляет собой набор схем передачи данных, пригодных для агрегирования внешним мультиплексором 72.
Работа системы при сквозном режиме обслуживания
Чтобы в основном понять, как следует формировать компоненты для того, чтобы сеть могла функционировать, рассмотрим следующее.
В настоящем изобретении используется множественный доступ с временным разделением, который является стандартным техническим решением, при синхронизации, описанной выше. Согласно этому можно визуализировать работу всех блоков в сегменте сети посредством диаграммы, как показано на фиг.10а. На этом чертеже время, поделенное на системные временные интервалы: Т0, Т1, Т2 и т.д., отложено по оси X. Ось Y разделена на участки, соответствующие абонентским блокам 12, блокам 46 связи фрагментов и интерфейсам с базовой сетью. Каждая клетка 76 в этой таблице может использоваться для представления того, чем каждый такой блок занят в конкретном временном интервале. Ось времени является циклической, т.е. после некоторого количества временных интервалов все действия повторяются. В последующем описании мы называем этот период повторения “суперциклом”.
Кроме того, на фиг.10а показаны две “цепи”, обозначенные “цепь А” и “цепь В” на участке сети, показанной на фиг.10b. Работа каждой такой цепи поддерживается согласованной работой соответствующих абонентских блоков 12 и блоков 46 связи фрагментов, как описано выше. Например, пользователь цепи В затребовал и получил вдвое большую скорость обмена информацией, чем пользователь цепи А. Таким образом, цепь В использует два временных интервала, в то время как цепь А использует только один временной интервал.
Как обсуждается ниже, программное обеспечение для управления работой сети отвечает за конфигурацию и работу соответствующего устройства (то есть абонентского блока 12, таблицу маршрутизации блока связи фрагментов, таблицу маршрутизации интерфейса с базовой сетью) в каждый временной интервал в суперцикле (или в каждой клетке вышеупомянутой таблицы) с целью достижения требуемой коммутации данных. Управляющее программное обеспечение выполняет эту задачу параллельно работе сети в то время, когда пользователи производят запросы на обслуживание.
Таблица на фиг.10а после конфигурирования программным обеспечением для управления сетью может рассматриваться как набор горизонтальных полос: одна на каждый блок 12, 46 и т.д., причем в этом случае каждая полоса соответствует циклическому списку подробных рабочих инструкций (или “рабочей программе”) для каждого блока. Это иллюстрируется на фиг.10b для соответствующего блока 46 связи фрагментов и абонентского блока 12. Именно эти и связанные с ними списки команд загружаются системой управления в сетевой блок и обеспечивают работу сети.
Управление работой сети
Конфигурация и другое управление компонентами системы согласно настоящему изобретению осуществляется дистанционно с использованием серверного программного обеспечения системы 78 управления сетью, например, сетевыми операторами из центра 80 управления сетью, или из диспетчерской по управлению информацией (в случае частных сетей). Это иллюстрируется на фиг.9.
В процессе обычной работы, когда сеть обеспечивает трафик абонента, как правило, никакого вмешательства со стороны системы управления сетью не требуется. Абонентский блок, блок связи фрагментов и интерфейс с базовой сетью работают автономно, хотя и согласовано, как описано выше, и обеспечивают передачу данных по сети. Однако вмешательство системы управления сетью потребуются, если элементы сети необходимо сконфигурировать или переконфигурировать.
В этой связи в системе 78 управления сетью используется отдельный центр 81 контроля и управления сетью, который посылает команды и данные в элементы сети (абонентский блок 12, блок 46 связи фрагментов и т.д.) и принимает их посредством одного или нескольких “элементных проксименеджеров” 82, расположенных в удобных точках сети (например, в интерфейсе с базовой сетью), как хорошо известно в отношении сетей связи общего пользования.
Управляющая сеть, используемая центром 81 контроля и управления сетью, может быть осуществлена поверх сетевых услуг, осуществляемых в рамках настоящего изобретения: так называемая “внутриполосная” управляющая сеть – вновь хорошо известная среди сетей связи общего пользования.
Стандартные и оперативные процессы
Как сказано выше, экономические факторы в отношении элементов сети подразумевают, что внутренние часы не являются идеальными и, следовательно, характеризуются дрейфом, т.е. через какое-то время синхросигнал уйдет вперед или отстанет по сравнению с стандартным синхросигналом для сети. Очень точные стандартные синхросигналы можно получить от специально предназначенных для этих целей внутренних часов, например атомных часов на основе цезия, или, что, в принципе, удобнее, от сигналов, полученных из спутниковой сети глобальной системы позиционирования (GPS). Например, непрерывная синхронизация блоков может быть достигнута следующим способом.
В качестве части стандартной операции все элементы сети периодически передают свои внутренние синхросигналы при синхронизации соответствующим стандартным синхросигналом.
Аналогично в качестве части стандартной операции все блоки периодически включают свои приемники для обнаружения этих сигналов. Эта информация может использоваться блоками для синхронизации своих внутренних часов (различными известными способами), а затем блоки ретранслируют сигналы согласно п.1 (см. выше).
Система согласно настоящему изобретению должна иметь внутреннюю синхронизацию, как описано выше. Однако эта синхронизация не обязательно должна совпадать или быть сходной с какой бы то ни было синхронизацией на уровне пользователя, например в стандарте Е1/Т1, используемом в настоящем изобретении.
Установка сети
Согласно настоящему изобретению предоставление услуг в пределах нового региона достигается следующими действиями со стороны сетевого оператора:
1) Определение потенциальных клиентов и сроков для предоставления услуг данного вида.
2) Создание сетевой инфраструктуры.
3) Работа сети в установившемся режиме – например, обеспечение согласованного уровня обслуживания, устранение неисправностей и реагирование на претензии абонентов.
Архитектура настоящего изобретения обеспечивает большую гибкость (в отличие от систем с пикоячейками и проводных систем) относительно времени и организации этих действий, а что именно будет использовано зависит от стратегии конкретного оператора и финансирования.
Предпочтительно, чтобы предоставление услуг в пределах нового региона включало следующие шаги:
а) Определение с помощью цифровой карты местности или посредством наблюдения на местности, какие именно существующие строительные конструкции в секторе можно использовать в качестве фрагментов.
б) Размещение выносных блоков на строениях так, чтобы образовался работающий фрагмент; для облегчения работы возможно использование географической информационной системы/цифровой модели местности.
в) Расчет “рабочей программы” для каждого абонентского блока и блока связи фрагментов в сети (рабочий фрагмент). Эта рабочая программа указывает своему блоку, в какой конкретно момент времени он может работать на прием или передачу (или как на прием, так и на передачу).
г) Загрузка рабочей программы в каждый блок в сети.
д) Команда всем блокам в сети начать выполнение своей рабочей программы. Это позволит осуществлять соединения на физическом уровне между конкретными пунктами в сети.
е) При изменении сети – за счет добавления или удаления абонентов или изменения контракта на поставку услуг – вновь разрабатывают рабочие программы для соответствующих блоков, загружают их и дают команду на выполнение, как описано выше.
ж) Подключение к сети подходящего, по возможности стандартного, оборудования там, где это необходимо: во владениях абонента и в интерфейсе с базовой сетью.
Ниже в качестве примера поясняется создание в новом регионе сети согласно настоящему изобретению.
А) Определение возможной структуры фрагментов в регионе
Это осуществляется соответствующей сетевой планирующей программой с использованием в качестве входных данных цифровой карты или фотографических данных. В отличие от известных систем, для которых требуются трехмерные данные, поскольку для таких систем критичной является конфигурация крыши строений, для планировки согласно настоящему изобретению требуются, как правило, более простые двумерные данные. Это имеет место потому, что настоящая сеть, состоящая из фрагментов 10, определяется преимущественно вертикальными преградами, например стенами, или их отсутствием. Такую необходимую информацию о расположении стен строений и т.п. можно получить из данных для двумерной карты.
В точки зрения стратегии сооружения сети существует множество возможностей, например следующие:
1) Непрерывный органический рост вовне от соответствующей точки присутствия основной сети и интерфейса 56 с базовой сетью (модель “кристаллического роста”) – все абонентские блоки 12 приносят прибыль.
2) Первая фаза: строительство инфраструктуры – сеть “скелет” с малой плотностью из абонентских блоков 12 и блоков 46 связи фрагментов, не все из которых приносят прибыль. Вторая фаза: увеличение плотности скелетной сети путем добавления приносящих доход абонентов в различных областях “скелета”.
3) Сочетание “кристаллического” и “скелетного” методов роста.
Настоящее изобретение способно поддержать любой способ, используемый на практике.
Б) Входные данные на основе продаж и маркетинговых исследований, установка выносных блоков и соединение соответствующих устройств во владениях абонента с блоками, устанавливаемыми внутри помещений.
Как отмечено выше, абонентские блоки 12 и блоки 46 связи фрагментов требуют простой установки – максимум на высоте карнизов. Предусмотрено, что вначале эту установку проделает оператор (или подрядчики), но не сам абонент.
В) Расчет рабочих программ для абонентских блоков, блоков связи фрагментов и интерфейсов с базовой сетью.
Здесь используются вышеописанные правила, обеспечивающие ситуацию, при которой системные блоки уже загружены соответствующими наборами инструкций, поддерживающими загрузку параметров существующей или будущей сети.
Г) Загрузка рабочих программ во все блоки.
Когда система рассчитана, в ответ на абонентский запрос на обслуживание в каждый блок системы высылается рабочая программа (с использованием сети управления).
Однако программа начинает выполняться не немедленно после загрузки, а на следующем шаге.
Д) Когда все программы были успешно получены, посылка инструкции для всех блоков на начало выполнения их программ.
Этот “двухэтапный” подход обеспечивает, что структура сети не окажется поврежденной вследствие неподходящей программы, что могло бы случиться, если по каким-либо причинам одна или несколько загрузок не увенчались успехом.
Е) Проведение базового рабочего теста до начала устойчивой работы.
Когда все программы запущены, это означает, что, как правило, все пользователи осуществили желательное соединение. На этом шаге производится проверка того, что это соединение готово к использованию, до того как абонент начал пересылку данных; при этом производятся сквозные тесты и проверяются рабочие характеристики. Если эти тесты прошли, абонент может посылать данные. В противном случае оператору необходимо провести дополнительную диагностическую работу.
Ж) При изменении обслуживания или конфигурации сети определение, какие блоки будут этим затронуты, а затем повторение операций, начиная с шага С, как описано выше.
Если абонент желает изменить свое устройство: либо удалить его, либо изменить некоторые его параметры, (например, повысить скорость обмена данных), то старые ресурсы высвобождают (в удобное время), и рассчитывают новую конфигурацию при одновременной обработке сетью ограничений на остальные цепи, обеспечивающие трафик.
Альтернативы
Приведенное выше описание касается некоторых предпочтительных вариантов выполнения настоящего изобретения. Понятно, что возможны различные изменения, и последующие альтернативные варианты также полностью находятся в объеме настоящего изобретения.
1) Предпочтительно, чтобы все абонентские блоки 12 были зафиксированы. Однако возможна некоторая степень подвижности или мобильности.
2) Хотя предпочтительно, чтобы главный модуль абонентского блока 12 был установлен на внешней стороне строения, он может быть установлен в закрытом помещении позади окна или другого подходящего проема.
3) Чтобы портальный абонентский блок 48 давал прибыль, так же как обычные непортальные абонентские блоки 12, можно предусмотреть, чтобы абонентский блок 12 был соединен с оборудованием, размещенном во владениях абонента, так же как и с блоком 46 связи фрагментов.
4) Изобретение сосредоточено на использовании в качестве несущей среды ИК излучения, однако в принципе можно использовать другие более высокочастотные области спектра (например, видимое световое излучение, ультрафиолетовое излучение).
Как описано выше, настоящее изобретение обладает множеством существенных преимуществ, по меньшей мере некоторые из которых перечислены ниже.
Простота главной конструкции изделия – экономическая и финансовая стороны
1) Устройства для доступа к сети могут быть построены из изделий только 3 типов, что перспективно для массового использования в местах с высокой плотностью абонентов.
2) Изделия могут быть по существу малых размеров и не требуют установки на крыше, что устраняет необходимость согласований при развертывании системы.
3) Отсутствует необходимость в движущихся частях для ориентирования изделий или переориентирования уже установленных изделий.
4) Основа технического решения лежит в физическом слое/управлении доступа к среде – нет ограничений на конечное устройство/носитель и на услуги/технологии: например, возможна передача речи, обычных данных, данных мультимедиа.
5) Гибкость конструктивного решения: возможность встраивания в готовую систему внешних решений с асинхронным режимом передачи (ATM), с поэлементной обработкой данных (IP) и т.д.
6) Изготовление и тестирование могут быть упрощены, что снизит количество блоков и объем испытаний при подключении.
7) Количество и интенсивность технических разработок, а также объем тестового оборудования и необходимая квалификация могут быть снижены.
8) Сроки разработки могут быть сокращены.
9) Объем работ, связанных с пользователем – оборудование и программное обеспечение – можно сократить.
10) Количество необходимых внешних решений и оплата лицензий могут быть снижены.
11) Объем механических работ – монтаж на месте, формовка и т.п. – можно уменьшить.
12) Включение в структуру и сложность изготовления – количество поставщиков – можно уменьшить.
Выбор системной архитектуры
1) Абонентские блоки могут быть развернуты с очень высокой плотностью уже с первого дня. Окончательная плотность определяется скоростью беспроводной передачи, а не изделием или системной архитектурой.
2) Система имеет встроенную избыточность плюс возможность достижения дополнительной избыточности в более высоких слоях.
3) Система по существу решает проблемы, связанные с распространением ИК излучения в неблагоприятных метеорологических условиях.
4) Абонентские блоки могут использоваться как в закрытом помещении, так и на открытом воздухе – возможны оба случая.
5) Система может использоваться как для многоабонентской доставки сообщений/вещания, так и для двухточечной связи.
Преодоление ограничений географического характера
Система использует основные особенности городской и полугородской географии, которые создают проблемы для известных систем.
Преодоление задержек, связанных с проблемами согласования
1) Не требуется лицензии на использование радиосвязи.
2) Потенциально небольшие размеры облегчают проблемы согласования при планировании.
3) Нет необходимости придерживаться жестких стандартов (Европейского института стандартизации в области связи).
Основные выгоды для сетевого оператора
1) Большая скорость обмена данными доступна, в принципе, всем клиентам.
2) Доступен богатый выбор доходных услуг различных типов и классов.
3) Авансовые капитальные затраты низки – отсутствуют базовые станции и т.п.
4) Точка самоокупаемости достигается раньше – чистый доход появляется намного быстрее.
5) В настоящее время для использования ИК излучения не требуется никакого регулирующего лицензирования.
6) Установленный абонентский блок, вероятно, будет иметь небольшие размеры и не потребует многих согласований и т.п. Не требуются ни установка на большой высоте, ни специальная ориентация. Это значительно облегчает и удешевляет установку с точки зрения трудовых ресурсов, охраны здоровья и обеспечения безопасности. Кроме того, можно доверить установку и сборку абонентских блоков самим абонентам.
7) Гибкое планирование сети и управление ею.
Методы/процедуры для управления сетью/системой могут быть по существу автоматизированными и простыми. Нет необходимости ориентировать абонентский блок при его установке или впоследствии.
Некоторые важные аспекты настоящего изобретения, касающиеся его перспектив, излагаются ниже.
1) При создании фрагмента и, следовательно, для создания жизнеспособной сети использование невидимости (то есть преград, обусловленных строениями) как существенного признака системы является столь же важным фактором, как и использование видимости.
2) Фрагменты представляют собой новое средство для мультиплексирования с пространственным разделением сигналов, что позволяет достичь очень высокого повторного использования спектра. Это особенно важно для инфракрасного излучения, где средства генерации и приема фактически ограничены одним частотным каналом в отличие от конкурентоспособных радиосистем.
3) Использование по существу всенаправленных инфракрасных блоков сглаживает проблемы, связанные с их выравниванием и ориентацией.
4) Использование блоков связи фрагментов и коротких кабелей для взаимного соединения фрагментов.
5) Использование для организации работы системы простых, дешевых, универсально предварительно программируемых (или управляемых данными) блоков.
6) Использование для достижения необходимой маршрутизации данных чистой структуры множественного доступа с временным разделением. (Ее эффективность следует из комбинации с п.2 выше). Это сделано без необходимости использования конкретных протоколов маршрутизации (например, с асинхронным режимом передачи (ATM), с поэлементной обработкой данных (IP) и т.д.) и, следовательно, допускает, чтобы сеть была полностью аналогична проводной сети для передачи необработанных данных.
Дополнительные конкретные признаки вышеописанного изобретения перечислены в следующих пунктах, поясняющих гибкость и отличительную природу настоящего изобретения.
1) Оборудование абонента может быть стационарным, до некоторой степени мобильным, или комбинацией перечисленного.
2) Блоки работают по методу соединения равноправных узлов в отличие от сотовых систем: базовая станция/отдаленная станция.
3) Для настоящей системы не требуется базовых станций или любого другого высококлассного приемо-передающего устройства или стационарных сооружений.
4) На пути между оборудованием абонента и блоком связи фрагментов информация переносится за несколько операций или пересылок.
5) Посредством блоков связи фрагментов фрагменты связаны произвольным образом, что способствует наиболее эффективной передаче сигналов между локальным абонентом или абонентами и базовой сетью.
6) Абонентские блоки и блоки связи фрагментов можно рассматривать как систему фрагментов из связанных приемо-передатчиков, покрывающих географическую область.
7) Использование преимущественно беспроводной передачи устраняет необходимость подземной или воздушной прокладки кабелей. Фрагменты связаны посредством блоков связи фрагментов, которые обычно включают короткие (<100 м) кабели, идущие между оптическими блоками и соединительным модулем.
8) Предпочтительно чтобы абонентские блоки осуществляли передачу только с двумя основными целями: 1) периодически – для распространения по сети синхроданных и 2) при передаче пользовательской или системной информации.
9) Предпочтительно чтобы абонентские блоки осуществляли прием только с двумя основными целями: 1) периодически – для получения синхроданных для синхронизации блока и 2) при приеме пользовательской или системной информации.
10) Абонентский блок связан с внутренним интерфейсом пользователя посредством обычного короткого (<100 м) кабеля.
11) В одном из вариантов настоящего изобретения абонентские блоки установлены на конструкциях (например строениях, фонарных столбах, мостах и т.п.). Эти конструкции могут находиться, а могут и не находиться во владениях абонента. Абонентского блок не обязан быть связан с каким-либо абонентом (в этом случае вся информация ретранслируется блоком; ничего не используется и ничего не вырабатывается).
12) Один абонентский блок может обслуживать более одного пользователя; например в квартирном блоке (или в другом блоке для со множеством жильцов).
13) Настоящая система использует диаграмму направленности излучения, которая является по существу всенаправленной по азимуту (в горизонтальной плоскости) и направленной по углу места (в вертикальной плоскости). Это устраняет потребность в движущихся частях для реориентации и облегчает размещение и установку.
14) Для точной подстройки картины излучения с учетом неудобной конфигурации фрагмента всенаправленную диаграмму излучения можно изменить путем гашения излучения в различных угловых диапазонах. Это диаметрально отличается от ячеистых систем.
15) В настоящей системе используется излучение малой мощности, в результате чего: 1) при массовом развертывании она безопасна для глаз и 2) диапазон свободного излучения (см. следующий пункт) ограничен максимальным значением 150 м.
16) Использование этого диапазона означает, что частично или полностью устранены проблемы, связанные с поглощением и рассеянием в атмосфере по сравнению с системами дальнего действия, в особенности с использованием инфракрасного излучения.
17) Одна из функций фрагмента заключается в усилении передаваемого сигнала, чтобы нейтрализовать влияние погодных условий без неблагоприятного воздействия на интерференцию.
18) Настоящей системе по существу присуще использование мультиплексирования с пространственным разделением, при котором используется типичная для массового строительства география застройки и конструкции зданий, так что излучение ограничено четко определенными малыми географическими областями или “фрагментами”. То, что в других системах считается проблемой, используется на благо настоящей системы.
19) Поэтому абонентские блоки предпочтительно устанавливают ниже высоты крыши, что позволяет формировать ограниченные фрагменты. Поэтому фрагменты определяются физическими преградами, имеющимися в искусственной/естественной окружающей среде.
20) В принципе, фрагменты могут физически пересекаться. Например, при высотной городской застройке вследствие ограниченности диаграммы направленности излучения блоков в вертикальном направлении установка блоков в различных плоскостях по высоте позволяет сформировать отдельные фрагменты, что обеспечивает достижение даже более эффективного повторного использования спектра и, в принципе, обеспечивает большую скорость передачи данных для абонентов.
21) В принципе трафик может иметь конечной целью или источником любой абонентский блок в сети; что обеспечивает гибкость структуры и рост сети.
22) В настоящем изобретении предпочтительно, чтобы все абонентские блоки во фрагменте находились в прямой видимости друг от друга. Это формирует логически полностью связанную топологию сети.
23) В случае единичного отказа абонентского блока это скажется только на прерывании обслуживания конкретного абонента или абонентов, связанных с этим абонентским блоком. В принципе, благодаря топологии с взаимосвязью фрагментов любой другой блок во фрагменте может принять на себя обслуживание других абонентов.
24) Для уменьшения флуктуации сигналов каждый абонент имеет обратную связь либо с интерфейсом с базовой сетью, либо с другим абонентским блоком предпочтительно посредством по меньшей мере одного заданного тракта. Такой тракт состоит из нескольких каскадов между абонентскими блоками и блоками связи фрагментов.
25) Вследствие всенаправленности излучения абонентских блоков в принципе может быть рассчитано несколько наборов трактов, которые можно использовать с небольшой задержкой для трафика.
26) И вновь, вследствие этой взаимосвязи абонентский блок может быть логически связан больше чем с одним другим абонентским блоком.
27) Продолжительность взаимного соединения абонентских блоков определяет скорость передачи данных для данного логического соединения. Его можно гибко изменить с помощью системы управления, как правило за очень малое время, с учетом изменения трафика и запросов (например, в течение дня).
28) Настоящее изобретение предлагает физическое средство для соединения абонентов друг с другом или с интерфейсом базовой сети. С точки зрения абонента это физическое средство соединения в принципе полностью эквивалентно заранее заданному проводному соединению.
29) Кроме того, настоящее изобретение предлагает средства, позволяющие нескольким несвязанным пользователям одновременно пользоваться одним и тем же физическим соединением.
30) Преимущество схемы с транспортным протоколом, соответствующим независимым соединениям, состоит в том, что операторы или пользователи не обязаны использовать какое-либо конкретное техническое решение (например, с асинхронным режимом передачи (ATM) или с поэлементной обработкой данных (IP)) но, в принципе, могут использовать существующее оборудование.
31) Абонентский блок может одновременно как принимать, так и передавать информацию. Это свойство обусловлено таблицей текущей конфигурации абонентского блока и не является фундаментальной особенностью его архитектуры или конструкции.
32) В целом система фрагментов действует как распределенный коммутатор.
33) В связи с блоками внешнего развертывания предпочтительно иметь систему управления и планирования сети, с помощью которой оператор может конфигурировать систему и контролировать ее работу. Центральная система управления и планирования связана с блоками внешнего развертывания внутриполосной управляющей сетью, то есть поддерживаемой непосредственно сетью из фрагментов.
34) Когда абонент делает запрос или изменяет контракт на обслуживание, предпочтительно, чтобы система планирования сети использовалась для определения одного или нескольких трактов межсоединений этого абонента с выбранной им целью. Последняя может быть другим абонентом (как, например, в сценарии, используемом в объектах масштаба кампуса или в локальных сетях) или магистральной сетью.
35) Чтобы отдельные компоненты внешнего развертывания системы были по возможности наиболее простыми, их работа определяется преимущественно данными “программы”, загружаемой в них из системы управления. Эти данные, например, определяют, когда абонентский блок осуществляет передачу, а когда прием. Путем выбора подходящих конфигураций соответствующих данных в каждом абонентском блоке в каждом фрагменте можно осуществить перенос данных с высокой скоростью относительно “бездействующими” блоками. Это означает, что затраты на разработку и производственные затраты, а также риск можно уменьшить за счет более сложного управления. При этом отпадает необходимость в том, чтобы каждый абонентский блок имел логические блоки для работы в сети.
36) В принципе, приемо-передатчик абонентского блока может работать на любой частоте при условии, что излучение быстро затухает благодаря структурам, которыми ограничена система.
37) Предпочтительно чтобы в системе использовалась передача и прием инфракрасного излучения, поскольку в настоящее время для этого не требуется получение какой-либо лицензии.
38) Абонентские блоки можно запрограммировать на использовании более одной частоты, если это позволяют сделать средства генерации и обнаружения (и это экономически необходимо).
39) В абонентском блоке можно использовать различное поляризованное излучение, например циркулярно поляризованное. Это должно сгладить любые эффекты, связанные с отражением в пределах фрагмента.
40) Благодаря возможности организации множества трактов можно создать резервный тракт или избыточные тракты, что обеспечивает высокую гибкость системы.
41) Во многих системах телесвязи информацию, которая проходит по сети, нужно кодироваться и декодировать по мере ее прохождения в различных средах передачи сигнала. Это особенно верно для сотовых систем радиосвязи с использованием в качестве собственного транспортного протокола протокола с асинхронным режимом передачи (ATM). На каждой пересылке все безпроводные сигналы, предназначенные для данного узла, необходимо декодировать в соответствующей ячейке ATM, а остальные сигналы нужно перекодировать и передать. Это означает, что для каждой пересылки необходимы ATM коммутатор и протокольный стек. Этого не требуется для абонентского блока во фрагменте, поскольку архитектура разработана так, что информацию необходимо кодировать и декодировать лишь в начальной и конечной точках, но ни в какой промежуточной. Это означает, что конструкция абонентских блоков может быть очень простой, т.е. блоки являются дешевыми. При необходимости информацию декодируют в дополнительном интерфейсе абонента, прилагаемом к абонентскому блоку. Архитектура фрагментной сети поддерживает любой транспортный протокол высокого уровня (например, с асинхронным режимом передачи (ATM), с поэлементной обработкой данных (IP)) без операций кодирования/декодирования, в которых нет необходимости. Это означает, что большая часть дальнейшей разработки этих устройств не связано с этими сложными внешними стандартами, что является существенным фактором для сокращения затрат на разработку, риска и сроков выхода на рынок.
42) В принципе, абонентские блоки могут быть связаны так, чтобы обеспечить “трансляцию” или, более строго, многоабонентскую доставку сообщений. Этот режим, вероятно, понравится операторам/клиентам, использующим кабельные сети для трансляции видеопрограмм, когда множество пользователей с высокой вероятностью в одно и то же время смотрит одно и то же (например трансляцию спортивных событий, новости и т.д.).
Формула изобретения
1. Сетевая система для массовой широкополосной связи, включающая
множество зон (10), каждая из которых охватывает множество абонентов, имеющих средства (12) беспроводной связи для передачи и приема сигналов внутри зоны, и интерфейсные средства (46) для соединения множества зон соответственно между собой,
причем интерфейсные средства используют вид средств связи, отличный от используемого внутри зон,
отличающаяся тем, что каждая зона организована в виде фрагмента (10), содержащего
множество абонентстких блоков (12), каждый из которых связан с соответствующим абонентским блоком, для передачи сигналов другим абонентам и для получения сигналов от других абонентов внутри фрагмента, причем множество абонентских блоков внутри фрагмента находится на линии прямой видимости друг с другом,
причем каждый абонентский блок содержит интерфейсный блок (20), устанавливаемый внутри помещения и предназначенный для организации доступа пользователя к системе, и блок связи (18), устанавливаемый вне помещения и предназначенный для передачи и приема сигналов,
каждый абонентский блок способен встраивать сигналы в сигнал на несущей частоте, лежащей в диапазоне от инфракрасного до ультрафиолетового излучения, и передавать сигнал на несущей частоте, по существу, по всем направлениям,
при этом объекты (16, 24, 26) внутри и/или вокруг соответствующей зоны используются для ограничения картины распространения сигнала на несущей частоте и для задания границ (14) фрагмента, а
интерфейсные средства содержат блоки связи фрагментов, соединяющие между собой соответствующие фрагменты, причем блоки связи фрагментов связаны с соответствующими абонентскими блоками, по меньшей мере двух соседних фрагментов.
2. Система по п.1, отличающаяся тем, что по меньшей мере некоторые из абонентских блоков в пределах соответствующего фрагмента снабжены средствами (44) для подавления передачи и приема сигналов на несущей частоте.
3. Система по п.2, отличающаяся тем, что средства подавления способны подавить передачу и прием сигналов в заданных угловых диапазонах.
4. Система по п.1, отличающаяся тем, что каждый абонентский блок содержит контроллер (44) для координации работы абонентских блоков в пределах соответствующего фрагмента.
5. Система по п.1, отличающаяся тем, что указанные объекты, задающие границы фрагмента, содержат один или более барьеров (16, 24), не прозрачных для сигнала на несущей частоте.
6. Система по п.1, отличающаяся тем, что каждый блок связи фрагментов способен связываться с соответствующими абонентскими блоками (48) посредством соответствующих соединительных кабелей.
7. Система по п.1, отличающаяся тем, что дополнительно содержит один или более блоков (56) связи с базовой сетью, предназначенных для формирования интерфейса между указанной сетевой системой и обычной магистральной сетью (60).
8. Система по п.7, отличающаяся тем, что соответствующие блоки связи фрагментов осуществляют связь с блоком (блоками) связи с базовой сетью.
9. Система по п.7 или 8, отличающаяся тем, что блок связи с базовой сетью содержит первую схему (62), предназначенную для связи с соответствующим блоком связи фрагментов, вторую схему (64), предназначенную для связи с обычной магистральной сетью с использованием стандартного транспортного протокола, и шлюз (72) базовой сети, предназначенный для формирования интерфейса между первой и второй схемами.
10. Система по любому из пп.1-8, отличающаяся тем, что она дополнительно содержит систему управления сетью (78), которая координирует работу элементов сетевой системы с использованием режима мультиплексирования.
11. Система по п.10, отличающаяся тем, что режим мультиплексирования является режимом мультиплексирования с временным разделением сигнала.
12. Способ широкополосной массовой связи, включающий
формирование множества зон (10), каждая из которых охватывает множество абонентов, имеющих средства (12) беспроводной связи для передачи и приема сигналов внутри зоны, и
соединение множества зон соответственно между собой с помощью интерфейсных средств (46), причем интерфейсные средства используют вид связи, отличный от используемого внутри зон,
и характеризующийся
организацией каждой зоны в виде фрагмента (10), при этом организация зоны включает
обеспечение каждого из множества абонентов соответствующим абонентским блоком (12), предназначенным для передачи сигналов другим абонентам и приема сигналов от других абонентов внутри фрагмента, причем каждый абонентский блок содержит интерфейсный блок (20), устанавливаемый внутри помещения и предназначенный для организации доступа пользователя к системе, и блок связи (18), устанавливаемый вне помещения и предназначенный для передачи и приема сигналов,
расположение множества абонентских блоков внутри фрагмента на линии прямой видимости друг от друга,
встраивание сигналов в сигнал на несущей частоте, лежащей в диапазоне от инфракрасного до ультрафиолетового излучения, передачу сигналов на несущей частоте, по существу, по всем направлениям,
использование объектов (16, 24, 26) внутри и/или вокруг соответствующего фрагмента для ограничения картины распространения сигнала на несущей частоте и для задания границ фрагмента, и
соединение соответствующих фрагментов с интерфейсными средствами, содержащими блоки связи фрагментов, соединенные с соответствующими абонентскими блоками по меньшей мере двух соседних фрагментов.
13. Способ по п.12, отличающийся тем, что передача и прием сигналов на несущей частоте подавляются по меньшей мере несколькими абонентскими блоками внутри соответствующего фрагмента.
14. Способ по п.13, отличающийся тем, что передача и прием указанных сигналов на несущей частоте подавляются в заданных угловых диапазонах.
15. Способ по любому из пп.12-14, отличающийся тем, что дополнительно включает обеспечение одного или более блоков (56) связи с базовой сетью, предназначенных для формирования интерфейса между указанной сетевой системой и обычной магистральной сетью.
16. Способ по п.15, отличающийся тем, что соответствующие блоки связи фрагментов осуществляют связь с блоком (блоками) связи с базовой сетью.
17. Способ по пп.12-16, отличающийся тем, что дополнительно осуществляют координацию управления элементами сетевой системы с использованием режима мультиплексирования.
18. Способ по п.17, отличающийся тем, что режим мультиплексирования является режимом мультиплексирования с временным разделением сигнала.
РИСУНКИ
MM4A – Досрочное прекращение действия патента СССР или патента Российской Федерации на изобретение из-за неуплаты в установленный срок пошлины за поддержание патента в силе
Дата прекращения действия патента: 29.06.2009
Извещение опубликовано: 20.07.2010 БИ: 20/2010
|