|
(21), (22) Заявка: 2005120956/09, 04.07.2005
(24) Дата начала отсчета срока действия патента:
04.07.2005
(30) Конвенционный приоритет:
07.06.2005 UA 200505448
(46) Опубликовано: 27.08.2007
(56) Список документов, цитированных в отчете о поиске:
RU 2206131 C1, 10.06.2003. RU 2106686 C1, 10.03.1998. SU 799085 A1, 23.01.1981. RU 2144223 C1, 10.01.2000. RU 2135767 C1, 27.08.1997. US 5198959 А, 30.05.1993. JP 10293903 A1, 04.11.1998. US 4621299 A, 04.11.1986.
Адрес для переписки:
61002, г. Харьков, ул. Фрунзе, 21, ООО Фирма “ТЭТРА, ЛТД”, директору И.С. Щукину
|
(72) Автор(ы):
Болюх Владимир Федорович (UA), Марков Александр Михайлович (UA), Лучук Владимир Феодосьевич (UA), Щукин Игорь Сергеевич (UA)
(73) Патентообладатель(и):
Общество с ограниченной ответственностью (ООО) Фирма “ТЭТРА, ЛТД” (UA)
|
(54) СПОСОБ ЗАЩИТЫ ИНФОРМАЦИИ И УСТРОЙСТВО ДЛЯ ЕГО ОСУЩЕСТВЛЕНИЯ
(57) Реферат:
Изобретение относится к технике защиты информации. Техническим результатом является повышение эффективности способа защиты информации и устройства для его осуществления. Устройство для защиты информации содержит источник постоянного напряжения, индуктор, двухпозиционный ключ и полярный конденсатор, подключаемый ключом попеременно к источнику и к индуктору. После зарядки конденсатора двухпозиционный ключ переключается и осуществляется разряд полярного конденсатора на индуктор. Возникающий при этом ток i1 наводит в электропроводящем диске якоря ток i2. При возникновении опасности утечки информации за счет индуцированных токов в электропроводящем диске якоря при возникновении импульса магнитного поля и возвратного элемента осуществляют возвратно-поступательное перемещение якоря, толкающего боек с заостренным концом в сторону носителя информации вплоть до его механического повреждения. После затухания токов i1 и i2 якорь под действием возвратного элемента возвращается в исходное состояние. 2 н. и 6 з.п. ф-лы, 3 ил.
Изобретение относится к технике защиты информации, более конкретно к технике защиты информации в компьютере при возникновении опасности ее утечки, при которой осуществляется уничтожение информации как на основании получения сигналов о попытке несанкционированного проникновения, так и по желанию пользователя.
Известно устройство защиты от обращений к памяти компьютера посторонних пользователей, где наряду с операцией задания пароля на санкционированный доступ к информации, содержащейся в памяти компьютера, осуществляют дополнительную операцию уничтожения (стирания) конфиденциальной информации по истечении заданного промежутка времени, длительность которого выбирают заведомо меньшим времени, необходимого постороннему пользователю для несанкционированного извлечения информации инструментальными средствами. Для этого внутрь компьютера встраивают дополнительный таймер и устройство управления вырабатывает по сигналу таймера команду на стирание [1].
Недостатком данного устройства является возможность доступа к памяти компьютера при выключенном состоянии компьютера, защита от обращений к памяти компьютера посторонних пользователей осуществляется лишь до этапа введения пароля, после введения пароля доступ к памяти открыт.
Известен способ защиты информации путем стирания записи на магнитном носителе, основанный на создании магнитного поля и воздействии им на магнитный носитель, намагничивая его до насыщения [2]. Известное техническое решение позволяет осуществить уничтожение информации путем стирания за счет намагничивания магнитного носителя до насыщения с помощью знакопеременного магнитного поля, создаваемого стирающей системой, перемещающейся вдоль всего носителя.
Однако использование известного способа не позволяет осуществить быстрое уничтожение информации и требует больших энергетических затрат вследствие необходимости поддержания незатухающего магнитного поля в течение всего процесса стирания информации на диске.
Известен способ защиты информации путем стирания записи на магнитном носителе, включающий намагничивание магнитного носителя до насыщения и размагничивание его по всему объему серией разнополярных затухающих импульсов, возникающих в колебательном контуре [3]. Устройство для реализации данного способа содержит источник постоянного напряжения, резонансный контур, выполненный из цилиндрической катушки индуктивности и конденсатора, подъемное устройство для перемещения магнитных носителей в вертикальной плоскости.
Недостатком известного технического решения является необходимость использования конденсатора, рассчитанного для высокого напряжения (более 3 кВ), использование для заряда неполярного конденсатора, что сильно увеличивает размеры устройства, громоздкость катушки индуктивности (вес более 700 кг). Все это приводит к значительному увеличению времени длительности стирания.
Наиболее близким по технической сущности и заявляемому результату является способ стирания информации на магнитном носителе, включающем намагничивание магнитного носителя до насыщения и размагничивание его по всему объему серией разнополярных затухающих импульсов, возникающих в колебательном контуре, причем магнитный носитель намагничивают до насыщения импульсом магнитного поля, возникающим вследствие разряда полярного конденсатора через катушку индуктивности и конденсатор колебательного контура, причем вектор напряженности магнитного поля направлен перпендикулярно плоскости магнитного носителя [4].
Наиболее близким по технической сущности и заявляемому результату является устройство стирания информации на магнитном носителе, содержащее источник постоянного напряжения, параллельный колебательный контур, выполненный из катушки индуктивности и конденсатора, двухпозиционный ключ и полярный конденсатор, подключаемый двухпозиционным ключом попеременно к источнику постоянного напряжения и к катушке колебательного контура, которая выполнена в виде однозаходной спиральной плоской катушки [4].
Однако, как показывают исследования при любом процессе намагничивания/размагничивания магнитного носителя информацию можно восстановить при использовании специальных программ. Например, для этого используется исследование поверхностей магнитных пластин с помощью сканирующей микроскопии.
Магнитный носитель информации имеет, как правило, защиту от воздействия внешних магнитных полей, например, наружные электромагнитные и магнитные экраны, выполненные в виде корпуса (гермокамеры), соответственно, из электропроводящего и ферромагнитного материала. Поэтому эффективность известного способа и устройства стирания информации путем намагничивания/размагничивания магнитного носителя является не абсолютной.
Известный способ и устройство стирания информации путем намагничивания/размагничивания являются совершенно непригодными для носителей иных физических типов, например, оптических, лазерных и др.
Задачей изобретения является повышение эффективности способа защиты информации при возникновении опасности ее утечки и устройства для его осуществления путем разрушения корпуса носителя информации, рабочих поверхностей и основы, на которую нанесен активный, например, магнитный слой – физический носитель информации.
Поставленная задача решается за счет того, что в известном способе защиты информации, включающем формирование серии затухающих импульсов магнитного поля, возникающих при разряде полярного конденсатора через индуктор, в соответствии с предлагаемым изобретением при возникновении опасности утечки информации за счет индуцированных импульсным магнитным полем токов в электропроводящем диске якоря и возвратного элемента осуществляют возвратно-поступательное перемещение якоря, толкающего боек с заостренным концом в сторону носителя информации вплоть до его механического повреждения.
Поставленная задача решается за счет того, что в известном устройстве защиты информации, содержащем источник постоянного напряжения, индуктор, выполненный в виде однозаходной спиральной плоской катушки, двухпозиционный ключ и полярный конденсатор, подключаемый двухпозиционным ключом попеременно к источнику постоянного напряжения и к индуктору, в соответствии с предлагаемым изобретением между носителем информации и индуктором, жестко закрепленным при помощи крепежной пластины относительно носителя информации, коаксиально размещены якорь, выполненный в виде механически соединенных и прилегающих друг к другу электропроводящего и ударного дисков, боек с расширенным опорным и заостренным ударным концами и возвратный элемент, причем электропроводящий диск якоря расположен смежно с индуктором, ударный диск якоря установлен напротив расширенного опорного конца бойка, а возвратный элемент, выполненный, например в виде коаксиальной пружины, расположен между носителем информации и ударным диском якоря, причем расширенный опорный конец бойка соединен с коаксиально установленным направляющим штырем, проходящим через центральные отверстия в якоре и каркасе индуктора с направляющим выступом, жестко закрепленным относительно крепежной пластины индуктора.
Кроме того, полярный конденсатор шунтирован обратным диодом.
На конце направляющего штыря, выходящим из направляющего выступа каркаса индуктора, размещены контакты концевого переключателя, соединяющего источник постоянного напряжения с сетью.
Расширенный опорный конец бойка соединен с коаксиально установленным направляющим штырем при помощи резьбового соединения.
Торцевая поверхность ударного диска якоря, обращенная к носителю информации, выполнена конусообразной формы с центральным плоским выступом, контактирующим с плоской поверхностью расширенного опорного конца бойка.
Индуктор пропитан и закреплен к крепежной пластине при помощи компаунда на основе эпоксидной смолы.
Возвратный элемент, выполненный в виде коаксиальной пружины, контактирует с ударным диском якоря и установленной смежно с носителем информации опорной пластиной, выполненной с отверстием для заостренного ударного конца бойка и закрепленной относительно носителя информации.
Повышение эффективности способа защиты информации при возникновении опасности ее утечки осуществляется путем физического уничтожения носителя информации при механическом разрушении его корпуса, рабочих поверхностей и основы, на которую нанесен активный, например, магнитный слой.
При возникновении опасности утечки информации в устройстве ее защиты осуществляется попеременное подключение двухпозиционного ключа к источнику постоянного напряжения и к индуктору. За счет электродинамических сил, возникающих между индуцированными токами, наведенными в электропроводящем диске якоря, и током индуктора при разряде на него полярного конденсатора, обеспечивает механическое перемещение якоря с бойком, заостренный конец которого вызывает механическое разрушение носителя информации.
Жесткое закрепление индуктора относительно носителя информации позволяет отталкиваемому от индуктора якорю перемещать боек в сторону носителя информации до его разрушения с максимальной эффективностью, без отдачи.
Коаксиальная конструкция устройства обеспечивает наибольшую эффективность магнитного взаимодействия между индуктором и электропроводящим диском якоря, вызывая наибольшую электродинамическую силу.
Электропроводящий диск якоря обеспечивает формирование электродинамической силы относительно индуктора, а ударный диск якоря – его механическую устойчивость при передаче этой силы бойку.
Возвратный элемент при отсутствии импульса магнитного поля, когда осуществляется зарядка полярного конденсатора от источника постоянного напряжения, возвращает якорь в исходное состояние, т.е. до контактирования с индуктором, при котором образуется максимальная электродинамическая сила. Ударный диск якоря, передавая кинетическую энергию бойку, перемещает его в сторону носителя информации до его механического повреждения.
Направляющий штырь обеспечивает возвратно-поступательное перемещения якоря в то время, как боек постоянно перемещается в одну сторону.
Каркас индуктора с направляющим выступом позволяют наматывать на каркас провод, обеспечивать устойчивое перемещение направляющего штыря и формировать механически прочную конструкцию “катушка, каркас с выступом и крепежная пластина” при пропитке их эпоксидным компаундом.
Шунтирование полярного конденсатора обратным диодом обеспечивает апериодический разрядный импульс в катушке индуктора.
Размещение контактов концевого переключателя, соединяющего источник постоянного напряжения с сетью, на конце направляющего штыря, выходящим из направляющего выступа каркаса катушки, позволяет при размыкании контактов отключить источник постоянного напряжения от сети при перемещении бойка на необходимую величину в массив носителя информации.
Соединение расширенного опорного конца бойка с направляющим штырем при помощи резьбового соединения позволяет легко их разъединять после окончания работы, когда боек застревает в корпусе и массиве носителя информации или повреждается. После замены бойка все остальные элементы устройства защиты информации могут многократно использоваться далее.
Выполнение торцевой поверхности ударного диска якоря, обращенной к носителю информации, конусообразной формы обеспечивает большую устойчивость якоря при передаче сил. Наличие центрального плоского выступа на торцевой поверхности ударного диска якоря обеспечивает хороший контакт с плоской поверхностью расширенного опорного конца бойка.
Контактирование возвратного элемента, выполненного в виде коаксиальной пружины, с ударным диском якоря и опорной пластиной, установленной смежно с носителем информации, выполненной с отверстием для заостренного ударного конца бойка и закрепленной относительно носителя информации, позволяет исключить контактирование любых элементов устройства, в том числе и возвратного элемента, с носителем информации до поступления сигнала на его уничтожение.
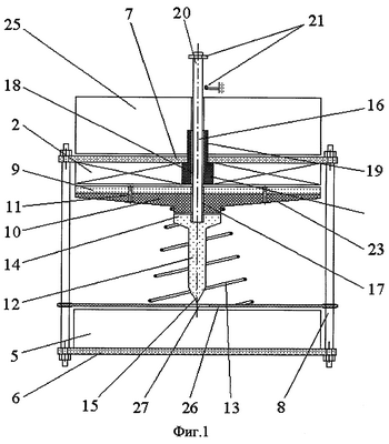
На фиг.1 представлена принципиальная конструкция устройства защиты информации;
на фиг.2 – принципиальная электрическая схема устройства защиты информации;
на фиг.3 – характер изменения разрядного тока в катушке индуктора i1 и индуцированного тока в электропроводящем диске якоря i2.
Способ защиты информации на носителе информации, например жестком магнитном диске компьютера, включает при возникновении опасности утечки информации поочередный заряд полярного конденсатора от источника постоянного напряжения и разряд его на индуктор. При разряде образуется затухающий импульс магнитного поля, который индуцирует токи в близко расположенном электропроводящем диске якоря, обеспечивая перемещение якоря с бойком в сторону носителя информации. При затухании импульса магнитного поля электродинамическая сила, действующая на якорь со стороны индуктора, также затухает, вследствие чего якорь возвратным элементом, например пружиной, возвращается в исходное положение к индуктору, а боек остается на месте, заостренным концом застревая в корпусе носителя информации. При повторном цикле заряда/разряда конденсатора происходит повторный удар ударного диска якоря по бойку, что еще больше перемещает его в массив носителя информации, разрушая его корпус, рабочую поверхность и основу, на которую нанесен активный слой. Вследствие механического разрушения осуществляется полное и безвозвратное уничтожение информации, хранящейся на носителе.
Устройство для защиты информации содержит источник постоянного напряжения 1, индуктор 2, выполненный в виде однозаходной спиральной плоской катушки с активным сопротивлением R1 и индуктивностью L1, двухпозиционный ключ 3 и полярный конденсатор 4, подключаемый двухпозиционным ключом попеременно к источнику постоянного напряжения (положение а) и к индуктору (положение б).
В качестве источника постоянного напряжения выступает, например выпрямитель, обеспечивающий однополярное напряжение на выходе при подключении к сети U, или заряжаемый аккумулятор с входным выпрямителем.
Носитель информации 5 жестко прикреплен к крепежной пластине 6, а индуктор 2 – к крепежной пластине 7. Пластины 6 и 7 закреплены на одном каркасе с опорами 8. Между носителем информации 5 и индуктором 2 коаксиально размещены якорь, выполненный в виде электропроводящего 9 и ударного 10 дисков, которые прилегают друг к другу и механически соединены при помощи крепежных элементов 11, боек 12 и возвратный элемент 13. Электропроводящий диск 9 имеет активное сопротивление R2 и индуктивность L2.
Боек 12 выполнен с расширенным опорным концом 14 и заостренным ударным концом 15. Возвратный элемент 13 выполнен в виде коаксиальной пружины и расположен между носителем информации 5 и ударным диском якоря 10.
Электропроводящий диск якоря 9 расположен смежно с катушкой индуктора 2. Ударный диск якоря 10 установлен напротив расширенного опорного конца 14 бойка 12. Расширенный опорный конец 14 бойка 12 соединен с коаксиально установленным направляющим штырем 16, проходящим через центральное отверстие якоря 17 и центральное отверстие каркаса 18 катушки с направляющим выступом 19. Каркас 18 катушки индуктора с направляющим выступом 19 жестко закреплен относительно крепежной пластины 7. Расширенный опорный конец 14 бойка 12 соединен с коаксиально установленным направляющим штырем 16 при помощи резьбового соединения.
На конце 20 направляющего штыря 16, выходящим из направляющего выступа 19, размещены контакты 21 концевого переключателя 22, связывающего источник постоянного напряжения 1 с сетью питания U.
Торцевая поверхность 23 ударного диска 10 якоря, обращенная к носителю информации 5, выполнена конусообразной формы с центральным плоским выступом, контактирующим с плоской поверхностью расширенного опорного конца 14 бойка 12. Полярный конденсатор 4 шунтирован обратным диодом 24.
Катушка индуктора 1 пропитана и закреплена к крепежной пластине 7 при помощи компаунда на основе эпоксидной смолы.
Конструктивно источник постоянного напряжения 1, двухпозиционный ключ 3, концевой переключатель 22, полярный конденсатор 4 и обратный диод 24 размещены в компактном корпусе 25, прикрепленном к крепежной пластине 7.
Возвратный элемент 13 контактирует с ударным диском якоря 10 и опорной пластиной 26, установленной смежно с носителем информации 5, выполненной с отверстием 27 для прохождения заостренного ударного конца 15 бойка 12 и закрепленной относительно носителя информации 5. Пластина 26 закреплена на одном каркасе с опорами 8.
Электропроводящий якорный диск 9 изготовлен из меди, ударный якорный диск 10 и боек 12 изготовлены из прочной стали, крепежная пластина 7 изготовлена из прочного стеклотекстолита.
Устройство для защиты информации работает следующим образом.
В исходном состоянии якорь прижат пружиной возвратного элемента 13 к индуктору 2. При возникновении опасности утечки информации концевым переключателем 22 подсоединяют источник постоянного напряжения 1 к сети питания U и двухпозиционный ключ 3 переводят в положение а, и при этом происходит заряд полярного конденсатора 4 от источника постоянного напряжения 1.
После зарядки конденсатора до необходимого напряжения двухпозиционный ключ 3 переключается в положение б и осуществляется разряд полярного конденсатора 4 на индуктор 2. Возникающий при этом ток i1 наводит (индуцирует) в электропроводящем диске якоря 9 ток i2. Токи i1 и i2 имеют импульсный характер (фиг.3). Из-за возникновения импульсной электродинамической силы между токами происходит резкое отталкивание электропроводящего диска якоря 9 от неподвижного индуктора 2. При этом также перемещаются ударный диск якоря 10 и боек 12 в сторону носителя информации 5. Заостренный ударный конец 15 бойка при таком перемещении воздействует на носитель информации 5, застревая в его корпусе. Пружина возвратного элемента 13 при этом сжимается.
После затухания токов i1 и i2 затухает и электродинамическая сила, вследствие чего якорь под действием возвратного элемента 13 возвращается в исходное состояние. Двухпозиционный ключ 3 переводится в положение а, и процесс повторяется. После каждого удара якоря по бойку 12 он все больше заостренным концом 15 проникает в массив носителя информации 5, деформируя и разрушая его. После перемещения бойка 12 вместе с направляющим штырем 16 на определенное расстояние происходит размыкание контактов 21 концевого переключателя 22, и источник постоянного напряжения 1 отключается от сети питания U.
Как показывают экспериментальные исследования носитель информации в виде жесткого магнитного диска при использовании электролитического полярного конденсатора емкостью С=3000 мкФ, заряженного до относительно низкого напряжения 300 В, разрушается за 3…5 ударов бойка. Причем вес процесс занимает несколько секунд от поступления сигнала при возникновении опасности утечки информации на ее уничтожение на носителе.
После механического уничтожения информации направляющий штырь при помощи резьбового соединения отсоединяется от бойка, находящегося в массиве носителя информации 5, и устройство может быть повторно использовано на данном или другом компьютере, где есть носитель информации.
Достоинством предлагаемого способа и устройства является то, что индуктор с якорем и иными элементами можно установить на расстоянии бесконтактно относительно носителя информации 5, что никак не влияет на функционирование носителя в нормальном режиме до подачи сигнала на уничтожение информации при возникновении опасности ее утечки.
Удельная сила воздействия (давление) на носитель информации 5 значительно больше давления, действующего на якорь, поскольку площадь сечения заостренного конца 15 бойка 12 значительно меньше площади сечения якоря.
Носитель информации может иметь любую физическую природу: магнитный, оптический, лазерный и др.
Разрушение носителя информации может быть осуществлено одним циклом за минимальное время (доли секунды) при соответствующих параметрах полярного конденсатора, прежде всего его энергии.
Источники информации
1. Пат. RU №2106686, МПК G06F 12/14, 10.03.1998.
2. Пат. JP №10293903, МПК G11B 05/027, 04.11.1998.
3. Пат. US №5198959, НКИ 361-149, 30.05.1993.
4. Пат RU №2206131, МПК G11B 5/024, 10.06.2003 (прототип).
Формула изобретения
1. Способ защиты информации, включающий формирование серии затухающих импульсов магнитного поля, возникающих при разряде полярного конденсатора через индуктор, отличающийся тем, что при возникновении опасности утечки информации за счет индуцированных токов в электропроводящем диске якоря при возникновении импульса магнитного поля и возвратного элемента осуществляют возвратно-поступательное перемещение якоря, толкающего боек с заостренным концом в сторону носителя информации вплоть до его механического повреждения.
2. Устройство для защиты информации, содержащее источник постоянного напряжения, индуктор, выполненный в виде однозаходной спиральной плоской катушки, двухпозиционный ключ и полярный конденсатор, подключаемый двухпозиционным ключом попеременно к источнику постоянного напряжения и к индуктору, отличающееся тем, что между носителем информации и индуктором, жестко закрепленным при помощи крепежной пластины относительно носителя информации, коаксиально размещены якорь, выполненный в виде механически соединенных и прилегающих друг к другу электропроводящего и ударного дисков, боек с расширенным опорным и заостренным ударным концами и возвратный элемент, причем электропроводящий диск якоря расположен смежно с индуктором, ударный диск якоря установлен напротив расширенного опорного конца бойка, а возвратный элемент, выполненный, например, в виде коаксиальной пружины, расположен между носителем информации и ударным диском якоря, причем расширенный опорный конец бойка соединен с коаксиально установленным направляющим штырем, проходящим через центральные отверстия в якоре и каркасе индуктора с направляющим выступом, жестко закрепленным относительно крепежной пластины индуктора.
3. Устройство для защиты информации по п.2, отличающееся тем, что полярный конденсатор шунтирован обратным диодом.
4. Устройство для защиты информации по п.2, отличающееся тем, что на конце направляющего штыря, выходящем из направляющего выступа каркаса индуктора, размещены контакты концевого переключателя, соединяющего источник постоянного напряжения с сетью.
5. Устройство для защиты информации по п.2, отличающееся тем, что расширенный опорный конец бойка соединен с коаксиально установленным направляющим штырем при помощи резьбового соединения.
6. Устройство для защиты информации по п.2, отличающееся тем, что торцевая поверхность ударного диска якоря, обращенная к носителю информации, выполнена конусообразной формы с центральным плоским выступом, контактирующим с плоской поверхностью расширенного опорного конца бойка.
7. Устройство для защиты информации по п.2, отличающееся тем, что индуктор пропитан и закреплен к крепежной пластине при помощи компаунда на основе эпоксидной смолы.
8. Устройство для защиты информации по п.2, отличающееся тем, что выполненный в виде коаксиальной пружины возвратный элемент контактирует с ударным диском якоря и установленной смежно с носителем информации опорной пластиной, выполненной с отверстием для заостренного ударного конца бойка и закрепленной относительно носителя информации.
РИСУНКИ
|