|
|
(21), (22) Заявка: 2005131328/03, 10.10.2005
(24) Дата начала отсчета срока действия патента:
10.10.2005
(43) Дата публикации заявки: 20.04.2007
(46) Опубликовано: 27.08.2007
(56) Список документов, цитированных в отчете о поиске:
RU 2094754 C1, 27.10.1997. SU 1041702 A, 15.09.1983. SU 1788290 A, 15.01.1993. SU 1793790 A1, 07.02.1993. RU 2087847 С1, 20.08.1997. RU 2255225 C1, 27.06.2005. US 4055247 A, 25.10.1977. ГУРИН А.А. и др. Ударные воздушные волны в горных выработках. – М.: Недра, 1983, с.150.
Адрес для переписки:
607188, Нижегородская обл., г. Саров, пр. Мира, 37, ФГУП “РФЯЦ-ВНИИЭФ”, начальнику ОПИНТИ
|
(72) Автор(ы):
Мельцас Валерий Юганович (RU), Мешков Евгений Евграфович (RU), Орешков Олег Васильевич (RU), Сырунин Михаил Анатольевич (RU)
(73) Патентообладатель(и):
Федеральное агентство по атомной энергии (RU), Федеральное государственное унитарное предприятие “Российский федеральный ядерный центр-Всероссийский научно-исследовательский институт экспериментальной физики”-ФГУП “РФЯЦ-ВНИИЭФ” (RU)
|
(54) ВЗРЫВОЗАЩИТНЫЙ ЭКРАН
(57) Реферат:
Изобретение относится к технической физике, к области взрывных работ, и может быть использовано при создании различного вида защитных сооружений, предназначенных для ограничения разрушительного действия взрыва, снижения взрывной нагрузки и защиты от осколков на торцевые стенки каналов, а также локализации продуктов взрыва, содержащих вредные аэрозоли. Взрывозащитный экран торцевой стенки канала представляет собой преграду, разделяющую канал на взрывной объем и буферный объем, ограниченный торцевой стенкой, с обеспечением сообщения взрывного объема с буферным. Преграда выполнена составной из, по крайней мере, двух элементов, установленных с возможностью продольного перемещения вдоль оси канала. Сообщение взрывного объема с буферным обеспечено благодаря сдвигу элементов преграды относительно друг друга вдоль оси канала. В случае, когда процесс взрыва сопровождается возникновением высокоскоростных осколков, в проекции на поперечное сечение канала между элементами преграды может отсутствовать зазор. Во взрывозащитном устройстве элементы преграды, образующие защитный экран, могут быть выполнены из разрушаемых материалов, способных образовать облако диспергированной взвеси при воздействии на экран взрывной нагрузки. Изобретение позволяет снизить уровень разрушительного действия взрыва, связанного с взрывной нагрузкой на торцевые стенки канала, снизив амплитуду взрывной нагрузки, и, кроме того, в частных случаях, защитить стенки от высокоскоростных осколков, а также уменьшить зону заражения опасными веществами (пыль, аэрозоли и газообразные продукты взрыва) в случае аварии. 2 з.п. ф-лы, 2 ил.
Изобретение относится к технической физике, а более конкретно к области взрывных работ, и может быть использовано при создании различного вида защитных сооружений, предназначенных для ограничения разрушительного действия взрыва (снижения взрывной нагрузки; защиты от осколков) на торцевые стенки каналов, а также локализации продуктов взрыва, содержащих вредные аэрозоли.
Известен контейнер для взрывного устройства (патент РФ 2082071, БИ №17 от 20.06.97, F42D 5/04), предназначенный для ограничения действия взрыва, содержащий корпус с крышкой (канал с торцевой стенкой), образующие замкнутый объем, в котором размещены взрывное устройство и емкость с разрушаемой при взрыве гибкой оболочкой, заполненной конденсированной средой (водой), выполняющей функцию защитного экрана. При взрыве взрывного устройства под действием взрывной нагрузки происходит разрыв емкости, нагрев и испарение воды и, как результат, поглощение энергии взрыва. Таким образом, обеспечена защита окружающей среды при подрыве взрывоопасного объекта, помещенного в контейнер, путем снижения взрывной нагрузки на стенки контейнера.
Недостатком данного устройства является неопределенный характер расположения емкости с водой относительно взрывного устройства и, вследствие этого, относительно низкая эффективность поглощения энергии взрыва и локализации образующихся при взрыве аэрозолей и продуктов взрыва (ПВ).
Известно взрывозащитное устройство (патент РФ 2094754, БИ № 30 от 27.10.97, F42D 5/04), включающее металлический цилиндрический замкнутый корпус (канал) с днищами (торцевыми стенками) и амортизаторы в виде набора пластин, параллельных днищам (защитный экран торцевой стенки). Пластины свободно оперты на шпангоуты, закрепленные на внутренней поверхности цилиндрического канала. По периметру пластин расположены проходные отверстия, служащие для сообщения – перетекания газа из внутренней рабочей полости (взрывного объема) в полость между днищем (торцевой стенкой) и ближайшей амортизирующей пластиной (буферный объем), предотвращая удар пластины по днищу (торцевой стенке).
Устройство обеспечивает защиту окружающей среды при подрыве взрывоопасного объекта, помещенного в контейнер, путем герметичной локализации продуктов взрыва.
Вместе с тем, в подобной конструкции отсутствуют механизмы поглощения энергии взрыва; кроме того, при затекании продуктов взрыва (ПВ) через отверстия, расположенные по периметру пластин, возникает конвергентное течение в пространстве буферного объема, что может привести к локальным опасным перегрузкам в области торцевых стенок; при аварийном разрушении корпуса локализация продуктов взрыва не достигается, что является недостатком устройства.
В настоящее время получили распространение взрывозащитные камеры (ВЗК) с корпусом (каналом) цилиндрической формы. Такие ВЗК используют для хранения и транспортировки взрывных устройств и для проведения взрывных экспериментов с взрывными устройствами, содержащими вещества, образующие при взрыве вредные аэрозоли. Слабым местом таких камер являются торцевые стенки, обычно содержащие входные люки и требующие дополнительной защиты. Торцевые стенки могут быть плоскими или иметь скругленную форму.
Аналогичная проблема может возникать при проведении взрывных работ в бронебашнях и бронекуполах, имеющих выходной канал, а также в горных выработках в случае необходимости защиты перемычки в канале выработки от перегрузок, связанных с взрывом газов или пыли.
В этой связи актуальной является задача по созданию преград снижения взрывной нагрузки на торцевые стенки ВЗК с цилиндрическим корпусом и в других взрывозащитных сооружениях с выходным каналом или защиты от разрушения перемычек в каналах горных выработок от взрывов газа и/или пыли.
Техническим результатом, достигаемым при использовании заявляемого устройства, является снижение уровня разрушительного действия взрыва, связанного с взрывной нагрузкой на торцевую стенку канала и, в частности, на стенку перемычки в канале (снижение амплитуды взрывной нагрузки), и, кроме того, в частных случаях, при необходимости защиты от высокоскоростных осколков, а также пыли, аэрозолей и газообразных продуктов взрыва.
Этот технический результат достигается за счет того, что в отличие от известного взрывозащитного экрана торцевой стенки канала, представляющего собой преграду, разделяющую канал на взрывной объем и буферный объем, ограниченный торцевой стенкой, с обеспечением сообщения взрывного объема с буферным, в предлагаемом устройстве преграда выполнена составной, по крайней мере, из двух элементов, установленных с возможностью продольного перемещения вдоль оси канала, причем элементы размещены со сдвигом относительно друг друга и с возможностью сообщения взрывного объема с буферным через промежуток или промежутки между элементами.
В случае, когда процесс взрыва сопровождается возникновением высокоскоростных осколков, в проекции на поперечное сечение канала между элементами преграды может отсутствовать зазор.
Элементы преграды, образующие защитный экран, могут быть выполнены из разрушаемых материалов, способных образовать облако диспергированной взвеси при воздействии на экран взрывной нагрузки.
Выполнение преграды составной, по крайней мере, из двух элементов, установленных с возможностью продольного перемещения вдоль оси канала и со сдвигом относительно друг друга и с возможностью сообщения взрывного объема с буферным через промежуток или промежутки между элементами, позволяет растянуть во времени взрывную нагрузку на торцевую стенку канала и, соответственно, снизить пиковую амплитуду нагрузки. Совокупное влияние этих признаков позволит обеспечить снижение уровня разрушительного действия взрыва.
Механизм снижения взрывной нагрузки на торцевую стенку заключается в следующем. При взрыве взрывного устройства в ВЗК воздушная ударная волна и ПВ распространяются вдоль оси канала и в случае, если преграда состоит из двух элементов, взрывной нагрузке подвергается сначала близлежащий элемент, а затем удаленный элемент преграды. Поток ПВ, отразившись от удаленного элемента, тормозится и при этом возникает течение, направленное вдоль плоскости удаленного элемента через промежуток между элементами из взрывного объема в буферный. Этот поток ударяется в стенку канала в буферном объеме, отклоняется в направлении вдоль нее и, в результате, приобретает вихревой характер.
Даже при относительно небольшом сдвиге элементов относительно друг друга (без образования промежутка) в зоне сдвига преграда будет ослаблена и здесь возможен прорыв под действием взрывной нагрузки с последующим затеканием ПВ через промежуток или промежутки в буферный объем и образованием вихревого течения в этом объеме.
Удар ПВ, затекших в буферный объем, сильно смягчен: во-первых, процесс затекания ПВ через промежуток растянут во времени, а, во-вторых, в силу вихревого движения (по стенке буферного объема).
В потоке ПВ через промежуток давление падает (по закону Бернулли) и возникает тенденция захлопывания промежутка и слияния элементов в одно целое в виде конгломерата, летящего вдоль канала. При этом удар летящей преграды смягчается ПВ, затекшими в буферный объем; эти ПВ в данном случае играют роль «подушки безопасности».
В целом, импульс взрывной нагрузки растягивается во времени, а его амплитуда уменьшается.
Оценка деформации импульса взрывной нагрузки и оптимизация величины промежутка между элементами и других параметров преграды может быть проведена при помощи численных расчетов.
В частных случаях важным может быть то, что в проекции на поперечное сечение канала между элементами отсутствует зазор, что препятствует пролету осколков между элементами преграды и этим обеспечивается при необходимости защита торцевой стенки от осколков. То есть, преграда может играть роль не только фактора снижения амплитуды взрывной нагрузки на торцевую стенку канала, но и защиты от осколков.
Кроме того, для снижения уровня выхода пыли, аэрозолей и газообразных продуктов взрыва в атмосферу в случае частичного или полного разрушения торцевой стенки канала элементы преграды могут быть выполнены из разрушаемых при воздействии взрывной нагрузки материалов, не дающих при разрушении крупных осколков и способных образовать облако диспергированной взвеси. Этим создается возможность сорбции аэрозолей в ПВ частицами диспергированной взвеси. Элементы преграды могут быть выполнены в виде емкостей, заполненных сыпучей средой или жидкостью (водой) или льдом. Подобные преграды являются хорошей защитой от высокоскоростных осколков в случае их образования при взрыве.
При этом возникает дополнительная возможность существенного снижения взрывной нагрузки за счет интенсификации отбора тепла частицами взвеси от нагретых до высокой температуры ПВ вследствие резкого увеличения (на несколько порядков) площади контакта ПВ и частиц взвеси.
В горных выработках подобные преграды могут служить средством для защиты искусственных перемычек от разрушительного действия взрывов газа и пыли.
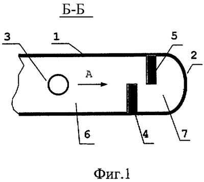
Фиг.1 – схемы фрагмента цилиндрического канала (например, цилиндрический корпус ВЗК) с установленным в нем, по крайней мере, одним защитным экраном в виде преграды, состоящей из двух элементов, имеющих сечение в виде круговых сегментов.
1 – корпус (канал) ВЗК,
2 – торцевая стенка канала,
3 – взрывное устройство,
4, 5 – элементы преграды защитного экрана,
6 – взрывной объем,
7 – буферный объем.
Фиг.2 – схема цилиндрической ВЗК с двумя защитными экранами.
На фиг.1 приведена схема части цилиндрического корпуса (канала) 1 взрывозащитной камеры с торцевой стенкой 2 и взрывным устройством 3. В корпусе камеры установлен взрывозащитный экран в виде преграды, составленной из двух элементов 4 и 5. Элементы установлены с возможностью продольного перемещения вдоль оси канала. Элементы смещены относительно друг друга вдоль оси канала и между ними образован промежуток, через который взрывной объем 6 сообщается с буферным 7. Элементы преграды могут быть выполнены из разрушаемых материалов, способных образовать облако диспергированной взвеси при воздействии взрывной нагрузки (например, могут быть выполнены в виде контейнеров из легкоразрушаемых материалов, заполненных жидкостью или сыпучей средой). При этом в случае, если при взрыве образуются осколки, то в проекции на поперечное сечение канала между элементами отсутствует зазор. Контейнеры не имеют жесткого крепления к стенкам камеры, что обеспечивает возможность их перемещения вдоль канала под действием взрывной нагрузки.
Устройство работает следующим образом. При взрыве взрывного устройства 3 ПВ распространяются вдоль оси цилиндрического корпуса 1 камеры. Поток ПВ, отразившись от элемента 5, тормозится и при этом возникает течение через промежуток из взрывного объема 6 в буферный 7. При этом течение ПВ приобретает вихревой характер. Вследствие падения давления в струе ПВ в промежутке происходит слияние элементов и промежуток между ними перекрывается; ПВ, затекшие в буферный объем, смягчают удар преграды по торцевой стенке 2 канала. В целом происходит растяжение во времени импульса взрывной нагрузки на торцевую стенку и вследствие этого снижение его амплитуды. Вместе с тем преграда играет роль не только фактора снижения амплитуды взрывной нагрузки на торцевую стенку, но, при необходимости, и защиты от осколков, а также пыли, аэрозолей и газообразных продуктов взрыва.
На фиг.2 приведена схема ВЗК, в которой защитными экранами, подобным представленным на фиг.1, защищены обе торцевые стенки канала.
Канал, в котором устанавливается защитный экран может иметь не только цилиндрическое, но и прямоугольное сечение (как в горных выработках). В случае применения описанной преграды для защиты от взрыва газов или пыли перемычек, искусственно создаваемых в горных выработках, элементы подобных преград могут сооружаться из мешков с песком или другими сыпучими материалами, емкостей из легко разрушаемых материалов с водой и т.п., складируемых в виде стенок; при этом промежуток между элементами может служить для прохода.
Эффективность применения, например, в ВЗК взрывозащитных экранов в виде преграды, содержимое элементов которой составляла вода, была проверена с помощью численного моделирования в двумерных расчетах. Кроме того, эффективность работы взрывозащитных экранов была проверена в серии модельных лабораторных экспериментов на ударной трубе с каналом квадратного сечения 4×4 см2 (описанной в работе: Волченко О.И. и др. Письма в ЖТФ. Т.15. Вып.1, 1989, с.47-50). Здесь импульс взрывной нагрузки создавался детонацией слоя (толщиной 2 см) смеси ацетилена с кислородом; амплитуда импульса на выходе из канала ударной трубы измерялась по остаточному прогибу диафрагмы, устанавливаемой на выходе из канала. Модели жидких элементов преграды в виде параллелепипедов с размерами 4×2×1 см3 изготавливались из студня водного раствора желатина с концентрацией 4% (Волченко О. И. и др. A.с. № 1026154, опубликовано 30.06.83. Бюл. изобретений № 24). При нагружении таких моделей продуктами детонации газовой смеси (с давлением порядка 1 МПа) эти модели ведут себя как жидкость. Для сообщения взрывного и буферного объема модели элементов преграды устанавливались с возможностью продольного перемещения вдоль оси канала ударной трубы и со сдвигом относительно друг друга с образованием промежутка между моделями элементов (вдоль оси канала); величина промежутка варьировалась от 0 до 2.5 см. В экспериментах с моделями элементов преграды наблюдается формирование вихревого течения в буферном объеме, смывание студня с поверхности моделей и образование вращающегося облака смеси продуктов детонации, воздуха и диспергированного студня.
Во всех экспериментах с применением модели взрывозащитного экрана наблюдалось снижение амплитуды взрывной нагрузки по сравнению со случаем, когда модель экрана отсутствует. Оптимум был достигнут при промежутке между моделями элементов преграды 0.5 см. При этом достигалось снижение взрывной нагрузки в 3 раза по сравнению со случаем, когда модели экранов отсутствовали.
Снижение амплитуды взрывной нагрузки в этих опытах объясняется действием следующих факторов:
– растяжение во времени импульса нагрузки за счет перетекания в заэкранный объем части продуктов детонации (эффект «подушки безопасности»);
– преобразование поступательного движения массы газов и студня вдоль канала ударной трубы в вихревое;
– развитие гидродинамических неустойчивостей на поверхностях моделей экранов; формирование вихревого течения, смывание студня с поверхности моделей и образование вращающегося облака смеси продуктов детонации, воздуха и диспергированного студня приводит к интенсификации отбора тепла от продуктов детонации и снижению их давления.
Противоосколочное действие жидкой преграды и преграды из льда исследовалось в натурных взрывных экспериментах. Все эти эксперименты показали высокую потенциальную эффективность предлагаемой конструкции.
Применение жидкостных (или заполненных сыпучей средой) элементов преграды имеет также и ряд положительных побочных моментов, повышающих безопасность проведения взрывных экспериментов с опасными токсичными и радиоактивными веществами. Газообразные продукты взрыва (ПВ) имеют высокую температуру, из-за чего внутри ВЗК непосредственно после взрыва устанавливается высокое статическое давление, что нежелательно с точки зрения возможных утечек опасных веществ. Водяные элементы преграды, превратившиеся после взрыва в мелкодисперсную взвесь, активно поглощают тепло из продуктов взрыва, тем самым быстро снижая давление в ВЗК сразу после взрыва. Это связано с тем, что вода обладает высокой теплоемкостью. Действительно, 1 тонна воды, энергией 20 Мкал, выделяемой при взрыве 20 кг ВВ, может быть нагрета примерно на 20 градусов. При таких температурах и высоком статическом давлении в ВЗК практически не происходит парообразования. Положительное влияние воды в ВЗК состоит еще и в том, что опасные вещества, находящиеся в мелкодисперсном состоянии, быстро связываются капельками воды, что резко снижает размер зоны заражения в случае аварийного прорыва ВЗК.
Таким образом, использование предложенных взрывозащитных экранов обеспечивает снижение уровня разрушительного действия взрыва за счет:
– снижения амплитуды взрывных нагрузок на торцевые стенки канала;
– кроме того, противоосколочную защиту торцевых стенок канала;
– уменьшение зоны заражения опасными веществами (пыль, аэрозоли, газообразные ПВ) в случае аварии.
Формула изобретения
1. Взрывозащитный экран торцевой стенки канала, представляющий собой преграду, разделяющую канал на взрывной объем и буферный объем, ограниченный торцевой стенкой, с обеспечением сообщения взрывного объема с буферным, отличающийся тем, что преграда выполнена составной, по крайней мере, из двух элементов, установленных с возможностью продольного перемещения вдоль оси канала, причем элементы размещены со сдвигом относительно друг друга и с возможностью сообщения взрывного объема с буферным через промежуток или промежутки между элементами.
2. Взрывозащитный экран торцевой стенки канала по п.1, отличающийся тем, что в проекции на поперечное сечение канала между элементами отсутствует зазор.
3. Взрывозащитный экран торцевой стенки канала по п.1, отличающийся тем, что элементы преграды выполнены из разрушаемых материалов, способных образовать облако диспергированной аэровзвеси при взрывной нагрузке.
РИСУНКИ
|
|