|
| На основании пункта 3 статьи 13 Патентного закона Российской Федерации от 23 сентября 1992 г. № 3517-I патентообладатель обязуется передать исключительное право на изобретение (уступить патент) на условиях, соответствующих установившейся практике, лицу, первому изъявившему такое желание и уведомившему об этом патентообладателя и федеральный орган исполнительной власти по интеллектуальной собственности, – гражданину РФ или российскому юридическому лицу. |
|
(21), (22) Заявка: 2006114464/06, 28.04.2006
(24) Дата начала отсчета срока действия патента:
28.04.2006
(46) Опубликовано: 27.08.2007
(56) Список документов, цитированных в отчете о поиске:
РОМАНКОВ П.Г. Сушка во взвешенном состоянии. – Л.: Химия, 1968, с.111, рис.II-45. РОМАНКОВ П.Г. Сушка во взвешенном состоянии. – Л.: Химия, 1968, с.113, рис.II-47, II-48. SU 901780 А1, 30.01.1982. SU 376648 A1, 30.05.1973.
Адрес для переписки:
123458, Москва, ул. Твардовского, 11, кв.92, О.С. Кочетову
|
(72) Автор(ы):
Кочетов Олег Савельевич (RU), Кочетова Мария Олеговна (RU), Львов Геннадий Васильевич (RU), Кочетов Сергей Савельевич (RU), Кочетов Сергей Сергеевич (RU)
(73) Патентообладатель(и):
Кочетов Олег Савельевич (RU)
|
(54) СУШИЛКА КИПЯЩЕГО СЛОЯ
(57) Реферат:
Изобретение относится к технике сушки дисперсных материалов и может быть использовано в микробиологической, пищевой, химической и других отраслях промышленности. Это достигается тем, что в сушилке кипящего слоя, содержащей загрузочное устройство влажного материала со шнековым питателем, сушильную камеру, нагреватель, вентилятор и систему очистки отработанного воздуха, в верхней части камеры сушки смонтирован вентилятор с двигателем, а дно продуктовой емкости сушильной камеры представляет собой перфорированную поверхность, которая покрыта металлической сеткой из нержавеющей стали с тончайшими отверстиями, а над продуктовой емкостью расположен фильтр, который встряхивается после окончания процесса сушки вручную или автоматическим приспособлением, а воздух подается под перфорированную поверхность через воздушный нагреватель и фильтр. Технический результат – повышение производительности сушки. 1 ил.
Изобретение относится к технике сушки дисперсных материалов и может быть использовано в микробиологической, пищевой, химической и других отраслях промышленности.
Наиболее близким техническим решением к заявляемому объекту является сушилка по а.с. СССР №553424, F26В 17/10, 1975 г., содержащая загрузочный бункер влажного материала со шнековым питателем, сушильную камеру с опорной решеткой, топку со смесительной камерой, турбогазодувку и систему очистки отработанного воздуха (прототип).
Недостаток прототипа – сравнительно невысокая производительность сушки конечного продукта.
Технический результат – повышение производительности сушки.
Это достигается тем, что в сушилке кипящего слоя, содержащей загрузочное устройство влажного материала со шнековым питателем, сушильную камеру, нагреватель, вентилятор и систему очистки отработанного воздуха, в верхней части камеры сушки смонтирован вентилятор с двигателем, а дно продуктовой емкости сушильной камеры представляет собой перфорированную поверхность, которая покрыта металлической сеткой из нержавеющей стали с тончайшими отверстиями, а над продуктовой емкостью расположен фильтр, который встряхивается после окончания процесса сушки вручную или автоматическим приспособлением, а воздух подается под перфорированную поверхность через воздушный нагреватель и фильтр.
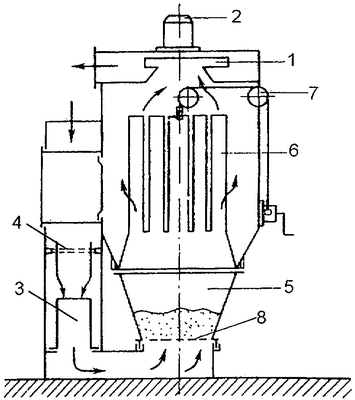
На чертеже показана схема сушилки кипящего слоя.
Сушилка кипящего слоя содержит сушильную камеру, в верхней части которой смонтирован вентилятор 1 с двигателем 2. Дно продуктовой емкости 5 сушильной камеры представляет собой перфорированную поверхность 8, которая покрыта металлической сеткой из нержавеющей стали с тончайшими отверстиями. Расположенный над продуктовой емкостью фильтр 6 предотвращает унос потоком воздуха частичек даже тончайшего помола. Фильтр стряхивается после окончания процесса сушки вручную или автоматическим приспособлением 7, при этом отдельные частички снова оседают в продуктовой емкости 5. Воздух подается под перфорированную поверхность 8 через воздушный нагреватель 3 и фильтр 4.
Пыль, образующаяся в процессе сушки, может быть уловлена также в системе пылеочистки, которая может быть выполнена (не показано) из акустической установки, оптимальными параметрами которой для звуковой обработки среднедисперсной пыли являются: уровень звукового давления 140 дБ и более, частота колебательного движения 900 Гц, концентрация пыли в воздушном потоке не менее 2 г/м3, время озвучивания 1,5…2 с, и циклона, бункер которого связан с емкостями для высушенного материала. Акустическая установка в этом случае подсоединяется к выхлопному патрубку вентилятора 1, а ее выход подсоединяется ко входу циклона. При этом рукавный фильтр может быть демонтирован, что существенно увеличит высоту кипящего слоя и производительность установки в целом.
Сушилка кипящего слоя работает следующим образом.
Принцип действия сушилки состоит в том, что гранулированный или пылевидный продукт воздушным потоком взрыхляется и переводится во взвешенное состояние. Необходимый для этого воздушный поток создается смонтированным на верхней части аппарата вентилятором 1, который приводится в действие непосредственно от мотора 2. Засасываемый снаружи или из рабочего помещения воздух подается сначала в воздушный нагреватель 3, где нагревается до требуемой температуры. Одновременно производится фильтрование воздуха от находящихся в нем посторонних частиц при помощи фильтра 4, затем поток горячего воздуха проходит снизу вверх через находящийся в продуктовой емкости материал и в кратчайший срок отнимает у него влагу. Дно продуктовой емкости 5 представляет собой перфорированную поверхность 8, которая покрыта металлической сеткой из нержавеющей стали с тончайшими отверстиями. В зависимости от выбора конструкции дна и скорости движения воздушного потока можно увеличивать или уменьшать ожижение материала. Расположенный над продуктовой емкостью фильтр 6 предотвращает увлечение потоком воздуха частичек даже тончайшего помола. Фильтр стряхивается после окончания процесса сушки вручную или автоматическим приспособлением 7, при этом отдельные частички снова оседают в продуктовой емкости.
Пыль, образующаяся в процессе сушки, может быть уловлена также в системе пылеочистки, которая может быть выполнена (не показано) из акустической установки, оптимальными параметрами которой для звуковой обработки среднедисперсной пыли являются: уровень звукового давления 140 дБ и более, частота колебательного движения 900 Гц, концентрация пыли в воздушном потоке не менее 2 г/м3, время озвучивания 1,5…2 с, и циклона, бункер которого связан с емкостями для высушенного материала. Акустическая установка в этом случае подсоединяется к выхлопному патрубку вентилятора 1, а ее выход подсоединяется ко входу циклона. При этом рукавный фильтр может быть демонтирован, что существенно увеличит высоту кипящего слоя и производительность установки в целом.
Предложенная установка предназначена для сушки продуктов в химико-фармацевтической промышленности.
Формула изобретения
Сушилка кипящего слоя, содержащая загрузочное устройство влажного материала со шнековым питателем, сушильную камеру, дно продуктовой емкости которой представляет собой перфорированную поверхность, которая покрыта металлической сеткой с отверстиями, а над продуктовой емкостью расположен фильтр, который встряхивается приспособлением, воздух подается под перфорированную поверхность через воздушный нагреватель, вентилятор, отличающаяся тем, что сушилка содержит систему очистки отработанного воздуха, а вентилятор с двигателем смонтирован в верхней части камеры сушки, перфорированная поверхность дна продуктовой емкости сушильной камеры покрыта металлической сеткой из нержавеющей стали, а фильтр встряхивается после окончания процесса сушки вручную или автоматическим приспособлением, при этом воздух подается под перфорированную поверхность через воздушный нагреватель и фильтр.
РИСУНКИ
|
|