|
|
(21), (22) Заявка: 2005136547/06, 24.11.2005
(24) Дата начала отсчета срока действия патента:
24.11.2005
(46) Опубликовано: 27.08.2007
(56) Список документов, цитированных в отчете о поиске:
SU 840564 А, 23.06.1981. SU 1622715 A1, 23.01.1991. SU 1315721 A1, 07.06.1987. RU 2177112 C1, 27.03.2000. FR 2280861 А, 27.02.1976.
Адрес для переписки:
191167, Санкт-Петербург, ул. Атаманская, 3/6, ОАО “НПО ЦКТИ”
|
(72) Автор(ы):
Белоусов Михаил Павлович (RU), Воинов Александр Владимирович (RU)
(73) Патентообладатель(и):
Открытое Акционерное Общество “Научно-производственное объединение по исследованию и проектированию энергетического оборудования им. И.И. Ползунова” (ОАО “НПО ЦКТИ”) (RU)
|
(54) ПОВЕРХНОСТНЫЙ ПОДОГРЕВАТЕЛЬ
(57) Реферат:
Изобретение относится к области энергетики и может быть использовано в теплообменных аппаратах регенеративных систем, систем теплоснабжения, предназначенных для подогрева воды за счет конденсации пара и переохлаждения его конденсата на трубах поверхности теплообмена. Предложен поверхностный подогреватель, включающий корпус с патрубками входа пара и выхода его конденсата, верхнюю распределительную водяную камеру с перегородкой и патрубками входа и выхода нагреваемой воды, нижнюю поворотную водяную камеру, кожух с размещенной в нем трубной системой с верхней и нижней трубными досками и горизонтальными перегородками, при этом горизонтальные перегородки трубной системы выполнены из двух расположенных на разных высотных уровнях частей, над нижней частью перегородки установлен короб с открытой верхней частью с расположенным в нем вертикальным направляющим листом, образующим с боковыми стенками короба гидрозатвор, а по всей длине трубной системы за гидрозатвором установлена направляющая вертикальная перегородка, образующая совместно с вертикальным направляющим листом короба сквозной канал. Заявляемое техническое решение позволяет повысить экономичность работы поверхностного подогревателя за счет сохранения “естественного” и дополнительного переохлаждения конденсата греющего пара и улучшения условий работы регулирующего клапана. 2 ил.
Изобретение относится к области энергетики и может быть использовано в теплообменных аппаратах регенеративных систем, систем теплоснабжения, предназначенных для подогрева воды за счет конденсации пара и переохлаждения его конденсата на трубах поверхности теплообмена.
Известен поверхностный подогреватель, содержащий корпус с патрубками подвода пара и отвода его конденсата, распределительную водяную камеру с патрубками подвода и отвода нагреваемой воды “плавающую” водяную камеру, кожух и трубную систему, расположенную между распределительной и плавающей водяными камерами. (Отраслевой каталог Теплообменное оборудование паротурбинных установок, часть II, 20-89-09 – М.: ЦНИИТЭИТЯЖМАШ, 1989, с.58. Рис.35).
Недостатком известного подогревателя является необходимость для охлаждения конденсата греющего пара устанавливать дополнительный водо-водяной теплообменник (охладитель конденсата). Установка дополнительного выносного охладителя конденсата увеличивает капитальные затраты, усложняет схему, повышает эксплуатационные расходы.
Известен подогреватель, включающий корпус с патрубками подвода пара и отвода его конденсата, водяную камеру с перегородкой и патрубками входа и выхода нагреваемой воды, трубную систему с горизонтальными перегородками, под каждой из них установлена дополнительная перегородка в виде сегмента, на которой выполнена перфорация для прохода труб и для выхода конденсата пара. Вытекающий струями из отверстий всех дополнительных перегородок переохлажденный, по отношению к температуре насыщения, конденсат греющего пара (переохлаждение за счет естественного охлаждения пленки конденсата на трубах поверхности теплообмена при конденсации на них греющего пара) нагревается потоком пара до температуры насыщения и при этой температуре отводится из корпуса подогревателя (SU 840564, МПК F22D 1/32, опубликовано 23.06.81).
По совокупности признаков это известное техническое решение является наиболее близким к заявляемому и принято за прототип.
Недостатком известного подогревателя, принятого за прототип, является отсутствие на выходе из подогревателя переохлаждения (по отношению к температуре насыщения) конденсата греющего пара, что усложняет работу регулирующего клапана (работает при высокой температуре конденсата) и снижает экономичность работы подогревателя.
Известно, что при конденсации пара в пароводяном подогревателе пленка конденсата, стекающего особенно по трубам поверхности теплообмена при входе в них нагреваемой воды, переохлаждается и может иметь температуру значительно ниже температуры насыщения. Однако это переохлаждение до выхода из подогревателя не сохраняется, так как переохлажденная в разной степени пленка конденсата греющего пара направляется на горизонтальные перегородки и, стекая с них, нагревается опять до температуры насыщения.
Заявляемое техническое решение позволяет не только сохранять это “естественное” переохлаждение конденсата греющего пара, но и увеличить его за счет конструктивных мер. Переохлажденный при отекании по трубам поверхности теплообмена конденсат пара с каждой горизонтальной перегородки поступает в короб, верхний объем которого разделен на две части вертикальным направляющим листом. Через днище короба по обе стороны от вертикального направляющего листа проходят трубы поверхности теплообмена. Этот лист совместно с боковыми и торцевыми листами короба образует гидрозатвор. Переохлажденный при стекании с труб поверхности теплообмена конденсат пара поступает в короб, где вначале при прямоточном (опускная ветвь гидрозатвора), а затем противоточном (подъемная ветвь гидрозатвора) движении омывает трубы поверхности теплообмена, что приводит к его дополнительному охлаждению. Из любого короба конденсат поступает в закрытый канал, из него – на нижнюю трубную доску и далее выводится из подогревателя глубоко охлажденным. Величина переохлаждения определяется высотой короба и размещенной в ней поверхности теплообменных труб. Таким образом, заявляемое решение позволяет повысить экономичность работы поверхностного подогревателя за счет сохранения “естественного” и дополнительного переохлаждения конденсата греющего пара и улучшения условий работы регулирующего клапана.
Предложен поверхностный подогреватель, включающий корпус с патрубками входа пара и выхода его конденсата, верхнюю распределительную водяную камеру с перегородкой и патрубками входа и выхода нагреваемой воды, нижнюю поворотную водяную камеру, кожух с размещенной в нем трубной системой с верхней и нижней трубными досками и горизонтальными перегородками, при этом горизонтальные перегородки трубной системы выполнены из двух расположенных на разных высотных уровнях частей, над нижней частью перегородки установлен короб с открытой верхней частью с расположенным в нем вертикальным направляющим листом, образующим с боковыми стенками короба гидрозатвор, а по всей длине трубной системы за гидрозатвором установлена направляющая вертикальная перегородка, образующая совместно с вертикальным направляющим листом короба сквозной канал.
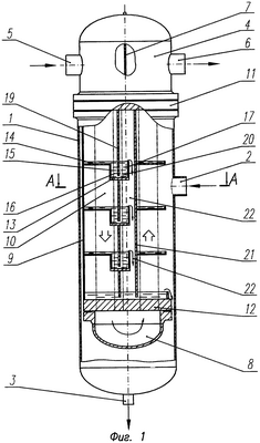
Изобретение иллюстрируется фиг.1 и 2, где на фиг.1 изображен поверхностный подогреватель, продольный разрез, на фиг.2 – сечение А-А.
Поверхностный подогреватель включает корпус 1 с патрубком входа пара 2 и выхода его конденсата 3, верхнюю распределительную водяную камеру 4 с патрубками входа 5 и выхода 6 нагреваемой воды и перегородкой 7, нижнюю поворотную водяную камеру 8, кожух 9 с размещенной в нем трубной системой 10 с верхней 11 и нижней 12 трубными досками и горизонтальными перегородками, выполненными из двух расположенных на разных высотных уровнях частей 13 и 14, соединенных между собой вертикальной перегородкой 15. Над нижней частью 13 горизонтальной перегородки установлен короб 16 с открытой верхней частью, образованный боковыми листами 17 и торцевыми листами 18, днищем которого является нижняя часть 13 горизонтальной перегородки. В коробе 16 расположен вертикальный направляющий лист 19, верхний участок которого приварен к верхней трубной доске 11 или к первой части горизонтальной перегородки 13, а нижний участок установлен с зазором по отношению к первой части горизонтальной перегородки 13. Вертикальный направляющий лист 19 совместно с боковым листом 17 образуют гидрозатвор 20. По всей длине трубной системы 10 за гидрозатвором 20 установлена направляющая вертикальная перегородка 21, образующая совместно с вертикальными направляющими листами 19 короба 16 сквозной канал 22.
Поверхностный подогреватель работает следующим образом. Поток нагреваемой воды через патрубок 5 поступает в верхнюю распределительную водяную камеру 4. Перегородка 7 обеспечивает поступление нагреваемой воды в трубы первого хода трубной системы 10, где вода нагревается за счет конденсации пара и переохлаждения конденсата. После труб первого хода нагреваемая вода поступает в нижнюю поворотную водяную камеру 8, после которой проходит трубы второго хода трубной системы 10, нагревается за счет конденсации пара, и поступает в водяную камеру 4, и далее через патрубок 6 выводится из подогревателя. Греющий пар через патрубок 2 поступает в корпус 1, распределяется в нем по всей высоте трубной системы 10 и выходит между горизонтальными перегородками 14 на трубы поверхности теплообмена трубной системы 10, на которых конденсируется, передавая тепло конденсации пара нагреваемой воде, протекающей в трубах. После прохождения паром всех труб трубной системы 10 и повышения концентрации воздуха в нем образовавшаяся паровоздушная смесь через вертикальную перфорированную трубу отводится из подогревателя. Конденсат пара с труб поверхности теплообмена стекает на горизонтальные перегородки 13 и 14. С перегородки 14 конденсат поступает в короб 16. При стекании конденсата с труб поверхности теплообмена и движении его по перегородке 14 он переохлаждается. Дополнительное переохлаждение конденсата обеспечивается при его контакте с трубами поверхности теплообмена, расположенными в коробе 16, полностью заполняемом конденсатом, благодаря наличию гидрозатвора 20. Переохлаждение конденсата в коробе 16 происходит при прямоточном его движении в опускном клапане гидрозатвора 20 и противоточном в подъемном канале. Степень дополнительного переохлаждения конденсата можно регулировать величиной поверхности теплообмена труб, располагаемых в коробе 16. Переохлажденный при стекании с труб поверхности теплообмена и при движении в коробе 16 конденсат поступает в сквозной канал 22, далее по нему направляется на нижнюю трубную доску 12 и, сохраняя переохлаждение, выводится из подогревателя через патрубок 3.
Формула изобретения
Поверхностный подогреватель, включающий корпус с патрубками входа пара и выхода его конденсата, верхнюю распределительную водяную камеру с перегородкой и патрубками входа и выхода нагреваемой воды, нижнюю поворотную водяную камеру, кожух с размещенной в нем трубной системой с верхней и нижней трубными досками и горизонтальными перегородками, отличающийся тем, что горизонтальные перегородки трубной системы выполнены из двух расположенных на разных высотных уровнях частей, при этом над нижней частью перегородки установлен короб с открытой верхней частью с расположенным в нем вертикальным направляющим листом, образующим с боковыми стенками короба гидрозатвор, а по всей длине трубной системы за гидрозатвором установлена направляющая вертикальная перегородка, образующая совместно с вертикальным направляющим листом короба сквозной канал.
РИСУНКИ
|
|