|
|
(21), (22) Заявка: 2006111115/06, 05.04.2006
(24) Дата начала отсчета срока действия патента:
05.04.2006
(46) Опубликовано: 27.08.2007
(56) Список документов, цитированных в отчете о поиске:
RU 2257513 C1, 27.07.2005. SU 1483182 A, 30.05.1989. RU 2010932 C1, 15.04.1994. SU 1157320 A, 23.05.1985. US 3730073 A, 01.05.1973.
Адрес для переписки:
443100, г.Самара, ул. Молодогвардейская, 244, Главный корпус СамГТУ, патентный отдел
|
(72) Автор(ы):
Кудинов Анатолий Александрович (RU), Зиганшина Светлана Камиловна (RU), Горбачев Илья Николаевич (RU)
(73) Патентообладатель(и):
Государственное образовательное учреждение высшего профессионального образования Самарский государственный технический университет (RU)
|
(54) КОТЕЛЬНАЯ УСТАНОВКА
(57) Реферат:
Изобретение относится к области теплоэнергетики и может быть использовано в котельных установках на тепловых электростанциях. Технический результат – повышение надежности котельной установки за счет исключения конденсации водяных паров из уходящих газов на внутренней поверхности футеровки дымовой трубы. Предлагается котельная установка, содержащая дымовую трубу с воздушным каналом между железобетонным стволом и футеровкой, образующей газоотводящий канал, установленные под газоотводящим каналом дымовой трубы калорифер для подогрева воздуха и вентилятор для подачи подогретого в калорифере воздуха в воздушный канал дымовой трубы, разделенный установленными в нем двумя вертикальными перегородками на две части, при этом дымовая труба снабжена коробом отвода подогретого воздуха из одной части воздушного канала в его другую часть, а в основании газоотводящего канала дымовой трубы установлен кольцевой перфорированный коллектор переменного поперечного сечения, снабженный подключенным к воздушному каналу патрубком, для подачи подогретого воздуха из воздушного канала в пристенный слой дымовых газов, движущихся по газоотводящему каналу. 2 ил.
Изобретение относится к области теплоэнергетики и может быть использовано в котельных установках на тепловых электростанциях.
Известен аналог – котельная установка (см. патент РФ №2257513, Б.И. №21, 2005), содержащая дымовую трубу с воздушным каналом между железобетонным стволом и футеровкой, образующей газоотводящий канал, установленные под газоотводящим каналом дымовой трубы калорифер для подогрева воздуха и вентилятор для подачи подогретого в калорифере воздуха в воздушный канал дымовой трубы, разделенный установленными в нем двумя вертикальными перегородками на две части, при этом дымовая труба снабжена коробом отвода подогретого воздуха из одной части воздушного канала в его другую часть. Данный аналог принят за прототип.
К причине, препятствующей достижению указанного ниже технического результата при использовании известной котельной установки, принятой за прототип, относится то, что известная котельная установка обладает пониженной надежностью из-за возможной конденсации водяных паров, содержащихся в уходящих газах, на внутренней поверхности футеровки дымовой трубы и последующего ее разрушения.
Сущность изобретения заключается в следующем.
Для повышения надежности дымовой трубы и тем самым котельной установки необходимо исключить конденсацию водяных паров из уходящих газов на внутренней поверхности футеровки дымовой трубы. Для этого предлагается снизить влагосодержание, а следовательно, и точку росы дымовых газов, движущихся в пристенном слое газоотводящего канала, путем подачи в пристенный слой дымовых газов подогретого воздуха из воздушного канала посредством установки в основании газоотводящего канала дымовой трубы кольцевого перфорированного коллектора переменного поперечного сечения, снабженного подключенным к воздушному каналу патрубком.
Известно, что уходящие продукты сгорания природного газа при коэффициентах избытка воздуха 1,25÷1,35 имеют влагосодержание 0,12÷0,111 кг/кг с.г. (точка росы газов tр.газов=55,3÷54°С), а влагосодержание подогретого атмосферного воздуха, движущегося в воздушном канале дымовой трубы, равно 0,01 кг/кг с.в. Подмешивание 30÷20% по объему воздуха к уходящим газам позволяет снизить их влагосодержание до 0,05÷0,06 кг/кг с.г. и одновременно снизить точку росы до 41÷45°С, а подмешивание 50% по объему воздуха к уходящим газам позволяет снизить их точку росы до 37°С. Снижение точки росы дымовых газов, движущихся в пристенном слое газоотводящего канала, исключает выпадение из них конденсата водяных паров на внутренней поверхности футеровки дымовой трубы, что повышает надежность котельной установки.
Технический результат – повышение надежности котельной установки за счет исключения конденсации водяных паров из уходящих газов на внутренней поверхности футеровки дымовой трубы.
Указанный технический результат при осуществлении изобретения достигается тем, что известная котельная установка содержит дымовую трубу с воздушным каналом между железобетонным стволом и футеровкой, образующей газоотводящий канал, установленные под газоотводящим каналом дымовой трубы калорифер для подогрева воздуха и вентилятор для подачи подогретого в калорифере воздуха в воздушный канал дымовой трубы, разделенный установленными в нем двумя вертикальными перегородками на две части, при этом дымовая труба снабжена коробом отвода подогретого воздуха из одной части воздушного канала в его другую часть. Особенность котельной установки заключается в том, что в основании газоотводящего канала дымовой трубы установлен кольцевой перфорированный коллектор переменного поперечного сечения, снабженный подключенным к воздушному каналу патрубком, для подачи подогретого воздуха из воздушного канала в пристенный слой дымовых газов, движущихся по газоотводящему каналу.
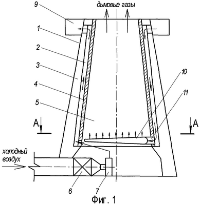
На чертежах представлено: на фигуре 1 изображена схема котельной установки; на фигуре 2 – сечение А-А на фигуре 1.
Котельная установка содержит дымовую трубу 1 с воздушным каналом 2 между железобетонным стволом 3 и футеровкой 4, образующей газоотводящий канал 5, установленные под газоотводящим каналом 5 дымовой трубы 1 калорифер 6 для подогрева воздуха и вентилятор 7 для подачи подогретого в калорифере 6 воздуха в воздушный канал 2, разделенный установленными в нем двумя вертикальными перегородками 8 на первую и вторую по ходу движения подогретого воздуха части, при этом дымовая труба 1 снабжена коробом 9 отвода подогретого воздуха из первой части воздушного канала 2 в его вторую часть, а в основании газоотводящего канала 5 установлен кольцевой перфорированный коллектор 10 переменного поперечного сечения, снабженный подключенным к воздушному каналу 2 патрубком 11.
Работа котельной установки осуществляется следующим образом.
Атмосферный воздух подогревается в калорифере 6 и вентилятором 7 подается в первую часть воздушного канала 2 дымовой трубы 1. По первой части воздушного канала 2 подогретый воздух движется вверх и через окна в железобетонном стволе 3 поступает в короб 9, по которому направляется во вторую часть воздушного канала 2. Из второй части воздушного канала 2 подогретый воздух через патрубок 11 поступает в кольцевой перфорированный коллектор 10 переменного поперечного сечения. Из коллектора 10 подогретый воздух направляется в пристенный слой дымовых газов, движущихся по газоотводящему каналу 5.
Для защиты железобетонного ствола 3 от коррозии в обеих частях воздушного канала 2 по всей его высоте вентилятором 7 поддерживается статическое давление, превышающее давление в газоотводящем канале 5. Это предотвращает фильтрацию и диффузию агрессивных компонентов, содержащихся в дымовых газах, к железобетонному стволу 3. Во избежание растрескивания футеровки 4 подаваемый в воздушный канал 2 воздух подогревается в калорифере 6 до требуемой температуры, которая принимается из условия получения допустимого перепада температур в конструкции футеровки 4. Движущиеся по газоотводящему каналу 5 дымовые газы отводятся в атмосферу.
Таким образом, в заявленном решении подогретый в калорифере воздух после воздушного канала дымовой трубы, разделенного установленными в нем двумя вертикальными перегородками на две части, и кольцевого перфорированного коллектора переменного поперечного сечения направляется в газоотводящий канал, за счет этого снижается влагосодержание, а следовательно, и точка росы дымовых газов, движущихся в пристенном слое газоотводящего канала, что повышает надежность котельной установки.
Формула изобретения
Котельная установка, содержащая дымовую трубу с воздушным каналом между железобетонным стволом и футеровкой, образующей газоотводящий канал, установленные под газоотводящим каналом дымовой трубы калорифер для подогрева воздуха и вентилятор для подачи подогретого в калорифере воздуха в воздушный канал дымовой трубы, разделенный установленными в нем двумя вертикальными перегородками на две части, при этом дымовая труба снабжена коробом отвода подогретого воздуха из одной части воздушного канала в его другую часть, отличающаяся тем, что в основании газоотводящего канала дымовой трубы установлен кольцевой перфорированный коллектор переменного поперечного сечения, снабженный подключенным к воздушному каналу патрубком, для подачи подогретого воздуха из воздушного канала в пристенный слой дымовых газов, движущихся по газоотводящему каналу.
РИСУНКИ
MM4A – Досрочное прекращение действия патента СССР или патента Российской Федерации на изобретение из-за неуплаты в установленный срок пошлины за поддержание патента в силе
Дата прекращения действия патента: 06.04.2008
Извещение опубликовано: 10.02.2010 БИ: 04/2010
|
|