|
|
(21), (22) Заявка: 2006121272/11, 15.06.2006
(24) Дата начала отсчета срока действия патента:
15.06.2006
(46) Опубликовано: 27.08.2007
(56) Список документов, цитированных в отчете о поиске:
SU 1532744 A1, 30.12.1989. SU 800453 A1, 30.01.1981. RU 2149290 C1, 20.05.2000. US 4410178 A, 18.10.1983. GB 750532 A, 20.06.1956. SU 607074 A1, 15.05.1978. SU 1315679 A1, 07.06.1987.
Адрес для переписки:
195112, Санкт-Петербург, Красногвардейская пл., 3, ЦКБМ, отдел стандартизации, научно-технической информации и патентов
|
(72) Автор(ы):
Ямпольский Андрей Александрович (RU), Татаринов Сергей Борисович (RU)
(73) Патентообладатель(и):
ФГУП “Центральное конструкторское бюро машиностроения” (RU)
|
(54) СИЛОВАЯ ПОВОДКОВАЯ МУФТА
(57) Реферат:
Изобретение относится к невыключаемым муфтам, допускающим возможность относительного перемещения соединяемых валов во время эксплуатации. Силовая поводковая муфта содержит первую полумуфту, радиально охватывающую вторую полумуфту. В охватывающей части первой полумуфты выполнена цилиндрическая расточка, продольная ось которой параллельна продольной оси первого вала. В указанную расточку вставлен цилиндрический палец с возможностью вращения относительно оси расточки. С торца пальца, обращенного ко второй полумуфте, выполнен сквозной радиальный паз. Во второй полумуфте выполнена цилиндрическая расточка, продольная ось которой перпендикулярна продольной оси второго вала. В эту расточку вставлен цилиндрический стержень с возможностью вращения относительно оси расточки. При этом на выступающем из указанной расточки конце стержня выполнены лыски, обеспечивающие возможность введения этого конца в паз цилиндрического пальца и возможность его плоского движения относительно пальца параллельно стенкам паза. Технический результат заключается в повышении несущей способности, износостойкости и компенсирующей способности поводковой муфты при радиальных, осевых и угловых смещениях продольных осей соединяемых валов, а также при произвольных сочетаниях указанных смещений. 2 ил.
Изобретение относится к невыключаемым муфтам, допускающим возможность относительного перемещения соединяемых валов во время эксплуатации. Изобретение может быть использовано в различных машинах (например, в грузоподъемных устройствах, механизмах станков и т.п.) преимущественно в составе силового механизма.
Относительные смещения и перекосы продольных геометрических осей соединяемых валов возможны из-за неточностей изготовления и монтажа, а также из-за функционально необходимого во время работы относительного движения валов. Эти смещения могут быть компенсированы применением муфт соответствующего типа, например поводковых, характеризуемых малыми осевыми размерами.
Как известно, поводковая муфта состоит из двух полумуфт, каждая из которых неподвижно соединена со своим валом, при этом на фланце одной полумуфты жестко закреплен палец (поводок), входящий в радиальный паз фланца второй полумуфты [Красковский Е.Я., Дружинин Ю.А., Филатова Е.М. Расчет и конструирование механизмов приборов и вычислительных систем: Учеб. пособие для вузов. – 2-е изд., перераб. и доп. – М.: Высшая школа, 1991, с.429 (рис.24.5, а)].
Недостатками данной муфты, ограничивающими ее несущую способность, являются значительные контактные напряжения в подвижном силовом сопряжении пальца первой полумуфты со стенками паза второй полумуфты, обусловленные первоначальным контактом пальца и стенки в точке (при сферическом пальце) или по линии (при цилиндрическом пальце), а также значительные напряжения (изгибные в пальце и контактные в неподвижном силовом сопряжении пальца с первой полумуфтой), обусловленные консольной установкой пальца.
Кроме того, допускаемый угол перекоса соединяемых валов при цилиндрическом пальце зависит от наличия зазора в соединении пальца с пазом, а увеличение зазора между пальцем и стенками паза ведет к образованию мертвого хода при изменении направления вращения, что не всегда является приемлемым. Увеличение же допускаемого угла перекоса валов путем выполнения пальца сферическим (шаровым) уменьшает несущую способность муфты этого типа.
Задача, решаемая изобретением, состоит в повышении несущей способности, износостойкости и компенсирующей способности поводковой муфты при радиальных, осевых и угловых смещениях продольных осей соединяемых валов, а также при произвольных сочетаниях указанных смещений.
Изобретение обеспечивает следующие, в частности, технические результаты:
во-первых, уменьшение (при заданной величине нагрузки) контактных напряжений в силовых сопряжениях элементов муфты;
во-вторых, уменьшение (при заданной величине нагрузки) изгибных напряжений в пальце;
в-третьих, исключение взаимосвязи величины мертвого хода, образующегося при изменении направления вращения валов, и величины компенсируемого углового смещения продольных осей соединяемых валов, а также расширение диапазона указанных смещений.
Сущность изобретения заключается в том, что в муфте, содержащей первую полумуфту, присоединяемую к концу первого вала и снабженную цилиндрическим пальцем, который предназначен для взаимодействия со второй полумуфтой, присоединяемой к концу второго вала, в отличие от прототипа
первая полумуфта радиально охватывает вторую полумуфту;
в охватывающей части первой полумуфты выполнена цилиндрическая расточка, продольная ось которой параллельна продольной оси первого вала с образованием двух диаметрально противоположных окон из нее, одно из которых обращено к оси первого вала, в указанную расточку вставлен цилиндрический палец с возможностью вращения относительно оси расточки, с торца пальца, обращенного ко второй полумуфте, выполнен сквозной радиальный паз;
во второй полумуфте выполнена цилиндрическая расточка, продольная ось которой перпендикулярна продольной оси второго вала, в указанную расточку вставлен цилиндрический стержень с возможностью вращения относительно оси расточки, на выступающем из этой расточки конце стержня выполнены лыски, обеспечивающие возможность введения этого конца в паз цилиндрического пальца и возможность его плоского движения относительно пальца параллельно стенкам паза.
Изобретение (в частном случае выполнения полумуфт отдельно от соединяемых валов) поясняется чертежами, где
фиг.1 – продольный (по оси соединяемых валов) разрез муфты;
фиг.2 – разрез по А-А.
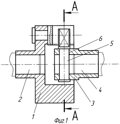
Силовая поводковая муфта содержит полумуфту 1, закрепленную на конце вала 2, и полумуфту 3, закрепленную на конце вала 4, при этом полумуфта 1 радиально охватывает полумуфту 3.
В полумуфте 1 выполнены цилиндрическая расточка 8, ось которой параллельна оси вала 2, с образованием двух диаметрально противоположных окон из нее, причем окно 9 обращено к оси вала 2. В указанную расточку вставлен цилиндрический палец 7, выполненный с возможностью вращения относительно оси расточки 8. С торца пальца 7, обращенного к полумуфте 3, выполнен сквозной радиальный паз 11.
В охватываемой полумуфте 3 выполнена цилиндрическая расточка 6, ось которой перпендикулярна оси вала 4. В указанную расточку вставлена цилиндрическая часть стержня 5, выполненная с возможностью вращения относительно оси расточки 6. На выступающем из расточки 6 конце стержня 5 выполнены лыски 10, обеспечивающие возможность введения этого конца стержня 5 в паз 11 и возможность его плоского движения относительно пальца 7 параллельно стенкам паза 11.
Для соединения вала 2 с валом 4, совместив просветы паза 11 и окна 9, вводят конец стержня 5 с лысками 10 в паз 11.
При передаче крутящего момента от вала 2 к валу 4 (от полумуфты 1 к полумуфте 3) силовое сопряжение происходит по цилиндрическим поверхностям расточки 8 и пальца 7, по плоским поверхностям стенок паза 11 и лысок 10 конца стержня 5, по цилиндрическим поверхностям части стержня 5 и расточки 6. Это обеспечивает уменьшение контактных напряжений при передаче заданного крутящего момента и, соответственно, увеличение износостойкости. Кроме того, расположение цилиндрического пальца 7 в расточке 8 полумуфты 1 исключает изгибные напряжения в пальце 7.
Перемещение выступающего из расточки 6 конца стержня 5 по пазу 11 вдоль оси расточки 8 компенсирует осевое смещение валов 2 и 4.
Перемещение выступающего из расточки 6 конца стержня 5 по пазу 11 перпендикулярно оси расточки 8 вместе с поворотом пальца 7 относительно оси расточки 8 компенсирует радиальное смещение валов 2 и 4. При этом наличие двух окон из расточки 8 увеличивает диапазон компенсируемых радиальных смещений.
Плоское смещение выступающего из расточки 6 конца стержня 5 в пазу 11 параллельно его стенкам вместе с поворотами пальца 7 относительно оси расточки 8 и стержня 5 относительно оси расточки 6 совместно компенсирует угловое смещение валов 2 и 4. При этом компенсация угловых смещений происходит без дополнительного образования мертвого хода при изменении направления вращения валов 2 и 4.
Указанные относительные перемещения элементов муфты возможны как по отдельности, так и в любом сочетании.
Формула изобретения
Силовая поводковая муфта, содержащая первую полумуфту, предназначенную для неподвижного соединения с концом первого вала и снабженную цилиндрическим пальцем, взаимодействующим со второй полумуфтой, предназначенной для неподвижного соединения с концом второго вала, отличающаяся тем, что первая полумуфта радиально охватывает вторую полумуфту, в охватывающей части первой полумуфты выполнена цилиндрическая расточка, продольная ось которой параллельна продольной оси первого вала, с образованием двух диаметрально противоположных окон из этой расточки, одно из которых обращено к оси первого вала, в указанную расточку вставлен цилиндрический палец с возможностью вращения относительно оси расточки, а с торца пальца, обращенного ко второй полумуфте, выполнен сквозной радиальный паз, во второй полумуфте выполнена цилиндрическая расточка, продольная ось которой перпендикулярна продольной оси второго вала, в эту расточку вставлен цилиндрический стержень с возможностью вращения относительно оси расточки, а на выступающем из указанной расточки конце стержня выполнены лыски, обеспечивающие возможность введения этого конца в паз цилиндрического пальца и возможность его плоского движения относительно пальца параллельно стенкам паза.
РИСУНКИ
PD4A – Изменение наименования обладателя патента СССР или патента Российской Федерации на изобретение
(73) Новое наименование патентообладателя:
Открытое акционерное общество «Центральное конструкторское бюро машиностроения» (RU)
Адрес для переписки:
195112, Санкт-Петербург, Красногвардейская пл., 3, ОАО «ЦКБМ», В.А. Никитину.
Извещение опубликовано: 20.01.2009 БИ: 02/2009
|
|