|
|
(21), (22) Заявка: 2002128139/06, 21.10.2002
(24) Дата начала отсчета срока действия патента:
21.10.2002
(30) Конвенционный приоритет:
22.10.2001 US 10/086,149
(43) Дата публикации заявки: 27.04.2004
(46) Опубликовано: 27.08.2007
(56) Список документов, цитированных в отчете о поиске:
US 5490762 А, 13.02.1996. US 5747904 А, 05.05.1998. SU 478974 А, 16.04.1976. SU 1408840 A1, 11.08.1986. RU 2171386 С2, 27.07.2001. RU 2144995 C1, 27.01.2000. US 4884903 A, 05.12.1989. FR 2742804 A, 28.03.1978.
Адрес для переписки:
129010, Москва, ул. Б.Спасская, 25, стр.3, ООО “Юридическая фирма Городисский и Партнеры”, пат.пов. Г.Б. Егоровой, рег.№ 513
|
(72) Автор(ы):
ТХЕМУДО Рамон (US), МОСКАРИНО Гари Пол (US), БРАУН Мартин Ричард (US), АНСТЕД Дуэйн Говард (US), ФИШЕР Кеннет Ли (US), СНОУ Кристофер Ли (US)
(73) Патентообладатель(и):
ДЖЕНЕРАЛ ЭЛЕКТРИК КОМПАНИ (US)
|
(54) МАСЛОСБОРНАЯ ПРОБКА (ВАРИАНТЫ)
(57) Реферат:
Изобретение относится к маслосборной пробке для возвращения масла, использованного для смазки подшипников газотурбинного двигателя. Маслосборная пробка предназначена для масляного картера и имеет центральный вентиляционный канал и один или более маслосборных каналов, параллельных центральному каналу. Маслосборные каналы позволяют маслу протекать назад в картер, где оно может возвращаться для повторного использования. Такое выполнение маслосборной пробки позволит обеспечить ощутимое сокращение расходования масла и простоту в изготовлении. 2 н.п. и 16 з.п. ф-лы, 8 ил.
Изобретение относится в целом к газотурбинным двигателям и, более конкретно, к маслосборной пробке для возвращения масла, использованного для смазки подшипников газотурбинного двигателя.
Газотурбинные двигатели в типичном варианте включают центральную часть, содержащую компрессор для сжатия воздуха, входящего в центральную часть, камеру сгорания, где топливо смешивается со сжатым воздухом и затем сгорает для создания газового потока высокой энергии, и турбину высокого давления, которая извлекает энергию из газового потока для приведения в действие компрессора. В авиационных турбовентиляторных двигателях турбина низкого давления, расположенная после центральной части, извлекает больше энергии из газового потока для приведения в действие вентилятора. Вентилятор создает главную движущую тягу, генерируемую двигателем.
В двигателе используются подшипники для точного расположения и монтажа с возможностью вращения роторов относительно статоров в компрессоре и турбинах высокого и низкого давления двигателя. Подшипники заключены в увлажняемые маслом части двигателя, называемые картерами.
Для предотвращения перегрева подшипников необходимо применять смазочное масло и уплотнители для предотвращения достижения горячим воздушным потоком в двигателе картеров подшипников, и потоки смазочного масла должны быть достаточными для извлечения тепла, генерируемого внутри подшипников вследствие их высокой относительной скорости вращения.
Проблема расхода масла возникает в связи со способом, используемым для уплотнения картеров двигателя. Способ уплотнения вызывает необходимость наличия контура подачи потока воздуха, который проходит в картеры и выходит из них. Этот поток в конечном итоге содержит масло, которое невозможно возвращать для повторного использования, если не использовать адекватный способ его извлечения и возвращения в картеры.
Используемые для этих целей технические решения приведены, например, в патентах США №№5490762, 5747904. В одной конкретной конфигурации передний картер двигателя вентилируется через вал переднего вентилятора и наружу из двигателя через центральную вентиляционную трубу. Когда смесь воздуха/масла выходит из картера, она завихряется, осаждая масло на внутренней стороне вала вентилятора. Масло, которое содержится в смеси воздуха/масла, теряется, когда оно не может под действием центробежной силы возвращаться в картер через вентиляционное отверстие из-за быстро выходящего оттуда воздуха. Некоторые конструкции позволяют возвращать масло посредством использования маслосборных отверстий, являющихся каналами, предназначенными для образования специального прохода для возвращения масла в картер, интегрированный в конструкцию вала переднего вентилятора. Маслосборные отверстия обычно имеют меньший диаметр и большую длину, чем отверстия, предназначенные для проведения вентилирующего потока. Однако в других конструкциях вал вентилятора не имеет специальных маслосборных отверстий, а имеет только вентиляционные отверстия. Формирование маслосборных отверстий в валах вентиляторов указанной конструкции после их производства и установки в двигатель было бы чрезмерно дорогим.
Соответственно, существует необходимость в способе возврата для повторного использования масла в существующих конструкциях картера без модификации существующих технических средств.
Краткое описание изобретения
Указанную выше потребность удовлетворяет настоящее изобретение, которое обеспечивает получение маслосборной пробки, имеющей центральный вентиляционный канал и один или более маслосборных каналов, параллельных центральному каналу.
В одном из аспектов изобретения создана маслосборная пробка, содержащая по существу цилиндрический корпус, имеющий первый и второй концы, продольную ось и стенку, причем указанная стенка имеет внутреннюю и наружную поверхности, при этом внутренняя поверхность образует центральный канал; фланец, расположенный вблизи первого конца; и по меньшей мере, один в целом ориентированный в осевом направлении маслосборный канал, расположенный в наружной поверхности указанной стенки, причем маслосборный канал проходит от фланца до второго конца. Маслосборная пробка может дополнительно содержать, по меньшей мере, один по существу кольцевой выступ, проходящий радиально наружу от наружной поверхности стенки на втором ее конце. Предпочтительно маслосборная пробка дополнительно содержит, по меньшей мере, два в целом ориентированных в осевом направлении паза, расположенных в указанной стенке у второго конца маслосборной пробки, причем пазы разделяют часть стенки, по меньшей мере, на два проходящих в осевом направлении зубца. При этом каждый из зубцов имеет пару скошенных поверхностей, сформированных на противоположных его сторонах на втором конце. Пробка согласно изобретению может также содержать по существу круглую головку, сформированную на первом конце маслосборной пробки, причем эта по существу круглая головка отделена от фланца по существу кольцевой канавкой. Предпочтительно маслосборная пробка содержит полимер. Фланец содержит по существу кольцевое ребро, обращенное к второму концу маслосборной пробки, и дополнительно содержит пару выемок, сформированных в ребре так, чтобы формировать противоположные каналы, причем каналы проходят по существу перпендикулярно продольной оси. Предпочтительно фланец имеет выемки, сформированные в нем так, чтобы образовывать пару плоских поверхностей, расположенных на противоположных сторонах фланца, причем плоские поверхности по существу параллельны продольной оси. При этом центральный канал имеет первое отношение длины к диаметру, и маслосборный канал имеет второе отношение длины к диаметру, при этом второе отношение длины к диаметру больше первого отношения длины к диаметру.
В другом варианте маслосборная пробка содержит по существу цилиндрический корпус, имеющий продольную ось и стенку, причем стенка ограничивает центральный канал; и по меньшей мере, один маслосборный канал, расположенный в стенке, причем маслосборный канал проходит по существу параллельно оси. Маслосборная пробка может дополнительно содержать по существу кольцевой фланец, расположенный на первом ее конце, и, по меньшей мере, один по существу кольцевой выступ, отступающий радиально наружу от наружной поверхности стенки на ее втором конце, а также, по меньшей мере, два ориентированных в целом в осевом направлении паза, расположенных в стенке на втором конце маслосборной пробки, причем пазы разделяют часть стенки на, по меньшей мере, два проходящих в осевом направлении зубца. Каждый из зубцов имеет пару скошенных поверхностей, сформированных на противоположных его сторонах на втором конце. Предпочтительно пробка согласно изобретению дополнительно содержит по существу круглую головку, сформированную на первом конце маслосборной пробки, причем по существу круглая пробка отделена от фланца по существу кольцевой канавкой. Маслосборная пробка может содержать полимер. При этом фланец содержит по существу кольцевое ребро, обращенное к второму концу маслосборной пробки, и дополнительно содержит пару выемок, сформированных в ребре так, чтобы образовывать противоположные каналы, причем каналы проходят по существу перпендикулярно продольной оси. Центральный канал имеет первое отношение длины к диаметру, и маслосборный канал имеет второе отношение длины к диаметру, при этом второе отношение длины к диаметру больше первого отношения длины к диаметру.
Настоящее изобретение и его преимущества перед известными решениями предшествующего уровня техники будут понятны при ознакомлении со следующим подробным описанием и прилагаемой формулой изобретения со ссылками на прилагаемые чертежи.
Краткое описание чертежей
Предмет, рассматриваемый как изобретение, конкретно показан и ясно заявлен в заключительной части описания. Однако изобретение может быть лучше понято при обращении к нижеследующему описанию, данному в сочетании с прилагаемыми чертежами, на которых:
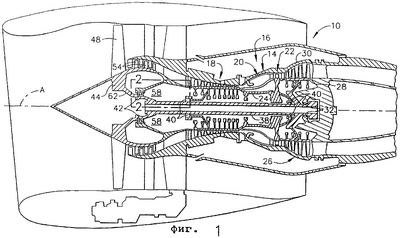
Фиг.1 изображает вид продольного осевого сечения газотурбинного двигателя, в конструкцию которого включена маслосборная пробка, соответствующая настоящему изобретению.
Фиг.2 изображает увеличенный частичный вид области двигателя, ограниченный прерывистой прямоугольной линией 2-2 на фиг.1.
Фиг.3 изображает перспективный вид маслосборной пробки, соответствующей настоящему изобретению.
Фиг.4 изображает вид торца маслосборной пробки, соответствующей настоящему изобретению.
Фиг.5 изображает вертикальный вид сбоку маслосборной пробки, показанной на фиг.4.
Фиг.6 изображает вид сечения, выполненного по линиям 6-6 на фиг.5.
Фиг.7 изображает перспективный вид маслосборной пробки, сконструированной согласно альтернативному варианту осуществления настоящего изобретения.
Фиг.8 изображает вид сечения части вала переднего вентилятора газотурбинного двигателя, имеющего установленную в него маслосборную пробку.
Подробное описание изобретения
На чертежах, на которых одинаковые ссылочные номера обозначают одинаковые элементы в разных видах, фиг.1 изображает газотурбинный двигатель, обозначенный в целом номером 10, в конструкцию которого включена маслосборная пробка, показанная на фиг.3-8. Двигатель 10 имеет продольную центральную линию или ось А и наружный неподвижный кольцевой корпус 14, расположенный концентрически вокруг и соосно оси А. Двигатель 10 включает центральную часть 16 газогенератора, которая состоит из многоступенчатого компрессора 18, камеры 20 сгорания и либо одноступенчатой, либо многоступенчатой турбины 22 высокого давления, которые расположены соосно вокруг продольной оси или центральной линии А двигателя и последовательно по ходу осевого потока. Кольцевой наружный ведущий вал 24 жестко соединяет компрессор 18 и турбину 22 высокого давления.
Центральная часть 16 выполняет функцию генерирования газообразных продуктов сгорания. Сжатый воздух, поступающий из компрессора 18, смешивается с топливом в камере 20 сгорания и воспламеняется, таким образом генерируя газообразные продукты сгорания. Часть энергии газов отбирает турбина 22 высокого давления, которая приводит в действие компрессор 18. Остальные газообразные продукты сгорания выпускаются из центральной части 16 в турбину 26 низкого давления.
Внутренний приводной вал 38 установлен для вращения относительно наружного приводного вала 24 на задних подшипниках 32, дифференциальных подшипниках 40 и пригодных передних подшипниках 42, соединенных с наружным неподвижным корпусом 14. Внутренний приводной вал 38, в свою очередь, приводит во вращение вал 62 переднего вентилятора, который, в свою очередь, приводит ротор 44 диска переднего вентилятора/нагнетателя. Лопасти 48 вентилятора и лопатки 54 нагнетателя установлены на роторе 44 диска вентилятора/нагнетателя для совместного вращения.
На фиг.2 показана область газотурбинного двигателя 10, в котором образован обычный картер 58 подшипника у передних подшипников 42. Картер 58 подшипника в целом ограничен внешней кольцевой структурой 60, которая соединена с наружным корпусом 14 и валом 62 переднего вентилятора, который жестко соединяет передний конец внутреннего приводного вала 38 с ротором 44 диска переднего вентилятора/нагнетателя. Вал 62 переднего вентилятора, соединенный с внутренней кольцевой канавкой 42А качения передних подшипников 42, вращается с внутренним приводным валом 38 относительно неподвижной внешней кольцевой структуры 60 картера 58 подшипника, которая соединена с внешней кольцевой канавкой 42В качения передних подшипников 42.
Вблизи передних подшипников 42 и между передними концами вращающихся относительно друг друга внешней кольцевой структуры 60 и вала 62 переднего вентилятора расположены обычные воздушные и масляные лабиринтные уплотнения 64, 66 для уплотнения переднего конца картера 58 подшипника. Масло накачивается к передним подшипникам 42 и, таким образом, в картер 58 по каналу 68 подачи масла. Сжатый воздух нагнетается в воздушное лабиринтное уплотнение 64 по каналу 70 подачи воздуха для предотвращения утечки масла через лабиринтное масляное уплотнение 66.
Часть нагнетаемого сжатого воздуха, которая поступает в картер 58 подшипника, должна вентилироваться из картера 58 контролируемым образом для поддержания надлежащего баланса давления в картере. Однако сжатый воздух смешивается с частицами масла в картере 58. Таким образом, вал 62 переднего вентилятора имеет одно или более вентиляционных отверстий 84, проходящих сквозь его толщину в целом в радиальном направлении. В типичном случае вал 62 вентилятора имеет множество этих отверстий 84, расположенных полосой по его окружности. Вентиляционные отверстия 84 создают проход для воздушного потока из картера 58 в вентиляционную камеру 78 и затем в центральную вентиляционную трубу 80. К валу 62 переднего вентилятора крепежными средствами 76 прикреплена крышка 74.
Как показано на фиг.3-6, маслосборная пробка 90 имеет цельный корпус 92, имеющий первый конец 96 и второй конец 98, ограничивающие проходящую между ними ось 94. По существу цилиндрический центральный канал 100 проходит в осевом направлении сквозь корпус 92 от первого конца 96 до второго конца 98. На первом конце 96 расположена по существу круглая головка 116, имеющая плоскую торцевую поверхность 118. К головке 116 примыкает по существу кольцевой фланец 104, который имеет пару противоположных плоских поверхностей 108, сформированных на его противоположных в боковом направлении сторонах. Круглую головку 116 и фланец 104 отделяет кольцевая канавка 117, образующая поверхность для упора инструмента при удалении пробки 90. По существу цилиндрическая удлиненная часть 102 проходит между ближним концом 110, примыкающим к фланцу 104, и дальним концом 112 на втором конце 98 корпуса 92. В стыке удлиненной части 102 и фланца 104 расположена кольцевая канавка 114. На фланце 104 расположено ребро 106, выступающее в осевом направлении в сторону второго конца 98 корпуса 92. Ребро 106 разделено на две кольцевые секции посредством наличия противоположных плоских поверхностей 108 фланца 104. Плоские поверхности 108 обеспечивают получение свободного пространства между маслосборной пробкой и другими примыкающими структурами, когда маслосборная пробка установлена.
На противоположных сторонах удлиненной части 102 сформирована пара пазов 122. Пазы 122 начинаются на дальнем конце 112 удлиненной части 102 и проходят вниз по части длины удлиненной части 102. Пазы 122 разделяют удлиненную часть 102 на два зубца 124. Каждый из зубцов 124 имеет пару скошенных поверхностей 120, сформированных на его дальнем конце 112 на противоположных сторонах зубца 124. От дальнего конца 112 каждого из зубцов 124 отступает кольцевой выступ 126. Хотя показанный пример имеет два паза 122, следует отметить, что в удлиненной части 102 могли бы формироваться три или более пазов 122, разделяющих ее на три или более зубцов 124. Во внешней поверхности 128 удлиненной части 102 сформирован, по меньшей мере, один маслосборный канал 130. Как лучше видно на фиг.4 и 5, в показанном примере маслосборные каналы 130 выполнены в форме канавок, имеющих по существу полукруглое поперечное сечение, хотя могут использоваться другие конфигурации. Маслосборные каналы имеют выходы 132, расположенные на дальнем конце удлиненной части 102. Маслосборные каналы затем проходят в осевом направлении к фланцу 104. В точке, где маслосборные каналы 130 пересекаются с кольцевой канавкой 114, они сворачивают в углу 134 и проходят в радиальном направлении наружу, заканчиваясь входом 136, расположенным в фланце 104 и совмещенным с плоской поверхностью 108.
Маслосборную пробку 90 изготовляют из материала, который способен выдерживать температуры, превалирующие в картере 58, составляющие приблизительно 149°С (300°F), и устойчивого к воздействию смазочного масла двигателя. Кроме того, поскольку вал 62 вентилятора является деталью с ограниченным сроком службы, характеристики которой не должны снижаться, пробка 90 должна быть выполнена из материала, который будет скорее изнашиваться сам, нежели вызывать износ вала 62 вентилятора. Кроме того, вес пробки 90, предпочтительно, сведен к минимуму как для исключения увеличения общего веса двигателя 10, так и для устранения проблем разбалансирования вала 62 вентилятора, особенно если пробки 90 могут быть установлены неправильно. Одним пригодным материалом является полиимид VESPEL, поставляемый E.I.DuPont de Nemours and Company, Wilmington, DE 19898 USA. Другим пригодным материалом является полиэфирэфиркетон, поставляемый Victrex USA Inc., 3 Caledon Court, Suite A, SC 29615 USA. В целом, может использоваться любой материал, который удовлетворяет указанным выше требованиям, например, алюминий или другие относительно мягкие металлы также могут быть пригодными материалами. Маслосборная пробка 90 может быть сформирована любым известным способом, например инжекционным прессованием или прямым прессованием профиля, близкого к заданному, с последующей механической обработкой или посредством механической обработки заготовки материала.
Другой вариант осуществления настоящего изобретения показан на фиг.7. Маслосборная пробка 290 подобна маслосборной пробке 90, имеет корпус 292, содержащий удлиненную часть 102, фланец 104, имеющий ребро 106, и круглую головку 116. Кольцевая канавка 114 окружает корпус 292 в стыке фланца 104 и удлиненной части 102. В наружной поверхности удлиненной части 102 на противоположных ее сторонах расположена пара маслосборных каналов 294. В этом варианте осуществления изобретения входы 296 маслосборных каналов 294 не проходят во фланец 104. Фланец 104 проходит полностью вокруг окружности корпуса 292. В ребре 106 сформирована пара противоположных каналов 298. Каналы 298 являются выемками на поверхности ребра 106 и обеспечивают дополнительное пространство для протекания масла в канавку 114 и в маслосборные каналы 294.
На фиг.8 показан более подробный вид маслосборной пробки 90, установленной в вал 62 переднего вентилятора. Маслосборная пробка 90 установлена в вентиляционное отверстие 84 в радиальном направлении изнутри. Скошенные поверхности 120 содействуют выравниванию корпуса 92 маслосборной пробки 90 относительно вентиляционного отверстия 84. В состоянии перед установкой ширина W (фиг.4) по внешним кромкам выступов 126 немного больше диаметра D (фиг.2) вентиляционного отверстия 84. Наличие пазов 122 позволяет зубцам 124 при установке маслосборной пробки 90 немного отгибаться внутрь. Когда маслосборная пробка 90 полностью вставлена и выступы 126 освобождаются от наружной в радиальном направлении кромки вентиляционного отверстия 84, зубцы возвращаются в их первоначальное положение и упираются в наружную в радиальном направлении кромку 302 вентиляционного отверстия 84. В работе маслосборная пробка 90 вращается вместе с валом 62 переднего вентилятора и имеет тенденцию перемещаться радиально наружу. Это приводит к тому, что ребро 106 фланца 104 упирается во внутреннюю в радиальном направлении кромку 300 вентиляционного отверстия 84 и удерживает маслосборную пробку 90 в вентиляционном проходе.
При работе смесь воздуха/масла выходит из картера 58 через центральный канал 100 маслосборной пробки 90, как показано стрелками, обозначенными буквой В на фиг.8. В показанном примере длина L маслосборной пробки 90 составляет около 30,5 мм (1,2 дюйма) и диаметр с центрального канала составляет около 8,8 мм (0,35 дюйма), в результате чего отношение длины к диаметру составляет около 3,5. Затем смесь завихряется, осаждая масло на внутренней стороне вала 62 переднего вентилятора. Масло, которое содержится в смеси воздуха/масла, протекает во входы 136 маслосборных каналов, по длине маслосборных каналов 130 и затем через выходы 132 в картер 58, где оно может извлекаться для повторного использования, как показано стрелками С. В показанном примере маслосборные каналы 130 имеют длину l, составляющую около 21 мм (0,83 дюйма), и ширину W, составляющую около 0,76 мм (0,03 дюйма), в результате чего отношение длины к диаметру составляет около 28. Это отношение длины к диаметру позволяет маслу протекать вверх по маслосборным каналам 130 без влияния на него потока воздуха в картере 58, как было бы без маслосборной пробки 90. Кроме того, диаметр d удлиненной части 102 маслосборной пробки 90 может быть подобран относительно диаметра D вентиляционного отверстия так, чтобы оставлять зазор между вентиляционным отверстием 84 и корпусом 92 пробки, что создает дополнительное кольцевое пространство для прохождения через него масла под действием центробежной силы без смещения выходящим вентилирующим воздухом. Диаметральный зазор в показанном примере составляет около 0,111 мм (0,007 дюйма).
Описанная здесь маслосборная пробка 90 обеспечивает ощутимое сокращение расходования масла и, при этом, проста в изготовлении. Маслосборные пробки 90 можно устанавливать на эксплуатируемых двигателях, когда они смонтированы на самолете, с очень небольшой степенью разборки двигателя. В одном конкретном примере установка четырех пробок в вал переднего вентилятора с 22 отверстиями дает 8-процентное сокращение суммарного расходования двигателем масла. Оптимальное количество пробок 90 будет меняться для каждого конкретного варианта их применения. Если пробок слишком мало, выгода от сокращения расходования масла реализована не будет. Если использовать слишком много пробок, они могут избыточно сократить поток сквозь вентиляционные отверстия 84, нарушая баланс давления в картере. Анализ другой возможной конфигурации показал, что 12 пробок, используемых с возможными 20 отверстиями, приведет к оптимальному уменьшению расходования масла с минимальным влиянием на характеристики давления в двигателе. Может также быть желательным использовать уменьшенное количество пробок, например 10, что эквивалентно одной пробке на каждое другое отверстие для обеспечения упрощенной установки.
Выше описана маслосборная пробка, имеющая центральный вентиляционный канал и один или более маслосборных каналов. Хотя были описаны конкретные варианты осуществления настоящего изобретения, специалистам в данной области техники будет понятно, что в него можно внести различные модификации без отхода от сущности и объема изобретения, определенных прилагаемой формулой изобретения.
Формула изобретения
1. Маслосборная пробка (90), содержащая,
по существу, цилиндрический корпус (92), имеющий первый (96) и второй (98) концы, продольную ось (94) и стенку, причем указанная стенка имеет внутреннюю и наружную поверхности, при этом внутренняя поверхность образует центральный канал (100);
фланец (104), расположенный вблизи первого конца (96); и,
по меньшей мере, один в целом ориентированный в осевом направлении маслосборный канал (130), расположенный в наружной поверхности (128) указанной стенки, причем маслосборный канал (130) проходит от фланца (104) до второго конца (98).
2. Маслосборная пробка (90) по п.1, дополнительно содержащая, по меньшей мере, один, по существу, кольцевой выступ (126), проходящий радиально наружу от наружной поверхности (128) стенки на втором ее конце (98).
3. Маслосборная пробка (90) по п.2, дополнительно содержащая, по меньшей мере, два в целом ориентированных в осевом направлении паза (122), расположенных в указанной стенке у второго конца (98) маслосборной пробки (90), причем пазы (122) разделяют часть стенки на, по меньшей мере, два проходящих в осевом направлении зубца (124).
4. Маслосборная пробка (90) по п.3, в которой каждый из зубцов (124) имеет пару скошенных поверхностей (120), сформированных на противоположных его сторонах на втором конце (98).
5. Маслосборная пробка (90) по п.2, дополнительно содержащая, по существу, круглую головку (116), сформированную на первом конце (96) маслосборной пробки (90), причем эта, по существу, круглая головка (116) отделена от фланца (104), по существу, кольцевой канавкой.
6. Маслосборная пробка (90) по п.2, в которой масло-сборная пробка (90) содержит полимер.
7. Маслосборная пробка (90) по п.2, в которой фланец (104) содержит, по существу, кольцевое ребро, обращенное ко второму концу (98) маслосборной пробки (90), и дополнительно содержит пару выемок, сформированных в ребре так, чтобы формировать противоположные каналы (298), причем каналы (298) проходят, по существу, перпендикулярно продольной оси (94).
8. Маслосборная пробка (90) по п.2, в которой фланец (104) имеет выемки, сформированные в нем так, чтобы образовывать пару плоских поверхностей (108), расположенных на противоположных сторонах фланца (104), причем плоские поверхности (108), по существу, параллельны продольной оси (94).
9. Маслосборная пробка (90) по п.1, в которой центральный канал (100) имеет первое отношение длины к диаметру, и маслосборный канал (130) имеет второе отношение длины к диаметру, в которой второе отношение длины к диаметру больше первого отношения длины к диаметру.
10. Маслосборная пробка (90), содержащая,
по существу, цилиндрический корпус (92), имеющий продольную ось (94), и стенку, причем стенка ограничивает центральный канал (100); и,
по меньшей мере, один маслосборный канал (130), расположенный в стенке, причем маслосборный канал (130) проходит, по существу, параллельно оси (94).
11. Маслосборная пробка (90) по п.10, дополнительно содержащая, по существу, кольцевой фланец (104), расположенный на первом ее конце (96).
12. Маслосборная пробка (90) по п.11, дополнительно содержащая, по меньшей мере, один, по существу, кольцевой выступ (126), отступающий радиально наружу от наружной поверхности (128) стенки на ее втором конце (98).
13. Маслосборная пробка (90) по п.12, дополнительно содержащая, по меньшей мере, два ориентированных в целом в осевом направлении паза (122), расположенных в стенке на втором конце (98) маслосборной пробки (90), причем пазы (122) разделяют часть стенки на, по меньшей мере, два проходящих в осевом направлении зубца (124).
14. Маслосборная пробка (90) по п.13, в которой каждый из зубцов (124) имеет пару скошенных поверхностей (120), сформированных на противоположных его сторонах на втором конце (98).
15. Маслосборная пробка (90) по п.12, дополнительно содержащая, по существу, круглую головку (116), сформированную на первом конце (96) маслосборной пробки, причем, по существу, круглая пробка (116) отделена от фланца (104), по существу, кольцевой канавкой.
16. Маслосборная пробка (90) по п.12, в которой маслосборная пробка (90) содержит полимер.
17. Маслосборная пробка (90) по п.12, в которой фланец (104) содержит, по существу, кольцевое ребро, обращенное ко второму концу (98) маслосборной пробки (90), и дополнительно содержит пару выемок, сформированных в ребре так, чтобы образовывать противоположные каналы (298), причем каналы (298) проходят, по существу, перпендикулярно продольной оси (94).
18. Маслосборная пробка (90) по п.10, в которой центральный канал (100) имеет первое отношение длины к диаметру и маслосборный канал (130) имеет второе отношение длины к диаметру, в котором второе отношение длины к диаметру больше первого отношения длины к диаметру.
РИСУНКИ
|
|