|
| На основании пункта 3 статьи 13 Патентного закона Российской Федерации от 23 сентября 1992 г. № 3517-I патентообладатель обязуется передать исключительное право на изобретение (уступить патент) на условиях, соответствующих установившейся практике, лицу, первому изъявившему такое желание и уведомившему об этом патентообладателя и федеральный орган исполнительной власти по интеллектуальной собственности, – гражданину РФ или российскому юридическому лицу. |
|
(21), (22) Заявка: 2005139017/06, 15.12.2005
(24) Дата начала отсчета срока действия патента:
15.12.2005
(46) Опубликовано: 27.08.2007
(56) Список документов, цитированных в отчете о поиске:
SU 1437518 A1, 15.11.1988. SU 1437517 A1, 15.11.1988. RU 2062889 C1, 27.06.1996. SU 666279 А1, 05.06.1979. SU 1544995 A, 23.02.1990. SU 1815356 A1, 15.05.1993. RU 49906 U1, 10.12.2005. RU 47978 U1, 21.03.2005. SU 371354 A1, 01.01.1973. RU 2062889 С1, 27.06.1996. GB 1408030 А, 01.10.1975. JP 59122716 А, 16.07.1984. JP 61108821 А, 27.05.1986. JP 60108514 A, 14.06.1985.
Адрес для переписки:
123458, Москва, ул. Твардовского, 11-92, О.С. Кочетову
|
(72) Автор(ы):
Кочетов Олег Савельевич (RU), Кочетова Мария Олеговна (RU), Кочетов Сергей Савельевич (RU), Кочетов Сергей Сергеевич (RU)
(73) Патентообладатель(и):
Кочетов Олег Савельевич (RU)
|
(54) ГЛУШИТЕЛЬ ШУМА СИСТЕМЫ ОБРАБОТКИ ТЕКСТИЛЬНЫХ ОТХОДОВ
(57) Реферат:
Изобретение относится к машиностроению, а именно к глушителям шума системы обработки текстильных отходов. Технический результат – повышение эффективности шумоглушения. Глушитель шума содержит корпус в виде цилиндрической обечайки, соосные впускной и выпускной патрубки и установленную соосно корпусу с образованием кольцевого зазора резонансную вставку в виде тела вращения. Резонансная вставка выполнена в виде тела вращения, состоящего из центральной цилиндрической оболочки радиусом R1 и двух конических оболочек длиной НK, закрепленных по краям цилиндрической оболочки. Со стороны свободных плоскостей конических оболочек к ним жестко прикреплены перфорированные диски радиусом R2, a посередине резонансной вставки установлен элемент, увеличивающий жесткость резонансной вставки и выполненный в виде сплошного диска. Резонансная вставка закреплена в корпусе при помощи крепежных элементов, выполненных в виде, по крайней мере, одного кольца с отверстиями. Корпус изнутри, а резонансная вставка снаружи облицованы звукопоглощающим материалом соответственно имеющим толщины h1 и h2. 6 з.п. ф-лы, 1 ил.
Изобретение относится к машиностроению, в частности к текстильному машиностроению, а именно к глушителям шума системы обработки текстильных отходов.
Наиболее близким техническим решением к заявленному объекту является глушитель шума, содержащий корпус в виде цилиндрической обечайки, соосные впускной и выпускной патрубки и установленную соосно корпусу с образованием кольцевого зазора резонансную вставку в виде тела вращения (а.с. СССР №1437517, опубл. 15.11.1988, прототип).
Недостатком известного устройства является сравнительно невысокая эффективность шумоглушения.
Технический результат – повышение эффективности шумоглушения.
Это достигается тем, что в глушителе шума, содержащем корпус в виде цилиндрической обечайки, соосные впускной и выпускной патрубки и установленную соосно корпусу с образованием кольцевого зазора резонансную вставку в виде тела вращения, резонансная вставка выполнена в виде тела вращения, состоящего из центральной цилиндрической оболочки радиусом R1 и двух конических оболочек длиной НK, закрепленных по краям цилиндрической оболочки, причем со стороны свободных плоскостей конических оболочек к ним жестко прикреплены перфорированные диски радиусом R2, а посередине резонансной вставки установлен элемент, увеличивающий жесткость резонансной вставки и выполненный в виде сплошного диска, причем резонансная вставка закреплена в корпусе при помощи крепежных элементов, выполненных в виде, по крайней мере, одного кольца с отверстиями, причем корпус изнутри, а резонансная вставка снаружи облицованы звукопоглощающим материалом, соответственно имеющим толщины h1 и h2.
Корпус и резонансная вставка могут быть выполнены из конструкционных материалов, с нанесенным на их поверхности с одной или двух сторон слоя мягкого вибродемпфирующего материала, например мастики ВД-17, или материала типа «Герлен-Д».
Звукопоглощающий материал может быть выполнен из минеральной ваты на базальтовой основе типа «Rockwool» 4. Глушитель шума по п.1, отличающийся тем, что звукопоглощающий материал выполнен на основе алюминесодержащих сплавов с последующим наполнением их гидридом титана или воздухом с плотностью в пределах 0,5…0,9 кг/м3 со следующими прочностными свойствами: прочность на сжатие в пределах 5…10 МПа, прочность на изгиб в пределах 10…20 МПа.
Звукопоглощающий материал может быть выполнен из жесткого пористого шумопоглощающего материала, например пеноалюминия или металлокерамики, со степенью пористости, находящейся в диапазоне оптимальных величин: 30…45%.
Звукопоглощающий материал может быть выполнен в виде элементов с послойной и перекрестной намоткой из пористых нитей, намотанных на акустически прозрачный каркас, например проволочный каркас.
Звукопоглощающий материал может быть выполнен в виде крошки из твердых вибродемпфирующих материалов, например эластомера, полиуретана, помещенной в акустически прозрачную оболочку, причем размер фракций крошки лежит в оптимальном интервале величин: 0,3…2,5 мм.
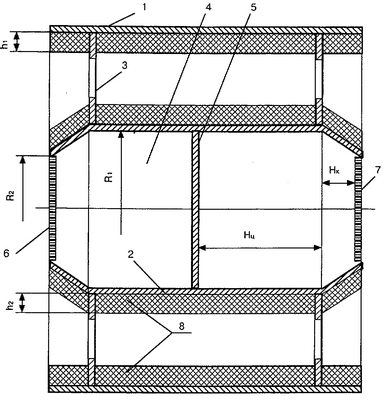
На чертеже изображен предлагаемый глушитель шума, продольный разрез.
Глушитель шума содержит корпус 1 в виде цилиндрической обечайки, соосные впускной и выпускной патрубки (на чертеже не показаны) и установленную соосно корпусу 1 с образованием кольцевого зазора резонансную вставку в виде тела вращения, состоящего из центральной цилиндрической оболочки 2 радиусом R1 и двух конических оболочек длиной НK, закрепленных по краям цилиндрической оболочки. Со стороны свободных плоскостей конических оболочек к ним жестко прикреплены перфорированные диски 6 и 7 радиусом R2, являющиеся горловинами резонатора «Гельмгольца», образованного камерами 4, полученными при установке посередине резонансной вставки 2 элемента 5, увеличивающего жесткость резонансной вставки и выполненного в виде сплошного диска. Резонансная вставка 2 закреплена в корпусе 1 при помощи крепежных элементов 3, выполненных в виде, по крайней мере, одного кольца 3 с отверстиями.
Корпус 1 изнутри, а резонансная вставка 2 снаружи облицованы звукопоглощающим материалом 8, соответственно имеющим толщины h1 и h2. Корпус 1 и резонансная вставка 2 выполнены из конструкционных материалов с нанесенным на их поверхности с одной или двух сторон слоя мягкого вибродемпфирующего материала, например мастики ВД-17 или материала типа «Герлен-Д».
Звукопоглощающий материал 8 выполнен из минеральной ваты на базальтовой основе типа «Rockwool» или минеральной ваты типа «URSA», или базальтовой ваты типа П-75, или стекловаты с облицовкой стекловойлоком, или вспененного полимера, например полиэтилена или полипропилена. Звукопоглощающий материал 8 выполнен на основе алюминесодержащих сплавов с последующим наполнением их гидридом титана или воздухом с плотностью в пределах 0,5…0,9 кг/м3 со следующими прочностными свойствами: прочность на сжатие в пределах 5…10 МПа, прочность на изгиб в пределах 10…20 МПа. Звукопоглощающий материал 8 выполнен из жесткого пористого шумопоглощающего материала, например пеноалюминия или металлокерамики, или металлопоролона, или камня-ракушечника со степенью пористости, находящейся в диапазоне оптимальных величин: 30…45%. Звукопоглощающий материал выполнен в виде элементов с послойной и перекрестной намоткой из пористых нитей, намотанных на акустически прозрачный каркас, например проволочный каркас (на чертеже не показано).
Звукопоглощающий материал 8 выполнен в виде крошки из твердых вибродемпфирующих материалов, например эластомера, полиуретана, или пластиката типа «Агат», «Антивибрит», «Швим», помещенной в акустически прозрачную оболочку, причем размер фракций крошки лежит в оптимальном интервале величин: 0,3…2,5 мм (на чертеже не показано).
Глушитель шума работает следующим образом.
Резонансная вставка 2 глушителя, представляющая собой реактивную резонансную камеру, настраивается по типу резонатора «Гельмгольца», т.е. на среднюю частоту лопастного шума осевого вентилятора системы, кратную частоте реактивной камеры, что обеспечивает расширение частотного спектра глушения шума. Переход звуковой энергии в тепловую (диссипация, рассеивание энергии) происходит в порах звукопоглощающего материала 8, представляющих собою также каноническую элементарную модель резонаторов “Гельмгольца”, где потери энергии происходят за счет трения колеблющейся с частотой возбуждения массы воздуха, находящегося в горловине резонатора о стенки самой горловины, имеющей вид разветвленной сети пор звукопоглотителя.
Формула изобретения
1. Глушитель шума, содержащий корпус в виде цилиндрической обечайки, соосные впускной и выпускной патрубки и установленную соосно корпусу с образованием кольцевого зазора резонансную вставку в виде тела вращения, отличающийся тем, что резонансная вставка выполнена в виде тела вращения, состоящего из центральной цилиндрической оболочки радиусом R1 и двух конических оболочек длиной НK, закрепленных по краям цилиндрической оболочки, причем со стороны свободных плоскостей конических оболочек к ним жестко прикреплены перфорированные диски радиусом R2, а посередине резонансной вставки установлен элемент, увеличивающий жесткость резонансной вставки и выполненный в виде сплошного диска, причем резонансная вставка закреплена в корпусе при помощи крепежных элементов, выполненных в виде, по крайней мере, одного кольца с отверстиями, причем корпус изнутри, а резонансная вставка снаружи облицованы звукопоглощающим материалом, соответственно имеющим толщины h1 и h2.
2. Глушитель шума по п.1, отличающийся тем, что корпус и резонансная вставка выполнены из конструкционных материалов с нанесенным на их поверхности с одной или двух сторон слоя мягкого вибродемпфирующего материала, например мастики ВД-17, или материала типа «Герлен-Д».
3. Глушитель шума по п.1, отличающийся тем, что звукопоглощающий материал выполнен из минеральной ваты на базальтовой основе типа «Rockwool».
4. Глушитель шума по п.1, отличающийся тем, что звукопоглощающий материал выполнен на основе алюминесодержащих сплавов с последующим наполнением их гидридом титана или воздухом с плотностью в пределах 0,5-0,9 кг/м3 со следующими прочностными свойствами: прочность на сжатие в пределах 5-10 МПа, прочность на изгиб в пределах 10-20 Мпа.
5. Глушитель шума по п.1, отличающийся тем, что звукопоглощающий материал выполнен из жесткого пористого шумопоглощающего материала, например пеноалюминия или металлокерамики, со степенью пористости, находящейся в диапазоне оптимальных величин 30-45%.
6. Глушитель шума по п.1, отличающийся тем, что звукопоглощающий материал выполнен в виде элементов с послойной и перекрестной намоткой из пористых нитей, намотанных на акустически прозрачный каркас, например проволочный каркас.
7. Глушитель шума по п.1, отличающийся тем, что звукопоглощающий материал выполнен в виде крошки из твердых вибродемпфирующих материалов, например эластомера, полиуретана, помещенной в акустически прозрачную оболочку, причем размер фракций крошки лежит в оптимальном интервале величин: 0,3-2,5 мм.
РИСУНКИ
|
|