|
|
(21), (22) Заявка: 2003114187/03, 13.05.2003
(24) Дата начала отсчета срока действия патента:
13.05.2003
(43) Дата публикации заявки: 20.11.2004
(46) Опубликовано: 27.08.2007
(56) Список документов, цитированных в отчете о поиске:
SU 457790 A1, 25.01.1975. SU 1102912 A1, 15.07.1984. SU 933965 A1, 07.06.1982. US 4251921 A, 24.02.1981. US 3555689 A, 19.01.1971.
Адрес для переписки:
452620, Республика Башкортостан, г. Октябрьский, ул. Горького, 1, ОАО НПП “ВНИИГИС”, отдел промышленной собственности
|
(72) Автор(ы):
Ленский Андрей Владимирович (RU), Даниленко Виталий Никифорович (RU)
(73) Патентообладатель(и):
Открытое акционерное общество Научно-производственное предприятие “Научно-исследовательский и проектно-конструкторский институт геофизических исследований геологоразведочных скважин” (ОАО НПП “ВНИИГИС”) (RU), Закрытое акционерное общество Научно-производственная фирма “ГИТАС” (ЗАО НПФ “ГИТАС”) (RU)
|
(54) УСТРОЙСТВО ДЛЯ ЦЕНТРИРОВАНИЯ СКВАЖИННЫХ ПРИБОРОВ
(57) Реферат:
Изобретение относится к геофизическим исследованиям скважин приборами на кабеле и может быть использовано в комплексной аппаратуре. Техническим результатом является повышение надежности и упрощения конструкции, повышение качества центрирования приборов в скважине и расширение функциональных возможностей устройства. Для этого устройство содержит корпус, электродвигатель с приводом, согласующе-развязывающий механизм, подпружиненные рычаги, скользящую втулку. При этом согласующе-развязывающий механизм снабжен суммирующим механизмом, выполненным в виде шарнирно-соединенных звеньев, входным звеном закрепленный с корпусом, а выходным с коаксиально расположенной скользящей втулкой, на которой размещена подпружиненная каретка, шарнирно-связанная с рычагами. 1 з.п. ф-лы, 1 ил.
Изобретение относится к геофизическим исследованиям скважин приборами на кабеле и может быть использовано в комплексной аппаратуре.
Центрирующие устройства необходимы для обеспечения ориентирования скважинного прибора строго по центру скважины.
В настоящее время производятся исследования в горизонтальных и наклонно направленных скважинах, а также исследования открытых стволов с различной механической твердостью пород, что требует изготовления универсальной аппаратуры.
Известно центрирующее устройство для центрирования скважинных приборов, содержащее корпус, привод с выходным поступательно перемещающимся звеном, подпружиненные центрирующие и измерительные рычаги, тяги, толкатели, согласующе-развязывающий механизм (авт. св. СССР № 1102912, МКИ 7, Е21В 47/00, заявлено 27.04.1983 г.).
Недостатком устройства является сложность согласующе-развязывающего механизма, складывание шарнирно-соединенных рычагов происходит под действием пружины, а раскрытие – с ее освобождением, что не позволяет регулировать усилие прижатия рычагов к стенкам скважины.
Наиболее близким принятым за прототип является устройство для центрирования скважинных приборов, содержащее корпус, привод, группу подпружиненных центрирующих и измерительных рычагов, тяги, толкатели и согласующе-развязывающий механизм, выполненный в виде соединенной с выходным звеном привода тяги, которая посредством толкателя связана с кулачками, закрепленными на рамке, кинематически соединенной со штоком, нижняя часть которого закреплена на скользящей втулке, шарнирно-соединенной с подпружиненными центрирующими рычагами (авт. св. СССР № 457790, МКИ 7, Е21В 47/08, Е21В 47/00, заявлено 22.10.1973 г.).
Недостатком этого устройства является сложность согласующе-развязывающего механизма, содержащего большое количество промежуточных конструктивных элементов.
Задачей предлагаемого изобретения является создание надежной конструкции и повышение качества центрирования приборов в скважине, упрощение конструкции, расширение функциональных возможностей устройства.
Для решения этой задачи предложено устройство для центрирования скважинных приборов, содержащее корпус, электродвигатель с приводом, согласующе-развязывающий механизм, подпружиненные рычаги, скользящую втулку. Согласующе-развязывающий механизм снабжен суммирующим механизмом, выполненным в виде шарнирно-соединенных звеньев, входным звеном закрепленный с корпусом, а выходным с коаксиально расположенной скользящей втулкой, на которой размещена подпружиненная каретка, шарнирно-связанная с рычагами. Верхние концы рычагов расположены на дополнительной подпружиненной каретке, установленной на корпусе.
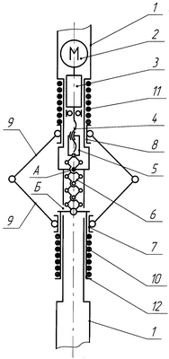
На чертеже показаны основные элементы конструкции устройства для центрирования скважинных приборов.
Устройство состоит из корпуса 1, в котором установлены: привод, включающий в себя электродвигатель 2 и редуктор 3, и согласующе-развязывающий механизм, выполненный в виде шарнирно-соединенных винтовой пары (винт 4 и гайка 5) с суммирующим механизмом 6. На внешней поверхности корпуса 1 установлены каретки 7 и 8, к которым шарнирно соединены центрирующие рычаги 9. Каретки 7 и 8 подпружинены к центру пружинами 10 и 11. Суммирующий механизм 6 выполнен в виде шарнирно-соединенных звеньев, входным звеном закрепленный с корпусом 1, а выходным – с коаксиально расположенной скользящей втулкой 12, на которой размещена подпружиненная каретка, шарнирно-связанная с рычагами. Верхние концы рычагов 9 расположены на дополнительной подпружиненной каретке 8, установленной на корпусе 1.
Устройство для центрирования скважинных приборов работает следующим образом.
Прибор опускается в скважину на каротажном кабеле до глубины интервала измерения при сложенной рычажной системе. На заданной глубине прибор приводится в рабочее состояние, т.е. раскрытие центрирующих рычагов 9 производится включением привода. При этом электродвигатель 2 привода через редуктор 3 вращает неподвижный в осевом направлении винт 4, который, в свою очередь, перемещает вдоль оси гайку 5. Гайка 5 толкает входное звено суммирующего механизма 6, состоящего из шарнирно-соединенных звеньев, крепящихся с корпусом 1 в точке А. Количество звеньев суммирующего механизма 6 выбирается в зависимости от длины складывания центрирующих рычагов 9. В результате перемещение гайки 5 в n раз меньше длины складывания, где n – количество звеньев суммирующего механизма 6, что значительно ускоряет процесс раскрытия-складывания центрирующих рычагов 9. Выходное звено суммирующего механизма 6 через паз Б в корпусе 1 соединено с коаксиально расположенной скользящей втулкой 12, которую суммирующий механизм тянет к себе в n раз быстрее перемещения гайки 5. При перемещении скользящей втулки 12 к центру прибора сдвигается и каретка 7, подпружиненная пружиной 10, и происходит открытие центрирующих рычагов 9 до их прикосновения со стенками скважины. При продолжении работы привода после упора рычагов в стенки скважины происходит поджатие пружины 10 до требуемой величины или максимума (полное раскрытие). При изменении диаметра скважины во время подъема прибора рычаги 9, упираясь в стенки скважины, складываются и сжимают пружину 10. Так же при спуске прибора работает пружина 11. При реверсировании привода происходит складывание центрирующих рычагов 9. По времени работы привода, от момента включения до момента упора в стенки скважины, можно судить о диаметре скважины. По величине силы тока, потребляемой электродвигателем, можно судить о силе предварительного прижатия рычагов к стенкам скважины.
Таким образом, предложенное устройство позволяет создать надежную конструкцию и повысить качество центрирования приборов в скважине, упростить конструкцию, расширить функциональные возможности устройства.
Формула изобретения
1. Устройство для центрирования скважинных приборов, содержащее корпус, электродвигатель с приводом, согласующе-развязывающий механизм, подпружиненные рычаги, скользящую втулку, отличающееся тем, что согласующе-развязывающий механизм снабжен суммирующим механизмом, выполненным в виде шарнирно-соединенных звеньев, входным звеном закрепленным с корпусом, а выходным – с коаксиально расположенной скользящей втулкой, на которой размещена подпружиненная каретка, шарнирно связанная с рычагами.
2. Устройство для центрирования скважинных приборов по п.1, отличающееся тем, что верхние концы рычагов расположены на дополнительной подпружиненной каретке, установленной на корпусе.
РИСУНКИ
|
|