|
|
(21), (22) Заявка: 2003112103/03, 24.04.2003
(24) Дата начала отсчета срока действия патента:
24.04.2003
(43) Дата публикации заявки: 10.12.2004
(46) Опубликовано: 27.08.2007
(56) Список документов, цитированных в отчете о поиске:
SU 994700 A1, 07.02.1983. SU 890319 A1, 15.12.1981. SU 901487 A1, 30.01.1982. SU 1543261 A1, 15.02.1990. RU 2188941 C1, 10.09.2002. US 4265110 A, 05.05.1981.
Адрес для переписки:
452620, Республика Башкортостан, г. Октябрьский, ул. Горького, 1, ОАО НПП “ВНИИГИС”, отдел промышленной собственности
|
(72) Автор(ы):
Асманов Рамиль Нуруллинович (RU), Даниленко Виталий Никифорович (RU), Зараменских Николай Михайлович (RU), Шокуров Владимир Филиппович (RU)
(73) Патентообладатель(и):
Открытое акционерное общество Научно-производственное предприятие “Научно-исследовательский и проектно-конструкторский институт геофизических исследований геологоразведочных скважин (ОАО НПП “ВНИИГИС”) (RU), Закрытое акционерное общество Научно-производственная фирма “ГИТАС” (ЗАО НПФ “ГИТАС”) (RU)
|
(54) СКВАЖИННЫЙ ДАТЧИК НАГРУЗОК
(57) Реферат:
Изобретение относится к технике геофизических исследований скважин и предназначено для контроля принудительного движения приборов по стволу горизонтальных скважин, в частности, при работах с колтюбинговыми установками. Техническим результатом является повышение надежности конструкции и повышение точности измерения нагрузок. Для этого датчик содержит корпус с головкой-наконечником, подвижной в осевом направлении и связанной с силовой пружиной, которая установлена в корпусе в направляющих и соединена с датчиком нагрузок, имеющим транзитную электрическую связь, а также источник питания. При этом датчик нагрузок выполнен в виде ультразвукового излучателя с принимающей плоскостью и снабжен отражающим зеркалом, которое жестко связано с концом силовой пружины, обращенным к излучателю, и установлено от него на минимальном расстоянии. Причем внутренняя поверхность корпуса в рабочей зоне излучения покрыта поглощающим ультразвук материалом в пределах расстояния хода пружины, а направляющие пружины установлены с зазором относительно этого покрытия. Кроме того, выход датчика соединен с термокомпенсированным преобразователем. 1 ил.
Предложение относится к технике геофизических исследований скважин и предназначено для контроля принудительного движения скважинных приборов по стволу горизонтальных скважин, в частности, с использованием колтюбинговых установок.
Особенность геофизических исследований в горизонтальных скважинах при использовании колтюбинговых установок заключается в следующем. Связку из геофизических приборов прикрепляют на конец гибкой трубы, которую опускают в скважину. Другой конец этой трубы намотан на барабан. После чего, создавая усилие тяги до 80 т с помощью инжектора, продавливают связку геофизических приборов в сильнонаклоненные и горизонтальные скважины. При продвижении приборов в скважине на их пути может возникнуть какое-либо препятствие (пробка, обрушение колонны, каверна и т.д.). При этом возникает аварийная ситуация, если не контролировать нагрузку сопротивления продвижения, при которой может произойти предельный изгиб связки приборов, поломка их корпусов и т.д.
Для контроля принудительного движения используют датчики нагрузок, которые устанавливают в начале связки перед головным прибором для сигнализации о предельной нагрузке сопротивления.
Известен скважинный датчик нагрузок СДН-42, выпускаемый ОАО Киевский завод “Геофизприбор” КБ “Концерн НАДРА” (Рекламный проспект, “Концерн НАДРА”, г. Киев), который позволяет осуществлять измерение нагрузок на скважинный прибор (сжатие-растяжение) с их регистрацией при спуске приборов в скважину.
Датчик крепится к скважинному прибору в его начале и содержит головку-наконечник, воспринимающую препятствия на пути движения приборов. Головка установлена подвижно в специальном цилиндре и связана с пружиной, работающей на растяжение-сжатие, в диапазоне 2000 кг, с которой связан подвижный контакт реохорда с изменяющимся сопротивлением от нагрузки. При превышении параметров сжатия-растяжения пружины заданных предельных значений происходит выработка выходного сигнала, передающегося по транзитной 2-жильной линии на исполнительное устройство на поверхности.
Недостаток конструкции заключается в низкой надежности подвижного скользящего контакта реохорда, который нужно часто менять, что представляет собой очень трудоемкую операцию. Кроме того, сопротивление реохорда (нихром) значительно зависит от температуры, которое нужно термокомпенсировать специальным устройством, что усложняет конструкцию.
Предлагаемым изобретением решается задача повышения надежности конструкции устройства и повышения точности измерения нагрузок.
Заявляется скважинный датчик нагрузок, содержащий корпус с головкой-наконечником, подвижной в осевом направлении и связанной с силовой пружиной, которая установлена в корпусе в направляющих и соединена с датчиком нагрузок, имеющим транзитную электрическую связь, а также источник питания, в котором датчик нагрузок выполнен в виде ультразвукового излучателя с принимающей плоскостью и снабжен отражающим зеркалом, которое жестко связано с концом силовой пружины, обращенным к излучателю, и установлено от него на минимальном расстоянии, выбранном из условия, что при максимальном сжатии силовой пружины, равном верхнему значению шкалы измерения, это расстояние равно “мертвой зоне” приема акустического сигнала, при этом внутренняя поверхность корпуса в рабочей зоне излучения покрыта поглощающим ультразвук материалом в пределах расстояния хода пружины (сжатие-растяжение), а направляющие пружины установлены с зазором относительно этого покрытия, кроме того, выход датчика соединен с термокомпенсированным преобразователем, имеющим четыре вывода, первый из которых связан с источником питания, второй вывод является линейно-аналоговым, третий вывод – общий, а четвертый вывод связан с исполнительным устройством, например реле.
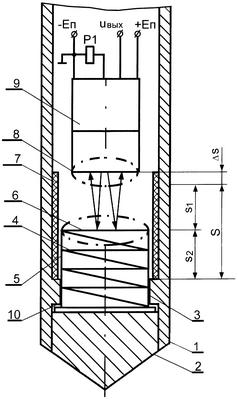
На чертеже представлена конструкция датчика.
Устройство состоит из корпуса 1, в котором помещена головка-наконечник 2, подвижная в осевом направлении и установленная на салазках 3.
Головка 2 упирается в пружину-буфер 4, которая рассчитана на усилие сжатие-растяжение по 1000 кг. Пружина 4 помещена в направляющую трубу 5, на конце пружины жестко закреплено круглое зеркало 6 с хорошо отполированной металлической поверхностью плоской формы.
Внутренняя поверхность корпуса 1 в рабочей зоне излучения покрыта поглощающим ультразвук материалом 7 в пределах расстояния S, равном ходу пружины (сжатие S1 – растяжение S2).
Направляющая труба 5 с пружиной установлена с зазором, исключающим соприкосновение покрытия с трубой.
В корпусе 1 строго по центру напротив зеркала 6 установлен ультразвуковой датчик 8 с излучающей и принимающей плоскостями.
Расстояние между датчиком и зеркалом выбрано минимальным с соблюдением условия, что при максимальном сжатии пружины, равном верхнему значению шкалы измерения, это расстояние равно “мертвой зоне” приема S. 10 – ограничительный бурт для хода головки 2.
Выход датчика 8 соединен с термокомпенсированным преобразователем 9, имеющем четыре вывода, из которых первый вывод связан с источником питания Eп, второй вывод является линейно-аналоговым Uвых (ток, напряжение), третий вывод (-Eп) – общий, а четвертый вывод – на исполнительное устройство P1, например реле, которое служит для замыкания контакта транзитной линии для выключения исполнительного устройства по продвижению (на чертеже не показаны).
Устройство работает следующим образом.
При принудительном спуске приборов в скважину головка 2 встречает препятствие на своем пути и отклоняет пружину 3, которая вместе с зеркалом 6 перемещается в сторону излучателя-приемника 8. Между отражающим зеркалом 6 и излучателем 8 изменяется расстояние S. Зная скорость распространения акустической волны V из формулы можно определить время прохождения акустической волны, которая фиксируется принимающей плоскостью и передается на преобразователь 9. При этом из данной формулы определяем S=V× t, где V – постоянная величина, тогда при расчете усилия пружины на сжатие в 1000 кг мы определяем S как предельное значение отклонения пружины, при этом t станет сигналом для датчика 8 на замыкание контакта реле P1.
Зависимость S=K× t является пропорциональной, что определяет высокую точность измерения. В диапазоне от 50 мм до 500 мм погрешность измерения составляет 0,1 мм.
Таким образом, выходной сигнал Uвых преобразователя является функцией от времени запаздывания t, то есть Uвых=f t.
В данном приборе для датчика нагрузок применяется ультразвуковой датчик рефлексного типа, где передатчик и приемник монтируются в одном и том же корпусе. Ультразвуковой луч отражается обратно к приемнику от перемещающейся вдоль оси рефлекторной пластины (зеркала), строго перпендикулярной оси излучения.
Явными преимуществами конструкции являются: надежное обнаружение неотражающего или плохо отражающего объекта, большая дальность обнаружения перемещающегося объекта (до 500 мм), широкий диапазон измерения при высокой разрешающей способности (0,1 мм), очень хорошее время реакции (около 50 мкс), способность работать в различных средах.
Формула изобретения
Скважинный датчик нагрузок, содержащий корпус с головкой-наконечником, подвижной в осевом направлении и связанной с силовой пружиной, которая установлена в корпусе в направляющих и соединена с датчиком нагрузок, имеющим транзитную электрическую связь, а также источник питания, отличающийся тем, что датчик нагрузок выполнен в виде ультразвукового излучателя с принимающей плоскостью и снабжен отражающим зеркалом, которое жестко связано с концом силовой пружины, обращенным к излучателю, и установлено от него на минимальном расстоянии, выбранном из условия, что при максимальном сжатии силовой пружины, равном верхнему значению шкалы измерения, это расстояние равно “мертвой зоне” приема акустического сигнала, при этом внутренняя поверхность корпуса в рабочей зоне излучения покрыта поглощающим ультразвук материалом в пределах расстояния хода пружины (сжатие-растяжение), а направляющие пружины установлены с зазором относительно этого покрытия, кроме того, выход датчика соединен с термокомпенсированным преобразователем, имеющим четыре вывода, первый из которых связан с источником питания, второй вывод является линейно-аналоговым, третий вывод – общий, а четвертый вывод связан с исполнительным устройством, например реле.
РИСУНКИ
|
|