|
|
(21), (22) Заявка: 2005123457/03, 12.07.2005
(24) Дата начала отсчета срока действия патента:
12.07.2005
(46) Опубликовано: 27.08.2007
(56) Список документов, цитированных в отчете о поиске:
SU 1573120 A1, 23.06.1990. БОЙКО М.Д. Техническое обслуживание зданий и сооружений. – М., 1993, с.111, 117. ВОЛЬФСОН В.Л. и др. Реконструкция и капитальный ремонт жилых и общественных зданий. – М., 2001, с.200-214. DE 19840673 С1, 16.03.2000.
Адрес для переписки:
633224, Новосибирская обл., Искитимский р-н, р.п. Листвянский, ул. Стахановская, 3, И.А. Пищулину
|
(72) Автор(ы):
Пищулин Иван Андреевич (RU)
(73) Патентообладатель(и):
Пищулин Иван Андреевич (RU)
|
(54) СПОСОБ РЕМОНТА КАРНИЗНЫХ ПЛИТ
(57) Реферат:
Изобретение относится к строительству и может быть использовано для восстановительного ремонта железобетонных карнизных плит (козырьков) здания. Способ ремонта карнизных плит включает разрушение дефектных участков плиты до состояния монолита с обнажением арматуры, размещение под плитой нижнего щита опалубки, снабженного продольно-поперечными элементами жесткости, и его жесткое соединение с арматурой через посредство указанных элементов, жесткую установку вдоль продольной стороны плиты дополнительного щита, укладку с уплотнением бетона в образованную щитами опалубку и снятие дополнительного щита после отверждения бетона. Технический результат изобретения заключается в обеспечении дополнительного усиления карнизных плит, что повышает срок службы плит и здания в целом. 1 з.п. ф-лы, 1 ил.
Изобретение относится к строительству и может быть использовано при восстановительном ремонте железобетонных карнизных плит (козырьков) здания.
В настоящее время в связи со значительным физическим износом устаревшего жилого фонда на основе панельных домов большое внимание уделяется их капитальному комплексному ремонту, включающему восстановительный ремонт стеновых панелей, перекрытий пролетов, фасадов и др. элементов здания.
Общие принципы ремонта стен, перекрытий, фасадов крупнопанельных зданий заключаются в подготовке разрушенной поверхности или конструкции к нанесению бетонного раствора и последующем бетонировании дефектных участков смесями различного состава (см., например, В.Л.Вольфсон, В.А.Ильяшенко, Р.Г.Комиссарчик. Реконструкция и капитальный ремонт жилых и общественных зданий. – М., 2001, с.200-214).
Известен, например, способ ремонта перекрытий здания, согласно которому в подкровельной панели вырубают отверстия размерами 50×50 см, разрезают через них арматуру и меняют утеплитель, после чего сваривают арматуру и заделывают отверстия бетоном, а вентиляционные каналы в панелях закрывают металлическими сетками (см., например, Бойко М.Д. Техническое обслуживание зданий и сооружений. – М.,1993, с.111, 117).
Известен способ восстановления межпанельных стыков зданий, заключающийся в очистке полости стеновых соединений и их замоноличивании путем укладки бетонной смеси вручную (см. Дудышкина Л.А., Жуковская В.И. Ремонт полносварных жилых зданий. – М., 1988, с.33-35).
Известен способ ремонта фасадных поверхностей зданий, осуществляемый путем очистки и смачивания подлежащей ремонту поверхности и последующего нанесения на нее методом торкретирования бетонной смеси (см. Азимов Ф.И. Торкретные работы. М., 1979, с.60).
Вместе с тем, в процессе поиска и анализа информации, касающейся восстановительного ремонта железобетонных конструкций, технических решений по ремонту карнизных плит зданий (козырьков) не обнаружено. Однако именно карнизы, испытывающие постоянное воздействие перепадов температур и атмосферных осадков, в наибольшей степени подвержены разрушению, проявляющемуся в виде сколов, шелушения и выкрашивания бетона на краях карнизных плит. Разрушение карнизных плит, в свою очередь, приводит к растеканию воды атмосферных осадков по стенам здания и проникновению влаги в межпанельные швы, что существенно ускоряет процесс разрушения здания. Кроме того, разрушение карнизных плит сопровождается падением с крыши обломков конструкции, что небезопасно для населения, а разрушенные козырьки карнизов снижают эстетику внешнего вида здания.
Наиболее близким к заявляемому является способ усиления железобетонной плиты перекрытия, заключающийся в том, что под плитой в ребрах перекрытия по длине усиления выполняют пазы, размещают под перекрытием щит опалубки, выполненный в виде профилированного листа, равномерно укладывают на него слой подвижного бетона с осадкой конуса 7-8 см с последующим размещением над ним второго профилированного листа, после чего щиты домкратами поднимают и прижимают к низу плиты, а после твердения бетона в пазах домкраты снимают (авт. свидетельство №1573120, МПК E04G 23/00, 1990 г.).
Известный способ можно использовать только при наличии под конструкцией жесткой и устойчивой опоры, на которую можно установить прижимающие и поддерживающие щит домкраты.
Так как указанная опора под карнизами отсутствует, а ее сооружение является, с учетом высоты здания, сложным, трудоемким и дорогостоящим предприятием, то известный способ для ремонта карнизных плит неприменим.
Задачей изобретения является обеспечение возможности восстановительного ремонта карнизных плит панельных домов без вывода последних из эксплуатации.
Технический результат – повышение деформационно-прочностных и архитектурно-эстетических характеристик панельных зданий.
Результат изобретения достигается за счет того, что в способе ремонта карнизных плит, включающем размещение и закрепление под плитой нижнего щита, укладку на него бетона, дефектные участки плиты предварительно разрушают до монолитного состояния, жестко присоединяют к арматуре плиты нижний щит с поперечными и, по меньшей мере, двумя продольными ребрами жесткости, вдоль продольной стороны плиты устанавливают и жестко соединяют с нижним щитом дополнительный щит, который после отверждения бетона удаляют.
Дополнительный щит располагают наклонно относительно поверхности стены.
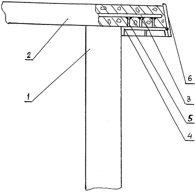
На чертеже представлена схема ремонта карнизной плиты по предлагаемому способу со следующими обозначениями: 1 – стена здания, 2 – карнизная плита, 3 – арматура, 4 – нижний щит опалубки с ребрами жесткости 5, 6 – фасадный (дополнительный) щит опалубки.
Способ осуществляют следующим образом.
Как правило, больше всего разрушается край карнизной плиты 2, нависающий над стеной 1 здания. Дефектный участок плиты разрушают до монолитного бетона с обнажением арматуры 3. Дефектные участки арматуры при необходимости заменяют. После проведения указанных подготовительных работ нижний щит 4 заводят под плиту, прижимают его известным способом, например с помощью струбцин, к нижней поверхности плиты и через посредство ребер жесткости 5 соединяют (обычно путем сварки) в нескольких точках с элементами арматуры, после чего струбцины снимают. Затем вдоль продольной кромки щита 4 под углом к поверхности стены устанавливают и жестко (точечной сваркой) закрепляют дополнительный фасадный щит 6. Установка щита 6 под углом к поверхности стены обеспечивает, с одной стороны, его жесткость и устойчивость при укладке и уплотнении бетона, с другой стороны, формирует заданный наклон фасадной поверхности плиты. После установки и закрепления щитов, образующих опалубку, в последнюю укладывают с уплотнением бетонную смесь. После отверждения бетона точки приварки щита 6 любым известным способом разрушают, и щит снимают. Нижний щит 4 остается замоноличенным в плиту и служит в качестве дополнительного элемента ее усиления.
Предлагаемый способ, обеспечивая возможность проведения восстановительного ремонта карнизных плит непосредственно на эксплуатируемом здании, прост и относительно малозатратен в реализации, не требует применения специальной техники и оборудования.
Кроме того, использование предлагаемого способа для ремонта карнизов обеспечивает дополнительное, по сравнению с проектным, усиление карнизных плит, которое гарантированно исключает их разрушение в процессе последующей эксплуатации и существенно повышает срок службы плит и здания в целом.
Формула изобретения
1. Способ ремонта карнизных плит, включающий размещение и закрепление под плитой нижнего щита, укладку на него бетона, отличающийся тем, что дефектные участки плиты предварительно разрушают до монолитного состояния, жестко присоединяют к арматуре плиты нижний щит с поперечными и, по меньшей мере, двумя продольными ребрами жесткости, вдоль продольной стороны плиты устанавливают и жестко соединяют с нижним щитом дополнительный щит, который после отверждения бетона удаляют.
2. Способ по п.1, отличающийся тем, что дополнительный щит располагают наклонно относительно поверхности стены.
РИСУНКИ
|
|