|
|
(21), (22) Заявка: 2004120069/03, 28.10.2002
(24) Дата начала отсчета срока действия патента:
28.10.2002
(30) Конвенционный приоритет:
28.11.2001 (пп.1-4, 6-10, 14, 15, 17) DE 10158215.3 20.09.2002 (пп.5, 11-13, 16) DE 20214622.7
(43) Дата публикации заявки: 27.06.2005
(46) Опубликовано: 27.08.2007
(56) Список документов, цитированных в отчете о поиске:
ЕР 0544604 А1, 02.06.1993. ЕР 0256189 A1, 24.02.1988. US 4590731 A, 27.05.1986. DE 19962812 A1, 28.06.2001. DE 20009717 U1, 16.11.2000. SU 896216 A1, 07.01.1982.
(85) Дата перевода заявки PCT на национальную фазу:
28.06.2004
(86) Заявка PCT:
DE 02/04023 (28.10.2002)
(87) Публикация PCT:
WO 03/040491 (15.05.2003)
Адрес для переписки:
191186, Санкт-Петербург, а/я 230, “АРС-ПАТЕНТ”, пат.пов. В.М.Рыбакову, рег. № 90
|
(72) Автор(ы):
ДЕЛЛА ПЕПА Томас (DE)
(73) Патентообладатель(и):
МЕЙЕР Ханс (DE)
|
(54) СИСТЕМА УКЛАДКИ НАПОЛЬНЫХ ПЛИТОК
(57) Реферат:
Изобретение относится к области строительства, в частности к системе укладки напольных покрытий из плиток, в особенности каменных плиток, для изготовления потолочных, настенных или напольных покрытий. Технический результат изобретения заключается в упрощении укладки плитки, обеспечении точности и долговечности конструкции шва, который благодаря своей плотности защищает покрытие от проникновения воды. В напольном покрытии каждая плитка (2) снабжена укладочной рамкой (1), на которую плитка опирается, по меньшей мере, частью своей поверхности. Укладочные рамки (1) содержат на двух смежных (пересекающихся) боковинах (1с, 1d) перегородку (6), выполненную для приема эластичного резинового уплотнительного профиля (8), определяющего ширину соединительного шва. 4 н. и 13 з.п. ф-лы, 15 ил.
Область техники, к которой относится изобретение
Настоящее изобретение относится к системе укладки напольных плиток и в особенности предназначено для укладки каменно-керамических плиток и плиток из природного камня, а также деревянных плиток.
Уровень техники
Напольные плитки, в частности, из камня или керамики обычно укладывают с помощью подходящего клея на подготовленное соответствующим образом основание, например на гладкий настил, при этом ширина швов между плитками задается в основном посредством закладки стыковых крестиков, которые впоследствии должны быть удалены. Укладка связана с большими затратами как по инструменту, так и по материалам и, кроме того, требует относительно высокой квалификации укладчика. К тому же после укладки требуется довольно продолжительное время до того, как по покрытию можно будет ходить. Другой недостаток состоит в том, что уложенное по такой системе покрытие не может быть снято легко и просто, то есть без повреждения плиток.
При укладке напольных покрытий из деревянных плиток, таких как паркет или ламинат, известно выполнение на двух смежных сторонах плитки пазов, а на двух других сторонах – ответных им гребней шпунтового соединения. При укладке плитки с соответствующими пазами и гребнями надвигают друг на друга и склеивают. В этом случае покрытие из плиток также не может быть впоследствии снято без разрушения плиток.
Из патентных документов DE 19962812 или DE 20009717 известны каменные плитки с укладочными рамками и уплотнением.
Согласно документу DE 19962812 края подлежащих укладке напольных и настенных плиток снабжены окантовочным профилем, который может быть склеен с плитками. Окантовочный профиль выполнен таким образом, что его первая полка предназначена для укладки на нее плитки, а вторая полка – для прилегания к кромочной поверхности периметра плитки. Кроме того, на полке, проходящей по периметру плитки, предусмотрен выступ, расположенный на противоположной стороне полки относительно плитки. Этот выступ вместе с выступом на соседней плитке определяет минимальную ширину шва между плитками. В шве, образованном двумя зеркально симметричными окантовочными профилями, заложен уплотнительный профиль. Этот уплотнительный профиль снабжен зубьями для предотвращения его выхода из шва. На плитке может быть предусмотрен нескользящий смягчающий слой, однако кромочная область нижней стороны плитки оставлена свободной, так как там накладываются окантовочные профили. Предварительно подготовленные плитки с окантовочными профилями укладывают на поверхность основания таким образом, что выступы упираются друг в друга.
Согласно документу DE 20009717 между двумя смежными плитками предусмотрен по существу Т-образный несущий профиль, который имеет две боковые опорные полки в качестве опор для соответствующих плиток и среднюю удерживающую стенку с приемной канавкой для уплотнения. Удерживающая стенка проходит на какое-то расстояние вдоль края плитки, а уплотнение выполнено таким образом, что образует несколько уплотнительных поверхностей, следующих друг за другом в направлении к верхней стороне плитки. Между плиткой и боковой опорной полкой предусмотрена уплотнительная лента, которая препятствует выходу на нижнюю сторону плитки воды, проникшей через уплотнение. Кроме того, в области опорной полки может быть предусмотрена направляющая полка для образования сточных желобков.
Сущность изобретения
Задача, на решение которой направлено настоящее изобретение, заключается в создании системы укладки, при которой укладка плиток может выполняться относительно легко, то есть в том числе даже неопытными работниками. Система укладки должна быть пригодна для использования в особенности для укладки плиток, изготовленных из природного камня, такого как гранит, мрамор и т.д., но также и для укладки плиток из дерева, керамики и других материалов. Кроме того, система должна обеспечивать при необходимости возможность последующего удаления покрытия без повреждения отдельных плиток.
В соответствии с изобретением решение поставленной задачи достигается за счет создания системы укладки, позволяющей избежать вышеуказанных недостатков. Каждая плитка по меньшей мере частью поверхности своей нижней стороны уложена на укладочную рамку, снабженную опорными профилями с опорными областями, причем укладочная рамка снабжена бортиком или перегородкой, которая выступает над опорной поверхностью к верхней стороне плитки и по меньшей мере своим участком проходит вдоль края плитки в направлении верхней стороны плитки. Укладочные рамки выполнены с возможностью соединения друг с другом. Перегородка (бортик) предусмотрена только на двух смежных опорных профилях, а оба других опорных профиля снабжены опорной областью без перегородки. Первые опорные профили снабжены каждый по меньшей мере одним выступающим за плитку фиксирующим выступом, а оба других, вторых опорных профиля снабжены каждый по меньшей мере одним расположенным под плиткой фиксирующим выступом, так что один окантовочный профиль взаимодействует с другим окантовочным профилем.
В том случае, когда плитки имеют квадратную или прямоугольную форму, укладочная рамка содержит в целом четыре опорных профиля, причем благодаря специальному выполнению соединения возможно смещение параллельных рядов уложенных плиток. За счет этого можно укладывать плитки также со смещением. При этом на одном углу каждой плитки стыкуются не четыре плитки, а углы двух плиток стыкуются у бокового края плиток соседнего ряда.
За счет резинового уплотнения между краями отдельных плиток достигается точная и долговечная конструкция шва, который благодаря своей плотности защищает покрытие от проникновения воды.
Благодаря изобретению даже при покрытии больших площадей не требуется компенсационных температурных швов, так как за счет «плавающей» укладки отсутствует жесткое соединение покрытия с основанием. Поэтому не создается опасности образования трещин в покрытии или в отдельных плитках, как это бывает в тех случаях, когда плитки наклеены на настил. Кроме того, для укладки плиток больше не требуется клея.
Особые преимущества создаются при укладке дорогостоящих плиток, таких как гранитные и подобные плитки, за счет того, что здесь дополнительная стоимость системы укладки невелика по сравнению со стоимостью плиток. Главное же преимущество заключается в том, что в системе устранена возможность ошибок при укладке даже необученным персоналом. Кроме того, значительно снижаются затраты на операции укладки. Благодаря «плавающей» укладке покрытия при санации старых зданий с дощатыми полами можно быстро и экономично укладывать гранитные покрытия на имеющиеся деревянные конструкции без больших подготовительных работ. В сборных деревянных домах также можно укладывать покрытия из гранитных плиток и плиток из природного камня с помощью системы по изобретению.
Очень часто встречающейся проблемой в существующих монолитных напольных покрытиях является недостаточная звукоизоляция, когда вследствие неквалифицированной укладки покрытий в нем создаются звуковые мостики. При использовании системы укладки по изобретению эта проблема решена полностью и обеспечена оптимальная изоляция. Для этого укладочные рамки снабжены звукоизоляцией на своей нижней стороне.
Наряду с системой укладки предметом изобретения является плитка для использования в системе укладки и напольное покрытие, изготовленное с помощью системы укладки или с использованием плиток по изобретению. Еще одним предметом изобретения является укладочная рамка для плитки. Оптимальные примеры выполнения изобретения описаны в соответствующих зависимых пунктах формулы изобретения.
Перечень фигур чертежей
Далее со ссылками на прилагаемые чертежи будут подробно описаны примеры осуществления изобретения. На чертежах:
фиг.1 изображает предварительно изготовленную рамку для приема плитки,
фиг.2а изображает на виде в перспективе с вырезом напольное покрытие с одной уложенной плиткой,
фиг.2b изображает на виде в перспективе с вырезом напольное покрытие с двумя уложенными плитками,
фиг.3 изображает на виде сверху угол укладочной рамки,
фиг.4 изображает в сечении охватываемую часть профиля рамки,
фиг.5 изображает в сечении охватывающую часть профиля рамки,
фиг.6 изображает в поперечном сечении уплотнение, закладываемое в профиль рамки,
фиг.7 изображает в сечении фиксирующее соединение в другом примере выполнения,
фиг.8 изображает в сечении фиксирующее соединение в следующем примере выполнения,
фиг.9 изображает предварительно изготовленную рамку для приема плитки в следующем примере выполнения,
фиг.10 изображает в поперечном разрезе напольную плитку по фиг.9,
фиг.11 изображает на виде в разрезе напольное покрытие с двумя плитками, подлежащими укладке, в другом примере выполнения,
фиг.12 изображает в увеличенном виде в разрезе участок рамки с проемами по фиг.9,
фиг.13 изображает в увеличенном виде на виде снизу часть рамки по фиг.9,
фиг.14а изображает в увеличенном виде в разрезе первый окантовочный профиль рамки по фиг.9,
фиг.14b изображает в увеличенном виде в разрезе второй окантовочный профиль рамки по фиг.9,
фиг.15а изображает вариант выполнения уплотнения,
фиг.15b изображает в разрезе часть уплотнения.
Сведения, подтверждающие возможность осуществления изобретения
В представленных примерах выполнения система укладки относится к напольному покрытию, образованному из множества рядов каменных плиток, например гранитных, которые уложены в “плавающем” положении с включением между ними разделяющих швов на основание, например на необработанное перекрытие или деревянный настил.
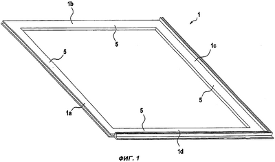
На фиг.1 показана на виде в перспективе четырехугольная рамка 1 для приема плитки, например гранитной плитки (не показана). Рамка предварительно изготовлена формованием из синтетического материала. Она может представлять собой единый элемент, сформованный как одно целое, или быть сборной из отдельных профильных элементов. В качестве материала может использоваться синтетический материал вторичной переработки.
Рамка 1 содержит четыре боковины или окантовочных профиля 1a-1d. Из них два примыкающих друг к другу окантовочных профиля 1с, 1d выполнены с соединительным профилем 3, показанным в сечении на фиг.4. Два других окантовочных профиля 1а, 1b выполнены с соединительным профилем 4, показанным в сечении на фиг.5. Все четыре боковины или окантовочные профили 1a-1d имеют полосообразную опорную поверхность 5 для укладки на нее плитки 2, вставленной в рамку.
На фиг.2а показано прилегание такой плитки 2 к опорной поверхности 5 соединительного профиля 4. При ширине плитки 305 мм целесообразной является ширина опорной поверхности 5 величиной 20 мм.
Зазор между основанием (основанием пола) и установленной над ним плиткой 2, образованный толщиной (строительной высотой) опорной поверхности 5, может выгодным образом использоваться для звукоизоляционного покрытия 12. При этом высота изоляционного покрытия 12 может быть подобрана такой, чтобы оно принимало размер расстояния от основания до плитки только в нагруженном состоянии. Предпочтительно, чтобы изоляционное покрытие было приклеено к нижней стороне плитки. За счет этого надежно устраняется явление звукового эхо, известное в области паркетных покрытий.
На фиг.2b показаны две уложенные плитки 2, причем для наглядности правая плитка показана сдвинутой назад. Плитка 2 прилегает своей нижней стороной по контуру к опорной поверхности 5 и приклеена к ней.
В отличие от примера выполнения по фиг.2а звукоизоляционное покрытие 12 может не только доходить до опорной поверхности 5, но и заходить под нее, так что звукоизоляция обеспечивается также в области опорной поверхности 5. Это показано на чертеже штриховкой, причем область под опорной поверхностью 5 обозначена позицией 13.
В тех случаях, когда требуется выровнять небольшие неровности или шероховатости верхней поверхности основания, например при очень грубой поверхности основания, может быть предпочтительно под рамкой 1 дополнительно наклеить подстилку из пеноматериала, не показанную на чертежах. Эта подстилка может быть приклеена точечным образом или по всей поверхности.
Как следует из чертежа по фиг.4, соединительный профиль 3 окантовочных профилей 1с и 1d содержит выступающую вертикально вверх перегородку 6, к которой с двух сторон прилегают плитки 2 в уложенном положении. Перегородка 6 снабжена канавкой 7, в которую закладывается резиновое уплотнение 8, показанное в поперечном сечении на фиг.6. При необходимости уплотнение 8 может быть приклеено к перегородке 6 в области канавки 7, чтобы предотвратить его выход из канавки. Кроме того, предусмотрено выполнение уплотнения 8 в дизайнерской цветовой комбинации с плитками. Благодаря этому нет необходимости в том, чтобы укладочная рамка совпадала с плитками по цвету.
Резиновое уплотнение 8 выполнено грибовидным в поперечном сечении, при этом ножка 8а уплотнения 8 выполнена по размерам такой, что входит в канавку 7 перегородки 6. Головка 8b предпочтительно выполнена трапецеидальной и имеет такую высоту, что после закладки уплотнения верхняя кромка головки находится примерно на одном уровне с верхней кромкой уложенной плитки 2, как показано на фиг.2b.
Ширина резинового уплотнения 8 по меньшей мере на верхнем конце превышает ширину перегородки 6, так что, когда плитки уложены, уплотнение 8 сжимается и уплотняет шов. На углах, то есть в местах перекрестного стыка плиток, резиновое уплотнение 8 срезано со скосами, образующими угол 90° (фиг.3), так что обеспечивается уплотнение перекрестного стыка.
Соединительный профиль 3 (фиг.4) содержит выступ 9, ответный по форме фиксирующему пазу 11 в соединительном профиле 4 (фиг.5). Оба соединительных профиля 3 и 4 образуют замковое соединение, с помощью которого можно соединять и впоследствии вновь разъединять множество рамок. Для того чтобы обеспечить сборку частей покрытия без раскроя на месте, в каждой рамке выступы 9 с фиксирующими упорами 10 выполнены с отступом размером Х от наружной кромки рамки (фиг.3).
Каждая подлежащая укладке плитка 2 снабжена рамкой по фиг.1. Предпочтительно рамки приклеены к нижней стороне плиток, так что плитка и рамка образуют одно целое. Приклеивание создает дополнительное преимущество в том, что плитки покрытия жестко зафиксированы и не происходит «вылущивания» плиток даже после длительного срока службы покрытия.
Для укладки покрытия плитки с приклеенными к ним рамками должны быть уложены на подготовленную подстилку на основание (в данном случае основание пола) и сдвинуты друг к другу таким образом, чтобы окантовочные профили с фиксирующими пазами 11 вошли в контакт с окантовочными профилями с фиксирующими упорами 10. Посредством соединения (защелкивания) частей получают их механическое соединение, которое при необходимости впоследствии может быть разъединено. Кроме того, как было упомянуто выше, при соединении уплотнения 8 сжимаются настолько, что создается определенное предварительное напряжение. За счет него создается достаточное уплотнение для надежной защиты от проникновения грязи и влаги. Кроме того, при укладке плиток компенсируются допуски на их изготовление.
На фиг.7 показано фиксирующее соединение в другом примере выполнения. Фиксирующий упор 10, выступающий от окантовочного профиля 1 с, выполнен с профильными выемками на верхней и нижней стороне, которые фиксируются при заходе упора в две соответствующие профильные выемки в пазу 11 на охватывающем окантовочном профиле 1а. При вдвигании фиксирующего упора в фиксирующий паз последний раздвигается и затем снова смыкается после полного ввода фиксирующего упора, при котором боковая кромка окантовочного профиля 1а прилегает к боковой кромке, то есть к перегородке 6 окантовочного профиля 1с. При этом выбирают материал такой упругости, чтобы это защелкивание происходило без разрушения элементов.
В примере выполнения по фиг.8 фиксирующее соединение выполнено без профильных элементов в области выступа 14 и паза 15, так что здесь обеспечивается только направляющее действие. Механическая фиксация создается взаимодействием фиксирующего упора 10 на нижней стороне выступа 14 и фиксирующей выемки 11 на верхней поверхности нижней стенки паза 15. При этом для облегчения сборки предусмотрен скос 16, показанный пунктирной линией.
На фиг.4, 5, 7 и 8 особенно ясно видно, что охватывающий соединительный профиль 4 заходит снизу за охватываемый соединительный профиль 3, а именно на ширину перегородки 6.
На фиг.9 представлен следующий пример осуществления изобретения. Укладочная рамка 21 содержит в дополнение к расположенным по периметру окантовочным профилям 21а, 21b, 21с, 21d ребра 22, 23 жесткости. Ребра 22 жесткости первой группы проходят параллельно сторонам, а ребра 23 жесткости имеют диагональное направление. Ребра 22, 23 пересекаются с образованием точек 24 пересечений, которые могут иметь различные размеры.
На окантовочных профилях 21a-21d выполнены верхние и нижние выступы 25, 26, представляющие верхние и нижние половины фиксирующих соединений, как это будет подробно описано дальше. Каждая опорная зона 27, ограниченная стенками окантовочных профилей 21a-21d и ребрами 22, 23, имеет проемы, которые обозначены штриховкой и назначение которых будет объяснено ниже.
Фиг.10 изображает напольную плитку по фиг.9 в поперечном сечении, причем на чертеже видны окантовочные профили 21b, 21d на краях рамки. Кроме того, показана также вертикальная стенка 28 (см. также фиг.11), называемая дальше просто стенкой. Стенка 28 проходит от окантовочного профиля 21a-21d почти по всей длине или ширине укладочной рамки 21, однако только на двух ее смежных сторонах. Как видно на фиг.9, на окантовочном профиле 21а расположена стенка 28, а на смежном окантовочном профиле 21b – стенка 29.
На фиг.10 показаны также проемы 30 и внутренние ребра 22 жесткости. Видны также верхние и нижние части 25, 26 фиксирующего соединения.
На фиг.11 слева показана часть рамки с уложенной на нее плиткой в разрезе по линии АА на фиг.9, а правая часть фиг.11 соответствует виду в разрезе соседней плитки по изобретению. На чертеже представлен профиль рамки 21 с окантовочным профилем 21а, на который опирается плитка 2, причем положение плитки фиксируется стенкой 28, выполняющей роль упора.
Укладочная рамка 21 снабжена проемами 30, назначение которых будет объяснено ниже.
На наружной стороне укладочной рамки 21 показан верхний выступ 25, снабженный направленными вниз фиксирующими зубьями 31. Переходная область выступа 25 выполнена упругой по типу плоской пружины, так что выступ 25 обладает некоторой податливостью.
В правой части чертежа по фиг.11 показана соседняя плитка, окантовочная область которой соответствует виду в разрезе по линии ВВ на фиг.9. Плитка 2′ опирается на окантовочный профиль 21с, снабженный нижним выступом 26 с фиксирующими зубьями 32. Плитка 2′ перекрывает снизу нижний выступ 26, так что при соединении напольных плиток 21, 21′ плитка 2′ прилегает к окантовочному профилю 21а над верхним выступом 25. В левой части фиг.11 показано это положение плитки 2′, причем в этом положении нижний выступ 26 окантовочного профиля 21с находится под верхним выступом 25 окантовочного профиля 21а. Таким образом, верхний выступ 25 ограничен с двух сторон. Для того чтобы верхний фиксирующий выступ мог проскальзывать по фиксирующим зубьям, предусмотрено расстояние от него до плитки 2′, так что верхняя сторона фиксирующего выступа 25 расположена глубже, чем нижняя сторона плитки 2′, то есть опорная поверхность плитки 2.
Плитки 2, 2′ удерживаются стенкой 28 на предварительно заданном минимальном расстоянии друг от друга, а установленное на стенке 28 уплотнение 33 обеспечивает уплотнение плиток с верхней стороны. Кроме того, уплотнение 33 клинообразно расширяется вверх, а в области вертикальной стенки снабжено полками 34, 34′, выступающими к плиткам 2 и 2′. При сборке напольных плиток наклонные поверхности уплотнения 33 приходят в контакт с выполненными соответствующим образом поверхностями плиток 2, 2′, оказывая уплотняющее действие. Если влага все же проникает через эти уплотняющие поверхности, например, при нанесении очищающей жидкости, уплотнительные полки 34, 34′ препятствуют ее дальнейшему просачиванию вниз.
Кроме того, укладочная рамка снабжена на своей нижней стороне приемной канавкой 35, в которой заделан изоляционный профиль 36. Изоляционный профиль 36 выступает за нижнюю кромку окантовочного профиля и может заполнять боковые компенсирующие пространства 37, 37′, которые создают возможность деформации изоляционного профиля 36 под нагрузкой. Кроме окантовочных профилей 21а ребра 22, 23 жесткости также снабжены изоляционным профилем, заделанным в канавку, что обеспечивает хорошую звукоизоляцию.
Фиг.12 также изображает рамку в разрезе по линии АА на фиг.9, представляя расположение проемов 30, 30′ и лежащих между ними опорных перемычек 38 опорной области 27. Особенно важное значение имеет расположение боковых стенок перемычек 38 таким образом, что проем 30 расширяется в направлении от опорной поверхности для плитки к нижней стороне укладочной рамки 21. Это обеспечивает механическое анкерное крепление плитки в укладочной рамке 21 посредством клея, проходящего через проем 30. За счет этого не представленная на чертеже плитка соединяется с укладочной рамкой 21 также механически жестко, так как создается соединение по типу соединения «ласточкин хвост».
Между нижними сторонами опорных перемычек 38 или проемов 30 (что одно и то же) и нижней стороной окантовочного профиля 21а имеется расстояние. Нанесение клея на верхнюю сторону опорной перемычки 38 производится, например, машинным способом с помощью скребка. В альтернативном варианте клеем может покрываться только нижняя сторона плитки или поверхности и перемычки, и плитки. При этом не всегда требуется полное покрытие поверхности клеем. Во многих случаях бывает достаточно покрывать клеем только часть поверхности, причем клей может также наноситься выдавливанием полосой (из тюбика).
В качестве клея могут использоваться термопластичные клеящие вещества или так называемые термоклеи, а также одно- или многокомпонентные реактивные клеи, в особенности полиуретан – клей с низким содержателем пенистого компонента.
На фиг.12 видны также верхние или нижние выступы 25, 26 на окантовочном профиле 21а, при этом верхний и нижний выступы одного профиля расположены не один над другим, а со смещением в плоскости чертежа, как это видно на фиг.9. На фиг.12 хорошо видно взаимодействие фиксирующих зубьев. Здесь следует подчеркнуть, что нижний выступ 26 обладает упругостью, допускающей проскальзывание зубьев. Однако здесь не предусмотрено дополнительное пространство для отклонения выступа, так как предполагается, что при расцеплении может быть поднята вся плитка. При этом само освобождение фиксирующего соединения становится возможным в том случае, когда верхний фиксирующий выступ может опереться непосредственно на нижнюю сторону плитки.
На фиг.13 представлен участок правого нижнего угла рамки по фиг.9 на виде снизу. На чертеже видно расположение окантовочных профилей 21а, 21d, а также выступающей стенки 28, диагонально проходящего ребра 23 жесткости и ребра 22 жесткости, проходящего параллельно окантовочному профилю 21а. Опорные окантовочные профили 21а, 21d и ребра 22, 23 жесткости снабжены изоляционным профилем 36, который может быть сформован подачей под давлением через центральную точку 40 нагнетания в области точки 24 пересечения в предусмотренные для него канавки 35 после того, как укладочная рамка изготовлена формованием в ходе первого этапа изготовления. Опорная поверхность между окантовочным профилем 21а и ребром 22 жесткости снабжена проемами 30, 30′, между которыми проходят опорные перемычки 38.
Фиг.14а, 14b еще раз изображают в разрезе опорные окантовочные профили 21а, 21d. При этом вновь видно, что только окантовочный профиль 21а снабжен стенкой 28, которая действует в качестве упора для плитки, а окантовочный профиль 21d не имеет такой стенки.
На фиг.15а показан особенный пример выполнения уплотнения 33. Вместо представленных на фиг.11 уплотняющих полок предусмотрены утолщения 34, выступающие в канавку на краях плиток 2, 2′. На более подробном виде по фиг.15b видно, что канавка 41 может быть также больше уплотнительного утолщения по сечению, при условии, что уплотнение будет обеспечено по меньшей мере на участке сечения. Таким образом, здесь имеется уплотнительная поверхность 42.
Как уже было упомянуто, соединение плитки с укладочной рамкой производят, например, посредством склеивания. При этом горячая или способная к отверждению клеевая масса может наноситься таким образом, что она проходит насквозь через расширяющиеся проемы 30 и обеспечивает механическое анкерное крепление. На опорной поверхности между проемами происходит обычное приклеивание, так что после отверждения клеящего вещества плитка закрепляется как клеевым соединением, так и механическим анкерным креплением по типу соединения в ласточкин хвост.
Укладочная рамка может быть снабжена термопластичным эластомером для формирования уплотнения 33 и для звукоизоляции 36 способом двухкомпонентного формования под давлением. При этом саму рамку изготавливают из пластичного материала высокой плотности, такого как полистирол или полиуретан, а для изоляции от ударного шума используют термопластичный эластомер.
Кроме того, фиксирующее соединение с помощью зубьев при использовании одиночного выступа может быть соединением простого зубчатого зацепления или, как в показанном примере выполнения, быть соединением многократного зацепления, так что могут компенсироваться расхождения размеров по допускам. При этом фиксирующее соединение должно быть выполнено таким образом, чтобы при подъеме плитки с опорой на противолежащую кромку было возможно расцепление соединения. При действии только растягивающей нагрузки на плоско уложенные плитки отсоединение должно быть возможно только после превышения величины нагрузки, обычной при эксплуатации.
Одностороннее фиксирующее соединение по второму примеру выполнения имеет то преимущество, что строительная высота фиксирующего соединения значительно меньше по сравнению с соединением с защелкиванием.
В данном примере выполнения звукоизоляцию заделывают в ребра 22, 23 жесткости и в окантовочные профили 21a-21d. За счет этого также достигается снижение строительной высоты. Звукоизоляция может быть выполнена таким образом, что дополнительно достигается устранение скольжения.
Напольная плитка, образованная плиткой и укладочной рамкой, благодаря клеевому соединению имеет повышенную статическую прочность, так что для гранитных плиток требуемая толщина плитки может быть снижена от прежней требуемой величины 10 мм до 8 мм или даже до 6 мм. Это дает значительную экономию материала, а следовательно, и стоимости при изготовлении напольных покрытий.
Как уже было упомянуто, изоляционный профиль 36 выступает за нижние стороны окантовочных профилей или ребер жесткости. Однако при экстремальной нагрузке эти нижние стороны окантовочных профилей или ребер жесткости могут доходить до опоры и предотвращают повреждение звукоизоляции. Таким образом, заделанная в канавку звукоизоляция защищена от повреждения при экстремальной нагрузке.
Клей выбирают таким образом, что при использовании полов с подогревом обеспечивается его достаточная теплостойкость. При укладке наружных покрытий клей должен быть стойким к погодным условиям.
Формула изобретения
1. Система укладки напольных покрытий из плиток, в особенности каменных плиток, в которой каждая плитка по меньшей мере частью поверхности своей нижней стороны уложена на укладочную рамку (21), снабженную окантовочными профилями (21а, 21b, 21с, 21d) с опорными областями, причем укладочная рамка (21) снабжена стенкой (28), которая выступает над опорной поверхностью к верхней стороне плитки и по меньшей мере своим участком проходит вдоль края плитки (2) в направлении верхней стороны плитки (2), при этом укладочные рамки (21) выполнены с возможностью соединения друг с другом, отличающаяся тем, что стенка (28) предусмотрена только на двух смежных окантовочных профилях (21а, 21b), а оба других окантовочных профиля (21с, 21d) снабжены опорной областью без стенки, при этом одни указанные окантовочные профили (21а, 21b) снабжены каждый по меньшей мере одним выступающим за плитку (2) фиксирующим выступом (25, 26), а оба других окантовочных профиля (21с, 21d) снабжены каждый по меньшей мере одним расположенным под плиткой (2) фиксирующим выступом (25, 26), и соответственно один окантовочный профиль (21а, 21b) взаимодействует с другим окантовочным профилем (21с, 21d).
2. Система укладки по п.1, отличающаяся тем, что на стенке (28) выполнен уплотнительный профиль, который проходит вдоль края плитки (2) в направлении верхней стороны плитки (2).
3. Система укладки по п.1 или 2, отличающаяся тем, что укладочная рамка (21) и плитка (2) образуют одно целое и предпочтительно приклеены друг к другу.
4. Система укладки по п.1 или 2, отличающаяся тем, что укладочная рамка (21) на своей нижней стороне снабжена звукоизоляцией (36).
5. Система укладки по п.4, отличающаяся тем, что звукоизоляция (36) расположена под опорной областью.
6. Плитка, выполненная для использования в системе укладки по любому из пп.1-5.
7. Напольное покрытие, изготовленное из плиток, заявленных в п.6.
8. Укладочная рамка для плиток для использования в системе укладки, заявленной в любом из пп.1-5.
9. Укладочная рамка по п.8, отличающаяся тем, что на стенке (28) укреплено уплотнение, в частности, из эластичного резинового материала.
10. Укладочная рамка по п.8 или 9, отличающаяся тем, что в стенке предусмотрена канавка, в которую может быть уложено уплотнение.
11. Укладочная рамка по п.8 или 9, отличающаяся тем, что укладочная рамка на своей нижней стороне снабжена звукоизоляционным профилем (36), причем этот изоляционный профиль (36) расположен в канавке (35).
12. Укладочная рамка по п.8, отличающаяся тем, что укладочная рамка (21) содержит ребра (22, 23) жесткости и опорную поверхность (27) с проемами (30, 30′), при этом ребра (22, 23) жесткости на своей нижней стороне снабжены канавкой (35) для приема изоляционного профиля (36).
13. Укладочная рамка по п.12, отличающаяся тем, что проемы (30, 30′) опорной поверхности расширяются по конусу в направлении от плитки.
14. Укладочная рамка по п.8, отличающаяся тем, что укладочная рамка (21) предварительно изготовлена в виде единого элемента.
15. Укладочная рамка по п.8, отличающаяся тем, что укладочная рамка (21) выполнена сборной из профилей (21a-21d), предпочтительно из профилей, полученных способом непрерывного профильного прессования.
16. Укладочная рамка по п.9 или 12, отличающаяся тем, что уплотнение, с одной стороны, и изоляционный профиль (36), с другой стороны, соединены с рамой посредством соединения материалов, в частности посредством набрызга.
17. Укладочная рамка по п.8 или 15, отличающаяся тем, что укладочная рамка (1) образована из четырех окантовочных профилей (21a-21d), снабженных опорой (5) для плитки (2), из которых одни окантовочные профили (21а-21b) снабжены каждый по меньшей мере одним выступающим за плитку (2) фиксирующим выступом (25, 26), а оба других окантовочных профиля (21с, 21d) снабжены каждый по меньшей мере одним расположенным под плиткой (2) фиксирующим выступом (25, 26), так что один окантовочный профиль (21а, 21b) взаимодействует с другим окантовочным профилем (21с, 21d).
Приоритет по пунктам:
28.11.2001 по пп.1-4, 6-10, 14, 15, 17;
20.09.2002 по пп.5, 11-13, 16.
РИСУНКИ
|
|