|
|
(21), (22) Заявка: 2006100573/12, 10.01.2006
(24) Дата начала отсчета срока действия патента:
10.01.2006
(46) Опубликовано: 27.08.2007
(56) Список документов, цитированных в отчете о поиске:
RU 2191503 С2, 27.10.2002. Механизация животноводства./Под редакцией В.К.ГРИБА. – Минск: Ураджай, 1987, с.330 и 332 рис.9.9. Механизация уборки и утилизации навоза./Под редакцией Ф.Ф.КОСТАНДИ. – М.: Колос, 1982, с.138-141, рис.45. RU 2086116 C1, 10.08.1997. SU 1079224 A, 15.07.1981. FR 2748368 A1, 14.11.1997.
Адрес для переписки:
660049, г.Красноярск, пр. Мира, 88, ФГОУ ВПО Красноярский государственный аграрный университет, патентоведу Т.А. Лобановой
|
(72) Автор(ы):
Филиппов Вадим Григорьевич (RU), Мельников Евгений Сергеевич (RU), Лукашов Александр Васильевич (RU), Матюшев Василий Викторович (RU)
(73) Патентообладатель(и):
Федеральное образовательное учреждение высшего профессионального образования Красноярский государственный аграрный университет (RU)
|
(54) УСТРОЙСТВО ДЛЯ УДАЛЕНИЯ И ХРАНЕНИЯ СВИНОГО НАВОЗА
(57) Реферат:
Устройство содержит воздушный компрессор, воздуховоды, ресивер с клапаном подачи сжатого воздуха в подземный продувочный котел, подземный навозопровод, навозохранилище с подводом жидкого навоза снизу, следящий механизм, загрузочный клапан. Навозохранилище расположено ниже уровня промерзания земли. Навозопровод снабжен коленом, расположенным на входе в навозохранилище, переходящим в горизонтальный перфорированный воздухонавозораспределитель. Следящий механизм выполнен в виде загрузочного клапана в продувочном котле, выполненном в форме горизонтально вытянутой трубы с вертикальной горловиной. Повышается качество обработки и хранения навоза, повышается надежность работы устройства и удобство обслуживания. 1 ил.
Изобретение относится к сельскому хозяйству, а именно к механизации процесса удаления и хранения жидкого навоза.
Известна пневматическая установка удаления навоза (патент РФ №2191503, МПК А01К 1/01, 2000), включающая компрессор, ресивер, расположенный под землей продувочный котел, воздуховоды, соединяющие компрессор с ресивером и ресивер с продувочным котлом, который сообщен навозопроводом, проходящим под землей, с навозохранилищем, притом навозопровод соединен с навозохранилищем вертикально снизу последнего, при этом в навозопровод на его выходе из продувочного котла вмонтирован следящий механизм, позволяющий контролировать выход последней части навоза, а продувочный котел и ресивер выполнены из железобетона.
Недостатком данной пневматической установки является низкое качество навоза как удобрения, так как зимой он замерзает и в нем не происходит биологический мезофильный процесс, а также невысокая надежность следящего механизма – флажка, оснащенного концевым выключателем и работающего в потоке навоза. Кроме того, его трудно обслуживать, особенно зимой, так как он находится под землей вне помещения. При изготовлении продувочного котла требуется проведение большого объема бетонных работ высокого качества, так как котел работает под значительным давлением, страдает и экология окружающей среды.
Задача изобретения – повышение качества обработки и хранения навоза за счет расположения навозохранилища ниже уровня промерзания земли, повышение надежности работы устройства и удобства его обслуживания, упрощение в изготовлении, а также улучшение экологии на прилегающей территории.
Технический результат, в отличие от прототипа, достигается за счет того, что устройство содержит воздушный компрессор, воздухопроводы, ресивер с клапаном подачи сжатого воздуха в подземный продувочный котел, подземный навозопровод, навозохранилище с подводом жидкого навоза снизу, следящий механизм, загрузочный клапан, притом навозохранилище расположено ниже уровня промерзания земли, а навозопровод снабжен коленом, расположенным на входе в навозохранилище, переходящим в горизонтальный перфорированный воздухонавозораспределитель, притом следящий механизм выполнен в виде загрузочного клапана в котле, выполненном в форме горизонтально вытянутой трубы с вертикальной горловиной.
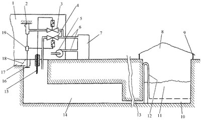
На чертеже представлен общий вид установки удаления и хранения свиного навоза.
В свинарнике 1 смонтированы: пневмоцилиндр 2 закрытия загрузочного клапана 16, клапан привода пневмоцилиндра 3, клапан 4 подачи воздуха в продувочный котел 14, компрессор 5. На штоке пневмоцилиндра 2 установлен датчик контроля 19 положения загрузочного клапана 16. Снаружи свинарника установлены: воздухопроводы 6, ресивер 7. Навозохранилище 11, расположенное ниже уровня промерзания земли, сверху заполнено сорбентом 8, например соломой или торфом, и имеет ограждение 9. Продувочный котел 14 выполнен в виде горизонтально вытянутой трубы с вертикальной горловиной, например из металлической трубы, расположен ниже уровня промерзания земли и снабжен навозопроводом 13, который на входе в навозохранилище 11 выполнен в виде колена 12, переходящим в горизонтальный перфорированный воздухонавозораспределитель 10.
Продувочный котел 14 оснащен реле уровня жидкого навоза 15. Реле уровня жидкого навоза 15 связано с клапаном 3 привода пневмоцилиндра 2 с функцией его открытия при срабатывании реле 19, когда уровень навоза равен или больше заданного значения и закрытия при отпускании реле, когда уровень навоза ниже заданного.
Загрузочный клапан 16 снабжен пневмоцилиндром 2, причем на его штоке установлен датчик 19 положения загрузочного клапана. Последний соединен с клапаном 4 подачи воздуха из ресивера 7 в продувочный котел 14 с функцией открытия клапана 4 при закрытом загрузочном клапане 16. Подвижная система, состоящая из загрузочного клапана 16, штока и поршня пневмоцилиндра 2, имеет вес, превышающий силу удержания в закрытом положении загрузочного клапана 16 избыточным остаточным давлением воздуха в продувочном котле в момент опорожнения последнего.
На входе в продувочный котел 14 установлен лоток 17 для подачи навоза, в котором установлена фильтр-сетка 18.
Реле уровня жидкого навоза 15, загрузочный клапан 16, навозный лоток 17, фильтр-сетка 18 и датчик 19 положения загрузочного клапана 16 установлены в свинарнике.
Устройство работает следующим образом.
Навозохранилище 11 заполняют сверху сорбирующим материалом (соломой или торфом). Компрессор 5 нагнетает воздух из продувочного котла 14 в ресивер 7. Клапан 3 привода пневмоцилиндра 2 и клапан 4 подачи воздуха в продувочный котел 14 при этом закрыты. Формируется запас сжатого воздуха в ресивере 7. Жидкий навоз из навозного лотка 17, пройдя через сетку-фильтр 18 и открытый загрузочный клапан 16, подается самотеком в продувочный котел 14. После заполнения продувочного котла 14 навозом по сигналу реле уровня жидкого навоза 15 открывается клапан 3 и сжатый воздух из ресивера 7 подается на пневмоцилиндр 2. Он закрывает загрузочный клапан 16. Датчик положения загрузочного клапана 19 подает сигнал на клапан подачи воздуха 4 в продувочный котел 14. Клапан 4 открывается, сжатый воздух поступает в продувочный котел 14 и вытесняет из него навоз по навозопроводу 13, колену 12, горизонтальному перфорированному воздухонавозораспределителю 10 в нижнюю часть навозохранилища 11.
В начале продувки при снижении уровня навоза в продувочном котле 14 до значения ниже заданного реле уровня жидкого навоза 15 подает сигнал отключения клапана 3, который прекращает подачу сжатого воздуха на пневмоцилиндр 2. Загрузочный клапан 16 теперь держится в закрытом положении избыточным давлением продувочного котла 14.
После опорожнения всей пневмосистемы – продувочного котла 14, навозопровода 13, колена 12, перфорированного воздухонавозораспределителя 10 от навоза давление в продувочном котле 14 падает. Закрытый загрузочный клапан 16, лишившись подпора избыточным воздушным давлением продувочного котла 14, открывается под действием веса подвижной системы (загрузочного клапана 16, штока и поршня пневмоцилиндра 2) и снова происходит через него заполнение продувочного котла 14 навозом. Датчик 19 положения загрузочного клапана, находящегося в открытом состоянии, подает сигнал на клапан 4 и тот закрывается. Прекращается подача лишнего воздуха в открытый продувочный котел. Устройство возвращается в исходное состояние.
Верхний слой сорбента (соломы или торфа) 8 в навозохранилище 11 не смачивается навозом и является теплоизолятором. В режиме хранения навоза в навозохранилище в нижней его части жидкий навоз сорбируется соломой или торфом и за счет теплоизоляции протекает биологический мезофильный процесс обработки навоза. По заполнении навозохранилища и созревании навоза выгрузные средства по спуску (не показан) убирают съемные ворота (не показаны) навозохранилища 11 и отправляют органическое удобрение на поля.
Вокруг хранилища устраивается отмостка (не показана) для исключения попадания в него ливневых стоков. Ограждение 9 препятствует попаданию в навоз посторонних предметов и позволяет увеличить слои теплоизолятора.
Изобретение обеспечивает простоту конструкции и монтажа продувочного котла, а сооружение вертикального заглубленного навозохранилища, заполненного теплоизолирующим сорбентом, позволяет обеспечить мезофильный процесс при хранении навоза повышенной влажности при бесподстилочном содержании животных, что повышает его качество.
Изготовление продувочного котла в виде горизонтально вытянутой трубы сравнительно небольшого диаметра с вертикальной горловиной позволяет упростить всю конструкцию устройства и выбором необходимой длины трубы обеспечить требуемый объем продувочного котла. Состыковывая последовательно несколько готовых труб, можно получить необходимый объем. Количество уплотнительных швов, а, следовательно, и объем монтажной работы при этом оказывается меньше, чем в прототипе, когда изготавливается бетонный продувочный котел большого единичного объема. Площадь поверхности трубы на единицу длины также меньше, чем в прототипе, поэтому трубный котел прочнее и надежнее в работе под давлением.
Применение навозопровода 13 в виде колена 12 на входе в навозохранилище 11 исключает сток навоза из хранилища обратно в продувочный котел. Кроме того, в конце продувки колено 12 заполняется воздухом. Этот воздух затем, в начале следующей продувки, поступит в навозохранилище 11 на барботаж. В зависимости от количества воздуха в навозохранилище складывается аэробный или анаэробный процесс переработки навоза. Выбор объема колена определяет характер процесса переработки навоза.
Установку удобно обслуживать, так как управляющие устройства расположены в помещении. Кроме того, применение изобретения позволяет получить высококачественные органические удобрения. Оно не требует сооружения наземных вертикальных стенок сложной конфигурации и отличается простотой загрузки и выгрузки.
В связи с расположением навозохранилища ниже уровня промерзания земли и исключения утечек навоза на поверхность земли улучшаются экологические условия прилегающей территории.
Устройство легко может быть реализовано в сельскохозяйственном производстве.
Формула изобретения
Устройство для удаления и хранения свиного навоза, содержащее воздушный компрессор, воздухопроводы, ресивер с клапаном подачи сжатого воздуха в подземный продувочный котел, подземный навозопровод, навозохранилище с подводом жидкого навоза снизу, следящий механизм, загрузочный клапан, отличающееся тем, что навозохранилище расположено ниже уровня промерзания земли, а навозопровод снабжен коленом, расположенным на входе в навозохранилище, переходящим в горизонтальный перфорированный воздухонавозораспределитель, притом следящий механизм выполнен в виде загрузочного клапана в продувочном котле, выполненном в форме горизонтально вытянутой трубы с вертикальной горловиной.
РИСУНКИ
MM4A – Досрочное прекращение действия патента СССР или патента Российской Федерации на изобретение из-за неуплаты в установленный срок пошлины за поддержание патента в силе
Дата прекращения действия патента: 11.01.2008
Извещение опубликовано: 27.07.2009 БИ: 21/2009
|
|