|
|
(21), (22) Заявка: 2006105428/12, 21.02.2006
(24) Дата начала отсчета срока действия патента:
21.02.2006
(46) Опубликовано: 27.08.2007
(56) Список документов, цитированных в отчете о поиске:
RU 2190317 С2, 10.10.2002. SU 250589 A1, 01.01.1969. SU 1687112 A1, 30.10.1991. DE 2515363 A1, 28.10.1976.
Адрес для переписки:
454080, г.Челябинск, пр. Ленина, 75, Челябинский государственный агроинженерный университет, кафедра “Тепловодогазоснабжение в сельском хозяйстве”
|
(72) Автор(ы):
Булгаков Александр Олегович (RU), Круглов Геннадий Александрович (RU), Липп Виктор Александрович (RU)
(73) Патентообладатель(и):
ФГОУ ВПО “Челябинский государственный агроинженерный университет” (RU)
|
(54) ТЕПЛИЦА
(57) Реферат:
Изобретение относится к сельскому хозяйству, а именно к конструкции сельскохозяйственных культивационных сооружений защищенного грунта, и может быть использовано, в частности, при строительстве теплиц и позволяет улучшить параметры микроклимата, упростить конструкцию теплицы и повысить надежность. Теплица содержит светопрозрачное покрытие и надпочвенную систему обогрева, выполненную в виде замкнутой подпочвенной зоны, соединенной с атмосферой и пространством под светопрозрачным покрытием. Теплица снабжена вытяжной шахтой, расположенной в верхней части светопрозрачного покрытия со стороны торца, противоположного торцу, у которого расположен подающий патрубок. Подпочвенная зона выполнена в виде заглубленного в грунт воздуховода-теплообменника, представляющего собой изогнутый полый стержень со сплошными стенками. Воздухозаборное устройство расположено со стороны одного торца теплицы, а подающий патрубок – с противоположного. 1 ил.
Изобретение относится к сельскому хозяйству, а именно к конструкции сельскохозяйственных культивационных сооружений защищенного грунта, и может быть использовано, в частности, при строительстве теплиц, предназначенных для выращивания различных овощных, фруктовых, лекарственных и цветочных культур под светопрозрачным покрытием с использованием солнечной энергии для обогрева.
Известны конструкции теплиц (SU 1416081 А2, 15.08.1988 и SU 235494, 26.05.1969, кл. А01G 9/14), в которых вентиляция подпленочного пространства осуществляется путем открытия форточек или вентиляционных проемов.
Недостатками данных конструкций являются:
1. Высота расположения вентиляционных проемов ограничена высотой теплицы, что в свою очередь, ограничивает тягу, обусловленную разностью температур, поэтому для осуществления приемлемого воздухообмена требуется большое количество вентиляционных проемов, особенно при небольшой разности наружной и внутренней температур, что приводит к усложнению конструкции теплицы и ее удорожанию.
2. Воздух подается в теплицу неподготовленным, т.е. с параметрами окружающей среды, которые не всегда соответствуют допустимым для конкретного вида культивируемых растений.
3. Элементы конструкций подвержены механическим нагрузкам, возникающим вследствие воздействия сил трения скольжения или вращения, что снижает их надежность.
4. При ручном регулировании величины открытия форточек необходимо присутствие обслуживающего персонала на объекте.
5. При автоматическом регулировании усложняется конструкция, что приводит к ее удорожанию и требует более квалифицированного персонала для монтажа и обслуживания, а также необходим подвод электроэнергии.
Наиболее близкой по своей технической сущности является теплица, включающая светопрозрачное покрытие и надпочвенную систему обогрева, выполненную в виде заглубленных в грунт полых стержней, соединяющих подпочвенную зону с атмосферой. В подпочвенной зоне выполнена замкнутая полость, в которой установлены нижними концами полые стержни, при этом часть стержней расположена под светопрозрачным покрытием, а часть – за его пределами. Высота полых стержней, расположенных под светопрозрачным покрытием, больше высоты стрежней, расположенных за его пределами. Нижние концы стержней, соединяющих замкнутую полость с атмосферой под светопрозрачным покрытием, короче стрежней, соединяющих замкнутую полость с атмосферой за его пределами (Патент РФ 2190317, кл. А01G 9/14, 9/24).
Данная теплица имеет следующие недостатки:
1. Поступление воздуха из замкнутой полости, установленной под слоем почвы, под светопрозрачное покрытие возможно только при условии замещения удаленного из-под светопрозрачного покрытия воздуха, поступившего туда ранее, а удалению воздуха из-под светопрозрачного покрытия препятствует само покрытие, поэтому свежий воздух не поступает.
2. Интенсивность поступления воздуха из замкнутой полости, установленной под слоем почвы, под светопрозрачное покрытие ограничивается высотой теплицы, т.к. величина гравитационного напора зависит от расстояния между верхним концом полых стержней, расположенных под светопрозрачным покрытием, и основанием подпочвенной зоны.
3. Температура под светопрозрачным покрытием в дневное время может превышать максимально допустимые значения, т.к. задачей данного изобретения является повышение эффективности использования подпочвенного тепла, и процесс воздухообмена будет низкой интенсивности.
4. Существует возможность нарушения в процессе эксплуатации целостности свода и стенок подземной замкнутой полости, т.к. не предусмотрены конструктивные элементы, препятствующие этому.
Техническим результатом заявленного изобретения является улучшение параметров микроклимата внутри теплицы, упрощение ее конструкции и повышение надежности.
Указанный технический результат достигается тем, что известная теплица, содержащая светопрозрачное покрытие и надпочвенную систему обогрева, выполненную в виде замкнутой подпочвенной зоны, соединенной с атмосферой и пространством под светопрозрачным покрытием, согласно изобретению снабжена вытяжной шахтой, расположенной в верхней части светопрозрачного покрытия со стороны торца, противоположного торцу, у которого расположен подающий патрубок, а подпочвенная зона выполнена в виде заглубленного в грунт воздуховода-теплообменника, представляющего собой изогнутый полый стержень со сплошными стенками, причем воздухозаборное устройство расположено со стороны одного торца теплицы, а подающий патрубок – с противоположного.
Новизна предложенного технического решения заключается в том, что совокупность существенных признаков, а именно: удаление воздуха из-под светопрозрачного покрытия через вытяжную шахту, расположенную в верхней части теплицы, а поступление воздуха – через воздуховод-теплообменник, представляющий собой полый стержень со сплошными стенками, заглубленный в грунт, позволяет получить новый технический результат. Несмотря на то, что конструкция вытяжной шахты, применяемой для удаления воздуха, более проста по сравнению с конструкциями, использующими форточки, для обеспечения требуемых параметров микроклимата внутри теплицы она все же требует дополнительного подогрева или охлаждения входящего воздуха, что в свою очередь влечет за собой дополнительные затраты. Подогрев или охлаждение свежего приточного воздуха за счет теплообмена между перемещаемым в воздуховоде-теплообменнике воздухом и грунтом через стенки воздуховода-теплообменника позволяет решить эту проблему без значительных затрат. Однако для работы этой системы необходимо движение воздуха в воздуховоде-теплообменнике, которое в свою очередь зависит от интенсивности удаления воздуха из-под светопрозрачного покрытия. Применение вытяжной шахты в совокупности с воздуховодом-теплообменником, использующим теплоаккумулирующие свойства грунта, позволяет повысить интенсивность удаления воздуха из-под светопрозрачного покрытия и производить дополнительную обработку входящего воздуха, что улучшает параметры микроклимата внутри теплицы, упрощает ее конструкцию и повышает надежность. Это доказывает, что техническое решение соответствует критерию «изобретательский уровень».
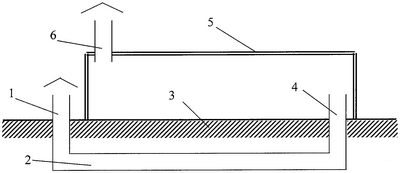
Теплица (см.чертеж) состоит из светопрозрачного покрытия 5, вытяжной шахты 6 и заглубленного в грунт 3 воздуховода-теплообменника 2, представляющего собой изогнутый полый стержень со сплошными стенками, один конец которого через воздухозаборное устройство 1 соединен с атмосферой, а другой конец через подающий патрубок 4 – с пространством под светопрозрачным покрытием 5. Воздухозаборное устройство 1 расположено с одного торца теплицы, а подающий патрубок 4 – с противоположного. Вытяжная шахта 6 расположена в верхней части светопрозрачного покрытия 5 в стороне, противоположной расположению подающего патрубка 4. Воздуховод-теплообменник 2 расположен ниже поверхности почвы в зоне постоянного действия положительной температуры, которая не ниже минимально допустимой для конкретного вида выращиваемых растений. Верхние концы подающего патрубка 4 и воздухозаборного устройства 1 могут располагаться относительно друг друга на любом уровне.
Теплица функционирует следующим образом. В период действия солнечной радиации температура окружающего воздуха ниже температуры под светопрозрачным покрытием 5, но выше температуры в воздуховоде-теплообменнике 2. Под действием разной плотности воздуха снаружи и внутри теплицы, вызванной разницей температур, происходит удаление воздуха из-под светопрозрачного покрытия 5 через вытяжную шахту 6. На замену удаленному воздуху через воздухозаборное устройство 1 в воздуховод-теплообменник 2 поступает наружный воздух. Проходя по подающему воздуховоду-теплообменнику 2, наружный воздух отдает часть своего тепла через стенки воздуховода в окружающий его массив грунта 3. Затем через подающий патрубок 4 он поступает непосредственно под светопрозрачное покрытие 5, где происходит его дальнейшее нагревание под действием солнечной радиации и последующее удаление.
В ночное время и при отсутствии солнечной радиации в дневное температура под светопрозрачным покрытием 5 стремится сравняться с температурой окружающего воздуха. Однако тепло, накопленное грунтом 3, нагревает воздух в воздуховоде-теплообменнике 2, и он под действием разности давлений поступает под светопрозрачное покрытие. В дальнейшем воздух под светопрозрачным покрытием 5 либо охлаждается и вытесняется через вытяжную шахту 6 более теплым воздухом, поступающим из системы подпочвенного теплообмена, либо, оставаясь более теплым и, следовательно, более легким, чем окружающий воздух, под действием гравитационного напора также удаляется через вытяжную шахту 6.
Экономическая эффективность теплицы обеспечивается:
1. Расширением диапазона температур наружного воздуха, в пределах которого температура внутри теплицы не будет выходить за рамки допустимой за счет дополнительной подготовки приточного воздуха.
2. Более интенсивным удалением воздуха из-под светопрозрачного покрытия особенно при малых перепадах температур за счет использования вытяжной шахты.
3. Снижением капитальных и эксплуатационных затрат и увеличением уровня надежности конструкции за счет более простой конструкции, обеспечивающей удаление воздуха из-под светопрозрачного покрытия.
Формула изобретения
Теплица, включающая светопрозрачное покрытие и надпочвенную систему обогрева, выполненную в виде замкнутой подпочвенной зоны, соединенной с атмосферой и пространством под светопрозрачным покрытием, отличающаяся тем, что она снабжена вытяжной шахтой, расположенной в верхней части светопрозрачного покрытия со стороны торца, противоположного торцу, у которого расположен подающий патрубок, а подпочвенная зона выполнена в виде заглубленного в грунт воздуховода-теплообменника, представляющего собой изогнутый полый стержень со сплошными стенками, причем воздухозаборное устройство расположено со стороны одного торца теплицы, а подающий патрубок с противоположного.
РИСУНКИ
MM4A – Досрочное прекращение действия патента СССР или патента Российской Федерации на изобретение из-за неуплаты в установленный срок пошлины за поддержание патента в силе
Дата прекращения действия патента: 22.02.2008
Извещение опубликовано: 27.09.2009 БИ: 27/2009
|
|