|
|
(21), (22) Заявка: 2003106407/11, 09.08.2001
(24) Дата начала отсчета срока действия патента:
09.08.2001
(30) Конвенционный приоритет:
10.08.2000 GB 0019538.8 01.02.2001 GB 0102520.4
(43) Дата публикации заявки: 10.07.2004
(46) Опубликовано: 10.08.2007
(56) Список документов, цитированных в отчете о поиске:
SU 1752584 А1, 07.08.1992. Селиванов И.И. Автомобили и транспортные гусеничные машины высокой проходимости. – М.: Наука, 1967, с.143-145. US 2266769 А, 23.12.1941. WO 0076794 А, 21.12.2000.
(85) Дата перевода заявки PCT на национальную фазу:
11.03.2003
(86) Заявка PCT:
GB 01/03576 (09.08.2001)
(87) Публикация PCT:
WO 02/12005 (14.02.2002)
Адрес для переписки:
103735, Москва, ул. Ильинка, 5/2, ООО “Союзпатент”, пат.пов. Л.С.Кишкиной
|
(72) Автор(ы):
ГИБС Алан Тимоти (GB)
(73) Патентообладатель(и):
ГИБС ТЕКНОЛОДЖИЗ ЛИМИТЕД (GB)
|
(54) ТРАНСМИССИЯ
(57) Реферат:
Изобретение относится к трансмиссии, в частности, для использования в транспортном средстве-амфибии. Трансмиссия содержит узел однорядного двигателя и коробки передач, обеспечивающей переключение скоростей. Двигатель смещен к задней части транспортного средства, а выход коробки передач обращен к передней части транспортного средства. Трансмиссия содержит средство отбора мощности для привода судового движительного агрегата, расположенного сзади двигателя, и раздаточную передачу, расположенную в линию за коробкой передач и предназначенную для приведения в движение первого приводного вала, передающего движение на задний дифференциал, для приведения в движение задних колес транспортного средства. Двигатель может быть расположен, по меньшей мере, частично перед задними колесами. Приведение в движение судового движительного агрегата обеспечивается с помощью раздаточной коробки. Достигается улучшение управляемости транспортного средства и увеличение свободного пространства для пассажиров. 2 н. и 11 з.п. ф-лы, 10 ил.
Изобретение относится к трансмиссии, в частности, для использования в транспортном средстве-амфибии, выполненном с возможностью движения по суше и воде, а более конкретно – к адаптации обычной автомобильной трансмиссии, имеющей однорядный двигатель с коробкой передач, обеспечивающей переключение скоростей, для привода как задних колес, так и судового движительного агрегата транспортного средства-амфибии. Изобретение также относится к транспортному средству-амфибии, имеющему такую трансмиссию.
В известной конструкции автомобильной трансмиссии для обычного наземного транспортного средства двигатель и коробка передач, обеспечивающая переключение скоростей, расположены в передней части транспортного средства и ориентированы вдоль продольной оси этого транспортного средства. Ведущий конец коробки передач обращен к задней части транспортного средства и соединен посредством приводного вала, известного также как карданный вал, к заднему дифференциалу для привода задних колес транспортного средства.
Также известно использование однорядного двигателя с коробкой передач, обеспечивающей переключение скоростей, для привода колес и судового движительного агрегата транспортного средства-амфибии. Например, в патенте США №4958584 (Уильямсон (Williamson)) описана конструкция трансмиссии, в которой двигатель и коробка передач расположены в задней части транспортного средства, а ведущий конец коробки передач обращен к передней части транспортного средства. Карданный вал обеспечивает привод от коробки передач к переднему дифференциалу для приведения в движение передних колес транспортного средства. Задние колеса этого транспортного средства не имеют привода. Судовой движительный агрегат расположен сзади двигателя и приводится в действие от распределительного конца коленчатого вала двигателя. Лучше всего рассмотреть эту конструкцию можно на фиг.5 из патента США №4958584.
По заявке, которая для вышеупомянутого патента США №4958584 является родовой, получен патент США №4838194 (Уильямсон). В этом патенте также описано транспортное средство-амфибия, имеющее конструкцию трансмиссии, в которой однорядный двигатель с коробкой передач оказываются расположенными в задней части транспортного средства, а ведущий конец коробки передач обращен к передней части транспортного средства. Передние колеса приводятся в движение валом от раздаточной коробки, которая также обеспечивает передачу движения к обращенному назад приводу судового движительного агрегата. Привод судового движительного агрегата имеет длинный карданный вал, идущий к гребному винту, причем их оба – вместе с рулем – можно поднимать для движения по дороге и опускать для движения по воде. Такая конструкция оставляет мало места в любой части транспортного средства для двигателя и коробки передач, обеспечивающей переключение скоростей, причем место для этих элементов конструкции в упомянутом патенте конкретно не указано.
Если двигатель и коробка передач расположены сзади заднего моста транспортного средства (как в случае частично продолжающей заявки, по которой получен патент США №4958584), то их приходится либо располагать над карданным валом, поднимая центр тяжести в ущерб управляемости транспортного средства на суше и на воде, либо устанавливать на одну сторону карданного вала, что приводит к неравномерному распределению массы и проблемам герметизации. Любой из этих вариантов потребовал бы установки несимметричной передачи в раздаточную коробку, что приводило бы к потерям мощности и возможным проблемам ШВНХ (шума, вибраций, неплавности хода). Следует также отметить, что длинный регулируемый по вертикали карданный вал мог бы создавать проблемы уплотнений на дне кузова транспортного средства, что могло бы привести к проникновению воды и проблемам коррозии в распределительной коробке. К тому же на основе рассматриваемого известного решения вряд ли можно разработать практичную схему транспортного средства-амфибии.
В Европейском патенте №0341009 (Роил (Royle)) приведен еще один пример транспортного средства-амфибии, в котором однорядный двигатель и коробка передач предусмотрены в задней части транспортного средства, а выход коробки передач обращен к передней части транспортного средства. В этой схеме коробка передач приводит в движение задние колеса транспортного средства с помощью приводного вала, тогда как судовой движительный агрегат, находящийся позади двигателя, приводится в действие от распределительного конца двигателя.
В вышеописанных известных конструкциях трансмиссий транспортных средств-амфибий имеются серьезные недостатки, которые особенно заметны в связи с рассматриваемыми ниже высокими требованиями, предъявляемыми к современному транспортному средству при движении по дороге.
Когда транспортное средство получает ускорение в направлении вперед, передняя часть транспортного средства склонна приподниматься вверх, реагируя на вращательное ускорение колес относительно транспортного средства. Это происходит безотносительно того, какой привод – на передние или на задние колеса – имеет транспортное средство, и может привести к потере сцепления между колесами и дорогой во время ускорения. Эта проблема усложняется в известных транспортных средствах-амфибиях, где двигатель расположен позади задних колес транспортного средства. Ее причиной является то, что масса двигателя, когда он расположен позади задних колес, увеличивает подъемную силу, в отличие от обычной конструкции трансмиссии с двигателем в передней части транспортного средства, где масса двигателя противодействовала бы подъемной силе. Следовательно, в известных конструкциях транспортных средств-амфибий передние колеса будут проявлять тенденцию к потере сцепления (с дорогой) при ускорении. На практике это вызывает излишнее прокручивание колес и излишний износ шин. Это представляет проблему в схемах Уильямсона, в соответствии с которыми транспортное средство имеет привод на передние колеса.
Кроме того, когда транспортное средство выходит из поворота, сцеплению между шиной и поверхностью дороги должны оказывать сопротивление и силы ускорения, и центробежные силы. Если совокупность этих сил достигает некоторой величины, соответствующей пределам сцепления или выходящей за эти пределы, возникнет состояние, в котором транспортное средство будет плохо слушаться руля. В обычных конструкциях трансмиссий наземных транспортных средств, упомянутых выше, масса двигателя сосредоточена в передней части транспортного средства, что уменьшает тенденцию к возникновению ситуации, в которой транспортное средство плохо слушается руля при повороте. Вместе с тем в известных конструкциях транспортных средств-амфибий, в которых масса двигателя сосредоточена позади задних колес, будет происходить уменьшение нагрузки в передней части на передние колеса, что увеличивает вероятность возникновения ситуации, в которой транспортное средство плохо слушается руля.
Также известно, что обычные наземные механические транспортные средства можно оснащать приводом на четыре колеса, располагая при этом однорядный двигатель с коробкой передач, обеспечивающей переключение скоростей, в передней части транспортного средства. В таких конструкциях выходной конец коробки передач обращен к задней части транспортного средства, а раздаточную коробку используют для избирательного привода в движение только задних колес или как передних колес, так и задних колес.
Автомобильную трансмиссию этого типа предложено использовать для привода транспортного средства-амфибии с использованием привода на задние колеса для приведения в действие судового движительного агрегата и привода на передние колеса для приведения в движение передних колес. Чтобы использовать трансмиссию таким образом, необходимо установить двигатель и коробку передач в обычном положении, т.е. сместить к передней части транспортного средства.
Ввиду того, что к транспортному средству-амфибии предъявляется требование, обуславливающее смещение массы назад при движении по воде, обнаружено, что размещение двигателя и коробки передач в обычном положении оказывается неудовлетворительным. Также обнаружено, что, в отличие от патентов Уильямсона, привод только на передние колеса транспортного средства-амфибии, осуществляемый от двигателя, расположенного посередине или сзади, оказывается неудовлетворительным, потому что масса двигателя не находится над ведущими колесами. Это ограничивает сцепление на влажных скользких дорогах, приводя к появлению проблем, связанных с остаточной водой, и может привести к прокручиванию колес и быстрому износу шин на дороге.
Задача настоящего изобретения состоит в том, чтобы разработать трансмиссию для транспортного средства-амфибии, в которой используется обычный однорядный двигатель с коробкой передач, обеспечивающей переключение скоростей, и в которой вышеупомянутые недостатки уменьшены или, по существу, преодолены.
В соответствии с первым аспектом настоящего изобретения, предложена трансмиссия для транспортного средства-амфибии, содержащая узел однорядного двигателя с коробкой передач, обеспечивающей переключение скоростей, адаптированный таким образом, что двигатель может быть смещен к задней части транспортного средства, а выход коробки передач обращен к передней части транспортного средства, при этом трансмиссия также содержит средство отбора мощности, адаптированное для привода судового движительного агрегата, расположенного сзади двигателя, отличающаяся тем, что предусмотрена раздаточная передача, ориентированная так же, как коробка передач, и адаптированная для приведения в движение задних колес транспортного средства с помощью первого приводного вала, который проходит рядом с двигателем таким образом, что двигатель может быть расположен, по меньшей мере, частично, перед задними колесами транспортного средства.
В конкретно предпочтительном варианте осуществления трансмиссия адаптирована таким образом, что двигатель установлен между задними колесами и передними колесами транспортного средства.
В одном предпочтительном конкретном варианте осуществления средство отбора мощности реализовано в виде раздаточной коробки, которая приводит в действие судовой движительный агрегат с помощью второго приводного вала, который проходит, по существу, параллельно двигателю и ниже него. В альтернативном варианте второй приводной вал может проходить, по существу, параллельно одной стороне двигателя и вдоль нее. В этой последней конструкции предпочтительным будет такое расположение первого вала, при котором он проходит вдоль стороны двигателя, противоположной той, вдоль которой проходит второй приводной вал.
В альтернативном предпочтительном конкретном варианте осуществления средство отбора мощности приводится в действие коленчатым валом двигателя на распределительном конце двигателя.
В еще одном альтернативном предпочтительном конкретном варианте осуществления средство отбора мощности содержит дополнительную раздаточную передачу, установленную на первый приводной вал и приводимую им в действие.
Судовой движительный агрегат может представлять собой водомет или судовой гребной винт.
В цепи привода от средства отбора мощности к судовому движительному агрегату может быть предусмотрено разъединительное устройство для обеспечения избирательного включения и отключения привода судового движительного агрегата.
Первый приводной вал, предпочтительно, адаптирован для привода задних колес транспортного средства через задний дифференциал. Если требуется привод на четыре колеса, раздаточная передача также может приводить в движение третий приводной вал, который адаптирован для привода передних колес транспортного средства через передний дифференциал.
В преимущественном конкретном варианте осуществления разъединительное устройство предусмотрено в цепи привода между коробкой передач и, по меньшей мере, одним из ведомых дорожных колес, так что можно избирательно включать или отключать привод, по меньшей мере, на одно ведомое колесо
Если разъединительное устройство предназначено для подключения привода к приводному валу колес, то это разъединительное устройство может включать в себя механизм с синхронизацией зубчатых пар, а также может быть объединено с карданным шарниром равных угловых скоростей
В соответствии со вторым аспектом изобретения предложено транспортное средство-амфибия, имеющее трансмиссию в соответствии с первым аспектом изобретения.
Теперь, в качестве примера, будет приведено описание нескольких конкретных вариантов осуществления со ссылками на чертежи, перечисленные ниже.
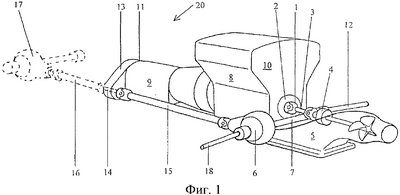
фиг.1 – перспективное изображение первого конкретного варианта осуществления трансмиссии для транспортного средства-амфибии в соответствии с изобретением, в котором средство отбора мощности соединено со шкивом коленчатого вала двигателя,
фиг.2 – вид в плане трансмиссии, изображенной на фиг.1,
фиг.3 – вид сбоку в частичном сечении измененной формы трансмиссии, изображенной на фиг.1 и 2,
фиг.4 – перспективное изображение второго конкретного варианта осуществления трансмиссии для транспортного средства-амфибии в соответствии с изобретением, в котором средство отбора мощности соединено с первым приводным валом, приводящим в действие задний дифференциал транспортного средства,
фиг.5 – вид в плане трансмиссии, изображенной на фиг.4,
фиг.6 – перспективное изображение третьего конкретного варианта осуществления трансмиссии для транспортного средства-амфибии в соответствии с изобретением,
фиг.7 – вид в плане трансмиссии, изображенной на фиг.6,
фиг.8 – вид сбоку в частичном сечении трансмиссии, изображенной на фиг.6,
фиг.9 – вид в плане четвертого конкретного варианта осуществления трансмиссии для транспортного средства-амфибии в соответствии с изобретением,
фиг.10 – вид сбоку в частичном сечении трансмиссии, изображенной на фиг.9.
На всех чертежах указаны одинаковые позиции для обозначения деталей, общих для разных конкретных вариантов осуществления.
На фиг.1-3 предназначенная для использования в транспортном средстве-амфибии трансмиссия обозначена как единое целое позицией 20 и включает в себя узел продольной трансмиссии, содержащий двигатель 8 и редуктор или коробку 9 передач, обеспечивающую переключение скоростей, ориентированные вдоль продольной оси А транспортного средства. Распределительный конец 10 двигателя смещен к задней части транспортного средства, а выход из коробки передач обращен к передней части транспортного средства.
В той же ориентации, что и выходной конец 11 коробки 9 передач, установлена раздаточная передача 13, которая передает движение от коробки 9 передач к промежуточному валу 14, ось которого смещена относительно продольной оси А двигателя 8 и коробки 9 передач. Промежуточный вал 14 соединен с первым приводным валом 15, который выполнен в форме карданного вала и проходит параллельно одной стороне двигателя 8 и вдоль нее для передачи движения на задний дифференциал 6. Задний дифференциал 6 обеспечивает передачу движения на правое (в соответствии с изображением на фиг.1) заднее колесо транспортного средства через передаточный вал 7 и дополнительный приводной вал 12, и дифференциал 6 одновременно приводит в движение левое (в соответствии с упомянутым изображением) заднее колесо через приводной вал 18.
В цепи привода можно предусмотреть разъединяющее устройство или разъединяющие устройства (не показаны) между коробкой передач и, по меньшей мере, одним из ведомых дорожных колес для избирательного отключения привода на эти колеса, когда транспортное средство работает в режиме движения по воде. Например, можно было бы предусмотреть разъединяющее устройство между промежуточным валом 14 и первым приводным валом 15. В альтернативном варианте можно было бы предусмотреть разъединяющее устройство или разъединяющие устройства между дифференциалом 6 и одним или обоими задними колесами. В этой последней конструкции единственное или каждое разъединительное устройство можно было бы предусмотреть между дифференциалом 6 и приводным валом 12, 18 колеса или между приводным валом 12, 18 колеса и его соответствующим задним колесом. Когда разъединительное устройство используют для отключения привода на приводной вал 12, 18 колеса, это разъединительное устройство может быть устройством типа, которое включает в себя механизм с синхронизацией зубчатых пар и объединено с карданным шарниром равных угловых скоростей. Такое разъединительное устройство описано в одновременно рассматриваемой международной заявке на патент №PCT/GB 01/03493, поданной Заявителем, содержание которой упоминается здесь для справок.
Средство отбора мощности для приведения в действие судового движительного агрегата 5, расположенного позади двигателя, приводится в действие коленчатым валом двигателя на распределительном конце двигателя. В рассматриваемом конкретном варианте осуществления средство отбора мощности выполнено в форме сцепки 1, которая установлена на шкив 2 коленчатого вала двигателя 8 и приводится в движение этим шкивом. Шкив 2 коленчатого вала находится на распределительном конце двигателя 8. Второй приводной вал 3 соединен одним концом со сцепкой 1, а другим концом – с разъединительным устройством 4, которое избирательно включает и отключает привод от второго приводного вала 3 к судовому движительному агрегату 5. Судовой движительный агрегат может представлять собой водомет или судовой гребной винт.
В тех ситуациях, когда на распределительном конце коленчатого вала не предусмотрен шкив, с этим распределительном концом коленчатого вала можно с помощью любых подходящих средств соединить средство отбора мощности. Например, средство отбора мощности можно было бы соединить со звездочкой, предусмотренной на распределительном конце коленчатого вала, или средство отбора мощности можно соединить непосредственно с распределительным концом коленчатого вала, если это является подходящим вариантом.
В показанной конструкции передаточный вал 7, который приводит в движение правое заднее колесо, расположен между двигателем 8 и судовым движительным агрегатом 5. Этот передаточный вал 7 может быть расположен ниже второго приводного вала 3, как показано на фиг.1 или 2, или выше второго приводного вала 3, как показано на фиг.3, в зависимости от схемы транспортного средства.
Когда необходима возможность привода на четыре колеса, промежуточный вал 14 можно соединить с третьим приводным валом 16, который приводит в движение передние колеса (не показаны) через передний дифференциал 17. В цепи привода можно предусмотреть разъединительное устройство или разъединительные устройства (не показаны) между промежуточным валом 14 и дифференциалом 17 или между дифференциалом 17 и любым или обоими передними колесами для обеспечения возможности избирательного включения и отключения привода на передние колеса.
Теперь со ссылками на фиг.4 и 5 будет описан второй конкретный вариант осуществления изобретения. Двигатель 8, коробка 9 передач и раздаточная передача 13 расположены так же, как в вышеописанном первом конкретном варианте осуществления, причем первый приводной вал 15 передает движение на задний дифференциал 6 от раздаточной передачи 13.
Однако в этом конкретном варианте осуществления средство отбора мощности представляет собой дополнительную раздаточную передачу 22, которая передает движение от первого приводного вала 15 ко второму приводному валу 3 для приведения в действие водомета 5. Разъединительное устройство 4 избирательно включает и отключает привод от второго приводного вала к водомету 5. Дополнительная раздаточная передача 22 передает движение от карданного вала посредством ремня или цепи, хотя передача движения возможна и посредством зубчатых колес.
В цепи привода от дифференциала 6 к задним колесам можно предусмотреть одно или более разъединительных устройств 24, 26 для обеспечения избирательного отключения привода на задние колеса, когда транспортное средство работает в режиме движения по воде. В конкретном предпочтительном варианте осуществления разъединительные устройства 24, 26 могут быть предусмотрены внутри карданных шарниров 28 и 30 одинаковых угловых скоростей, также установленных в цепи привода. Если очень нужно сэкономить свободное место внутри транспортного средства, то разъединительные устройства 24, 26 могут быть устройствами вышеописанного типа, которые включают в себя механизм с синхронизацией зубчатых пар и которые объединены с карданным шарниром одинаковых угловых скоростей. В такой конструкции отдельные карданные шарниры 28, 30 одинаковых угловых скоростей не потребуются. В качестве альтернативы установке разъединительных устройств в цепи привода между дифференциалом 6 и задними колесами можно ввести одно или более разъединительных устройств в сам дифференциал 6 или в раздаточную передачу 22 или установить эти устройства перед упомянутым дифференциалом или передачей.
Когда необходим привод на четыре колеса, его можно реализовать таким же образом, как описано выше в связи с первым конкретным вариантом осуществления.
Теперь, со ссылками на фиг.6-8, будет описан третий конкретный вариант осуществления изобретения. Трансмиссия 50 содержит двигатель 8 и коробку 9 передач, ориентированные вдоль продольной оси транспортного средства. Двигатель установлен в задней части транспортного средства, и при этом выходной конец 11 коробки 9 передач обращен к передней части транспортного средства. На выходной конец 11 коробки 9 передач установлена раздаточная передача 13, которая содержит ведущий зубчатый барабан 18, который соединен с возможностью привода с выходным валом 42 коробки 9 передач. Ведомая звездочка 18 соединена в приводном зацеплении посредством приводного ремня 32 с первой ведущей звездочкой 34, которая установлена на первый промежуточный вал 14, и второй ведущей звездочкой 36, установленной на второй промежуточный вал 37.
Первый промежуточный вал 14 соединен через разъединительное устройство 38 с первым приводным валом 15, которые передают движение на задний дифференциал 6. Задний дифференциал 6 с передаточным валом 7 расположен в задней части двигателя 8 для приведения в движение задних колес (не показаны) транспортного средства.
Второй промежуточный вал 37 соединен через разъединительное устройство 40 со вторым приводным валом 3. Второй приводной вал 3 проходит под двигателем 8 к его задней части для соединения с судовым движительным агрегатом 5, например водометом.
Как и в предыдущих конкретных вариантах осуществления, можно обеспечить возможность привода на четыре колеса путем соединения первого промежуточного вала 14 с третьим приводным валом 16 для приведения в движение передних колес через передний дифференциал 17. Как показано на чертежах, первый промежуточный вал соединен с третьим приводным валом 16 с помощью разъединительного устройства 41, так что можно избирательно включать и отключать привод на передние колеса.
Теперь, со ссылками на фиг.9 и 10, будет описан четвертый конкретный вариант осуществления изобретения. Четвертый конкретный вариант осуществления, по существу, идентичен третьему конкретному варианту осуществления, за исключением того, что второй приводной вал 3, который приводит в действие судовой движительный агрегат 5, расположен таким образом, что проходит вдоль одной стороны двигателя 8, а не под этим двигателем. В изображенном конкретном варианте осуществления второй приводной вал 3 проходит вдоль стороны двигателя, противоположной той, вдоль которой проходит первый приводной вал 15, у нижней части блока цилиндров, ниже ряда цилиндров. Эта конструкция позволяет располагать двигатель в транспортном средстве ниже, в результате чего опускается центр тяжести, что улучшает характеристики управляемости транспортного средства в воде и на суше.
В трансмиссии, соответствующей изобретению, где первый приводной вал приводится в движение от коробки передач через раздаточную коробку, ось первого приводного вала смещена относительно продольной оси двигателя 8 и коробки 9 передач. Поэтому возможно расположение двигателя и коробки передач непосредственно перед задними колесами и прохождение приводного вала 15 вдоль одной стороны двигателя для передачи движения на задний дифференциал 6 и задние колеса. Эта конструкция устраняет многие из проблем, связанных с известными схемами трансмиссий транспортных средств-амфибий, в которых однорядный двигатель с коробкой передач расположены позади задних колес. В случае, когда двигатель расположен непосредственно перед задними колесами, масса двигателя с коробкой передач способствует противодействию подъему передней части транспортного средства во время ускорения. Кроме того, по сравнению с известными конструкциями, центр тяжести транспортного средства смещается вперед по направлению к центру транспортного средства, что улучшает управляемость на дорогах и маневренность транспортного средства на суше. Вместе с тем, двигатель и коробка передач по-прежнему остаются смещенными к задней части транспортного средства, что обеспечивает более благоприятное распределение массы для движения этого транспортного средства по воде.
В альтернативных конкретных вариантах осуществления (не показаны) двигатель 8 можно устанавливать таким образом, что лишь часть этого двигателя окажется расположенной перед задними колесами. Это может принести выгоду за счет создания большего свободного пространства для пассажиров без размещения двигателя сзади заднего моста, как в известных конструкциях. Вместе с тем, будет выгодно, если весь двигатель окажется расположенным между передними и задними колесами, потому что тогда двигатель можно установить ниже в транспортном средстве. Это способствует опусканию центра тяжести транспортного средства, что облегчает управляемость транспортного средства, как описано выше.
Хотя изобретение описано в связи с конкретными вариантами осуществления, которые в настоящее время считаются наиболее практичными и предпочтительными, понятно, что изобретение не сводится к описанным конструкциям, а должно рассматриваться как охватывающее различные модификации и эквивалентные конструкции, находящиеся в рамках объема притязаний изобретения. Например, не является существенным тот факт, что передачу движения между средством отбора мощности и судовым движительным агрегатом можно включать посредством разъединительного устройства. Кроме того, первый приводной вал 15 можно было бы расположить таким образом, чтобы он проходил бы ниже двигателя 8, а не вдоль одной его стороны.
Формула изобретения
1. Трансмиссия для транспортного средства-амфибии, содержащая узел однорядного двигателя и коробки передач, обеспечивающей переключение скоростей, выход которой обращен к передней части транспортного средства, средство отбора мощности для привода судового движительного агрегата, расположенного сзади двигателя, смещенного к задней части транспортного средства, и раздаточную передачу, расположенную в линию за коробкой передач и предназначенную для приведения в движение первого приводного вала, передающего движение на задний дифференциал для приведения в движение задних колес транспортного средства, при этом двигатель может быть расположен, по меньшей мере частично, перед задними колесами, а приведение в движение судового движительного агрегата обеспечивается с помощью раздаточной коробки.
2. Трансмиссия по п.1, отличающаяся тем, что двигатель может быть расположен между задними колесами и передними колесами транспортного средства.
3. Трансмиссия по п.1 или 2, отличающаяся тем, что средство отбора мощности выполнено в виде раздаточной коробки для приведения в действие судового движительного агрегата с помощью второго приводного вала, который проходит, по существу, ниже двигателя.
4. Трансмиссия по п.1 или 2, отличающаяся тем, что средство отбора мощности выполнено в виде раздаточной коробки для приведения в действие судового движительного агрегата с помощью второго приводного вала, который проходит, по существу, параллельно одной стороне двигателя и вдоль нее.
5. Трансмиссия по п.4, отличающаяся тем, что первый приводной вал проходит вдоль стороны двигателя, противоположной той, вдоль которой проходит второй приводной вал.
6. Трансмиссия по п.1 или 2, отличающаяся тем, что средство отбора мощности содержит дополнительную раздаточную передачу, установленную на первый приводной вал и приводимую им в действие.
7. Трансмиссия по любому предыдущему пункту, отличающаяся тем, что судовой движительный агрегат представляет собой водомет или судовой гребной винт.
8. Трансмиссия по любому предыдущему пункту, отличающаяся тем, что в цепи привода от средства отбора мощности к судовому движительному агрегату предусмотрено разъединительное устройство для обеспечения избирательного включения и отключения привода судового движительного агрегата.
9. Трансмиссия по любому предыдущему пункту, отличающаяся тем, что первый приводной вал служит для привода задних колес транспортного средства через задний дифференциал.
10. Трансмиссия по любому предыдущему пункту, отличающаяся тем, что раздаточная передача также приводит в движение третий приводной вал для привода передних колес транспортного средства через передний дифференциал.
11. Трансмиссия по любому предыдущему пункту, отличающаяся тем, что в цепи привода между трансмиссией и, по меньшей мере, одним из ведомых дорожных колес предусмотрено разъединительное устройство для обеспечения избирательного включения и отключения привода, по меньшей мере, одного ведомого колеса.
12. Трансмиссия по п.11, отличающаяся тем, что, по меньшей мере, одно разъединительное устройство расположено с обеспечением возможности подключения привода к приводному валу колес, причем это разъединительное устройство включает в себя механизм с синхронизацией зубчатых пар и объединено с карданным шарниром равных угловых скоростей.
13. Транспортное средство-амфибия, отличающееся тем, что оно содержит трансмиссию по любому из пп.1-12.
Приоритет по пунктам:
10.08.2000 по пп.1-5, 7-11, 13;
01.02.2001 по п.6.
РИСУНКИ
MM4A – Досрочное прекращение действия патента СССР или патента Российской Федерации на изобретение из-за неуплаты в установленный срок пошлины за поддержание патента в силе
Дата прекращения действия патента: 10.08.2007
Извещение опубликовано: 27.10.2008 БИ: 30/2008
NF4A – Восстановление действия патента СССР или патента Российской Федерации на изобретение
Дата, с которой действие патента восстановлено: 27.10.2008
Извещение опубликовано: 27.10.2008 БИ: 30/2008
|
|