|
|
(21), (22) Заявка: 2005132196/12, 18.10.2005
(24) Дата начала отсчета срока действия патента:
18.10.2005
(46) Опубликовано: 20.07.2007
(56) Список документов, цитированных в отчете о поиске:
GB 1022545 А, 16.03.1966. JP 2003081255 А, 19.03.2003. JP 2002177163 А, 25.06.2002. RU 2180646 C1, 20.03.2002. RU 2261201 С2, 27.09.2005. DE 3843011 A1, 28.06.1990. US 2001032873 A1, 25.10.2001. GB 897355 A, 23.05.1962. WO 0026117 A1, 11.05.2000. US 2004124234 A1, 01.07.2004. JP 2003237769 А, 27.08.2003. ЕР 0340381 А2, 08.11.1989. JP 2000016461 А,
Адрес для переписки:
121165, Москва, а/я 15, ООО “ППФ-ЮСТИС”, пат.пов. Л.С.Пилишкиной, рег.№895
|
(72) Автор(ы):
Кондакова Екатерина Анатольевна (RU)
(73) Патентообладатель(и):
Кондакова Екатерина Анатольевна (RU)
|
(54) ПОТРЕБИТЕЛЬСКАЯ ТАРА ДЛЯ ПЕРЕНОСА КРУПНОГАБАРИТНЫХ ПИЩЕВЫХ ПРОДУКТОВ
(57) Реферат:
Изобретение относится к таре, предназначенной для ручной переноски преимущественно бахчевых культур. Складная тара состоит из предназначенных для крестообразного соединения друг с другом двух листовых заготовок. Каждая заготовка разделена линиями перегиба на участки: донышко, боковые стенки и краевые участки. На краевых участках первой заготовки выполнены прорезные ручки и фиксирующие выступы, которые предназначены для взаимодействия с образованными на краевых участках второй заготовки прорезями. Тара снабжена съемной опорой для переносимого продукта. Тара отличается надежностью, удобством в эксплуатации и легкостью. 6 з.п. ф-лы, 5 ил.
(56) (продолжение):
CLASS=”b560m”18.01.2000. RU 31231 U1, 27.07.2003. JP 2005059927 А, 10.03.2005. GB 1213133 А, 18.11.1970. GB 1473648 А, 18.05.1977.
Изобретение относится к таре (упаковке), полученной путем сгибания двух заготовок, и предназначенной для ручного переноса преимущественно бахчевых плодов (арбузов, дынь, тыкв и др.) или крупногабаритных фруктов, овощей и орехов (памело, ананасы, капуста, кокос и др.).
Известно большое количество различных по конструкции, в том числе складных, тар и упаковок (GB 1022545, JP 2003-081255).
Например, известна упаковка для сыпучих грузов, выполненная в виде складного пакета из эластичного материала за одно целое с прорезной ручкой (ЕР 0340381, кл. B65D 33/38, 1989).
Известные упаковки не предназначены для транспортировки крупногабаритных плодов.
В настоящее время для переноса таких плодов используют в основном полиэтиленовые пакеты, которые не отличаются надежностью и удобством в эксплуатации, т.к. пакеты рвутся, а их ручки врезаются в пальцы и ладони рук.
Задача изобретения состоит в обеспечении создания потребительской тары, предназначенной для крупногабаритных продуктов.
Технический результат состоит в обеспечении надежности и удобства переноса крупногабаритных тяжелых продуктов, например, из магазина в дом, со сведением к минимуму неблагоприятных воздействий на переносимый продукт. Кроме того, указанная тара должна быть легкой и не занимать много места в сложенном положении.
Вышеназванная задача и технический результат достигнуты в изобретении следующими признаками.
Складная потребительская тара, служащая для переноса крупногабаритных продуктов, выполнена за одно целое с ручкой и состоит из предназначенных для крестообразного соединения друг с другом двух вытянутых в продольном направлении складных листовых заготовок, каждая из которых разделена линиями перегиба на участки, образующие донышко и боковые стенки с краевыми участками. Краевые участки первой заготовки выполнены в виде прорезных ручек с фиксирующими выступами, предназначенными для взаимодействия с прорезями, образованными на краевых участках второй заготовки.
Тара снабжена съемной опорой для продукта, выполненной с возможностью ее установки на внутренней стороне донышка первой заготовки.
Опора тары согласно одному из вариантов ее выполнения состоит из двух разъемных пластинчатых элементов с встречно направленными прорезями, при этом каждый указанный элемент имеет форму прямоугольника с дугообразно вогнутой верхней длинной стороной, а прорезь выполнена в его центральной части вдоль боковых коротких сторон, причем на одном элементе прорезь выполнена со стороны дугообразного края, а на другом – с противоположного ему прямолинейного края.
Согласно другому варианту опора тары выполнена в виде ячейковой решетки, состоящей из нескольких разборных пластинчатых элементов с встречно направленными прорезями, при этом каждый указанный элемент имеет форму прямоугольника с дугообразно вогнутой верхней длинной стороной, а прорези выполнены вдоль его боковых коротких сторон, причем на одной части элементов прорези выполнены со стороны их дугообразных краев, а на другой части элементов – с противоположных дугообразным прямолинейных краев.
Прорезная ручка, образованная на одном из краевых участков первой заготовки, может быть выполнена парной, состоящей из двух симметричных относительно линии перегиба деталей.
По краям донышка первой заготовки выполнены неглубокие прямоугольные выемки, ширина которых соответствует ширине донышка второй заготовки.
Краевые участки второй заготовки имеют трапецеидальную форму, а образованные на них прорези выполнены в продольном направлении.
На боковые стенки обеих заготовок тары в поперечном направлении нанесены дополнительные линии перегиба.
Боковые стенки обеих заготовок могут иметь дугообразно вогнутый контур.
Предложенная конструкция складной тары надежна и удобна в эксплуатации, при этом она не оказывает давящего воздействия на продукт, и вместе с тем все детали тары в нерабочем положении могут быть легко и быстро сложены и поэтому не требуют большой площади складских помещений.
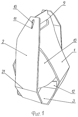
Изобретение поясняется чертежом, где на фиг.1 схематично изображена тара с размещенным в ней продуктом (вид в аксонометрии); на фиг.2 – развертка первой заготовки тары; на фиг.3 – развертка второй заготовки тары; на фиг.4 и 5 – элементы одного из вариантов выполнения съемной опоры.
Изображенная на фиг.1 тара состоит из двух вытянутых в продольном направлении и симметричных относительно продольной оси пластинчатых заготовок 1 и 2, каждая из которых разбита на несколько составляющих ее участков, таких как донышко 3 и 4, боковые стенки 5 и 6 и краевые участки 7 и 8 (фиг.2, 3). Краевые участки 7 первой заготовки выполнены в виде прорезных ручек 9. По боковым сторонам каждой ручки образованы фиксирующие выступы 10. Краевые участки 8 второй заготовки имеют трапецеидальную форму, и на них в продольном направлении образованы прорези 11, предназначенные для взаимодействия с выступами 10 первой заготовки в собранном положении упаковки.
В этом положении на внутреннюю сторону донышка упаковки устанавливают съемную опору 12, предназначенную для переносимого продукта 13 (фиг.1). Согласно одному из вариантов выполнения опора 12 представляет собой решетчатую конструкцию, состоящую из нескольких, например шести, разборных пластинчатых элементов, два из которых 14 и 15 схематично изображены на фиг.4 и 5.
Элементы 14 и 15 имеют прямоугольную форму с дугообразно вогнутой верхней стороной, предназначенной для контакта с переносимым продуктом, который, как правило, имеет округлую форму.
Во время сборки опоры, например, три из шести элементов 15 вставляются в оставшиеся три элемента 14 и фиксируются относительно друг друга с помощью соответствующих встречно направленных прорезей 16 и 17, образуя при этом ячейковую конструкцию, которая в нерабочем положении может быть сложена.
Для упрочения конструкции, а также облегчения переноса служит дополнительная ручка 18, образованная на одном из краевых участков заготовки 1 (фиг.2).
С двух противоположных краев донышка 3 заготовки 1 образованы неглубокие прямоугольные выемки 19 (фиг.2), предназначенные для размещения в них загнутых участков донышка 4 заготовки 2 (фиг.3), причем, так как обе заготовки имеют разную ширину (ширина заготовки 1 больше ширины заготовки 2), для обеспечения их плотного совмещения и фиксации в районе донышек 3 и 4 должно быть соблюдено условие, при котором ширина «а» выемки 19 должна соответствовать ширине «в» донышка 4, а длина «с» последнего должна соответствовать расстоянию «d» от одной до другой выемки 19 донышка 3 (фиг.2, 3).
Соответственно, длина боковых стенок 5 и 6 обеих заготовок выполняется одинаковой.
На заготовках 1 и 2, например, пунктирными или сплошными линиями отмечены в поперечном направлении линии перегибов 20 (фиг.2, 3), отделяющие друг от друга основные участки этих заготовок: донышко, боковые стенки, краевые участки, части парной ручки. Вместе с тем могут быть отмечены и дополнительные поперечные линии перегибов 21, делящие боковые стенки 5 и 6 на примерно равные по площади участки (в преимущественном варианте выполнения тары участки боковых стенок, прилегающие к донышкам обеих заготовок, имеют меньшую площадь). Сгиб по этим линиям, а также выполнение боковых стенок с дугообразно вогнутыми краями обеспечивают улучшение эксплуатационных свойств упаковки, так как благодаря этим признакам сводится к минимуму неблагоприятное давящее воздействие на плод и обеспечивается его вентиляция.
Место и направление выполнения прорезей 11 заготовки 2 должно обеспечивать удобство их соединения с фиксирующими выступами 10 заготовки 1 при сборке тары.
Собирают тару из разрозненных деталей и пользуются ею следующим образом. Вначале перегибают каждую заготовку по линиям 20 и разворачивают заготовки 1 и 2 в перпендикулярном направлении относительно друг друга, затем размещают донышко 4 заготовки 2 снаружи донышка 3 заготовки 1, после чего заводят его в выемки 19 и сгибают оба донышка по линиям перегиба (или действуют в обратной последовательности).
Затем на внутреннюю сторону донышка 3 устанавливают опору 12, а на ней размещают предназначенный к переносу продукт, например арбуз. После этого огибают арбуз с четырех сторон боковыми стенками обеих заготовок и, предварительно перегнув парную ручку по линии перегиба, надевают прорези 11 краевых участков 8 заготовки 2 на выступы 10 заготовки 1. Упаковка с арбузом готова к переносу.
Предложенная тара может выполняться из гофрированного упаковочного картона, обклеенного с обеих сторон листами бумаги или пленочного материала, или она может быть изготовлена из любого другого подходящего, например полимерного, материала. Снаружи и/или изнутри тара может выполняться красочной, содержать рекламную и другую информацию. Она легка, удобна и надежна в эксплуатации. Выполненная за одно целое с тарой ручка в значительной степени облегчает ручной перенос продуктов, вес которых часто достигает 10 и более килограммов.
Формула изобретения
1. Потребительская тара для переноса крупногабаритных пищевых продуктов, содержащая предназначенные для крестообразного соединения две складные листовые заготовки, каждая из которых разделена линиями перегиба на участки, образующие донышко и боковые стенки с краевыми участками, при этом краевые участки первой заготовки выполнены в виде прорезных ручек с фиксирующими выступами, предназначенными для взаимодействия с прорезями, образованными на краевых участках второй заготовки, причем прорезная ручка, образованная на одном из краевых участков первой заготовки, выполнена парной, состоящей из двух симметричных относительно линии перегиба деталей.
2. Тара по п.1, в которой с внутренней стороны донышка установлена съемная опора, состоящая из двух разъемных пластинчатых элементов с встречно направленными прорезями, при этом каждый элемент имеет форму прямоугольника с дугообразно вогнутой верхней длинной стороной, а прорезь выполнена в его центральной части вдоль боковых коротких сторон, причем на одном элементе прорезь выполнена со стороны дугообразного края, а на другом – с противоположного ему прямолинейного края.
3. Тара по п.1, в которой с внутренней стороны донышка установлена съемная опора, выполненная в виде ячейковой решетки, состоящей из нескольких разборных пластинчатых элементов с встречно направленными прорезями, при этом каждый элемент имеет форму прямоугольника с дугообразно вогнутой верхней длинной стороной, а прорези выполнены вдоль его боковых коротких сторон, причем на одной части элементов прорези выполнены со стороны их дугообразных краев, а на другой части элементов – с противоположных дугообразным прямолинейных краев.
4. Тара по п.1, в которой по краям донышка первой заготовки выполнены прямоугольные выемки, ширина которых соответствует ширине донышка второй заготовки.
5. Тара по п.1, в которой краевые участки второй заготовки имеют трапецеидальную форму, а образованные на них прорези выполнены в продольном направлении.
6. Тара по п.1, в которой на боковые стенки обеих заготовок в поперечном направлении нанесены дополнительные линии перегиба.
7. Тара по п.1, в которой боковые стенки обеих заготовок имеют дугообразно вогнутый контур.
РИСУНКИ
MM4A – Досрочное прекращение действия патента СССР или патента Российской Федерации на изобретение из-за неуплаты в установленный срок пошлины за поддержание патента в силе
Дата прекращения действия патента: 19.10.2007
Извещение опубликовано: 27.06.2009 БИ: 18/2009
|
|