|
(21), (22) Заявка: 2004111600/11, 27.03.2002
(24) Дата начала отсчета срока действия патента:
27.03.2002
(30) Конвенционный приоритет:
18.10.2001 (пп.1-8) IT MI01A002170
(43) Дата публикации заявки: 27.04.2005
(46) Опубликовано: 20.07.2007
(56) Список документов, цитированных в отчете о поиске:
US 3478989 А, 18.11.1969. US 4739957 А, 26.04.1988. RU 2144885 C1, 27.01.2000. Житомирский Г.И. Конструкция самолетов. – М.: Машиностроение, 1991, с.170-174, рис.5.17. PROGRESS IN AEROSPACE SCIENCES, 36, PAGES 193-279. ELSEVER SCIENCE, APRIL, 2000.
(85) Дата перевода заявки PCT на национальную фазу:
18.05.2004
(86) Заявка PCT:
EP 02/03683 (27.03.2002)
(87) Публикация PCT:
WO 03/035467 (01.05.2003)
Адрес для переписки:
191036, Санкт-Петербург, а/я 24, “НЕВИНПАТ”, пат.пов. А.В.Поликарпову
|
(72) Автор(ы):
ЛУККЕЗИНИ Массимо (IT), ЯИЯ Пьерклаудио (IT)
(73) Патентообладатель(и):
АЛЕНИЯ АЭРМАККИ С.п.А. (IT)
|
(54) КОМПОНОВКА САМОЛЕТА С УЛУЧШЕННЫМИ АЭРОДИНАМИЧЕСКИМИ ХАРАКТЕРИСТИКАМИ
(57) Реферат:
Изобретение относится к области авиации. Самолет (10) включает фюзеляж (12), соединенный с крыльями, воздухозаборник (46), носовую часть (52) фюзеляжа с переменным сечением и устройство (72) управления вихреобразованием, расположенное на наплыве передней кромки, имеющее форму, позволяющую сделать симметричным разрыв вихрей на указанном наплыве при средних/больших углах атаки, и взаимодействующее с хвостовыми частями (44 и 38), разнесенными так, что передняя кромка (36) вертикального киля (38) заходит за задние кромки каждого крыла для поддержания устойчивости в поперечном направлении. Отношение между площадью наплыва передней кромки и высотой устройства управления вихреобразованием равно 2,35 м и диапазон допусков изменяется от +100% до -50% от этого значения. Технический результат – повышение аэродинамических свойства при больших углах атаки. 7 з.п. ф-лы, 18 ил.
Изобретение относится к компоновке самолета с высокими аэродинамическими характеристиками. В частности, заявляемый самолет предлагается в качестве тренировочного самолета с высокими характеристиками и дополнительными рабочими возможностями.
Многие самолеты должны легко управляться и должны иметь специфические динамические характеристики в соответствии с теми задачами, которые нужно выполнять.
Типичные примеры указанных самолетов включают легкие самолеты для высшего пилотажа, тренировочные самолеты и самолеты для воздушного боя.
Эти самолеты часто должны летать при большом угле атаки (угол между самолетом и направлением скорости воздушной струи в данный момент времени).
Легко понять, что при таких условиях полета самолет должен быть очень устойчивым и легко управляться пилотом, чтобы поддерживать безопасное положение во время полета.
Эта устойчивость достигается за счет использования специального автоматического оборудования, способного создавать силы и моменты для противодействия нежелательным положениям при полете.
В то время как устойчивость самолета относительно оси тангажа может управляться с помощью оптимизации статического запаса и времени удвоения амплитуды, присутствие неустойчивости в поперечном направлении (по осям бортового крена и рыскания) при больших углах атаки делает управление трудным даже при использовании высокоразвитых систем управления полетом.
Поэтому необходимо максимально увеличить устойчивость самолета в поперечном направлении вплоть до больших углов атаки, чтобы обеспечить управление/маневренность и избежать отклонений от заданных параметров полета и возникновения штопора.
Обычно и, в частности, в последнее время делались попытки простого изменения аэродинамической формы фюзеляжа и других частей самолета. До настоящего времени эти попытки не привели к успешным результатам.
В патенте США №3478989, кл. В64С 3/54, 9/36, 18.11.1969 описана компоновка самолета с улучшенными аэродинамическими характеристиками, которые позволяют при средних/больших углах атаки поддерживать продольную устойчивость самолета, включающего фюзеляж, соединенный с крыльями, по меньшей мере один воздухозаборник, носовую часть фюзеляжа с переменным сечением и устройство управления вихреобразованием, расположенное на передней кромке крыла и взаимодействующее с хвостовыми частями, разнесенными так, что передняя кромка вертикального киля заходит за задние кромки каждого крыла для поддержания устойчивости в переднем направлении. При такой компоновке также присутствует неустойчивость в поперечном направлении при больших углах атаки.
Поэтому, в рамках требований, перечисленных выше, одна из целей этого изобретения состоит в том, чтобы избежать упомянутых проблем и, в частности, проблемы, относящейся к компоновке самолета с улучшенными аэродинамическими характеристиками, способной оптимизировать поведение самолета, особенно во время полетов при большом угле атаки.
Другая цель состоит в том, чтобы представить компоновку самолета с улучшенными аэродинамическими характеристиками, способную уменьшить ударные эффекты, типичные для малого относительного удлинения крыла с тонким профилем и переменной выпуклостью профиля крыла.
Еще одна цель состоит в том, чтобы осуществить компоновку самолета с высокими аэродинамическими характеристиками, способную успешно избежать потери устойчивости в поперечном направлении и отрицательные эффекты, создаваемые струей от двигателя вблизи борта фюзеляжа и горизонтальной части хвостового оперения, поскольку это касается лобового сопротивления, устойчивости и продольного управления.
Дополнительная цель состоит в том, чтобы создать компоновку самолета с улучшенными аэродинамическими характеристиками, способную предотвращать штопор, оптимизируя, в общем, поведение самолета при больших углах атаки.
Этим и другим целям удовлетворяет компоновка самолета с улучшенными аэродинамическими характеристиками согласно п.1 формулы изобретения, на которую авторы ссылаются.
Заявляемый самолет выгодно использовать, в частности, как тренировочный, с высокими характеристиками и дополнительными рабочими возможностями.
Компоновка охватывает “формулу” с двумя двигателями и характеризуется присутствием ряда особых деталей конструкции.
Двухместная кабина (тандем) с взаимосвязанными средствами управления полетом соединена с носовой частью, имеющей по существу круглое и переменное сечение, характеризующееся низким относительным удлинением, и оптимизированной для полетов с большими углами атаки. Здесь легко может быть установлен радар для боевого варианта самолета.
Форма носовой части и ее размеры оптимизированы, чтобы уменьшить вредное влияние вихреобразования на аэродинамические характеристики при средних/больших углах атаки; указанные характеристики позволяют уменьшить курсовую асимметрию при больших углах атаки, типичную для носовой части с круглым или эллиптическим сечением.
Кроме того, профиль крыла отличается от стандартных профилей крыла, создавая единую систему, способную минимизировать ударные эффекты, типичные для низкого относительного удлинения крыла с тонким профилем и переменной выпуклостью.
Аэродинамическая конструкция включает также устройство управления вихреобразованием на наплыве передней кромки (LEX), размеры которого позволяют сделать симметричным разрыв вихрей на LEX при средних/больших углах атаки, так как симметричный разрыв вихрей позволяет поддерживать устойчивость в поперечном направлении и управление самолетом при средних/больших углах атаки.
Предлагаемый тренировочный самолет имеет, по меньшей мере, один воздухозаборник двигателя, способный обеспечить характеристики и соответствующую газодинамическую границу раздела с двигателем; в конструкции не предусмотрено объединения типичного отражателя на верхней кромке воздухозаборника с LEX.
Наконец, расположение горизонтального оперения с выносом позволяет уменьшить аэродинамическое сопротивление, создаваемое хвостовой частью фюзеляжа, оптимизировать поведение самолета в штопоре и улучшить аэродинамическую конструкцию самолета для маневров при больших углах атаки.
Дополнительные цели и преимущества этого изобретения станут ясными из следующего описания и из приложенных чертежей, приведенных в качестве примера, но не ограничивающих объема изобретение, из которых:
фиг.1 является видом сбоку предлагаемого самолета, в частности тренировочного самолета;
фиг.2 является видом сверху предлагаемого самолета, в частности тренировочного самолета;
фиг.3 является видом снизу предлагаемого самолета, в частности тренировочного самолета;
фиг.4 является видом спереди предлагаемого самолета, в частности тренировочного самолета;
фиг.5 является видом сзади предлагаемого самолета, в частности тренировочного самолета;
фиг.6 является сечением по линии VI-VI на фиг.2;
фиг.7 является частичным и увеличенным видом детали компоновки предлагаемого самолета;
фиг.8 является сечением по линии VIII-VIII на фиг.7;
фиг.9 является сечением по линии IX-IX на фиг.7;
фиг.10 является сечением по линии Х-Х на фиг.7;
фиг.11 является сечением по линии XI-XI на фиг.7;
фиг.12 является сечением по линии XII-XII на фиг.7;
фиг.13 является сечением по линии XIII-XIII на фиг.7;
фиг.14 является сечением по линии XIV-XIV на фиг.7;
фиг.15 является сечением по линии XV-XV на фиг.7;
фиг.16 является сечением по линии XVI-XVI на фиг.7;
фиг.17 является сечением по линии XVII-XVII на фиг.7;
фиг.18 является увеличенным изометрическим видом детали компоновки предлагаемого самолета.
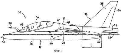
На чертежах предлагаемый самолет, в частности тренировочный самолет, имеющий компоновку с улучшенными аэродинамическими характеристиками, в целом обозначен позицией 10.
Самолет 10 включает фюзеляж 12, имеющий верхнюю стенку 14 и нижнюю стенку 16, и два крыла, соответственно, правое крыло 18 и левое крыло 20, прикрепленные к фюзеляжу 12.
Правое крыло 18 имеет концевую кромку 22, а левое крыло 20 – концевую кромку 24.
Самолет 10 имеет также руль 34 направления, прикрепленный к килю 38, и горизонтальный стабилизатор 44, имеющий правый горизонтальный стабилизатор 26, левый горизонтальный стабилизатор 28 и соответствующие концевые кромки 30, 32.
В предпочтительных или осуществимых, но не ограничивающих объем правовой защиты вариантах тип компоновки, как уже упоминалось выше, – формула с двумя двигателями и два воздухозаборника 46 для двигателей 48 с соответствующими соплами 60 двигателей.
Наконец, в области 52 носовой части фюзеляжа, в которой для боевой версии самолета 10 может быть встроен радар, установлен предназначенный для двух сидящих друг за другом пилотов кокпит 54 со связанными между собой средствами управления полетом, защищенный козырьком 62. Может быть предусмотрен зонд 58 для выполнения дозаправки самолета 10 топливом в полете.
На фиг.2 и 3 можно видеть, что каждое крыло 18, 20 самолета 10 имеет наружные элероны 56 и двухщелевые закрылки 64 для взлета и посадки, встроенные в заднюю кромку 70 каждого крыла 18, 20, и другие устройства для оптимизации выпуклости профиля крыла (свеса передней кромки) 66, встроенные в переднюю кромку 68 крыла. Их профиль имеет форму, следующую специальной геометрии, на основе общей аэродинамической конструкции, упомянутой в этом описании.
В частности, самолет 10 имеет следующие технические характеристики, направленные на получение высокого аэродинамического качества и устойчивости полета.
Прежде всего, аэродинамическая конструкция характеризуется наличием LVC (“LEX Vortex Controller”) – устройства для управления вихрями на LEX (“Leading Edge Extension” – наплыве передней кромки) при средних/больших углах атаки (позиция 72 на фиг.1).
LEX с готической платформой, равной 6.4% от общей условной площади крыла (как в данном изобретении), позволяет создавать подъем вихрей при больших углах атаки, и, кроме того, конструкция LEX дополнительно улучшается при встраивании LVC (“LEX Vortex Controller” – устройства для управления вихрями на LEX) на его концевой кромке, чтобы обеспечить симметричный разрыв вихрей при больших углах атаки для положений бокового скольжения и предотвратить потерю устойчивости в поперечном направлении.
Размер устройства 72 управления вихрями на LEX зависит от размера LEX (наплыва передней кромки крыла) и, в любом случае, чем больше LEX, тем выше должен быть LVC; допуск может быть определен отношением между площадью LEX и высотой соответствующего LVC. Расчетное значение этого отношения равно 2,35 метра, и подходящий диапазон допусков изменяется от +100% до -50% от расчетного значения.
Форма носовой части 52 фюзеляжа самолета 10 и ее размеры еще более оптимизированы, чтобы уменьшить вредное воздействие вихрей на аэродинамические характеристики самолета 10 при средних/больших углах атаки; указанные характеристики позволяют также уменьшить курсовую асимметрию при больших углах атаки, типичную для носовой части со стандартными круглыми или эллиптическими сечениями.
Носовая часть 52 самолета 10 по данному изобретению имеет ряд сечений носовой части с различной геометрией, начиная от вершины 74 до края носовой части, сливающегося с вершиной LEX.
На фиг.8-17 представлен примерный и предпочтительный, но не ограничивающий объема правовой защиты, характер геометрической формы и последовательности сечений с разной геометрией между вершиной 74 и сечением 76, расположенным приблизительно в начале двухместной кабины 54, откуда можно видеть, что из приблизительно круглого сечения с низким отношением высоты профиля к его ширине (фиг.8-11) получается сечение, по форме напоминающее сечение позвоночника (фиг.12-17).
Из чертежей виден сдвиг носовой части 52 от продольной оси К, от вершины 74 до расчетного сечения, представленного на фиг.17. В частности, согласно предпочтительному варианту изобретения, соотношение между длиной носовой части 52, начиная от вершины 74, до сечения по линии XVII-XVII (координата L) и средним между длинами А и В по двум осям сечения (сечения, представленного на фиг.17) имеет значение 1,873, с допуском, равным ±10%.
Структурная особенность и ее влияние на условия полета вытекают из комбинации упомянутого выше параметра (плюс или минус допуск, если таковой имеется) и последовательности сечений носовой части 52, от вершины 74 самолета 10 до расчетного сечения по линии XVII-XVII.
На фиг.18 также подробно показан обозначенный позицией 46 воздухозаборник двигателя, который вносит вклад в обеспечение характеристик самолета 10 прежде всего в том, что касается газодинамической границы раздела с соответствующим реактивным двигателем.
Воздухозаборник 46 имеет переменный радиус передней кромки, оптимизированный в нижней части, чтобы уменьшить искажение лобового потока двигателя при больших углах атаки, и в боковой части, чтобы уменьшить околозвуковое сопротивление, обусловленное вытеканием газа.
В частности, средний радиус 76А передней кромки внутренней губы равен 7 мм, в то время как средний радиус 78 передней кромки нижней губы равен 17,5 мм, и средний радиус для наружной губы 80 равен 14 мм, так что площадь захвата воздухозаборника составляет около 0,322 м2, площадь критического сечения воздухозаборника составляет около 0,257 м2, и площадь фронтальной поверхности двигателя составляет около 0,273 м2 (эти значения относятся к одному воздухозаборнику).
Воздухозаборник 46 не имеет отклоняющей перегородки сверху каждой стороны воздухозаборника и объединен с LEX благодаря специальному соотношению между длиной LEX и формой; LEX эффективно действует как щиток при больших углах атаки.
В воздухозаборнике может быть также предусмотрено наличие двух дополнительных впускных заслонок (не показаны на чертежах), расположенных на верхнем узле присоединения крыльев к фюзеляжу, между крыльями 18, 20 и фюзеляжем 12, которые благодаря предварительно нагруженным пружинам, встроенным в шарниры впускных заслонок, открываются, когда давление в воздушном канале меньше, чем давление на верхнем узле присоединения крыла к фюзеляжу.
Эти впускные заслонки предназначены для того, чтобы уменьшить, когда они открыты, местные углы атаки на губах воздухозаборника 46 при больших углах атаки, уменьшая массовый расход воздуха, проходящего через воздухозаборник 46.
Одним из свойств, которые обеспечивают высокие характеристики, устойчивость и аэродинамическую схему самолета 10, является также разнесение частей 44 и 38 хвостового оперения. Они позволяют уменьшить аэродинамическое сопротивление, создаваемое хвостовой частью фюзеляжа, чтобы оптимизировать поведение самолета 10 в штопоре и улучшить в целом его аэродинамическую конструкцию при полетах с большими углами атаки.
Вертикальный киль с трапецеидальной платформой включает руль 34 и соединен с крылом. Это значит, что передняя кромка руля, показанная как позиция 36 на фиг.1, заходит за задние кромки 70 каждого крыла 18, 20, чтобы позволить вывод из штопора и оптимизировать поведение самолета 10 при больших углах атаки.
Горизонтальный хвост с трапецеидальной платформой приводится в движение двумя независимыми приводами, которые допускают его симметричное и асимметричное отклонение. Горизонтальный хвост имеет шарнирную ось, обозначенную позицией 86 на фиг.2, которая повернута направо и налево примерно на 7,5° от поперечной оси 88 для того, чтобы оптимизировать шарнирные моменты и моменты инерции.
Разнесенное хвостовое оперение может также характеризоваться допуском отношения между отрезком С, показанным на фиг.1 и определенным как расстояние между вершиной корневой хорды вертикального киля и вершиной корневой хорды 44 горизонтальной части хвостового оперения, и плечом хвостового оперения, равным 4181 мм. Отсюда следует, что расчетное отношение, приведенное выше, равно 1932/4181=0,462, с допуском, равным 10%.
К тому же, учитывая характеристики крыла малого относительного удлинения, имеющего тонкий аэродинамический профиль и переменную выпуклость, профиль крыла модифицирован и оптимизирован по сравнению с традиционным тренировочным самолетом для того, чтобы уменьшить “ударный” эффект.
В данном изобретении, напротив, используется крыло 18, 20 с трапецеидальной платформой и средним относительным удлинением (AR=4), характеризующееся присутствием зубца пилы (показанного как S на фиг.2) на 67,5% общего размаха крыла. Изменение по сравнению со стандартными крыльями прежде всего относится к радиусу передней кромки, обозначенному R на фиг.6, которая была круглой (в прежних конструкциях), а теперь стала треугольной, чтобы оптимизировать положение точки застоя в присутствии передней кромки 68 и “свеса передней кромки” 66, который отклоняется при средних углах атаки.
Как наглядно видно из фиг.6, которая показывает увеличенное сечение по линии VI-VI на фиг.2, каждое крыло 18, 20 имеет профиль переменной выпуклости как вдоль передней кромки 66 (“свес передней кромки”), так и вдоль задней кромки 70 вблизи элеронов 56. Элероны используются только в околозвуковом режиме, чтобы получить уменьшение выпуклости крыла с целью уменьшения эффектов сжимаемости.
В количественном отношении расчетная точка растяжения хорды передней кромки 68 в процентах составляет 0,36% с допуском между +0.5% и -0.2% от номинального значения, в то время как расчетная точка общего размаха крыла, к которому относится растяжение хорды, по сравнению со стандартными решениями составляет 8,2% с допуском +10% и -5% от номинального значения.
Другие особенности самолета 10 включают фюзеляж 12, у которого в хвостовой части 16 предусмотрено объединение сопел двигателя и присутствие хвоста фюзеляжа, обозначенного позицией 90 на фиг.3.
Кроме того, область вблизи сопел двигателей оптимизирована, чтобы уменьшить отрицательные эффекты в отношении сопротивления и продольной устойчивости/управления, создаваемые струей двигателя возле стенки 12 фюзеляжа и горизонтального хвостового оперения 44.
Самолет 10 имеет трехколесное шасси, включающее носовое шасси и основное шасси. Носовое шасси выполнено в виде стойки с четырьмя дверцами, закрывающими нишу, и с втягиванием ее с задней стороны.
Втягивание основного шасси осуществляется с передней стороны, чтобы позволить установку грузов под фюзеляжем.
В самолете 10 по данному изобретению установлена автоматическая цифровая с четырехкратной избыточностью система управления полетом (“управление по проводам”), которая позволяет оптимизировать работу и летные качества, система позволяет улучшить безопасность полета, автоматически ограничивая режимы полета, которые могли бы быть неудобны пилоту или могли привести к потере управления (“неосторожное управление”).
Из приведенного выше описания отчетливо видны особенности компоновки предлагаемого самолета с улучшенными аэродинамическими характеристиками, а также его преимущества.
Ясно также, что в конструкции самолета, о котором идет речь, могут быть применены несколько других модификаций, не выходящих за пределы новых признаков, включенных в общую концепцию изобретения. Ясно также, что при использовании изобретения материалы, формы и размеры вышеупомянутых деталей могут изменяться в соответствии с предъявляемыми требованиями, и одни детали могут быть заменены другими деталями, имеющими такие же технические характеристики.
Формула изобретения
1. Компоновка самолета (10) с улучшенными аэродинамическими характеристиками, которые позволяют при средних/больших углах атаки поддерживать продольную устойчивость самолета (10), включающего фюзеляж (12), соединенный с крыльями (18, 20), по меньшей мере один воздухозаборник (46), носовую часть (52) фюзеляжа с переменным сечением и устройство (72) управления вихреобразованием, расположенное на наплыве передней кромки (LEX), имеющее форму, позволяющую сделать симметричным разрыв вихрей на LEX при средних/больших углах атаки, и взаимодействующее с хвостовыми частями (44 и 38), разнесенными так, что передняя кромка (36) вертикального киля (38) заходит за задние кромки (70) каждого крыла (18, 20) для поддержания устойчивости в поперечном направлении, причем отношение между площадью LEX и высотой соответствующего устройства управления вихреобразованием равно 2,35 м и диапазон допусков изменяется от +100 до -50% от этого значения.
2. Компоновка самолета (10) по п.1, отличающаяся тем, что указанная носовая часть (52) фюзеляжа, имеющая малое относительное удлинение, имеет профиль с геометрией, изменяющейся начиная от вершины (74) и до кромки, соединяющей носовую часть (52) с вершиной LEX, причем начиная от вершины (74) указанный профиль имеет приблизительно круглое сечение и затем, у вершины LEX, сечение, напоминающее сечение позвоночника.
3. Компоновка самолета (10) по п.1, отличающаяся тем, что разнесенные хвостовые части (44 и 38) получены соединением вертикального киля, имеющего трапецеидальную платформу, и крыльев (18, 20), и имеют передние кромки (36), заходящие за задние кромки (70) каждого крыла (18, 20) для того, чтобы оптимизировать поведение самолета (10) при больших углах атаки.
4. Компоновка самолета (10) по п.3, отличающаяся тем, что такое разнесение хвостового оперения получено посредством горизонтального стабилизатора (44) с трапецеидальной платформой, выполненного с возможностью симметричного и асимметричного отклонения и имеющего шарнирную ось (86), которая отклонена от поперечной оси (88) самолета (10) для того, чтобы оптимизировать шарнирные моменты и моменты инерции.
5. Компоновка самолета (10) по п.1, отличающаяся тем, что воздухозаборник (46) выполнен без отклоняющей перегородки на верхней губе.
6. Компоновка самолета (10) по п.1, отличающаяся тем, что воздухозаборник (46) имеет средний радиус (76А) передней кромки внутренней губы, равный 7 мм, а средний радиус (78) передней кромки нижней губы равен 17,5 мм и средний радиус (80) наружной губы равен 14 мм, вследствие чего площадь захвата воздухозаборника (46) составляет около 0,322 м2, площадь критического сечения воздухозаборника (46) составляет около 0,257 м2 и площадь фронтальной поверхности двигателя составляет около 0,273 м2.
7. Компоновка самолета (10) по п.1, отличающаяся тем, что каждое крыло (18, 20) самолета (10) имеет трапецеидальную платформу и по меньшей мере одну область (8) в виде зубца пилы в по меньшей мере одной части размаха крыла, а также имеет переднюю кромку (68) радиуса (R), выполненную с треугольным профилем.
8. Компоновка самолета (10) по п.1, отличающаяся тем, что каждое крыло (18, 20) самолета имеет профиль с переменной выпуклостью на передней кромке (66) и задней кромке (70) для оптимизации профиля выпуклости, улучшающего эффекты сжимаемости.
РИСУНКИ
|