|
|
(21), (22) Заявка: 2005127724/11, 05.09.2005
(24) Дата начала отсчета срока действия патента:
05.09.2005
(43) Дата публикации заявки: 10.03.2007
(46) Опубликовано: 20.07.2007
(56) Список документов, цитированных в отчете о поиске:
SU 202740 A, 01.12.1967. SU 1614831 A2, 23.12.1990. US 4596298 A, 24.06.1984.
Адрес для переписки:
622051, Свердловская обл., г. Нижний Тагил, Восточное ш., 38, ФГУП “УКБТМ”
|
(72) Автор(ы):
Вишня Андрей Валерьевич (RU), Домнин Владимир Борисович (RU), Дубовицкий Николай Иванович (RU), Ильченко Иван Алексеевич (RU), Тютюгин Геннадий Федорович (RU)
(73) Патентообладатель(и):
Федеральное государственное унитарное предприятие “Уральское конструкторское бюро транспортного машиностроения” (RU)
|
(54) ПРИВОД УПРАВЛЕНИЯ ПОВОРОТОМ ГУСЕНИЧНОЙ МАШИНЫ С БОРТОВЫМИ КОРОБКАМИ ПЕРЕДАЧ
(57) Реферат:
Изобретение относится к области машиностроения, в частности к гусеничным машинам. Привод управления поворотом гусеничной машины с бортовыми коробками передач содержит механизм управления поворотом, два шарнирно-рычажных привода, каждый из которых включает передний поперечный валик, продольную составную тягу с кулаком и кормовой поперечный валик, связанный тягой с рычагом механизма распределения бортовой коробки передач. Механизм управления поворотом выполнен в виде двух параллельно соединенных между собой штурвалом, имеющим в основании оппозитно расположенные дугообразные пазы, управляющих валов, шарнирно закрепленных посредством механизма их угловой фиксации в различных положениях, и двух подшипниковых опор на наклонном листе корпуса гусеничной машины. Каждый управляющий вал связан с соответствующим передним поперечным валиком шарнирно-рычажной системой и выполнен с дугообразной шейкой, предназначенной для взаимодействия с соответствующим пазом штурвала. Штурвал выполнен с возможностью поочередного углового перемещения с одним из управляющих валов с одновременной фиксацией другого управляющего вала в исходном положении. Достигается создание привода с одним органом управления поворотом гусеничной машины с бортовыми коробками передач, каждая из которых имеет свой привод управления. 1 з.п. ф-лы, 3 ил.
Изобретение относится к области машиностроения и может быть использовано при производстве гусеничных машин, имеющих бортовые коробки передач.
Известен привод управления поворотом танка Т-72А [Танк Т-72А. Техническое описание танка и инструкция по эксплуатации. Часть 2. Книга 2. Москва, Военное издательство, 1989, стр.424-426], выбранный в качестве прототипа заявленного изобретения как наиболее близкий ему по совокупности существенных признаков, размещенный в корпусе гусеничной машины с бортовыми коробками передач и содержащий механизм управления поворотом, два шарнирно-рычажных привода управления поворотом, каждый из которых включает передний поперечный валик, продольную составную тягу с кулаком и кормовой поперечный валик, связанный тягой с рычагом механизма распределения бортовой коробки передач.
Недостатком известного устройства является невозможность управления машиной одной рукой, совмещения операций по управлению поворотом с другими операциями, а также повышенная утомляемость водителя.
Задачей настоящего изобретения является создание привода с одним органом управления поворотом гусеничной машины с бортовыми коробками передач, каждая из которых имеет свой привод управления.
Технический результат достигается тем, что в приводе управления поворотом гусеничной машины с бортовыми коробками передач, содержащем механизм управления поворотом, два шарнирно-рычажных привода, каждый из которых включает передний поперечный валик, продольную составную тягу с кулаком и кормовой поперечный валик, связанный тягой с рычагом механизма распределения бортовой коробки передач, механизм управления поворотом выполнен в виде двух параллельно соединенных между собой штурвалом, имеющим в основании оппозитно расположенные дугообразные пазы, управляющих валов, шарнирно закрепленных посредством механизма их угловой фиксации в различных положениях и двух подшипниковых опор на наклонном листе корпуса гусеничной машины, причем каждый управляющий вал связан с соответствующим передним поперечным валиком шарнирно-рычажной системой и выполнен с дугообразной шейкой, предназначенной для взаимодействия с соответствующим пазом штурвала, при этом штурвал выполнен с возможностью поочередного углового перемещения с одним из управляющих валов с одновременной фиксацией другого управляющего вала в исходном положении.
Механизм угловой фиксации выполнен шарнирно-рычажным.
Заявленные технические признаки существенны, так как они влияют на достигаемый технический результат.
При изучении других технических решений в данной области техники признаки отличающие заявленное устройство, не были выявлены. Это позволяет сделать вывод о том, что заявленное устройство обладает новизной и не следует явным образом из существующего уровня техники.
Изобретение может быть применено при производстве гусеничных машин с бортовыми коробками передач.
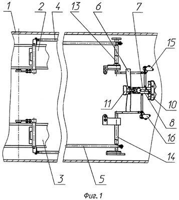
Сущность изобретения поясняется чертежами, где на фиг.1 изображен продольный разрез гусеничной машины с бортовыми коробками передач; на фиг.2 изображена установка штурвала на корпусе гусеничной машины; на фиг.3 изображен штурвал в сборе с управляющими валами.
Привод поворота расположен в корпусе 1 гусеничной машины, имеющей бортовые коробки 2, 3 передач, шарнирно-рычажные приводы 4, 5 управления поворотом и содержит штурвал 6 с дугообразными в основании пазами с межосевым расстоянием А, один из которых выполнен радиусами R и R1, соосными диаметру D (ось О ), другой паз выполнен радиусами R и R 1, соосными диаметру D (ось О), управляющий вал 7 рабочим диаметром d с дугообразными шейками, выполненными радиусами r и r1, и управляющий вал 8 рабочим диаметром d с дугообразными шейками, выполненными радиусами r и r 1. При этом
D=d;
D =d ;
R=R =r=r ;
R1=R1 =r1=r 1;
(R+R1)/2=(R +R1 )/2=(r+r1)/2=(r +r 1)/2=A;
радиусы R, R1, r, r1 соосны с диаметром D (ось О );
радиусы R , R 1, r , r 1 соосны с диаметром D (ось О).
Штурвал 6 закреплен на наклонном листе 9 корпуса 1 посредством подшипниковых опор 10, 11 и механизма 12 угловой фиксации. Управляющие валы 7, 8 штурвала 6 соединены с передними поперечными валиками 13, 14 шарнирно-рычажных приводов 4, 5 посредством шарнирно-рычажных систем 15, 16.
Управление поворотом гусеничной машины влево или вправо осуществляется поворотом штурвала 6 соответственно влево или вправо. При повороте штурвала 6 влево относительно вала 7 вокруг оси О рабочего диаметра d штурвал 6 посредством левого дугообразного паза с радиусами R и R1, воздействуя на дугообразные шейки вала 7 с радиусами r и r1, передает вращающий момент валу 7. Вал 7 посредством шарнирно-рычажной системы 15, шарнирно-рычажного привода 4 передает усилие на механизм распределения бортовой коробки 2 передач, обеспечивая поворот машины. При повороте штурвала 6 относительно вала 7 вокруг оси О рабочего диаметра d правый дугообразный паз штурвала с радиусами R и R 1 проскальзывает по дугообразным шейками с радиусами r и r 1 вала 8, не проворачивая его за счет соосности радиусов R , R 1, r, r 1 и равенства радиусов R =r и R 1=r 1. При возвращении штурвала 6 в исходное положение вал 7 проворачивается до упора поверхностью диаметра D штурвала 6 в рабочий диаметр d вала 8, после чего вал 7 останавливается. Поворот вправо производится аналогичным способом поворотом вала 8, при этом штурвал 6 вращается относительно оси О рабочего диаметра d .
Для изменения положения штурвала механизм 12 угловой фиксации расстопоривается, штурвал 6 опускается в вертикальной плоскости.
Формула изобретения
1. Привод управления поворотом гусеничной машины с бортовыми коробками передач, содержащий механизм управления поворотом, два шарнирно-рычажных привода, каждый из которых включает передний поперечный валик, продольную составную тягу с кулаком и кормовой поперечный валик, связанный тягой с рычагом механизма распределения бортовой коробки передач, отличающийся тем, что механизм управления поворотом выполнен в виде двух параллельно соединенных между собой штурвалом, имеющим в основании оппозитно расположенные дугообразные пазы, управляющих валов, шарнирно закрепленных посредством механизма их угловой фиксации в различных положениях, и двух подшипниковых опор на наклонном листе корпуса гусеничной машины, причем каждый управляющий вал связан с соответствующим передним поперечным валиком шарнирно-рычажной системой и выполнен с дугообразной шейкой, предназначенной для взаимодействия с соответствующим пазом штурвала, при этом штурвал выполнен с возможностью поочередного углового перемещения с одним из управляющих валов с одновременной фиксацией другого управляющего вала в исходном положении.
2. Привод управления поворотом гусеничной машины с бортовыми коробками передач по п.1, отличающийся тем, что механизм угловой фиксации выполнен шарнирно-рычажным.
РИСУНКИ
PD4A – Изменение наименования обладателя патента СССР или патента Российской Федерации на изобретение
(73) Новое наименование патентообладателя:
Открытое акционерное общество «Уральское конструкторское бюро транспортного машиностроения» (RU)
Адрес для переписки:
622007, Свердловская обл., г. Нижний Тагил, Восточное ш., 38, ОАО «УКБТМ»
Извещение опубликовано: 10.09.2009 БИ: 25/2009
|
|