|
|
(21), (22) Заявка: 2006112278/11, 14.04.2006
(24) Дата начала отсчета срока действия патента:
14.04.2006
(46) Опубликовано: 20.07.2007
(56) Список документов, цитированных в отчете о поиске:
SU 1191342 A1, 15.11.1985. SU 1555161 A1, 07.04.1990. SU 1481124 A1, 23.05.1989. SU 701853 A1, 05.12.1979. UA 64759 С2, 15.03.2004. US 5176227 А, 05.01.1993. JP 2014968 А, 18.01.1990.
Адрес для переписки:
170003, г.Тверь, Петербургское ш., 45б, ОАО “Тверской вагоностроительный завод”, ОПИиИР
|
(72) Автор(ы):
Шириня Вячеслав Спиридонович (RU), Юхневский Алексей Алимпиевич (RU), Скачков Александр Николаевич (RU), Пазухин Дмитрий Юрьевич (RU), Василенко Александр Альбертович (RU), Ермишкин Иван Сергеевич (RU), Северин Владимир Лаврентьевич (RU)
(73) Патентообладатель(и):
Открытое акционерное общество “Тверской вагоностроительный завод” (ОАО “ТВЗ”) (RU), Закрытое акционерное общество научная организация “Тверской институт вагоностроения” (ЗАО НО “ТИВ”) (RU)
|
(54) АВТОМАТИЧЕСКИЙ СТОЯНОЧНЫЙ ТОРМОЗ ПАССАЖИРСКОГО ВАГОНА (ВАРИАНТЫ)
(57) Реферат:
Изобретение относится к комбинациям автоматически действующих тормозов различных типов подвижного состава. Автоматический стояночный тормоз содержит корпус тормозного цилиндра с направляющей, блок и фиксатор стояночного тормоза, аккумулирующую пружину, воздухораспределитель (по первому варианту). Фиксатор выполнен в виде подпружиненного шток-поршня, установленного в блоке и образующего в нем штоковую полость. Последняя сообщена с тормозной магистралью зарядно-разрядным каналом, в который включены обратный клапан с калиброванным отверстием и дополнительный резервуар, расположенный перед блоком. Блок установлен на корпусе тормозного цилиндра, причем шток тормозного цилиндра оснащен упором, с которым имеет возможность с отставанием по времени вступать в силовой контакт своим торцом подпружиненный шток-поршень при разрядке тормозной магистрали. Согласно второму варианту в штоковую полость блока, установленного на корпусе тормозного цилиндра, вложена пневмоемкость переменного объема, выполненная из гибкого герметичного материала. Достигается автоматический перевод экстренного режима торможения после остановки транспортного средства в стояночный и обеспечение отпуска стояночного тормоза вагона при подключении его к тормозной магистрали локомотива. 2 н. и 2 з.п. ф-лы, 5 ил.
Заявляемое изобретение относится к комбинациям автоматически действующих тормозов различных типов подвижного состава.
Известен «Автоматический стояночный тормоз железнодорожного транспортного средства» (СССР, ав. свид. №701853, В61Н 11/02, опубликовано 05.12.1979 г.), в котором автоматический отпускной клапан (7) пневматически связан с рабочей камерой воздухораспределителя (1) и тормозной магистралью (5). Шток тормозного цилиндра (2) шарнирно через винт с несамотормозящей резьбой (8) соединен с фиксатором (9) штока тормозного цилиндра, снабженным управляющим клапаном (10) и собачкой (11) стопорного устройства.
Недостатком этого стояночного тормоза является сложность конструкции и ненадежность в работе.
Известен дисковый тормоз подвижного состава (ФРГ, заявка №3728297, В61Н 5/10, 13/20, опубликовано 09.03.1989 г.), пружинный энергоаккумулятор которого прижимает тормозные накладки к тормозным дискам. При отсутствии сжатого воздуха в тормозной системе пружина энергоаккумулятора (18) поворачивает рычаги (20, 21) и тормозные накладки тормозных цанг (15 и 16) прижимаются к тормозным дискам (13), вследствие чего происходит торможение подвижного состава.
К недостаткам этого тормоза необходимо прежде всего отнести наличие отдельно стоящего энергоаккумулятора (пневмоцилиндр с пружиной) и гибкой тяги (19), которая соединяет энергоаккумулятор с рычагами (20 и 21), что существенно снижает надежность конструкции.
Известно «Устройство управления тормозом железнодорожного транспортного средства» (ав. свид. СССР №1555161, В60Т 15/04, опубликовано 07.04.1990 г.), содержащее управляющий орган (16) с клапаном (17) торможения и клапаном (18) отпуска, подключенные соответственно к уравнительному резервуару (10) и к питательной магистрали (15) и связанные между собой посредством зарядно-разрядного клапана (19) уравнительного резервуара (10). Канал (19) подключен к резервуару (14) времени, который постоянно сообщен с атмосферой дроссельным отверстием (20). Редуктор (1) осуществляет пополнение сжатым воздухом уравнительного резервуара (10). Создаваемое редуктором в уравнительном резервуаре давление превышает нормальное зарядное давление, задаваемое усилием пружины (5), т.к. через поршень (11) и пружину (12) на диафрагму (4) действует дополнительное усилие от давления сжатого воздуха в резервуаре (14) времени, к которому подключен зарядно-разрядный клапан (19).
Данное устройство позволяет автоматизировать процесс отпуска тормоза повышенным давлением, но имеет сложную конструкцию, в ней есть управляющий орган (16), редуктор (1) зарядного давления и другие элементы.
Для обоих вариантов за прототип принят «Автоматический стояночный тормоз железнодорожного транспортного средства» (СССР, авт. свид. №1191342, В61Н 11/02, опубликовано 15.11.1985 г.), в котором блок (20) фиксатора (7) стояночного тормоза в любом рабочем положении штока тормозного цилиндра закреплен на раме посредством упругого подшипника (9) и винтового механизма, упругая перегородка (22) выполнена с полой ступицей (23), подпружиненной относительно блока (20) и имеющей подвижный конус (24), взаимодействующий со стержнем (16) посредством охватывающих его тел качения (26), размещенных в дистанционной гильзе (15), имеющей возможность перемещения по стержню (16). Тормоз содержит корпус тормозного цилиндра (3), воздухораспределитель (1), подключенный через разобщительный кран (4) к тормозной магистрали (5) и сообщенный каналами с запасным воздухосборником (2) и тормозным цилиндром (3), шток поршня которого шарнирно соединен звеном регулятора с клещевым механизмом (6) с возможностью его нагружения фиксатором стояночного тормоза, управляемым посредством давления от тормозной магистрали и аккумулирующей пружины (25).
Недостаток этой конструкции – сложность в изготовлении.
Вариант 1, 2. Задачей предложения является повышение надежности стояночного тормоза за счет обеспечения автоматического отпуска стояночного тормоза посредством давления сжатого воздуха, обеспечения компактности расположения пружинного энергоаккумулятора и использования существующих элементов привода и рычажной передачи тормоза.
Вариант 1. Для этого автоматический стояночный тормоз пассажирского вагона содержит корпус тормозного цилиндра, оснащенный направляющей, блок и фиксатор стояночного тормоза, аккумулирующую пружину, воздухораспределитель, подключенный через разобщительный кран к тормозной магистрали и сообщенный пневмоканалами с резервуаром и тормозным цилиндром, шток которого расположен в направляющей и шарнирно соединен посредством звена регулятора зазоров с клещевым механизмом. Новым является то, что упомянутый фиксатор выполнен в виде подпружиненного шток-поршня, установленного в упомянутом блоке и образующего в нем штоковую полость, последняя сообщена с тормозной магистралью зарядно-разрядным каналом, в который включены обратный клапан с калиброванным отверстием и дополнительный резервуар, расположенный перед блоком, установленным на корпусе тормозного цилиндра, причем шток тормозного цилиндра оснащен упором, с которым имеет возможность с отставанием по времени вступать в силовой контакт подпружиненный шток-поршень при разрядке тормозной магистрали.
Другой особенностью стояночного тормоза является то, что общий для всех блоков стояночного тормоза вагона дополнительный резервуар включен в зарядно-разрядный канал, выход из которого в тормозную магистраль ограничен калиброванным отверстием обратного клапана.
Вариант 2. Для этого автоматический стояночный тормоз пассажирского вагона содержит корпус тормозного цилиндра с направляющей, блок и фиксатор стояночного тормоза, аккумулирующую пружину, воздухораспределитель, подключенный через разобщительный кран к тормозной магистрали и пневматически сообщенный каналами с резервуаром и тормозным цилиндром, шток которого шарнирно соединен посредством звена регулятора зазоров с клещевым механизмом. Новым является то, что в штоковую полость блока, установленного на корпусе тормозного цилиндра, вложена пневмоемкость переменного объема, выполненная из гибкого герметичного материала, а тормозная магистраль и упомянутая пневмоемкость блока сообщены между собой посредством пропущенного через отверстие блока зарядно-разрядного канала, в который включены обратный клапан с калиброванным отверстием и дополнительный резервуар, расположенный перед блоком, упомянутый фиксатор выполнен в виде подпружиненного шток-поршня, установленного в блоке, причем шток тормозного цилиндра оснащен упором, с которым имеет возможность с отставанием по времени вступать в силовой контакт своим торцом подпружиненный шток-поршень при разрядке тормозной магистрали.
Другой особенностью стояночного тормоза является то, что общий для всех блоков стояночного тормоза вагона дополнительный резервуар включен в зарядно-разрядный канал, выход из которого в тормозную магистраль ограничен калиброванным отверстием обратного клапана.
Технический результат выразится в следующем.
Вариант 1.2.
Включение в зарядно-разрядный канал обратного клапана с калиброванным отверстием и дополнительного резервуара с расположением последнего перед блоком позволит автоматически переводить экстренный режим торможения после остановки транспортного средства в стояночный и обеспечить отпуск стояночного тормоза вагона при подключении его к тормозной магистрали локомотива.
Выполнение фиксатора стояночного тормоза в виде подпружиненного шток-поршня, установленного в блоке и образующего в нем штоковую полость, позволит использовать его в качестве энергоаккумулятора, позволяющего переводить автоматически, после остановки транспортного средства и разрядки тормозной магистрали, клещевой механизм в режим стояночного тормоза.
Оснащение штока тормозного цилиндра упором, с которым имеет возможность с отставанием по времени вступать в силовой контакт своим торцом подпружиненный шток-поршень, обеспечит сохранение тормозной силы в стояночном тормозе после того, как сжатый воздух будет выпущен из тормозного цилиндра вагона.
Разрядка дополнительного резервуара через калиброванное отверстие обратного клапана позволяет не включаться стояночному тормозу во время аварийного торможения стоп-краном.
Включение общего для всех блоков стояночного тормоза вагона дополнительного резервуара в зарядно-разрядный канал, выход из которого в тормозную магистраль ограничен калиброванным отверстием обратного клапана упрощает схему подключения блоков в целом вагона к зарядно-разрядному каналу, обеспечивает включение стояночного тормоза только после разрядки тормозной магистрали с отставанием по времени и, кроме того, позволяет осуществить автоматический отпуск стояночного тормоза вагона при подключении тормозной магистрали вагона к тормозной магистрали локомотива.
Вариант 1.
Сообщение штоковой полости упомянутого блока, закрепленного на корпусе тормозного цилиндра, с тормозной магистралью зарядно-разрядным каналом, в который включены обратный клапан с калиброванным отверстием и дополнительный резервуар, обеспечит сохранение тормозной силы после того, как сжатый воздух будет выпущен из тормозного цилиндра вагона.
Вариант 2.
Вложение в штоковую полость блока, установленного на корпусе тормозного цилиндра, пневмоемкости переменного объема, выполненной из гибкого герметичного материала, уменьшит потери сжатого воздуха из тормозной магистрали во время движения поезда.
Сообщение между собой тормозной магистрали и упомянутой пневмоемкости блока посредством пропущенного через отверстие блока зарядно-разрядного канала, в который включены обратный клапан с калиброванным отверстием и дополнительный резервуар, обеспечит сохранение тормозной силы после того, как сжатый воздух будет выпущен из тормозного цилиндра вагона.
Прилагаемые чертежи изображают:
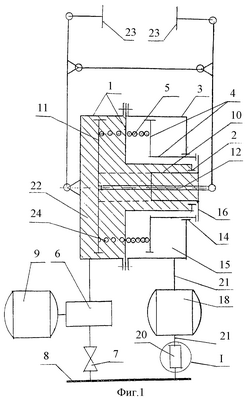
фиг.1 – общая схема стояночного тормоза в расторможенном состоянии клещевого механизма (первый вариант);
фиг.2 – то же (второй вариант);
фиг.3 – схема тормоза в режиме торможения (оба варианта);
фиг.4 – схема тормоза в стояночном режиме (оба варианта);
фиг.5 – вид I на фиг.1, 2 на обратный клапан с калиброванным отверстием в клапане (плунжере).
Вариант 1.
Автоматический стояночный тормоз пассажирского вагона содержит корпус 1 тормозного цилиндра с трубчатой направляющей 2, стояночный тормоз, включающий блок 3, закрепленный на корпусе 1, установленный внутри блока фиксатор стояночного тормоза, выполненный в виде шток-поршня 4 (втулки с фланцем), опирающегося на аккумулирующую (сжатую) пружину 5, воздухораспределитель 6, подключенный через разобщительный, имеющий элемент управления кран 7 к тормозной магистрали 8, пневматически сообщенный каналами с запасным резервуаром 9 и тормозным цилиндром. В трубчатом штоке 10 поршня 11 тормозного цилиндра размещено звено 12 винтового регулятора зазоров для компенсации износа тормозных колодок. Звено 12 соединено шарнирно с клещевым механизмом 13 (фиг.3) с возможностью его нагружения шток-поршнем 4, установленным в направляющей 14 блока 3 стояночного тормоза. Блок 3 закреплен на корпусе тормозного цилиндра. Шток-поршень 4 в блоке 3 образует штоковую полость 15, находящуюся под давлением сжатого воздуха (фиг.1, 3). Давление сжатого воздуха в штоковой полости блока сохраняется благодаря манжетам, герметизирующим соединение шток-поршня с цилиндровым блоком 3. В блоке 3 расположена аккумулирующая пружина 5, упруго сжатая между корпусом 1 тормозного цилиндра и шток-поршнем 4 при заряженной тормозной магистрали.
Трубчатый шток 10 оснащен закрепленным на его торце упором 16. Шток 10 взаимодействует с направляющей 2, охваченной коаксиально шток-поршнем 4. Торец шток-поршня 4 для передачи тормозного усилия на клещевой механизм имеет возможность входить в силовой контакт с упором 16 с отставанием по времени, равным периоду сброса давления сжатого воздуха: из штоковой полости 15 блока и дополнительного резервуара 18 (фиг.1), расположенного перед блоком 3 или (вариант 2) из пневмоемкости переменного объема 17 и дополнительного резервуара 18 (фиг.2), в тормозную магистраль 8 при ее разрядке через калиброванное отверстие 19 обратного клапана 20 (последнее выполнено в плунжере).
Тормозная магистраль 8 и упомянутая штоковая полость 15 сообщены между собой зарядно-разрядным каналом 21.
Общий для всех блоков стояночного тормоза вагона дополнительный резервуар 18 включен в зарядно-разрядный канал 21, выход из которого в тормозную магистраль ограничен калиброванным отверстием 19 обратного клапана 20. При помощи калиброванного отверстия 19 и дополнительного резервуара 18 стояночный тормоз включается с отставанием по времени, препятствующим одновременному нагружению колодок в движении основным и стояночным тормозами.
Шток 10 может быть непосредственно соединен осью шарнира с одним из рычагов клещевого механизма.
Вариант 2.
Заявляемый тормоз по второму варианту повторяет конструкцию варианта 1 и отличается тем, что в штоковую полость блока 3, установленного на корпусе тормозного цилиндра, вложена пневмоемкость 17 переменного объема, выполненная из гибкого герметичного материала. Тормозная магистраль и упомянутая пневмоемкость сообщены между собой зарядно-разрядным каналом 21. Зарядно-разрядный канал пропущен через отверстие блока 3.
Тормоз работает следующим образом.
Для отпуска стояночного тормоза вагона перед его перемещением необходимо тормозную магистраль вагона подключить к тормозной магистрали локомотива.
Сжатый воздух из магистрали через обратный клапан 20 и дополнительный резервуар 18 поступит в штоковую полость 15 блока (фиг.1) и переместит шток-поршень 4 влево, сжав аккумулирующую пружину 5. Пружина 24 тормозного цилиндра через поршень 11 штока 10, звено 12 регулятора зазоров, клещевой механизм 13 отожмет тормозные колодки 23 в исходное положение.
При ступенчатом или полном служебном торможении сжатый воздух из запасного резервуара 9 через воздухораспределитель 6 поступает в поршневую полость 22 тормозного цилиндра (фиг.1, 2, 3).
Поршень 11 через шток 10, звено 12 регулятора зазоров, выступающее из штока 10, передает усилие тормозного цилиндра на клещевой механизм 13, не оказывая влияния на стояночный тормоз, штоковая полость 15 или пневмоемкость 17 которого и резервуар 18 находятся под давлением сжатого воздуха. Это давление во время движения транспортного средства удерживает сжатую пружину 5 в состоянии пружинного энергоаккумулятора.
При длительной стоянке вагона и отключении концевых кранов (после расцепки вагона с локомотивом) давление воздуха в тормозной магистрали 8 падает, аккумулирующая пружина 5 через упор 16 нагружает клещевой механизм и колодки 23 в стояночном режиме, причем падение давления сжатого воздуха в запасном резервуаре 9 сопровождается падением давления в штоковой полости 15 или пневмоемкости 17 блока. В результате аккумулирующая пружина стояночного тормоза вытягивает в рабочее положение поршень 11 основного тормоза (фиг.4), в то же время сжатый воздух из резервуара 18, штоковой полости 15 или пневмоемкости 17 выпускается через калиброванное отверстие 19 обратного клапана в тормозную магистраль 8, а из нее в атмосферу.
Калиброванное отверстие 19 подобрано таким образом, что резервуар 18 и штоковая полость 15 или пневмоемкость 17 блока разряжаются с отставанием по времени, достаточным для того, чтобы при экстренном торможении стоп-краном вагон мог остановиться, прежде чем аккумулирующая пружина 5 нагрузит клещевой механизм через шток-поршень 4, упор 16, шток 10 со звеном 12 регулятора зазоров дополнительным усилием.
При зарядке тормозной магистрали сжатый воздух через разобщительный кран 7 поступает к воздухораспределителю 6, через который заряжается запасной резервуар 9 и одновременно с этим из тормозной магистрали воздух поступает через обратный клапан 20 (он полностью открывается), заряжает дополнительный резервуар 18 и штоковую полость 15 или пневмоемкость 17 блока. Шток-поршень 4 блока перемещается влево и сжимает аккумулирующую пружину 5, занимая независимое от штока 10 тормозного цилиндра положение (фиг.3), после чего происходит отпуск тормозов под действием более слабой пружины 24 тормозного цилиндра (фиг.1, 2).
Время разрядки штоковой полости блока определяется объемом дополнительного резервуара 18 и сечением калиброванного отверстия, выполненного в плунжере обратного клапана.
Формула изобретения
1. Автоматический стояночный тормоз пассажирского вагона, содержащий корпус тормозного цилиндра с направляющей, блок и фиксатор стояночного тормоза, аккумулирующую пружину, воздухораспределитель, подключенный через разобщительный кран к тормозной магистрали и пневматически сообщенный каналами с резервуаром и тормозным цилиндром, шток которого шарнирно соединен посредством звена регулятора зазоров с клещевым механизмом, отличающийся тем, что упомянутый фиксатор выполнен в виде подпружиненного шток-поршня, установленного в упомянутом блоке и образующего в нем штоковую полость, последняя сообщена с тормозной магистралью зарядно-разрядным каналом, в который включены обратный клапан с калиброванным отверстием и дополнительный резервуар, расположенный перед блоком, установленным на корпусе тормозного цилиндра, причем шток тормозного цилиндра оснащен упором, с которым имеет возможность с отставанием по времени вступать в силовой контакт своим торцем подпружиненный шток-поршень при разрядке тормозной магистрали.
2. Автоматический стояночный тормоз по п.1, отличающийся тем, что общий для всех блоков стояночного тормоза вагона дополнительный резервуар включен в зарядно-разрядный канал, выход из которого в тормозную магистраль ограничен калиброванным отверстием обратного клапана.
3. Автоматический стояночный тормоз пассажирского вагона, содержащий корпус тормозного цилиндра с направляющей, блок и фиксатор стояночного тормоза, аккумулирующую пружину, воздухораспределитель, подключенный через разобщительный кран к тормозной магистрали и пневматически сообщенный каналами с резервуаром и тормозным цилиндром, шток которого шарнирно соединен посредством звена регулятора зазоров с клещевым механизмом, отличающийся тем, что в штоковую полость блока, установленного на корпусе тормозного цилиндра, вложена пневмоемкость переменного объема, выполненная из гибкого герметичного материала, а тормозная магистраль и упомянутая пневмоемкость блока сообщены между собой посредством пропущенного через отверстие блока зарядно-разрядного канала, в который включены обратный клапан с калиброванным отверстием и дополнительный резервуар, расположенный перед блоком, упомянутый фиксатор выполнен в виде подпружиненного шток-поршня, установленного в блоке, причем шток тормозного цилиндра оснащен упором, с которым имеет возможность с отставанием по времени вступать в силовой контакт своим торцем подпружиненный шток-поршень при разрядке тормозной магистрали.
4. Автоматический стояночный тормоз по п.1, отличающийся тем, что общий для всех блоков стояночного тормоза вагона дополнительный резервуар включен в зарядно-разрядный канал, выход из которого в тормозную магистраль ограничен калиброванным отверстием обратного клапана.
РИСУНКИ
|
|