|
|
(21), (22) Заявка: 2006115418/11, 04.05.2006
(24) Дата начала отсчета срока действия патента:
04.05.2006
(46) Опубликовано: 27.06.2007
(56) Список документов, цитированных в отчете о поиске:
SU 1010361 А, 07.04.1983. SU 1084521 А, 07.04.1984. US 4765196 А, 23.08.1988. GB 1111965 А, 01.05.1968. US 3136168 А, 09.06.1964.
Адрес для переписки:
454080, г.Челябинск, пр. им. В.И. Ленина, 76, ЮУрГУ, технический отдел
|
(72) Автор(ы):
Виницкий Петр Геннадьевич (RU), Бин Денис Александрович (RU), Кудимов Сергей Вячеславович (RU)
(73) Патентообладатель(и):
Государственное образовательное учреждение высшего профессионального образования “Южно-Уральский государственный университет” (RU)
|
(54) РЕГУЛИРУЕМЫЙ МАЛЬТИЙСКИЙ МЕХАНИЗМ
(57) Реферат:
Изобретение относится к общему машиностроению, а именно к механизмам для получения прерывистого движения исполнительных органов машин и может найти применение в автоматических линиях робототехники и т.п. Регулируемый мальтийский механизм содержит ведущее звено, включающее вал, конические шестерни, находящиеся в зацеплении, и соединенное поводком с ведомым звеном, выполненным в виде мальтийского креста, и запирающих дисков, установленных на валу. Ведомое звено соединено с исполнительным механизмом. Ведущее звено снабжено дополнительным валом, на котором расположены одна из конических шестерен, поводок, взаимодействующий с мальтийским крестом, и рамка с запирающими дисками. Рамка соединена с ползуном, расположенным в наклонном пазу корпуса механизма, при этом запирающие диски дополнительного вала установлены с возможностью взаимодействия с запирающими дисками ведомого звена. Достигается расширение кинематических возможностей мальтийского механизма за счет регулирования углов поворота исполнительного механизма. 2 ил.
Изобретение относится к общему машиностроению, а именно к механизмам для получения прерывистого движения (вращения) исполнительных органов машин и может найти применение в автоматических линиях робототехники и т.п.
Известен регулируемый мальтийский механизм (SU 1402745 А, F16H 27/06), снабженный дополнительным мальтийским крестом, который позволяет увеличить диапазон регулирования, время поворота и время выстоя. Все кресты имеют одинаковое количество пазов, выраженное простым числом, и последовательно жестко соединены таким образом, что их пазы совмещены, а наружные диаметры монотонно изменяются, поводок установлен на ведущем валу с возможностью перемещения вдоль его оси и предназначен для взаимодействия с разными мальтийскими крестами.
Известен мальтийский механизм (SU 1084521 А, F16H 27/06), содержащий корпус, установленные в нем мальтийский крест и два поводка с цевками, кинематически связанные между собой зубчатой передачей, один из поводков выполнен в виде двух дисков, установленных с возможностью поворота один относительно другого, а устройство для фиксации выполнено в виде набора секторов, установленных с возможностью разворота и фиксации на валах для обеспечения возможности плавного изменения соотношения времени поворота креста и времени выстоя.
Наиболее близким к заявляемому изобретению является пространственный мальтийских механизм (SU 1010361 А, F16H 27/06), содержащий ведущее звено, снабженное шариком, размещенным на рычаге и ведомое звено выполнено в виде цилиндра, имеющего радиальные пазы, установленные на неподвижных осях с возможностью вращения вокруг них, и устройство, фиксирующее ведомое звено в период выстоя.
Недостатком указанных устройств является невозможность регулирования величины угла поворота исполнительного механизма.
Цель изобретения – расширение кинематических возможностей мальтийского механизма за счет регулирования углов поворота исполнительного механизма.
Поставленная цель достигается тем, что в регулируемом мальтийском механизме, содержащем ведущее звено, включающее вал, конические шестерни, находящиеся в зацеплении, и соединенное поводком с ведомым звеном, выполненным в виде мальтийского креста и запирающих дисков, установленных на валу, соединенным с исполнительным механизмом, согласно изобретению ведущее звено снабжено дополнительным валом, на котором расположены одна из конических шестерен, поводок, взаимодействующий с мальтийским крестом, и рамка с запирающими дисками, соединенная с ползуном, расположенным в наклонном пазу корпуса механизма, при этом запирающие диски дополнительного вала установлены с возможностью взаимодействия с запирающими дисками ведомого звена.
Предложенный мальтийский механизм содержит мальтийский крест с нарезанными пазами, число которых равно 360°, деленное на минимальный угол поворота, и поводок, установленный на дополнительном валу, взаимодействующий с мальтийским крестом. Поводок имеет возможность ступенчато изменять радиус своего взаимодействия с мальтийским крестом, за счет этого крест поворачивается на разные углы, при этом поводок может пропускать один, два и более пазов. Для каждого радиуса поводка существует свой запирающий механизм, состоящий из двух дисков, имеющих специальный профиль.
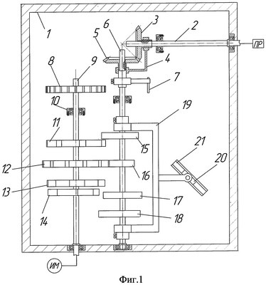
Сущность изобретения поясняется чертежами, где на фиг.1 дан общий вид регулируемого мальтийского механизма; на фиг.2 – то же, изображение в пространстве.
Регулируемый мальтийский механизм содержит корпус 1, ведущий вал 2 привода, на котором установлена шестерня 3, с возможностью перемещения вдоль вала 2 на шлицах. Шестерня 3 поводком 4 жестко связана с шестерней 5, имеющей возможность перемещаться вдоль вала на шлицах и сидящей на дополнительном валу 6. На ступице шестерни 5 жестко установлен ведущий поводок 7, который взаимодействует с пазами мальтийского креста 8, жестко посаженного на вал 9, к которому подключен исполнительный механизм (ИМ). Вал 9 закреплен в корпусе 1 на опоре 10. На валу 9 установлены жестко закрепленные диски 11, 12, 13, 14. На дополнительном валу 6 жестко закреплены запирающие диски 15, 16, 17, 18, установленные в рамке 19. Рамка 19 шарнирно связана с ползуном 20, находящимся в наклонном пазу 21 корпуса 1.
Регулируемый мальтийский механизм работает следующим образом. Перемещением ползуна 20 в пазу 21 устанавливается положение поводка 7 относительно мальтийского креста 8, определяющие угол поворота последнего, при этом вал 6 перемещается по горизонтали, перемещая шестерню 3 вдоль вала 2, и вертикали, вводя во взаимодействие одну из пар запирающих дисков 11-15, 12-16, 13-17, 14-18. После этого на вал 2 передается вращение от привода, которое через зубчатую передачу 3-5 передается валу 6. Поводок 7, сидящий на ступице шестерни 5, начинает поворачиваться, заходит в один из пазов мальтийского креста 8 и поворачивается вместе с ним. После того, как поводок 7 выйдет из паза мальтийского креста 8, повернув его на установленный угол, диски (15, 16, 17, 18), установленные на валу 6, продолжают поворачиваться, при этом своим профилем останавливают вращение соответствующих дисков (11, 12, 13, 14) на валу 9, останавливая вал. Поводок 7, поворачиваясь вокруг вала 6, вновь входит в паз мальтийского креста 8, и все повторяется.
Данный механизм может быть использован: для передачи прерывистого вращения при скрещивающихся валах, а именно в автоматических линиях транспортерах, использующих прерывистое движение, при этом возникает возможность регулирования частоты и продолжительности движений; в машинах легкой промышленности, соблюдая условие неразрывности кинематической цепи; в исполнительных органах промышленных роботов для выстоев при выполнении технологических операций; в робототехнике и т.п.
Формула изобретения
Регулируемый мальтийский механизм, содержащий ведущее звено, включающее вал, конические шестерни, находящиеся в зацеплении, и соединенное поводком с ведомым звеном, выполненным в виде мальтийского креста и запирающих дисков, установленных на валу, соединенном с исполнительным механизмом, отличающийся тем, что ведущее звено снабжено дополнительным валом, на котором расположены одна из конических шестерен, поводок, взаимодействующий с мальтийским крестом, и рамкой с запирающими дисками, соединенной с ползуном, расположенным в наклонном пазу корпуса механизма, при этом запирающие диски дополнительного вала установлены с возможностью взаимодействия с запирающими дисками ведомого звена.
РИСУНКИ
MM4A – Досрочное прекращение действия патента СССР или патента Российской Федерации на изобретение из-за неуплаты в установленный срок пошлины за поддержание патента в силе
Дата прекращения действия патента: 05.05.2008
Извещение опубликовано: 20.05.2010 БИ: 14/2010
|
|