|
| На основании пункта 3 статьи 13 Патентного закона Российской Федерации от 23 сентября 1992 г. № 3517-I патентообладатель обязуется передать исключительное право на изобретение (уступить патент) на условиях, соответствующих установившейся практике, лицу, первому изъявившему такое желание и уведомившему об этом патентообладателя и федеральный орган исполнительной власти по интеллектуальной собственности, – гражданину РФ или российскому юридическому лицу. |
|
(21), (22) Заявка: 2006103952/11, 10.02.2006
(24) Дата начала отсчета срока действия патента:
10.02.2006
(46) Опубликовано: 27.06.2007
(56) Список документов, цитированных в отчете о поиске:
SU 1594326 A1, 23.09.1990. SU 338707 A, 19.06.1972. RU 2141064 C1, 10.11.1999. FR 1302531 A, 31.08.1962. EP 0641953 A1, 08.03.1995.
Адрес для переписки:
123458, Москва, ул. Твардовского, 11, кв.92, О.С. Кочетову
|
(72) Автор(ы):
Кочетов Олег Савельевич (RU), Кочетова Мария Олеговна (RU), Шестернинов Александр Владимирович (RU), Зубова Ирина Юрьевна (RU)
(73) Патентообладатель(и):
Кочетов Олег Савельевич (RU)
|
(54) ВИБРОИЗОЛЯТОР ДЛЯ ТКАЦКИХ СТАНКОВ
(57) Реферат:
Изобретение относится к машиностроению и может быть использовано для виброизоляции технологического оборудования, в частности ткацких станков. Виброизолятор для ткацких станков содержит пружину, взаимодействующую с основанием и корпусом ткацкого станка. Корпус выполнен разъемным, крепится на горизонтальной стяжке ткацкого станка и состоит из двух пластин со сферическими выемками, стягиваемыми болтами. К каждой из пластин приварены проушины нижняя и верхняя. К нижней проушине с помощью шарнира крепится тяга, которая вторым концом с помощью шарнира крепится к основанию пружинной стойки с осью, к которой прикреплены втулка с гильзой под пружину и гильза. К верхней проушине с помощью шарнира подсоединена тяга, жестко соединенная с верхним стаканом, охватывающим втулку с пружиной. К открытому торцу стакана прикреплена втулка из фрикционного материала, взаимодействующая с гильзой. Достигается повышение эффективности виброизоляции в резонансном режиме и упрощение конструкции и монтажа. 1 ил.
Изобретение относится к машиностроению и может быть использовано для виброизоляции технологического оборудования, в том числе ткацких станков.
Наиболее близким техническим решением к заявляемому объекту является виброизолятор по авторскому свидетельству СССР №1594326, F16F 15/06, содержащий упругий элемент, один торец которого опирается на корпус, а другой взаимодействует с маятниковым механизмом, выполненным в виде шарнирного подвеса.
Недостатком известного устройства является сложность шарнирного элемента и недостаточная эффективность на резонансе из-за отсутствия демпфирования колебаний.
Цель изобретения – повышение эффективности виброизоляции в резонансном режиме и упрощение конструкции и монтажа.
Это достигается тем, что в виброизоляторе для ткацких станков, содержащем пружину, взаимодействующую с основанием и корпусом ткацкого станка, корпус выполнен разъемным, крепится на горизонтальной стяжке ткацкого станка и состоит из двух пластин со сферическими выемками, стягиваемыми болтами, причем к каждой из пластин приварены проушины нижняя и верхняя, причем к нижней проушине с помощью шарнира крепится тяга, которая вторым концом с помощью шарнира крепится к основанию пружинной стойки с осью, к которой прикреплены втулка с гильзой под пружину и гильза, а к верхней проушине с помощью шарнира подсоединена тяга, жестко соединенная с верхним стаканом, охватывающим втулку с пружиной 17, причем к открытому торцу стакана прикреплена втулка из фрикционного материала, взаимодействующая с гильзой.
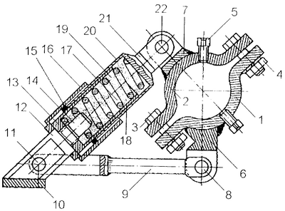
На чертеже представлен виброизолятор для ткацких станков, фронтальный разрез.
Виброизолятор содержит разъемный корпус, который крепится на горизонтальной стяжке ткацкого станка и состоит из двух пластин 1 и 2 со сферическими выемками, стягиваемыми болтами 3 и 4 и фиксируемыми винтами 5. К каждой из пластин приварены проушины нижняя 6 и верхняя 7. К нижней проушине с помощью шарнира 8 крепится тяга 9, которая вторым концом с помощью шарнира 11 крепится к основанию 10 пружинной стойки 12 с осью 14, к которой прикреплены втулка 13 с гильзой 18 под пружину 17 и гильза 16. К верхней проушине 7 с помощью шарнира 22 подсоединена тяга 21, жестко соединенная с верхним стаканом 20, охватывающим втулку 13 с пружиной 17. К открытому торцу стакана 20 прикреплена втулка 15 из фрикционного материала, взаимодействующая с гильзой 16. Для усиления эффекта гашения высокочастотных колебаний и увеличения коэффициента демпфирования в верхнем стакане 20 размещена путанка 19 (переплетения из проволоки диаметром 0,5…1,5 мм).
Виброизолятор работает следующим образом.
При работе ткацкого станка в момент прибоя уточной нити к основе возникают ударные нагрузки в основном по двум направлениям: горизонтальному (70% от результирующей нагрузки) и вертикальному (30% от результирующей нагрузки). Пружина 17 воспринимает результирующий вектор нагрузки, ослабляя тем самым динамическое воздействие на перекрытия зданий. Демпфирование в системе осуществляется за счет трения втулки 15 из фрикционного материала, взаимодействующей с гильзой 16. Шарнирное крепление опорных поверхностей пружины позволяет повысить эффективность виброизоляции в целом за счет более равномерного распределения составляющих результирующего вектора нагрузки.
Формула изобретения
Виброизолятор для ткацких станков, содержащий пружину, взаимодействующую с основанием и корпусом ткацкого станка, отличающийся тем, что корпус выполнен разъемным, крепится на горизонтальной стяжке ткацкого станка и состоит из двух пластин со сферическими выемками, стягиваемыми болтами, причем к каждой из пластин приварены проушины, нижняя и верхняя, причем к нижней проушине с помощью шарнира крепится тяга, которая вторым концом с помощью шарнира крепится к основанию пружинной стойки с осью, к которой прикреплены втулка с гильзой под пружину и гильза, а к верхней проушине с помощью шарнира подсоединена тяга, жестко соединенная с верхним стаканом, охватывающим втулку с пружиной, причем к открытому торцу стакана прикреплена втулка из фрикционного материала, взаимодействующая с гильзой.
РИСУНКИ
|
|