|
|
(21), (22) Заявка: 2005133170/06, 27.10.2005
(24) Дата начала отсчета срока действия патента:
27.10.2005
(46) Опубликовано: 27.06.2007
(56) Список документов, цитированных в отчете о поиске:
US 2951165 А, 30.08.1960. US 2854595 А, 30.09.1958. SU 1399634 A1, 30.05.1988. RU 2000125737 A, 27.01.2003.
Адрес для переписки:
614065, г.Пермь, ш. Космонавтов, 395, ЗАО “Новомет-Пермь”, С.А. Рабиновичу
|
(72) Автор(ы):
Данченко Юрий Валентинович (RU), Дорогокупец Геннадий Леонидович (RU), Иванов Олег Евгеньевич (RU), Кулаков Сергей Васильевич (RU), Куприн Павел Борисович (RU), Мельников Михаил Юрьевич (RU), Перельман Олег Михайлович (RU), Пошвин Евгений Вячеславович (RU), Рабинович Александр Исаакович (RU)
(73) Патентообладатель(и):
Закрытое акционерное общество “Новомет-Пермь” (RU)
|
(54) ТЕПЛООБМЕННИК ДЛЯ ПОГРУЖНОГО МАСЛОЗАПОЛНЕННОГО ЭЛЕКТРОДВИГАТЕЛЯ
(57) Реферат:
Изобретение предназначено для применения в области электромашиностроения, в частности в конструкциях теплообменников для погружных маслозаполненных электродвигателей, применяемых в качестве привода электроцентробежного насоса. Теплообменник для погружного маслозаполненного электродвигателя состоит из коаксиально установленных между верхней и нижней втулками труб, которые образуют цилиндрический и кольцевые каналы, цилиндрический и четные кольцевые каналы через отверстия в верхней втулке сообщены с полостью электродвигателя. Каждый из четных кольцевых каналов через отверстия в нижней втулке связан с цилиндрическим каналом с образованием замкнутых контуров для движения масла. Нечетные кольцевые каналы через отверстия в нижней и верхней втулке сообщаются со скважиной с образованием проточных каналов для пластовой жидкости. Цилиндрический и четные кольцевые каналы снабжены интенсифицирующими вставками, выполненными из открытоячеистой металлической пены и скрепленными со стенками труб. Изобретение позволяет интенсифицировать теплообмен и повысить компактность теплообменника для погружного маслозаполненного электродвигателя. 5 з.п.ф-лы, 2 ил.
Изобретение относится к области электромашиностроения, в частности к конструкции теплообменников для погружных маслозаполненных электродвигателей, применяемых в качестве привода электроцентробежного насоса.
Известно устройство охлаждения погружного электродвигателя, состоящее из установленной на корпусе электродвигателя трубки с отверстиями, один конец которой сообщен с выкидом насоса, а другой заглушен [Авт. свид-во СССР №688607, МПК Е21В 43/00,1979].
Недостатком известного устройства является невысокая эффективность. Охлаждение электродвигателя осуществляется за счет турбулизации омывающей его пластовой жидкости струйками жидкости с выкида насоса, впрыскиваемыми через отверстия в трубке и имеющими после прохождения через насос перегрев в 17-20°С относительно своей начальной температуры. Поскольку в устройстве теплоотдача происходит от электродвигателя к жидкости с повышенной температурой, влияние турбулизации не проявляется в достаточной мере. Кроме того, устройство охлаждения увеличивает радиальные габариты погружного электродвигателя, по крайней мере, на величину двух диаметров трубки, что осложняет проведение спуско-подъемных операций.
Наиболее близок к заявляемому теплообменник для погружного маслозаполненного электродвигателя, состоящий из коаксиально установленных между верхней и нижней втулками труб, образующих цилиндрический и кольцевые каналы. Цилиндрический канал через осевое отверстие в верхней втулке сообщается с полостью электродвигателя. Четные кольцевые каналы через радиально-осевые отверстия в верхней втулке сообщаются с полостью электродвигателя, а через радиальные отверстия в нижней втулке соединены с цилиндрическим каналом с образованием замкнутых контуров для движения масла. Нечетные кольцевые каналы через осевые отверстия в нижней втулке и радиально-осевые отверстия в верхней втулке сообщаются со скважиной с образованием проточных каналов для пластовой жидкости (US 2951165, 30.08.1960).
Недостатком известного теплообменника является низкая интенсивность теплообмена между охлаждаемым маслом и охлаждающей пластовой жидкостью из-за незначительной площади теплообменной поверхности гладких труб, по которым текут указанные жидкости. Вследствие этого для охлаждения масла до приемлемой с точки зрения надежной работы электродвигателя температуры теплообменник должен иметь значительную длину.
Настоящее изобретение направлено на интенсификацию теплообмена и повышение компактности теплообменника для погружного маслозаполненного электродвигателя.
Указанный технический результат достигается тем, что в теплообменнике для погружного маслозаполненного электродвигателя, состоящем из коаксиально установленных между верхней и нижней втулками труб, которые образуют цилиндрический и кольцевые каналы, цилиндрический и четные кольцевые каналы через отверстия в верхней втулке сообщены с полостью электродвигателя, каждый из четных кольцевых каналов через отверстия в нижней втулке связан с цилиндрическим каналом с образованием замкнутых контуров для движения масла, нечетные кольцевые каналы через отверстия в нижней и верхней втулке сообщаются со скважиной с образованием проточных каналов для пластовой жидкости, согласно изобретению цилиндрический и четные кольцевые каналы снабжены интенсифицирующими вставками, выполненными из открытоячеистой металлической пены и скрепленными со стенками труб.
Вставки могут быть выполнены в виде цилиндра и удлиненных цилиндрических оболочек, полностью заполняющих внутреннее пространство соответственно цилиндрического и кольцевых каналов, или в виде секционированного цилиндра и цилиндрических оболочек, размещенных вплотную или на расстоянии друг от друга по длине соответствующих каналов для повышения среднего коэффициента теплоотдачи. Открытоячеистая металлическая пена имеет высокопроницаемый трехмерный сетчато-ячеистый каркас с размером ячейки в диапазоне 0,4-4,5 мм и удельной площадью поверхности 600-2500 м2/м3. Вставки могут иметь постоянный или переменный по длине каналов размер ячейки, увеличивающийся в направлении движения масла, для компенсации возрастания перепада давления вследствие увеличения вязкости масла при охлаждении.
Во вставках могут быть выполнены продольные сквозные или глухие перфорации, диаметр которых, по крайней мере, не меньше диаметра ячеек пены, что способствует снижению их гидравлического сопротивления при сохранении теплообменной способности. Открытоячеистая металлическая пена может быть изготовлена из меди, алюминия или других высокотеплопроводных металлов или сплавов.
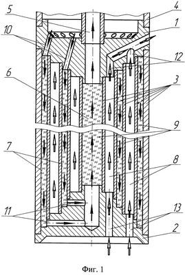
На фиг.1 представлен теплообменник для погружного маслозаполненного электродвигателя заявляемой конструкции; на фиг.2 – макроструктура открытоячеистой пены из меди.
Предлагаемый теплообменник для погружного маслозаполненного электродвигателя состоит из верхней 1 и нижней 2 втулок, между которыми коаксиально установлены трубы 3. Верхняя втулка 1 присоединена к основанию 4 электродвигателя (не показан) и сообщается с ним через осевое отверстие 5. Трубы 3 образуют цилиндрический 6 и кольцевые каналы 7 для движения масла и кольцевые каналы 8 для пластовой жидкости. В цилиндрическом 6 и в четных кольцевых каналах 7 размещены интенсифицирующие вставки 9 из открытоячеистой металлической пены. В верхней 1 и нижней 2 втулке выполнена первая система радиально-осевых 10 и радиальных отверстий 11.
Отверстия 10 соединяют верхнюю часть кольцевых каналов 7 с основанием 4 электродвигателя, а отверстия 11 – нижнюю часть кольцевых каналов 7 с цилиндрическим каналом 6, который вверху сообщается с основанием 4. При этом образуется замкнутый контур для движения охлаждаемого масла: основание 4 электродвигателя – радиально-осевые отверстия 10 в верхней втулке 1 – кольцевые каналы 7 с пенометаллическими вставками 9 – радиальные отверстия 11 в нижней втулке 2 – цилиндрический канал 6 с пенометаллической вставкой 9 – отверстие вала электродвигателя – зазор между статором и ротором – основание 4 электродвигателя.
В верхней 1 и нижней втулке 2 также выполнена вторая система радиально-осевых 12 и осевых отверстий 13, соединяющих кольцевые каналы 8 со скважиной с образованием между цилиндрическим 6 и кольцевыми каналами 7 для масла проточных контуров для движения пластовой жидкости: скважина – отверстия 13 в нижней втулке 2 – кольцевые каналы 8 – отверстия 12 в верхней втулке 1 – скважина.
Теплообменник для погружного маслозаполненного электродвигателя работает следующим образом. При спуске в скважину все части теплообменника, в том числе масло, заполняющее цилиндрический и кольцевые каналы, нагреваются до температуры пластовой жидкости. До этой же температуры нагревается электродвигатель и находящееся в нем масло.
При включении электродвигателя масло дополнительно разогревается вследствие тепловыделений в обмотке статора, роторе, узлах трения. Нагретое масло из электродвигателя нагнетается циркуляционным насосом (не показан) через радиально-осевые отверстия 10 в верхней втулке 1 в кольцевые каналы 7, в которых расположены вставки 9 из открытоячеистой металлической пены, и движется по каналам вниз.
При течении через вставки 9 поток нагретого масла разбивается ребрами пенометаллического каркаса на мелкие струйки с характерным размером, определяемым диаметром ячейки пены. Обтекание стохастически ориентированных в пространстве ребер нарушает упорядоченность течения потока масла и обеспечивает его интенсивную турбулизацию. При соприкосновении горячих струй масла с более холодным металлическим каркасом вставок 9 происходит передача тепла и охлаждение масла. Турбулизация способствует интенсификации теплообмена между маслом и каркасом. Тепло от вставок 9 кондуктивной теплопроводностью передается стенкам труб 3, образующих кольцевые каналы 7. Сетчато-ячеистый каркас обеспечивает периодическое перестроение профиля скоростей в пограничном слое масла около стенок, что также усиливает теплообменный процесс. От стенок труб 3 тепло передается конвективной теплопроводностью к пластовой жидкости, движущейся противотоком в соседних кольцевых каналах 8, и уносится ею через радиально-осевые отверстия 12 вверх в скважину. Охлажденное в кольцевых каналах 7 масло через радиальные отверстия 11 в нижней втулке 2 попадает в цилиндрический канал 6 с пенометаллической вставкой 9, где дополнительно охлаждается за счет внутрипорового теплообмена по описанному выше механизму, при этом тепло передается через стенку трубы 3 в соседний кольцевой канал 8 и уносится пластовой жидкостью. Далее масло поступает в отверстие вала электродвигателя. При прохождении через отверстие вала, а затем через зазор между статором и ротором, масло нагревается вследствие тепловыделений в электродвигателе. Затем масло вновь оказывается в основании 4 и через радиально-осевые отверстия 10 в верхней втулке 1 возвращается в теплообменник. Цикл охлаждения масла пластовой жидкостью возобновляется и продолжается на протяжении работы электродвигателя, обеспечивая его нормальный тепловой режим.
Применение в маслозаполненных каналах теплообменника вставок из открытоячеистой металлической пены увеличивает поверхность теплообмена, что способствует уменьшению размеров и массы теплообменника и повышению интенсивности теплообмена.
Формула изобретения
1. Теплообменник для погружного маслозаполненного электродвигателя, состоящий из коаксиально установленных между верхней и нижней втулками труб, образующих цилиндрические и кольцевые каналы, цилиндрический и четные кольцевые каналы через отверстия в верхней втулке сообщены с полостью электродвигателя, каждый из четных кольцевых каналов через отверстия в нижней втулке связан с цилиндрическим каналом с образованием замкнутых контуров для движения масла, нечетные кольцевые каналы через отверстия в нижней и верхней втулках сообщены со скважиной с образованием проточных каналов для пластовой жидкости, отличающийся тем, что цилиндрический и четные кольцевые каналы снабжены интенсифицирующими вставками, выполненными из открытоячеистой металлической пены и скрепленными со стенками труб.
2. Теплообменник по п.1, отличающийся тем, что вставки выполнены в виде удлиненных цилиндрических оболочек или цилиндров, полностью заполняющих внутреннее пространство каналов.
3. Теплообменник по п.1, отличающийся тем, что вставки выполнены в виде секционированных цилиндрических оболочек или цилиндров, размещенных вплотную или на расстоянии друг от друга по длине канала.
4. Теплообменник по п.1, отличающийся тем, что размер ячейки открытоячеистой металлической пены во вставках возрастает в направлении движения масла.
5. Теплообменник по п.1 или 4, отличающийся тем, что размер ячеек открытоячеистой металлической пены составляет 0,4-4,5 мм.
6. Теплообменник по п.1, отличающийся тем, что открытоячеистая металлическая пена выполнена из меди, алюминия или других высокотеплопроводных металлов или сплавов.
РИСУНКИ
|
|