|
|
(21), (22) Заявка: 2005114798/06, 14.05.2005
(24) Дата начала отсчета срока действия патента:
14.05.2005
(43) Дата публикации заявки: 20.11.2006
(46) Опубликовано: 27.06.2007
(56) Список документов, цитированных в отчете о поиске:
DE 4130218 A1, 18.03.1993. SU 1530217 A1, 23.12.1989. SU 167706 A1, 01.01.1965. RU 2246979 C2, 27.02.2005. RU 2048165 C1, 20.11.1995. RU 2042393 C1, 27.08.1995. WO 96/04591 A1, 15.02.1996. US 5307796 A, 03.05.1994. US 5645627 A, 08.07.1997. US 5256176 A, 26.10.1993.
Адрес для переписки:
445028, Самарская обл., г. Тольятти, ул. Фрунзе, 35, кв.284, ООО “АЙНА”, Директору Л.С. Ивановой
|
(72) Автор(ы):
Шумилов Сергей Валентинович (RU)
(73) Патентообладатель(и):
ОБЩЕСТВО С ОГРАНИЧЕННОЙ ОТВЕТСТВЕННОСТЬЮ “АЙНА” (RU)
|
(54) СПОСОБ ИЗГОТОВЛЕНИЯ ВОЗДУХООЧИСТИТЕЛЯ И УСТРОЙСТВО ДЛЯ ОСУЩЕСТВЛЕНИЯ СПОСОБА
(57) Реферат:
Изобретение относится к области двигателестроения, а именно к способам изготовления воздухоочистителей с фильтрующими элементами, преимущественно панельного типа, для очистки воздуха, поступающего в двигатель внутреннего сгорания (далее ДВС) автотранспортных средств, а также к устройствам, в которых предлагаемый к рассмотрению способ может быть реализован. Способ изготовления воздухоочистителя, в частности, заключается в предварительном изготовлении фильтрующего элемента, включающем, по крайней мере, следующие технологические операции: нанесение с заданным шагом линий сгиба на ленту из фильтровального материала, гофрирование ленты в гофровальном приспособлении и складывание материала по линиям сгиба, установке изготовленного таким образом фильтрующего элемента между двумя полукорпусами (нижним и верхним), изготовленными из пластмассы методом литья под давлением, герметичном соединении полукорпусов, элементами крепления и монтаже на верхнем полукорпусе в зоне очищенного воздуха измерителя массы. Новым является то, что перед монтажом на верхнем полукорпусе измерителя массы воздуха через патрубок подвода воздуха нижнего полукорпуса внутрь воздухоочистителя, а именно в зону неочищенного воздуха, подают под давлением воздух и осуществляют продувку фильтрующего элемента и внутренней поверхности верхнего полукорпуса до полной очистки их поверхностей со стороны зоны очищенного воздуха верхнего полукорпуса, продувочный воздух при этом может иметь пульсирующий характер. Далее воздух выходит через патрубок отвода воздуха верхнего полукорпуса в окружающую среду, после чего подачу воздуха внутрь полости воздухоочистителя прекращают и осуществляют монтаж измерителя массы воздуха, который герметично закрывают технологической заглушкой. Кроме того, предложено конкретное устройство, с помощью которого описанный способ может быть промышленно реализован. 2 н. и 2 з.п. ф-лы, 4 ил.
Изобретение относится к области двигателестроения, а именно к способам изготовления воздухоочистителей с фильтрующими элементами, преимущественно, панельного типа, для очистки воздуха, поступающего в двигатель внутреннего сгорания (далее – ДВС) автотранспортных средств, а также к устройствам, в которых предлагаемый к рассмотрению способ может быть реализован.
В настоящее время на отечественном рынке автотранспорта появились большое количество автомобилей с бензиновыми (карбюраторными, впрыскными) и дизельными ДВС, укомплектованными воздухоочистителями со сменными фильтрующими элементами панельного типа (ФЭПТ). Это вызвано значительными преимуществами ФЭПТ по сравнению с традиционными цилиндрическими фильтрующими элементами (ФЭ), а именно:
– простотой конструкции,
– белее низкими затратами на их изготовление, т.к. ФЭПТ состоит практически их 2-х деталей,
– на порядок меньшими габаритами воздухоочистителя, при одной и той же площади фильтрующей поверхности, с цилиндрическими ФЭ, в одном из измерений (плоскостность), что позволяет разместить его под капотом автомобиля практически в любом месте. Особенностью конструкции воздухоочистителя для автомобилей с ДВС, имеющим впрыск бензина в цилиндры, является наличие измерителя массы воздуха, попадающего в ДВС, как часть системы электронного управления двигателем, патент ФРГ заявка №4130218, М. кл. МКИ F02M 35/02.
Что касается способа изготовления воздухоочистителя с ФЭПТ, то практически все ведущие в этой отрасли производители, например фирмы «MANN & HUMMEL» (ФРГ), «PUROLATOR» (ФРГ), «UFI» (Италия), изготавливают их одним и тем же способом, который описан ниже.
На автоматической производственной линии с помощью последовательно вступающего в действие инструмента на заготовку (лента фильтровального материала определенной ширины) наносятся линии сгиба за счет деформации фильтровального материала с образование гофр. При этом по краям заготовки наносятся клеевые дорожки с помощью экструдеров. Таким образом образуются гофры, а на торцевых участках гофр образуются односторонние карманы. Далее производится установка каркаса (сетки) и ленточная заливка эластичной массой со стороны карманов. Эластичная масса, обладая вспенивающими свойствами (например, пенополиуретан), пропитывает фильтровальный материал (картон) и, полимеризуясь при нагревании в специальной камере, создает герметичное соединение с фильтровальным картоном. Эластичная масса, полимеризуясь, приобретает свойства уплотнительного бурта, необходимого для герметизации ФЭПТ в корпусе воздухоочистителя. ФЭПТ далее помещают между верхним и нижним пластмассовыми полукорпусами воздухоочистителя, изготовленными методом литья под давлением, которые затем стягивают крепежными элементами между собой по периметру уплотнительного бурта ФЭПТ, создавая герметичное соединение. Нижний и верхний полукорпусы имеют заходные патрубки к которым подсоединяются соответственно воздухозаборник и измеритель массы воздуха.
Конечным этапом изготовления воздухоочистителя является установка измерителя расхода воздуха, представляющего собой цилиндрический полый корпус, по оси которого расположен электрический чувствительный элемент, в верхний полукорпус воздухоочистителя.
Недостатком указанного способа изготовления воздухоочистителя является возможность попадания пыли (органического и не органического происхождения) и волокон от ФЭПТ на поверхность чувствительного элемента измерителя массы воздуха из-за отслоения их во время нанесения на заготовку (фильтровальный материал) линий сгиба и последующем складывании заготовки в гофрированную ленту. Попадание пыли также может произойти при межоперационных переходах изготовления воздухоочистителя. При установке воздухоочистителя на автомобиль и включении ДВС поток воздуха, входящий через воздухозаборник в корпус воздухоочистителя захватит пыль и волокна, находящиеся на поверхности ФЭПТ со стороны очищенного воздуха. Оседая на поверхности чувствительного элемента измерителя массы воздуха пыль и волокна отрицательно повлияют на работу ДВС, что приведет к нестабильности его работы, увеличению расхода бензина и повышению токсичности (см. приложение 1).
Из авторского свидетельства СССР №1530217, МКИ4 B01D 41/00 известно устройство для очистки картонных воздушных фильтров ДВС, в частности, содержащее источник сжатого воздуха для его подвода внутрь полости воздухоочистителя посредством продувочного приспособления. Однако известное устройство отличается конструктивной сложностью и его достаточно проблематично использовать в современных технологиях изготовления воздухоочистителей ДВС.
Решение технической задачи направлено на повышение долговечности и точности замеров измерителя массы воздуха, поступающего в ДВС, и, как следствие, повышение стабильности работы ДВС, снижение токсичности выхлопных газов и повышение топливной экономичности.
Сущность заявляемого способа заключается в том, что в известном способе изготовления воздухоочистителя, заключающемся в предварительном изготовлении фильтрующего элемента, включающем, по крайней мере, следующие технологические операции: нанесение с заданным шагом линий сгиба на ленту из фильтровального материала, гофрирование ленты в гофровальном приспособлении и складывание материала по линиям сгиба, установке изготовленного таким образом фильтрующего элемента между двумя полукорпусами (нижним и верхним), изготовленными из пластмассы методом литья под давлением, герметичном соединении полукорпусов, элементами крепления и монтаже на верхнем полукорпусе, в зоне очищенного воздуха, измерителя массы воздуха, перед монтажом на верхнем полукорпусе измерителя массы воздуха, через патрубок подвода воздуха нижнего полукорпуса, внутрь воздухоочистителя, а именно в зону неочищенного воздуха, подают под давлением воздух и осуществляют продувку фильтрующего элемента и внутренней поверхности верхнего полукорпуса до полной очистки их поверхностей со стороны зоны очищенного воздуха верхнего полукорпуса, продувочный воздух при этом может иметь пульсирующий характер, далее воздух выходит через патрубок отвода воздуха верхнего полукорпуса в атмосферу, после чего подачу воздуха внутрь полости воздухоочистителя прекращают и осуществляют монтаж измерителя массы воздуха, который герметично закрывают технологической заглушкой.
Сущность устройства, предназначенного для реализации описанного воздуха, заключается в том, что в устройстве для осуществления способа по предыдущему пункту, содержащем, в частности, источник сжатого воздуха, снабженный средством подвода воздуха внутрь полости воздухоочистителя, средство подвода воздуха внутрь полости воздухоочистителя содержит ресивер, вентиль, расходомер с прибором визуального контроля величины давления и подводящий шланг, подключенный к монтажному приспособлению корпуса воздухоочистителя, которое, в свою очередь содержит ложемент, закрепленный на корпусе воздухоочистителя разъемными зажимами и снабженный горловиной, в которой, с образованием кольцевого зазора, соосно присоединительному участку подводящего шланга расположен патрубок подвода воздуха воздухоочистителя, причем входной торец названного патрубка герметично контактирует с дном ложемента через прокладку.
С целью повышения культуры производства и обеспечения требований охраны труда и техники безопасности внутренний объем верхнего полукорпуса, через патрубок отвода воздуха и смонтированный на нем отводящий шланг, может быть соединен с промышленным фильтром очистки воздуха с выходом в окружающую среду.
Изобретение поясняется графически.
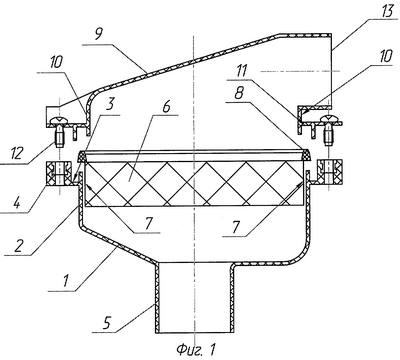
На Фиг.1 представлена схема сборки корпуса воздухоочистителя.
На Фиг.2 представлена схема сборки воздухоочистителя.
На Фиг.3 представлена схема стенда продувки корпуса воздухоочистителя воздухом.
На Фиг.4 представлена схема установки измерителя массы воздуха в корпус воздухоочистителя.
Предлагаемый способ изготовления воздухоочистителя осуществляется следующим образом.
В нижний пластмассовый полукорпус 1 (Фиг.1), имеющий замкнутую боковую стенку 2, паз 3, проходящий по контуру замкнутой боковой стенки 2, крепежные элементы 4 и патрубок подвода воздуха 5, устанавливается фильтрующий элемент (ФЭ) 6 панельного типа. ФЭ 6 представляет собой фильтрующий материал, согнутый в виде гофрированной ленты, имеющий вид параллелепипеда, боковые грани 7 которого параллельны боковым стенкам 2 нижнего полукорпуса 1. Уплотнитель 8 ФЭ 6 в виде буртика из эластичного материала (например, пенополиуретана) нанесен по периметру одной из больших граней пареллелепипеда. Верхний полукорпус 9, имеющий замкнутую боковую стенку 10, ответный паз 11, проходящий по контуру замкнутой боковой стенки 10 верхнего полукорпуса 9, ответные крепежные элементы 12 и патрубок отвода воздуха 13, совмещается с нижним полукорпусом 1 и ФЭ 6 и с помощью крепежных элементов 4 и 12 стягивается (Фиг.2). С помощью элементов крепления 4 и 12 происходит герметизация стыка паза 3, уплотнителя 8 и ответного паза 11 (Фиг.2). Нижний полукорпус 1, ФЭ 6, верхний полукорпус 9 и крепежные элементы 4 и 12 образуют воздухоочиститель в сборе 14 (Фиг.2), который устанавливается на приспособление 15 для продувки воздухом (Фиг.3). Приспособление 15 состоит из ложемента 16 с прижимами 17, герметизирующей прокладки 18 и горловины 19. К горловине 19 подсоединен с помощью подводящего шланга 20 ресивер 21, имеющий вентиль 22 и расходомер воздуха 23 со стрелочным прибором 24. Приспособление 15 также имеет отводящий шланг 25, который подсоединяют к патрубку отвода воздуха 13 верхнего полукорпуса 9, воздухоочистителя в сборе 14. После продувки воздухом с помощью приспособления 15 на воздухоочиститель в сборе 14 устанавливается измеритель массы воздуха 26 (Фиг.4), герметизация стыка между измерителем массы воздуха 26 и патрубком отвода воздуха 13 верхнего полукорпуса 9 обеспечивается прокладкой 27 из эластичного материала. Внутри измерителя массы воздуха 26 расположен чувствительный элемент 28. Финишной операцией изготовления воздухоочистителя является установка технологической заглушки 29 на открытый конец измерителя массы воздуха 26. Внутренний объем воздухоочистителя в сборе 14 разделяется ФЭ 6 на зоны неочищенного 30 и очищенного 31 воздуха (Фиг.2).
После сборки полукорпусов 1 и 9 вместе с ФЭ 6 и закрепления крепежными элементами 12 и 4 образованный таким образом воздухоочиститель в сборе 14 помещается в приспособление 15 для продувки воздухом. Эта операция необходима для удаления посторонних предметов органического и неорганического происхождения, в основном волокон целлюлозы, которые отслаиваются от фильтровального материала ФЭ 6 (картона), в момент его перегиба в гофровальном приспособлении при формировании гофр. Кроме того, могут быть и другие посторонние предметы (частицы), размер которых колеблется от нескольких микромиллиметров до нескольких миллиметров. Эти частицы прилипают к внутренней поверхности верхнего полукорпуса 9 и удерживаются с помощью статического электричества. На практике отсутствие данной технологической операции продувки воздухоочистителя в сборе 14 (в данном случае на приспособлении 15) приведет к негативным последствиям, т.к. после установки воздухоочистителя в сборе 14 с измерителем массы воздуха 26 на автомобиль часть указанных посторонних предметов, захваченных потоком воздуха при работе ДВС (не показан), попадет на чувствительный элемент 28 измерителя массы воздуха 26 (см. приложение 1). Это приведет к искажению показаний измерителя массы воздуха 26 (см. приложение 2, 3), что в свою очередь приведет к увеличению токсичности выхлопных газов и увеличению расхода бензина, что является дефектом автомобиля.
Воздухоочиститель в сборе 14 устанавливают в приспособление 15 таким образом, чтобы патрубок подвода воздуха 5 нижнего полукорпуса 1 попал в горловину 19. При этом торец патрубка подвода воздуха 5 должен присоединиться к прокладке 18. После этого с помощью прижимов 17 воздухоочиститель в сборе 14 устанавливается в ложемент 16. Сжатый воздух, поступающий из магистрали (не показана), входит в ресивер 21, давление в котором стабилизируется. При автоматическом или ручном открытии вентиля 22 и фиксированной площади его проходного сечения воздух из ресивера 21 поступает по шлангу 20 в воздухоочиститель в сборе 14. При этом расход воздуха измеряется расходомером 23 и отображается на приборе 24. Воздух проходит через патрубок 5, зону неочищенного воздуха 30 нижнего полукорпуса 1, ФЭ 6, зону очищенного воздуха 31, верхнего полукорпуса 9 и выходит через патрубок отвода воздуха 13 в отводящий шланг 25, свободный конец которого может быть соединен с промышленным фильтром очистки воздуха. При этом потоком воздуха захватываются указанные частицы и выносятся с поверхности ФЭ 6 и внутренней поверхности верхнего полукорпуса 9, чем и достигается положительный эффект.
Для улучшения очистки внутренней поверхности зоны очищенного воздуха 31, сжатый воздух может иметь пульсирующий характер, что способствует раскачке и отрыву прилипших к внутренней поверхности верхнего полукорпуса 9 частиц и выносу их далее через отводящий шланг 25.
Формула изобретения
1. Способ изготовления воздухоочистителя, заключающийся в предварительном изготовлении фильтрующего элемента, включающем, по крайней мере, следующие технологические операции: нанесение с заданным шагом линий сгиба на ленту из синтетического материала или материала на основе целлюлозы, гофрование ленты в гофровальном приспособлении и складывание материала по линиям сгиба, установке изготовленного таким образом фильтрующего элемента между двумя полукорпусами (нижним и верхним), изготовленными из пластмассы методом литья под давлением, герметичном соединении полукорпусов и монтаже на верхнем полукорпусе измерителя массы воздуха, отличающийся тем, что перед монтажом на верхнем полукорпусе измерителя массы воздуха через вход нижнего полукорпуса внутрь воздухоочистителя подают под давлением воздух и осуществляют продувку фильтрующего элемента до полной очистки его поверхности со стороны верхнего полукорпуса, после чего подачу воздуха внутрь полости воздухоочистителя прекращают и осуществляют монтаж измерителя массы воздуха, который герметично закрывают технологической заглушкой.
2. Способ по п.1, отличающийся тем, что продувочный воздух может иметь пульсирующий характер.
3. Устройство для осуществления способа изготовления воздухоочистителя, содержащее, в частности, источник сжатого воздуха, снабженный средством подвода воздуха внутрь полости воздухоочистителя, отличающееся тем, что средство подвода воздуха внутрь полости воздухоочистителя содержит ресивер, вентиль, расходомер с прибором визуального контроля величины давления и подводящий шланг, подключенный к монтажному приспособлению корпуса воздухоочистителя, которое, в свою очередь, содержит ложемент, закрепленный на корпусе воздухоочистителя разъемными зажимами и снабженный горловиной, в которой с образованием кольцевого зазора соосно с присоединительным участком подводящего шланга расположен патрубок подвода воздуха воздухоочистителя, причем входной торец названного патрубка герметично контактирует с дном ложемента через прокладку.
4. Устройство по п.3, отличающееся тем, что внутренний объем верхнего полукорпуса через патрубок отвода воздуха и смонтированный на нем отводящий шланг соединен с промышленным фильтром очистки воздуха с выходом в окружающую среду.
РИСУНКИ
|
|