|
|
(21), (22) Заявка: 2006103593/06, 07.02.2006
(24) Дата начала отсчета срока действия патента:
07.02.2006
(46) Опубликовано: 27.06.2007
(56) Список документов, цитированных в отчете о поиске:
RU 2171391 C1, 27.07.2001. RU 2120561 C1, 20.10.1998. RU 2194185 C2, 10.12.2002. RU 2176745 C2, 10.12.2001. US 5209210 A, 11.05.1993. US 5816287 A, 06.10.1998. US 5123459 A, 23.06.1992. US 4815436 A, 28.03.1989. US 3884204 A, 20.05.1975. EP 0242049 A1, 21.07.1987.
Адрес для переписки:
144001, Московская обл., г. Электросталь, ул. К. Маркса, 1, ОАО “ЭХМЗ”
|
(72) Автор(ы):
Майоров Виктор Фёдорович (RU), Сырычко Василий Владимирович (RU), Куликов Николай Константинович (RU), Мухин Виктор Михайлович (RU), Симонов Виталий Алексеевич (RU)
(73) Патентообладатель(и):
Открытое акционерное общество “Электростальский химико-механический завод” (ОАО “ЭХМЗ”) (RU)
|
(54) АДСОРБЕР УЛАВЛИВАНИЯ ПАРОВ БЕНЗИНА
(57) Реферат:
Изобретение относится к двигателестроению, в частности к экологии автомобилей, и может быть использовано для улавливания паров бензина, испаряющихся из топливной системы (бензобака, карбюратора, камеры впрыскивания). Изобретение позволяет повысить степень десорбции н-бутана (как основной испаряющейся фракции бензина) при эксплуатации адсорбера при низких температурах на 20-30% и одновременно существенно упростить его изготовление. Адсорбер улавливания паров бензина из топливной системы автомобилей содержит корпус, крышку с патрубками входа и выхода бензиновоздушной смеси, подающую трубку, верхнюю и нижнюю перфорированные решетки с расположенными на них прокладками, слой зерненого активного угля, систему уплотнения, входную и выходную полости. Корпус выполнен со скруглением с четырех сторон. Крышка снабжена двумя полыми сборниками конденсата, к которым присоединены патрубки. Подающая трубка с входного конца снабжена распорами. Система уплотнения установлена на выходном конце подающей трубки и представляет собой запорную шайбу с прижимным выступом, надеваемую на выходной конец подающей трубки, и фиксируется на ней с помощью паза. Нижняя решетка имеет бортик для образования выходной полости. Высота входной полости равна 1,8-2,5 высоты выходной полости. 3 з.п. ф-лы, 4 ил.
Изобретение относится к области экологии автомобилей и может быть использовано для улавливания паров бензина, испаряющихся из топливной системы (бензобака, карбюратора, камеры впрыскивания).
Известен адсорбер улавливания паров из топливной системы автомобиля, содержащий цилиндрический корпус с крышкой, снабженной патрубками входа и выхода бензиновоздушной смеси (БВС), слой адсорбента в виде полого цилиндрического блока, состоящего из активного угля и полиэтилена, сборник конденсата в днище корпуса под слоем адсорбента, электромагнитный клапан с патрубком продувки и прокладками, герметизирующими полость блока (см. пат. РФ №2120561, опубл. 20.10.1998 г.).
Недостатками изобретения являются низкий коэффициент использования адсорбирующих свойств активного угля, а также высокое сопротивление блока при продувке воздухом.
Наиболее близким к предложенному устройству по технической сущности и количеству совпадающих признаков является адсорбер улавливания паров бензина в топливной системе автомобиля, содержащий цилиндрический корпус из полиэтилена высокого давления или полиамида, крышку с патрубками входа и выхода бензиновоздушной смеси, которая соединяется с корпусом замковым пазом со слоем герметика или путем сварки, подающую трубку, сборник конденсата на днище корпуса, входную и выходную полости, слой зерненого (1-3 мм) активного угля или блочного сорбента, систему уплотнения в виде стержней с гайками и электромагнитный клапан с патрубком продувки, причем сборник снабжен двухсекционной цилиндрической вставкой с центральным патрубком подачи жидкой фазы и отверстиями сообщения и имеет соотношение объемов внутренней и внешней секций 1:10-19, подающая трубка имеет диаметр 0,09-0,12 диаметра корпуса, а выходная полость имеет объем, составляющий 0,04-0,08 объема слоя адсорбента (см. пат. РФ №2171391, опубл. 27.07.2001).
Недостатками прототипа являются низкая степень десорбции паров н-бутана (как основной испаряющейся фракции бензина) при низких температурах воздуха и сложность изготовления адсорбера.
Техническим результатом изобретения является повышение степени десорбции н-бутана (как основной испаряющейся фракции бензина) при эксплуатации адсорбера при низких температурах и существенное упрощение его конструкции.
Поставленная задача достигается предложенным адсорбером улавливания паров бензина, выделяемых топливной системой автомобиля, включающим корпус, крышку с патрубками входа и выхода бензиновоздушной смеси, подающую трубку, верхнюю и нижнюю перфорированные решетки с расположенными на них прокладками, слой зерненого активного угля, систему уплотнения, входную и выходную полости, причем корпус выполнен со скруглением с четырех сторон, крышка снабжена двумя полыми сборниками конденсата к которым присоединены патрубки, подающая трубка с входного конца снабжена распорами, система уплотнения установлена на выходном конце подающей трубки и представляет собой запорную шайбу с прижимным выступом, надеваемую на выходной конец подающей трубки, и фиксируется на ней с помощью паза, при этом нижняя решетка имеет бортик для образования выходной полости, а высота входной полости равна 1,8-2,5 высоты выходной полости; при этом скругления корпуса с трех сторон имеют радиус, равный 0,45-0,55 радиуса скругления с четвертой стороны, прокладки состоят из чередующихся слоев поролона, армирующей сетки и фильтрующего материала, а зерна активного угля имеют размер 0,5-1,0 мм.
Отличие предложенного адсорбера от прототипа заключается в том, что корпус выполнен со скруглением с четырех сторон, крышка снабжена двумя полыми сборниками конденсата, к которым присоединены патрубки, подающая трубка с входного конца снабжена распорами, система уплотнения установлена на выходном конце подающей трубки и представляет собой запорную шайбу с прижимным выступом, надеваемую на выходной конец подающей трубки, и фиксируется на ней с помощью паза, при этом нижняя решетка имеет бортик для образования выходной полости, а высота входной полости равна 1,8-2,5 образования выходной полости, а высота входной полости равна 1,8-2,5 высоты выходной полости; при этом скругления корпуса с трех сторон имеют радиус, равный 0,46-0,55 радиуса скругления с четвертой стороны, прокладки состоят из чередующихся слоев поролона, армирующей сетки и фильтрующего материала, а зерна активного угля имеют размер 0,5-1,0 мм.
Из научно-технической литературы авторам не известен адсорбер, в котором корпус выполнен в виде скругленного прямоугольника, крышка снабжена двумя полыми сборниками конденсата, к которым присоединены патрубки, подающая трубка с входного конца снабжена распорами, система уплотнения установлена на выходном конце подающей трубки и представляет собой запорную шайбу с прижимным выступом, надеваемую на выходной конец подающей трубки, и фиксируется на ней с помощью паза, при этом нижняя решетка имеет бортик для образования выходной полости, а высота входной полости равна 1,8-2,5 высоты выходной полости; при этом скругления корпуса с трех сторон имеют радиус, равный 0,45-0,55 радиуса скругления с четвертой стороны, прокладки состоят из чередующихся слоев поролона, армирующей сетки и фильтрующего материала, а зерна активного угля имеют размер 0,5-1,0 мм.
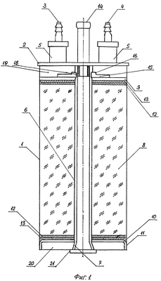
Сущность изобретения поясняется чертежами. На фиг.1 изображен общий вид адсорбера, на фиг.2 изображена крышка адсорбера со сборниками конденсата, на фиг.3 изображена нижняя перфорированная решетка с бортиком, на фиг.4 изображено крепление запорной шайбы с прижимным выступом.
Предлагаемый адсорбер включает корпус 1 с крышкой 2, на которой размещены патрубок входа бензиновоздушной смеси 3 и патрубок выхода БВС-4, соединенные с крышкой 2 через полые сборники конденсата 5, подающую трубку 6,снабженную распорами 7, слой зерненного активного угля 8, верхнюю (плоскую) перфорированную решетку 9, нижнюю перфорированную решетку 10 с бортиком 11, прокладки, состоящие из чередующихся слоев поролона 12 и фильтрующего материала с армирующей сеткой 13, патрубка соединения с атмосферой 14, систему уплотнения, состоящую из запорной шайбы 15, снабженной прижимным выступом 16, имеющим разрезы 17, причем шайба фиксируется на подающей трубке с помощью кольцевого паза 18, входную полость 19 между крышкой 2 и слоем активного угля и выходную полость 20 между дном корпуса и слоем активного угля, при этом на внешней стороне корпуса расположена планка 21 для фиксации адсорбента в моторе автомобиля, сам корпус имеет скругление 22 с одного угла и скругление 23 с трех других углов, а перфорация решеток представляет собой круглые отверстия 24, расположенные в определенном порядке.
Адсорбер работает следующим образом.
При неработающем двигателе адсорбер работает в режиме адсорбции. В результате избыточного давления в бензобаке БВС через входной патрубок 3 поступает в сборник конденсата 5, который закреплен на крышке 2, проходит во входную полость 19, где равномерно распределяется по сечению верхней перфорированной решетки 9, проходит последовательно через отверстия 24, слой поролона 12, слой фильтрующего материала с армирующей сеткой 13, слои зерненого активного угля 8, затем последовательно нижний слой фильтрующего материала с армирующей сеткой 13 и слой поролона 12, нижнюю перфорированную решетку 10 и поступает уже освобожденной от паров бензина, который поглотился в слое активного угля 8, в выходную полость 20, образованную бортиком 11, и между зазорами распоров 7 очищенный воздух направляется во входной конец подающей трубки 6, проходит ее снизу вверх и через патрубок соединения с атмосферой 14 удаляется.
В режиме десорбции (при работающем двигателе) на патрубок выхода 4 подается разряжение, за счет чего атмосферный воздух начинает поступать в патрубок соединения с атмосферой 14, проходит подающую трубку 6 и через зазоры распоров 7 поступает в выходную полость 20, распределяется в ней равномерно по сечению нижней перфорированной решетки 10 и через ее отверстие 24, нижний слой фильтрующего материала с армирующей сеткой 13 и слой поролона 12 идет в слой зерненого активного угля 8 и, проходя его, десорбирует (удаляет) поглощенные пары бензина из пористой структуры активного угля; образовавшаяся БВС проходит верхний слой фильтрующего материала с армирующей сеткой 12, слой поролона 13 и поступает во входную полость и из нее через правый сборник конденсата 5 уходит через патрубок выхода 4 в двигатель на сжигание. Система уплотнения, состоящая из шайбы 15 с прижимным выступом 16, имеющим разрезы 17, фиксируется на подающей трубке 6 за счет кольцевого паза 18 и обеспечивает таким образом плотную упаковку слоя зерненого активного угля, исключающую его истирание при тряске, вызванной двигателем автомобиля, а с другой стороны, исключает образование пустот и воздушных каналов и обеспечивает, таким образом, равномерную отработку слоев активного угля как в режиме адсорбции, так и в режиме десорбции.
Переключение адсорбера со стадии адсорбции на стадию десорбции и обратно осуществляется электромагнитным клапаном (на фигурах показано).
Исследования, проведенные при отработке конструкции адсорбера, показали, что если высота (объем) входной полости больше чем в 2,5 раза высоты (объема) выходной полости, то резко возрастает сопротивление слоя зерненого активного угля, а если она меньше чем 1,8 раза, то нарушается равномерность распределения потока БВС в слое зерненого активного угля.
Также было установлено, что радиусы скругления придают корпусу большую механическую прочность при эксплуатации, причем больший радиус скругления со стороны патрубка выхода 4 позволяет полностью испарять жидкую фракцию бензина в случае образования ее в сборнике конденсата 5. Если радиус скругления с трех сторон больше 0,55 радиуса скругления с четвертой стороны, то наблюдается снижение скорости продувки при постоянном разряжении на двигателе, а если это соотношение меньше 0,45, то в камере сборника конденсата 5 около выходного патрубка 4 наблюдается повышенное образование конденсата жидкой фракции бензина.
Слои поролона 13 и слои фильтрующего материала с армирующей сеткой из марли типа РФМ предотвращают выделение угольной пыли из слоя активного угля.
Корпус адсорбера 1, крышка 2 с расположенными на ней патрубками 3, 4 и 14 и сборниками конденсата 5 изготавливаются из полиамида, причем соединение крышки 2 с корпусом 1, а также патрубков 3 и 4 со сборниками конденсата 5 осуществляется путем сварки токами высокой чистоты; перфорированные решетки 9 и 10, запорная шайба 15 с прижимным выступом 16 также изготавливаются из полиамида, подающая трубка 6 также выполняется из полиамида.
Зерненый активный уголь типа АД-4 имеет размер частиц 0,5-1,0 мм. При размере частиц менее 0,5 мм резко возрастает сопротивление слоя, а при размере частиц больше 1,0 мм снижается адсорбционная способность. Испытание адсорбера по ТУ 4541-058-05754293-2004 «Адсорбер» в цикле адсорбция – десорбция н-бутана в смеси с азотом в соотношении 1:1 показало, что масса поглощенного н-бутана в стационарном режиме поставляла 50-52 г, при этом степень десорбции н-бутана из насыщенного активного угля при продувке воздухом (влажность 40%, температура 80°С в течение 15 мин) составляла 80-85%. В то же время испытания адсорбера, изготовленного по прототипу (пат. РФ №2171391), показали, что в аналогичных условиях испытания степень десорбции составляет 55-60%.
Более высокая степень десорбции н-бутана, достигаемая в предлагаемом адсорбере, позволяет лучше готовить активный уголь к стадии адсорбции и, таким образом, обеспечивать надежную защиту окружающей среды от паров бензина, особенно в холодное время года.
Уплотнение слоя активного угля за счет защелкивания запорной шайбы 16 с прижимным выступом 17 в цилиндрическом пазе 18, применение крепления всех элементов сваркой токами высокой частоты, рациональная форма корпуса, перфорированных решеток, прокладок, патрубков и подающей трубки значительно упростили сборку адсорбера, его установку в моторе автомобиля и саму эксплуатацию.
Из изложенного следует, что каждый из признаков заявленной совокупности в большей или меньшей степени влияет на достижение поставленной задачи, а вся совокупность является достаточной для характеристики заявленного технического решения.
Формула изобретения
1. Адсорбер улавливания паров бензина, выделяемых топливной системой автомобиля, включающий корпус, крышку с патрубками входа и выхода бензиновоздушной смеси, подающую трубку, верхнюю и нижнюю перфорированные решетки с расположенными на них прокладками, слой зерненого активного угля, систему уплотнения, входную и выходную полости, отличающийся тем, что корпус выполнен со скруглением с четырех сторон, крышка снабжена двумя полыми сборниками конденсата, к которым присоединены патрубки, подающая трубка с входного конца снабжена распорами, система уплотнения установлена на выходном конце подающей трубки и представляет собой запорную шайбу с прижимным выступом, надеваемую на выходной конец подающей трубки, и фиксируется на ней с помощью паза, при этом нижняя решетка имеет бортик для образования выходной полости, а высота входной полости равна 1,8-2,5 высотам выходной полости.
2. Адсорбер по п.1, отличающийся тем, что скругления корпуса с трех сторон имеют радиус, равный 0,45-0,55 радиуса скругления с четвертой стороны.
3. Адсорбер по п.1, отличающийся тем, что прокладки состоят из чередующихся слоев поролона, армирующей сетки и фильтрующего материала.
4. Адсорбер по п.1, отличающийся тем, что зерна активного угля имеют размер 0,5-1,0 мм.
РИСУНКИ
|
|