|
|
(21), (22) Заявка: 2003129156/06, 29.09.2003
(24) Дата начала отсчета срока действия патента:
29.09.2003
(43) Дата публикации заявки: 27.03.2005
(46) Опубликовано: 27.06.2007
(56) Список документов, цитированных в отчете о поиске:
SU 514110 А, 15.05.1976. SU 1643761 A1, 23.04.1991. SU 1784742 A, 30.12.1992. WO 82/03891 A1, 11.11.1982. DE 19754917 A1, 18.06.1998.
Адрес для переписки:
390014, г.Рязань, Военный автомобильный институт, НИО, А.Д. Герасимову
|
(72) Автор(ы):
Писарчук Андрей Васильевич (RU), Борсяков Михаил Владимирович (RU)
(73) Патентообладатель(и):
Военный автомобильный институт (RU)
|
(54) УСТРОЙСТВО ДЛЯ РЕГУЛИРОВАНИЯ ПОДАЧИ ТОПЛИВНОГО НАСОСА ВЫСОКОГО ДАВЛЕНИЯ
(57) Реферат:
Изобретение относится к области двигателестроения, в частности, может использоваться в двигателях внутреннего сгорания с воспламенением от сжатия. Изобретение позволяет осуществлять более точную корректировку подачи топлива при использовании топлив различной вязкости и плотности. Устройство для регулирования подачи топливного насоса высокого давления содержит цилиндр с поршнем, установленным в корпусе и образующим рабочую камеру, связанную с источником постоянного давления через основной дроссель. Со сливом рабочая камера связана через дополнительный дроссель. Устройство содержит дополнительную камеру, соединенную со сливом, с установленной в ней пружиной, и сочлененный с поршнем упор рейки насоса. Устройство дополнительно содержит дроссель постоянной пропускной способности. Топливо поступает через канал из рабочей камеры к дополнительному дросселю постоянной пропускной способности и дополнительному дросселю переменной пропускной способности. 1 ил.
Изобретение относится к области двигателестроения, в частности, может использоваться на двигателях внутреннего сгорания с воспламенением от сжатия.
Наиболее близким решением, выбранным в качестве прототипа, является устройство для регулирования подачи топливного насоса, содержащее цилиндр с поршнем, установленные в корпусе и образующие рабочую камеру, связанную с источником постоянного давления, соединенную со сливом дополнительную камеру с установленной в ней пружиной и сочлененный с поршнем упор рейки насоса, рабочая полость связана с источником постоянного давления через основной дроссель, а со сливом – через дополнительный дроссель, причем основной дроссель выполнен в виде концентрической щели между цилиндром и корпусом (авторское свидетельство СССР №514100 МПК F02М 43/00, 1976 г.).
Наряду с достоинствами данное устройство имеет ряд недостатков. Длина основного дросселя велика, что замедляет начало работы устройства. Диаметр основного дросселя не обеспечивает необходимого давления для значительного увеличения подачи. Установленный дополнительный дроссель осуществляет довольно быстрый отвод излишка топлива, тем самым не обеспечивает необходимого давления для перемещения поршня. Наиболее значительно это проявляется при работе дизеля на различных топливах, имеющих вязкость и плотность, изменяющиеся в достаточно широком диапазоне.
Технический результат направлен на более точную корректировку подачи топлива при использовании топлив различной вязкости и плотности.
Технический результат достигается тем, что устройство для регулирования подачи топливного насоса высокого давления, содержащее цилиндр с поршнем, установленным в корпусе и образующим рабочую камеру, связанную с источником постоянного давления через основной дроссель, а со сливом через дополнительный дроссель, дополнительную камеру, соединенную со сливом, с установленной в ней пружиной, и сочлененный с поршнем упор рейки насоса, при этом оно дополнительно содержит дроссель постоянной пропускной способности, топливо поступает через канал из рабочей камеры к дополнительному дросселю постоянной пропускной способности и дополнительному дросселю переменной пропускной способности.
Сопоставительный анализ заявленного решения и выбранного в качестве прототипа показывает, что предлагаемые мероприятия позволят уменьшить время срабатывания устройства, а также обеспечить ступенчатое изменение давления топлива на подвижный поршень.
Отличительным признаком от прототипа является то, что оно дополнительно содержит дроссель постоянной пропускной способности, топливо поступает через канал из рабочей камеры к дополнительному дросселю постоянной пропускной способности и дополнительному дросселю переменной пропускной способности.
Признаки, отличающие заявляемое техническое решение, не выявлены в других технических решениях при изучении данной и смежной областей техники и, следовательно, соответствуют заявляемому критерию «существенное отличие».
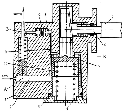
На чертеже изображен общий вид устройства для регулирования подачи топливного насоса высокого давления.
Устройство для регулирования подачи топливного насоса высокого давления состоит из корпуса 1, канала 2 постоянного давления, цилиндра 3, пружины 4, поршня 5, подвижного упора 6, рейки 7, дополнительного дросселя постоянной пропускной способности 8, дополнительного дросселя переменной пропускной способности 9, состоящего из набора дроссельных шайб, и основного дросселя 10, выполненного в виде концентрической щели между цилиндром 3 и корпусом 1.
Устройство работает следующим образом.
Топливо поступает к каналу 2 постоянного давления, который поддерживает между полостью А постоянного давления и полостью Б слива постоянный перепад давления, и через канал а на вход в основной дроссель 10, соединенный с рабочей полостью В, в которой расположен подвижный поршень 5, связанный с клином, по которому скользит упор 6 рейки 7. Из этой полости топливо через канал поступает к дополнительному дросселю постоянной пропускной способности 8 и дополнительному дросселю переменной пропускной способности 9 и далее через полость Б на слив. При изменении вязкости протекающего топлива изменяется сопротивление дополнительных дросселей 8 и 9, причем это изменение происходит ступенчато. Вследствие этого давление в рабочей полости изменяется, что вызывает перемещение поршня 5 в цилиндр 3 и связанных с ним клина и упора 6 рейки 7. Дополнительные дроссели переменной пропускной способности 9 и постоянной пропускной способности 8 обеспечивают плавное изменение давления топлива в полости Б и тем самым более точную корректировку подачи топлива.
При увеличении вязкости топлива сопротивление основного 10 и дополнительных 8 и 9 дросселей возрастает, давление в рабочей полости В возрастает, и пружина 4 сдвигает упор в положение, соответствующее уменьшению подачи топливного насоса высокого давления. При уменьшении вязкости топлива давление в рабочей полости В уменьшается, пружина 4 разжимается, упор 6 и рейка 7 топливного насоса высокого давления смещаются в сторону увеличения подачи.
Применение предлагаемого устройства позволяет повысить надежность работы дизелей с автоматической коррекцией подачи в зависимости от вязкости и плотности применяемого топлива. Устройство может быть использовано на топливных насосах высокого давления многотопливных дизелей, работающих на различных топливах (бензинах, керосинах, дизельных топливах и их смесях), а также для корректирования максимальной подачи топливных насосов высокого давления обычных дизелей в зависимости от температуры топлива.
Формула изобретения
Устройство для регулирования подачи топливного насоса высокого давления, содержащее цилиндр с поршнем, установленным в корпусе и образующим рабочую камеру, связанную с источником постоянного давления через основной дроссель, а со сливом через дополнительный дроссель, дополнительную камеру, соединенную со сливом, с установленной в ней пружиной и сочлененный с поршнем упор рейки насоса, отличающееся тем, что дополнительно содержит дроссель постоянной пропускной способности, топливо поступает через канал из рабочей камеры к дополнительному дросселю постоянной пропускной способности и дополнительному дросселю переменной пропускной способности.
РИСУНКИ
MM4A – Досрочное прекращение действия патента СССР или патента Российской Федерации на изобретение из-за неуплаты в установленный срок пошлины за поддержание патента в силе
Дата прекращения действия патента: 30.09.2007
Извещение опубликовано: 20.05.2009 БИ: 14/2009
|
|