|
|
(21), (22) Заявка: 2005111095/06, 15.04.2005
(24) Дата начала отсчета срока действия патента:
15.04.2005
(30) Конвенционный приоритет:
15.04.2004 (пп.1-9) US 10/825,254
(43) Дата публикации заявки: 20.10.2006
(46) Опубликовано: 27.06.2007
(56) Список документов, цитированных в отчете о поиске:
US 3082600 А, 26.03.1963. RU 2078237 C1, 27.04.1997. RU 2133866 C1, 27.07.1999. US 3144877 A, 18.08.1964. GB 1008157 A, 27.10.1965.
Адрес для переписки:
127055, Москва, а/я 11, пат.пов. Н.К.Попеленскому, рег. № 31
|
(72) Автор(ы):
АВАМПАТО Тим Джозеф (US), БОТИСТА Энтони (US), ТЕППЕР Бет Эллен (US)
(73) Патентообладатель(и):
Юнайтид Текнолоджиз Копэрейшн (US)
|
(54) КЛАПАН РЕГУЛИРОВАНИЯ ТЯГИ РАКЕТНОГО ДВИГАТЕЛЯ И РЕГУЛЯТОР ПОТОКА ДЛЯ НЕГО
(57) Реферат:
Изобретение относится к клапану регулирования тяги со снижением коэффициента усиления, предназначенному для использования в ракетном двигателе. Клапан имеет корпус с впускным каналом текучей среды и узел поршня-цилиндра для регулирования выпуска текучей среды из клапана. Впускной канал текучей среды имеет, по крайней мере, один регулятор потока, выполненный в нем. По крайней мере, один регулятор потока имеет прямоугольную часть обеспечения улучшенной стабильности регулирования, Т-образную и щелевидную часть регулирования тяги в переходном стартовом режиме и часть фиксированного байпаса турбины, предназначенную для сопряжения с фиксатором. Фиксатор содержит, по меньшей мере, один канал текучей среды и обеспечивает воспроизводимое регулирование заданного фиксированного расхода байпасного потока. Изобретение обеспечивает регулирование тяги со снижением коэффициента усиления, устраняет колебания регулирующих воздействий. 2 н. и 7 з.п. ф-лы, 5 ил.
Область техники, к которой относится изобретение
Настоящее изобретение относится к клапану регулирования тяги со снижением коэффициента усиления, предназначенному для использования в основных (мощных) ракетных двигателях с расширительным циклом.
Уровень техники
Существующим клапанам регулирования тяги, используемым в ракетных двигателях, свойственно колебание характеристик на всех режимах работы. Кроме того, им свойственно не воспроизводимое регулирование заданного постоянного расхода байпасного потока. В настоящее время отказываются от применения ракетных двигателей, в которых использованы существующие клапаны регулирования тяги, из-за высокой амплитуды колебаний регулирующих воздействий и повышенных уровней 1Е вибраций (термин, использующийся в аэрокосмической отрасли США, также известный как 1n частота, представляющий собой измеряемый параметр вибраций, связанных с соотношением частоты вибрации и рабочей точкой динамики вращения оси турбонасоса), а также неприемлемых результатов при внесении изменений в оборудование для достижения необходимого постоянного расхода потока текучей среды через байпас турбины.
В патенте США 3082600 описан клапан регулирования тяги для ракетного двигателя, содержащий корпус с впускным каналом текучей среды, в котором выполнен по меньшей мере один регулятор потока, и узел “поршень-цилиндр” для регулирования выпуска текучей среды из указанного клапана. Однако он также имеет описанные выше недостатки, и имеется необходимость в создании более усовершенствованной конструкции клапана регулирования тяги.
Сущность изобретения
Соответственно целью настоящего изобретения является создание улучшенного клапана регулирования тяги со снижением коэффициента усиления (с уменьшенным коэффициентом передачи), предназначенного для использования в ракетных двигателях.
Другой целью настоящего изобретения является создание клапана регулирования тяги со снижением коэффициента усиления, использование которого устраняет колебания регулирующих воздействий, снижает уровни 1Е вибраций и снижает внутренний износ турбоагрегатов.
Указанные цели достигаются за счет использования клапана регулирования тяги со снижением коэффициента усиления, выполненного в соответствии с настоящим изобретением.
В соответствии с настоящим изобретением предлагается клапан регулирования тяги, предназначенный для использования в ракетном двигателе, в общем содержащий корпус, имеющий впускной канал (отверстие) текучей среды, и узел поршня-цилиндра, предназначенный для регулирования выпуска текучей среды из указанного клапана и расположенный внутри корпуса. Впускной канал текучей среды имеет по крайней мере один регулятор потока, выполненный в корпусе. Каждый регулятор потока содержит средство обеспечения улучшенной стабильности регулирования, средство регулирования тяги в переходной стартовой фазе работы двигателя и средство сопряжения с (размещения) калиброванным фиксатором.
Другие подробности устройства клапана регулирования тяги со снижением коэффициента усиления, выполненного в соответствии с настоящим изобретением, а также другие достигнутые цели и преимущества указаны в последующем подробном описании и прилагаемых чертежах, на которых одинаковыми ссылочными номерами обозначены одинаковые элементы.
Перечень фигур чертежей и иных материалов
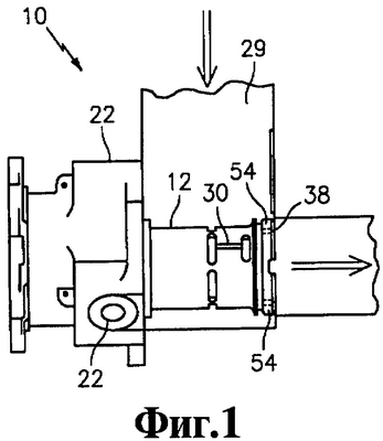
На фиг.1 представлен вид сбоку клапана регулирования тяги, выполненного в соответствии с настоящим изобретением.
На фиг.2 представлено поперечное сечение клапана регулирования тяги, выполненного в соответствии с настоящим изобретением, без фиксатора.
На фиг.3 представлен вид сзади клапана регулирования тяги, выполненного в соответствии с настоящим изобретением.
На фиг.4 представлен вид сбоку части корпуса, использованного в клапане регулирования тяги с фиг.1 и имеющего по крайней мере один регулятор потока.
На фиг.5 представлен вид сбоку фиксатора, использованного в клапане регулирования тяги с фиг.1.
Сведения, подтверждающие возможность осуществления изобретения
Обратимся теперь к чертежам, схематично представленным на фигурах 1-3, на которых показан клапан 10 регулирования тяги со снижением коэффициента усиления, выполненный в соответствии с настоящим изобретением. Клапан 10 регулирования тяги со снижением коэффициента усиления имеет корпус 12 и узел 14 поршня-цилиндра, расположенный внутри корпуса 12. Узел 14 поршня-цилиндра перемещается в осевом направлении, как одно целое, вдоль внутренней поверхности 16 корпуса 12 и включает в себя поршень 24 и цилиндр 15. Цилиндр 15 предпочтительно установлен внутри корпуса 12 с плотной скользящей посадкой.
На фиг.1 и 2 можно видеть, что корпус 12 имеет группу регуляторов потока (дозирующих элементов) 30, выполненных механической (машинной) обработкой или отформованных в нем. Текучая среда подается к регуляторам потока 30 через турбинный впускной напорный канал 29, расположенный вокруг корпуса 12. При осевом перемещении узла 14 поршня-цилиндра регуляторы потока 30 открываются или закрываются в зависимости от требований (режима работы) двигателя. Корпус 12 также содержит группу отверстий (окон) 22, которые могут быть использованы для подключения приборов и т.п. Как показано на фиг.3, каждый регулятор потока 30 смещен от одного из отверстий 22 на угол шестьдесят градусов (на данной фигуре показано место выполнения отверстий 22, которые непосредственно на данном виде не видны).
На фиг.4 можно видеть, что каждый регулятор потока 30 содержит средство обеспечения стабильности регулирования и диапазона стабильной работы двигателя, содержащее (или выполненое в виде) в основном прямоугольную часть 32 для обеспечения запаса по стабильности регулирования и диапазона стабильной работы двигателя. Прямоугольная часть 32 выполнена таким образом, и размеры ее подобраны так, чтобы обеспечить запас по стабильности регулирования и значительный диапазон стабильной работы для всех моделей основных ракетных двигателей.
Каждый регулятор потока 30 имеет также средство регулирования тяги в переходной стартовой фазе работы двигателя, содержащее (или выполненое в виде) Т-образную и щелевидную часть 34 (с Т-образным и щелевым участками) для регулирования тяги в переходной стартовой фазе работы двигателя. За счет этой части регулируется значение тяги в стартовом режиме, когда процесс еще не установился. Кроме того, каждый регулятор потока 30 имеет средство сопряжения с фиксатором, содержащим часть 36 фиксированного байпаса турбины, сопряженную с фиксатором 38 в виде проставки, имеющим регулировочное отверстие 40, обеспечивающее воспроизводимое регулирование (требуемого для данного случая) постоянного расхода текучей среды через байпас турбины, и по меньшей мере один канал 54, выполненный в нем (фиксаторе). Канал(ы) 54 текучей среды далее отводят текучую среду к каналу (патрубку) в корпусе двигателя, как это показано на фиг.1
Фиксатор 38, использованный в клапане 10 регулирования тяги со снижением коэффициента усиления, показан на фиг.5. Фиксатор 38 имеет группу регулировочных отверстий 40, выполненных механической обработкой в его боковой стенке 42. В фиксаторе 38 выполнено по крайней мере одно регулировочное отверстие 40. Вообще же в фиксаторе 38 может быть выполнена группа регулировочных отверстий 40, число которых равно числу регуляторов потока 30 в корпусе 12. Каждое регулировочное отверстие 40 сопрягается с соответствующей частью 36 фиксированного байпаса турбины. Фиксатор 38 может быть закреплен в открытом торце (проходе) 52 корпуса 12 с использованием соответствующих средств, известных в данной области техники. Например, фиксатор 38 может быть скреплен с корпусом 12 с помощью стационарного байонетного соединения, в котором фиксатор подпружинивают и поворачивают в определенное положение в корпусе 12. Различные фиксаторы 38, имеющие отверстия 40 различного размера, могут быть использованы для различных типов ракетных двигателей, как калиброванные фиксаторы.
При работе узел 14 поршня-цилиндра пневматически приводится в действие и движется между начальным положением, при котором он перекрывает каждую из частей регулятора потока – прямоугольную часть 32 и Т-образную и щелевидную часть 34, полностью и/или частично. Узел поршня-цилиндра может затем быть перемещен в осевом направлении с открытием полностью или частично Т-образной и щелевидной части 34 и прямоугольной части 32, в зависимости от положения узла 14 поршня-цилиндра. Количество текучей среды, проходящей через регулятор потока 30, зависит от положения узла 14 поршня-цилиндра в корпусе 12.
Когда клапан 10 открыт он пропускает байпасный поток текучей среды (мощность) помимо турбины (не показана), с которой он соединен. При полностью закрытом клапане 10 развивается максимальная тяга. При 100% мощности положение узла 14 поршня-цилиндра изменяется в пределах вертикальной прямоугольной части регулятора потока 30. Прямоугольная часть 32 регулятора потока 30 открывается только в стартовом режиме, чтобы обеспечить значительно большее регулирующее воздействие для осуществления управления в этом очень быстротечном переходном (неустановившемся) режиме. Часть 36 фиксированного байпаса турбины дозирующего элемента 30 всегда открыта и служит для компенсации изменений от двигателя к двигателю.
Как можно видеть из предшествующего описания, клапан регулирования тяги в соответствии с настоящим изобретением отличается тем, что содержит несколько регуляторов потока, что приводит к существенному улучшению рабочих характеристик и регулирования основных ракетных двигателей с расширительным циклом. Конструкция каждого регулятора потока обеспечивает стабильное управление при всех сочетаниях рабочих режимов, точное регулирование фиксированного (постоянного) расхода потока через байпас турбины и приемлемое регулирование в стартовом переходном режиме при всех рабочих условиях. Регуляторы потока в соответствии с настоящим изобретением устраняют колебания регулирующих воздействий, уменьшают уровни 1Е вибраций и снижают внутренний износ турбоагрегатов, что приводит к улучшению регулирования в расширительном цикле и повышению качества и технологичности двигателя.
Хотя предпочтительно, чтобы было выполнено три регулятора потока 30 в корпусе 12, можно при желании ввести меньше, чем три или больше, чем три регулятора потока 30.
Очевидно, что в соответствии с настоящим изобретением предложен клапан регулирования тяги со снижением коэффициента усиления, который полностью соответствует целям, средствам и преимуществам, приведенным выше. Хотя настоящее изобретение описано с связи с определенным вариантом его выполнения, для специалиста в данной области после ознакомления с приведенным выше описанием станут очевидными другие альтернативные варианты, модификации и вариации этого устройства. Соответственно, предполагается охватить все эти альтернативные варианты, модификации и вариации рамками прилагаемой формулы изобретения.
Формула изобретения
1. Клапан регулирования тяги для ракетного двигателя, содержащий корпус с впускным каналом текучей среды, в котором выполнен, по меньшей мере, один регулятор потока, и узел “поршень-цилиндр” для регулирования выпуска текучей среды из указанного клапана, отличающийся тем, что регулятор потока содержит средство обеспечения стабильности регулирования, средство регулирования тяги в переходной стартовой фазе работы двигателя и средство сопряжения с фиксатором, включающее часть фиксированного байпаса турбины, которая размещена постоянно открытой с возможностью компенсации изменений.
2. Клапан по п.1, отличающийся тем, что указанный, по крайней мере, один регулятор потока выполнен в указанном корпусе посредством механической обработки.
3. Клапан по п.1, отличающийся тем, что в указанном корпусе выполнена группа регуляторов потока посредством механической обработки.
4. Клапан по п.1, отличающийся тем, что средство обеспечения стабильности регулирования содержит прямоугольную часть.
5. Клапан по п.1, отличающийся тем, что средство регулирования тяги в переходной стартовой фазе работы двигателя содержит Т-образную и щелевидную часть.
6. Клапан по п.1, отличающийся тем, что указанный корпус имеет проход, а указанный фиксатор имеет, по крайней мере, один канал текучей среды и установлен внутри этого прохода.
7. Клапан по п.1, отличающийся тем, что указанный узел поршня-цилиндра содержит поршень и цилиндр, установленные с возможностью осевого перемещения относительно указанного корпуса.
8. Клапан по п.1, отличающийся тем, что указанный узел поршня-цилиндра установлен с возможностью закрытия-открытия указанных средства обеспечения стабильности регулирования и средства регулирования тяги в переходной стартовой фазе работы двигателя.
9. Регулятор потока клапана регулирования тяги двигателя, отличающийся тем, что он содержит средство обеспечения стабильности регулирования и диапазона стабильной работы указанного двигателя, выполненное в виде прямоугольной части регулятора, средство регулирования тяги в переходной стартовой фазе работы двигателя, выполненное в виде Т-образной и щелевидной части, и средство сопряжения с фиксатором и обеспечения воспроизводимого регулирования постоянного расхода байпасного потока текучей среды, выполненное в виде части фиксированного байпаса турбины для сопряжения с фиксатором и выполненным в нем, по меньшей мере, одним каналом текучей среды.
РИСУНКИ
|
|