|
|
(21), (22) Заявка: 2003102603/06, 30.01.2003
(24) Дата начала отсчета срока действия патента:
30.01.2003
(30) Конвенционный приоритет:
31.01.2002 FR 02 01122
(43) Дата публикации заявки: 10.11.2004
(46) Опубликовано: 27.06.2007
(56) Список документов, цитированных в отчете о поиске:
GB 878195 A, 27.09.1961. US 3612400 A, 12.10.1971. RU 2162956 C2, 10.02.2001. US 5813609 A, 29.09.1998. US 6284323 B1, 04.09.2001. SU 261823 A, 30.01.1983.
Адрес для переписки:
103735, Москва, ул.Ильинка, 5/2, ооо “Союзпатент”, пат.пов. О.Ф.Ивановой
|
(72) Автор(ы):
Де ВЕРДУЗАН Леопольд Жан-Мари (FR), ФЛОРЕАНИ Морис (FR), РОШ Жак Андре Мишель (FR)
(73) Патентообладатель(и):
СНЕКМА МОТЁР (FR)
|
(54) СИСТЕМА ОХЛАЖДЕНИЯ ДЛЯ СТРУЙНОГО СОПЛА С ДОЖИГАНИЕМ ГАЗОТУРБИННОГО ДВИГАТЕЛЯ
(57) Реферат:
Изобретение относится к области тепловой защиты струйных сопел с дожиганием в авиационных газотурбинных двигателях. Струйное сопло содержит первичный газовый канал, по которому проходит первичный поток газа, вторичный канал для воздуха, по которому проходит вторичный поток воздуха, регуляторы тяги и систему охлаждения. Вторичный канал для воздуха окружает указанный первичный газовый канал и отделен от него защитным тепловым кожухом. Вторичный канал для воздуха включает концевой участок, расположенный ниже по потоку воздуха. Регуляторы тяги окружают выходную секцию первичного газового канала. Система охлаждения содержит защитную тепловую оболочку во вторичном канале для воздуха в концевом участке, расположенном ниже по потоку, указанного канала. На защитной тепловой оболочке установлена кольцевая диафрагма, выходящая наружу перед регуляторами тяги, в которой сформированы установочные сектора и зоны между секторами, содержащие прорези. Зоны между секторами формируют промежутки между кольцевой диафрагмой и защитным тепловым кожухом. Изобретение позволяет устранить перегрев вторичного потока воздуха в области концевого участка вторичного канала, предотвращая тем самым деформацию деталей, установленных в этой области, и сокращение их срока эксплуатации. 3 з.п. ф-лы, 3 ил.
Область техники
Настоящее изобретение относится к области тепловой защиты струйных сопел с дожиганием в авиационных газотурбинных двигателях, таких как турбореактивные двигатели.
Известный уровень техники
Струйные сопла с дожиганием газотурбинных двигателей до настоящего времени разрабатывались с использованием различных конструктивных решений в соответствии с известным уровнем техники. Известны обычные струйные сопла, расположенные на выходе двигателя с дожиганием. Обычно их оборудуют защитным тепловым кожухом, окружающим газовый канал, что позволяет сформировать поток горячих газов, в котором находятся сгорающие газы, и канал для воздуха, по которому проходит вторичный поток воздуха, содержащий относительно холодный воздух. Естественно, что указанный защитный тепловой кожух должен быть выполнен с возможностью противостоять существенным тепловым нагрузкам, поскольку указанный кожух находится в непосредственной близости к сгорающим газам, имеющим очень высокую температуру.
Как показано на фиг.1, на которой представлен вид в поперечном разрезе части струйного сопла в соответствии с известным уровнем техники, указанное струйное сопло имеет первичный газовый канал 20, окруженный вторичным каналом 21 для воздуха. Указанные два канала окружены защитным тепловым кожухом 22 с множеством перфораций, который обеспечивает возможность прохода воздуха, охлаждающего его, из вторичного канала 21 для воздуха по направлению к первичному газовому каналу 20.
Указанные струйные сопла также содержат уплотнительную деталь 23, которая предотвращает проход свежего воздуха, содержащегося во вторичном потоке 21 для воздуха, в направлении регуляторов 24 тяги струйного сопла. Указанные регуляторы 24 тяги струйного сопла непосредственно соединены с элементами 25 управления, по меньшей мере, часть которых расположена вокруг вторичного канала 21 для воздуха, на уровне его концевого участка 22а, расположенного ниже по потоку воздуха, защитного теплового кожуха 22.
Однако было определено, что при использовании струйного сопла известного уровня техники при работе на полной тяге (в военно-воздушных силах), другими словами, когда регуляторы 24 тяги струйного сопла находятся в закрытом положении, происходит существенное повышение температуры вторичного потока воздуха на уровне концевого участка 22а, расположенного ниже по потоку воздуха, защитного теплового кожуха 22.
Фактически горячие газы из канала 20 проходят во вторичный поток воздуха канала 21 так, что это не обеспечивает охлаждения относительно холодным газом, находящимся в этом потоке, для поддержания достаточно низкой температуры с тем, чтобы не создавался местный перегрев, который может повредить элементы 25 управления регуляторов 24 тяги. На фиг.1 стрелками обозначено движение горячих газов, которые сохраняют направление движения вниз по потоку и циркулируют в направлении вторичного потока воздуха через защитный кожух 22 с множеством перфораций. Последствия такого местного перегрева во вторичном потоке воздуха приводят к тому, что из-за повышения температуры происходит сокращение рабочего срока службы деталей струйного сопла, в частности титанового кожуха, а также элементов управления регуляторов тяги, расположенных на концевом участке 22а ниже по потоку воздуха соответствующего теплового кожуха 22.
Указанный перегрев, непосредственно связанный с большим углом отклонения регуляторов 24 тяги, создает деформации деталей, расположенных вокруг вторичного канала 21 потока воздуха, а также деталей, составляющих элементы 25 управления регуляторов 24 тяги.
Краткое описание изобретения
Настоящее изобретение, таким образом, направлено на устранение, по меньшей мере, частично, различных недостатков, описанных выше, с помощью предложенной системы охлаждения для струйного сопла с дожиганием газотурбинного двигателя, в которой ограничивается эффект перегрева вторичного потока воздуха, в частности, когда газотурбинный двигатель работает в режиме полной тяги.
Для достижения этого настоящее изобретение направлено на систему охлаждения для струйного сопла с дожиганием, причем указанное струйное сопло содержит первичный газовый канал, по которому проходит первичный поток газа, вторичный канал для воздуха, по которому проходит вторичный поток воздуха, причем указанный вторичный канал для воздуха окружает первичный газовый канал и отделен от него защитным тепловым кожухом, указанный вторичный канал для воздуха имеет концевой участок, расположенный ниже по потоку воздуха, регуляторы тяги, окружающие выходную секцию первичного газового канала, систему охлаждения, содержащую защитную тепловую оболочку во вторичном канале для воздуха, в зоне концевого участка, расположенного ниже по потоку воздуха указанного канала. В соответствии с настоящим изобретением защитная тепловая оболочка содержит кольцевую диафрагму, проходящую наружу перед регуляторами тяги и включающую установочные секторы и зоны между секторами, сформированные с прорезями, причем в указанных зонах между секторами сформированы промежутки между диафрагмой и защитным тепловым кожухом.
Основное преимущество настоящего изобретения состоит в том, что оно позволяет устранить проблемы перегрева вторичного потока воздуха на уровне концевого участка, расположенного ниже по потоку воздуха, вторичного канала для воздуха, предотвращая, таким образом, деформацию деталей, установленных в этой области. Кроме устранения вероятности деформации, система охлаждения в соответствии с настоящим изобретением, благодаря использованию вспомогательной тепловой защиты во вторичном канале для воздуха, также позволяет понизить скорость сокращения срока службы деталей, расположенных в этой критической области.
Кроме того, настоящее изобретение предпочтительно содержит средство, которое позволяет обдувать регуляторы тяги струйного сопла с помощью вторичного потока воздуха, направленного на указанные регуляторы тяги. Раньше канал для воздуха уплотняли с помощью герметизирующей детали, которая полностью предотвращала обдув указанных регуляторов тяги. Замена ее такой диафрагмой позволяет, таким образом, подавать воздух из вторичного потока воздуха так, что он проходит в направлении регуляторов тяги струйного сопла, и это происходит при любой температуре деталей, образующих струйное сопло. Обдув регуляторов тяги, осуществляемый таким образом, позволяет предотвратить повреждение указанных регуляторов тяги из-за слишком высокой температуры, воздействующей на них, а также повысить срок службы всех указанных деталей.
Предпочтительно диафрагма закреплена на защитной тепловой оболочке и позволяет защитному тепловому кожуху смещаться по отношению к установочным секторам.
Указанные установочные сектора удерживают кожух и позволяют точно центрировать указанный защитный тепловой кожух.
В соответствии с предпочтительным вариантом воплощения настоящего изобретения защитная тепловая оболочка содержит держатели крепления, установленные на корпусе, окружающем наружную поверхность вторичного канала для воздуха.
Другие характеристики и преимущества настоящего изобретения будут очевидны из подробного неограничивающего описания, приведенного ниже.
Краткое описание чертежей
Приведенное ниже описание следует читать со ссылками на прилагаемые чертежи, на которых:
фиг.1 представляет устройство в соответствии с известным уровнем техники, уже описанное выше,
фиг.2 представляет частичный вид в разрезе струйного сопла, оборудованного системой охлаждения в соответствии с предпочтительным вариантом воплощения настоящего изобретения,
фиг.3 представляет частичный вид в перспективе защитного теплового кожуха и диафрагмы системы охлаждения, представленной на фиг.2.
Подробное описание предпочтительного варианта воплощения
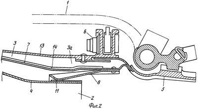
На фиг.2 показана часть струйного сопла 1 с дожиганием, оборудованного системой охлаждения в соответствии с настоящим изобретением. Указанное струйное сопло содержит первичный газовый канал 2, по которому проходит поток горячих газов, указанные горячие газы далее используются для дожигания. Вокруг указанного первичного газового канала 2 можно видеть вторичный канал 3 для воздуха, окруженный титановым корпусом 13, по которому проходит поток относительно холодного воздуха. Следует отметить, что вторичный канал 3 для воздуха имеет, по существу, кольцевую форму.
Указанные два канала 2, 3 разделены посредством защитного теплового кожуха 4 с множеством перфораций, который расположен таким образом, что позволяет газам проходить из одного канала в другой. Кроме того, струйное сопло 1 содержит регуляторы 5 тяги и элементы 6 управления указанными регуляторами 5 тяги. Указанные регуляторы 5 тяги расположены таким образом, что они окружают выходную секцию первичного газового канала 2, в то время как элементы 6 управления регуляторов 5 тяги расположены, по меньшей мере, частично, вокруг вторичного канала 3 для воздуха. Система охлаждения для струйного сопла 1 содержит защитную тепловую оболочку 7, расположенную во вторичном канале 3 для воздуха, на уровне концевого участка За, расположенного ниже по потоку воздуха указанного канала. Фактически, на уровне указанного концевого участка 3а, расположенного ниже по потоку вторичного канала 3 для воздуха, наиболее важной является проблема перегрева и поэтому для ее решения требуется добавить элемент защиты от нагрева, возникающего под действием горячих газов. Основным назначением указанной защитной тепловой оболочки 7 является защита элементов струйного сопла, расположенных на уровне указанного концевого участка 3а, расположенного ниже по потоку воздуха, в частности элементов 6 управления регуляторов 5 тяги и деталей, формирующих вторичный канал 3 для воздуха.
Как показано на фиг.2 и 3, на указанной защитной тепловой оболочке 7 установлена кольцевая диафрагма 8, на которой она закреплена, например, с использованием заклепок. Указанная кольцевая диафрагма 8 сформирована таким образом, чтобы установочные сектора 11 были расположены в контакте с защитным тепловым кожухом 4, указанные установочные сектора 11 расположены через равномерные промежутки, образуя, по существу, коническую форму. Кроме того, диафрагма 8 содержит зоны 9 внутреннего сектора, каждая из которых расположена непосредственно между двумя установочными секторами 11, выступающие по направлению к наружной поверхности диафрагмы 8, причем указанная диафрагма предпочтительно сформирована способом штампования.
Указанная диафрагма 8 проходит перед регуляторами 5 тяги, содержит прорези 15, сформированные в зонах 9 между установочными секторами 11, и в каждом из установочных секторов 11 сформированы отверстия 10. Следует отметить, что прорези 15 обеспечивают диафрагме 8 гибкость, позволяя ей легко воспринимать деформации кожуха 4, которые возникают под действием теплового расширения.
Указанная диафрагма 8 жестко закреплена на защитной тепловой оболочке 7, в то время как контакт между указанной диафрагмой 8 и защитным тепловым кожухом 4 обеспечивается с помощью установочных секторов 11. Фактически, указанные установочные сектора, выступающие за пределы диафрагмы 8, находятся в контакте с защитным кожухом 4, обеспечивая, таким образом, точную центровку указанного кожуха, который скользит по указанным установочным секторам 11, а также поддерживая, по существу, постоянную скорость потока обдува.
Очевидно, что отверстия 10, сформированные на установочных секторах 11 диафрагмы 8, могут быть выполнены различным образом.
Кроме того, зоны 9 между двумя установочными секторами 11 формируют промежуток 16 между кольцевой диафрагмой 8 и защитным тепловым кожухом 4. Как показано на фиг.3, каждый промежуток 16 также окружен двумя последовательными установочными секторами 11. Таким образом, воздух из вторичного канала 3 для воздуха может проходить через промежуток 16 через диафрагму 8 и поступать к регуляторам 5 тяги, обеспечивая, таким образом, обдув указанных регуляторов тяги.
Установочные секторы 11 содержат трапецеидальный участок, предназначенный для обеспечения контакта по меньшему основанию трапеции с защитным тепловым кожухом 4, а также отверстия 10, предназначенные для отвода газов, с одной стороны, из вторичного канала 3 для воздуха, и с другой стороны, в направлении регуляторов 5 тяги. Таким образом, компоновка такого типа промежутков 16 и отверстий 10 в указанной диафрагме 8 позволяет обеспечить относительно постоянный поток обдува, направленный на регуляторы 5 тяги, несмотря на существенные деформации кожуха 4 из-за теплового расширения. Например, смещения кожуха 4 могут составлять 14 мм по оси и 4 мм по радиусу.
На фиг.2 показаны регуляторы 5 тяги в открытом положении, что соответствует активному положению системы дожигания. Можно видеть, что вторичный воздух проходит вдоль всей длины регуляторов 5 тяги без существенного отклонения, что обеспечивает более эффективный обдув, чем в закрытом положении регуляторов тяги, которое соответствует полной тяге.
Как показано на фиг.2 и 3, защитная тепловая оболочка 7 содержит держатели крепления (не показаны), расположенные по наружной кромке указанной оболочки, и подшипник на корпусе 13. Указанные держатели позволяют зафиксировать защитную тепловую оболочку 7 на внутренней поверхности корпуса 13.
Кроме того, защитная тепловая оболочка 7 может содержать дополнительные элементы защиты. Фактически, теплоизолирующий материал 14 может быть расположен вокруг защитной тепловой оболочки 7, дополнительно усиливая действие указанной оболочки в отношении защищаемых элементов.
Очевидно, что специалистами в данной области техники могут быть выполнены различные модификации в системе охлаждения, которая была описана выше исключительно для примера и без каких-либо ограничений.
Формула изобретения
1. Система охлаждения для струйного сопла (1) с дожиганием, причем указанное струйное сопло (1) содержит первичный газовый канал (2), по которому проходит первичный поток газа, вторичный канал (3) для воздуха, по которому проходит вторичный поток воздуха, причем указанный вторичный канал (3) для воздуха окружает указанный первичный газовый канал (2) и отделен от него защитным тепловым кожухом (4), указанный вторичный канал (3) для воздуха включает концевой участок (3а), расположенный ниже по потоку воздуха, регуляторы (5) тяги, окружающие выходную секцию первичного газового канала (2), систему охлаждения, содержащую защитную тепловую оболочку (7) во вторичном канале (3) для воздуха в концевом участке (3а), расположенном ниже по потоку, указанного канала, отличающаяся тем, что на защитной тепловой оболочке (7) установлена кольцевая диафрагма (8), выходящая наружу перед регуляторами (5) тяги, и в которой сформированы установочные сектора (11) и зоны (9) между секторами, в которых выполнены прорези (15), указанные зоны (9) между секторами формируют промежутки (16) между кольцевой диафрагмой (8) и защитным тепловым кожухом.
2. Система охлаждения по п.1, отличающаяся тем, что диафрагма (8) закреплена на защитной тепловой оболочке (7) и обеспечивает возможность защитному тепловому кожуху (4) смещаться относительно установочных секторов (11).
3. Система охлаждения по п.1 или 2, отличающаяся тем, что защитная тепловая оболочка (7) содержит держатели крепления, установленные на корпусе (13), окружающем наружную сторону канала (3) для воздуха.
4. Система охлаждения по любому из пп.1-3, отличающаяся тем, что вокруг защитной тепловой оболочки (7) расположен теплоизолирующий материал (14).
РИСУНКИ
|
|