|
|
(21), (22) Заявка: 2005139622/06, 19.12.2005
(24) Дата начала отсчета срока действия патента:
19.12.2005
(46) Опубликовано: 27.06.2007
(56) Список документов, цитированных в отчете о поиске:
RU 2258823 C1, 20.08.2005. RU 2201523 C2, 27.03.2003. SU 1242633 A1, 07.07.1986. SU 1321893 A1, 07.07.1987. DE 19631655 A1, 12.02.1998. GB 2165586 A, 16.04.1986. US 4492191 А, 08.01.1985.
Адрес для переписки:
450001, г.Уфа, ул. 50 лет Октября, 34, Башкирский Государственный аграрный университет
|
(72) Автор(ы):
Баширов Радик Минниханович (RU), Галиуллин Рустам Рифович (RU), Гайсин Эльмир Маликович (RU)
(73) Патентообладатель(и):
Башкирский Государственный аграрный университет (БГАУ) (RU)
|
(54) ТОПЛИВНАЯ СИСТЕМА РАСПРЕДЕЛИТЕЛЬНОГО ТИПА ДЛЯ АВТОТРАКТОРНЫХ ДИЗЕЛЕЙ С РЕГУЛИРОВАНИЕМ РЕЖИМОВ РАБОТЫ ОТКЛЮЧЕНИЕМ ПОДАЧ ТОПЛИВА
(57) Реферат:
Изобретение относится к двигателестроению, в частности к системам автоматического управления двигателей внутреннего сгорания. Изобретение позволяет повысить надежность управления системы. Топливная система с электронно-управляемым кольцевым нагнетательным клапаном для автотракторных двигателей с регулированием режимов работы отключением подач топлива содержит форсунку, топливный насос высокого давления с электронно-управляемым разрезным кольцевым клапаном и с встроенным в него электромагнитом, управляемым контроллер-регулятором в соответствии с сигналами, поступающими от датчиков положения педали управления подачей топлива, частоты вращения двигателя, объема поступающего в цилиндры воздуха и положения поршня. Клапан расположен между надплунжерным пространством и линией низкого давления и управляет их соединением и разъединением. Перепускной канал клапана расположен напротив выреза кольца, т.е. в зоне перемещения кольца с минимальным скольжением. Концы кольца не закреплены и само кольцо от проворачивания удерживается шпонкой, установленной между вырезами кольца. 1 ил.
Изобретение относится к дизелестроению, в частности к системам автоматического регулирования двигателей внутреннего сгорания путем пропуска подач топлива.
Известна топливная система с электронно-управляемым кольцевым нагнетательным клапаном для автотракторных двигателей с регулированием режимов работы отключением подач топлива, содержащая форсунку, топливный насос высокого давления с электронно-управляемым разрезным кольцевым клапаном и с встроенным в него электромагнитом, управляемым контроллер-регулятором в соответствии с сигналами, поступающими от датчиков положения педали управления подачей топлива, частоты вращения двигателя, объема поступающего в цилиндры воздуха и положения поршня [1].
Недостатком известной системы является то, что открытие и закрытие отверстия перепускного канала осуществляются подвижной кромкой кольца, прижатой к гнезду за счет своей упругости и давления топлива в линии высокого давления. Из-за действующих при этом больших давлений на кольцо требуются большие усилия для перемещения кольца, т.е. возникает необходимость применения электромагнита относительно большой мощности, и к тому же по мере эксплуатации кромка кольца и зона гнезда, в которой расположен перепускной канал, изнашиваются и в результате возрастают утечки топлива из линии высокого давления в процессе подачи топлива, ухудшающие характеристики топливоподачи, и в итоге не достигается требуемая высокая надежность работы топливной системы.
Изобретение позволяет повысить надежность электронно-управляемой системы топливоподачи с кольцевым клапаном.
Достигается это тем, что клапан расположен между надплунжерным пространством и линией низкого давления и управляет их соединением и разъединением, и его перепускной канал расположен напротив выреза кольца, т.е. в зоне перемещения кольца с минимальным скольжением, а свободные концы кольца не закреплены и само кольцо от проворачивания удерживается шпонкой, установленной между вырезами кольца.
На чертеже показана схема предлагаемой топливной системы распределительного типа для автотракторных дизелей с регулированием режимов работы отключением подач топлива.
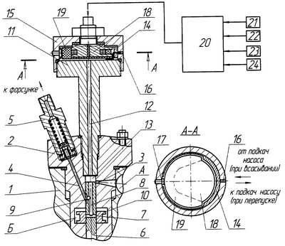
Топливная система состоит из нагнетательной секции насоса, установленной в корпус 1, включающей втулку 2, снабженную впускным каналом 3, сообщающимся с полостью А и нагнетательным 4 каналом; штуцер 5 (на схеме условно изображен только один штуцер); плунжер 6, имеющий радиальный 7 и осевой 8 каналы, соединенные с распределительным пазом 9; дозатор 10; штуцер 11, осевой канал 12 которого соединен с надплунжерным пространством 13; перепускной кольцевой клапан 14 с гнездом 15 с перепускным каналом 16; шпонку 17; электромагнит 18, покрытый диэлектрическим материалом 19; электронный контроллер-регулятор 20 и датчики положения педали управления подачей топлива 21, частоты вращения двигателя 22, объема поступающего в цилиндры воздуха 23 и положения поршня 24.
Работает система следующим образом.
При всасывающем ходе плунжера 6 топливо из впускной полости А поступает через впускной канал 3 в надплунжерное пространство 13 и заполняет его. Одновременно в это пространство может попадать и топливо, проходящее через перепускной канал 16 в случае, когда оно своим давлением отрывает разрезное кольцо 14 от гнезда (в зоне перепускного канала 16).
В случае, когда пропуск подачи не производится, до начала нагнетательного хода плунжера 6 электромагнит обесточивается и кольцо 14 за счет своей упругости садится на гнездо 15 и закрывает перепускной канал 16. Топливо, нагнетаемое плунжером, своим давлением дополнительно прижимает кольцо к гнезду и затем проходит к форсунке через распределительный паз 9 плунжера 6, нагнетательный канал 4 втулки 2 и штуцер 5 и впрыскивается в цилиндр двигателя. Впрыск прекращается резко в момент, когда радиальный канал 7 плунжера 6 выходит из кромки дозатора 10 и сообщается с полостью Б.
К следующему циклу подачи плунжера его распределительный паз 9 соединяет (благодаря вращательному движению плунжера) надплунжерное пространство 13 со следующей форсункой, и весь процесс повторяется.
При работе насоса дозатор 10, обеспечивающий резкое прекращение впрыска, находится в крайнем нижнем (в соответствии с чертежом) положении. При этом необходимая для пуска двигателя увеличенная (пусковая) подача топлива обеспечивается путем перемещения дозатора 10 (например, электромагнитом) в крайнее верхнее положение.
Для пропуска подачи топлива до начала нагнетательного хода плунжера подается ток на обмотку электромагнита 18. При этом уплотняющая часть кольца 14 притягивается к электромагниту 18 и топливо, подаваемое плунжером через канал 16, перепускается в линию низкого давления. При притягивании кольца свободные концы упираются об шпонку 17, оставляя зазор между рабочей поверхностью электромагнита 18 и внутренней поверхностью кольца 16, предотвращая, таким образом, магнитное залипание.
Подачей тока в электромагнит управляет электронный контроллер-регулятор 20, реализующий в соответствии с получаемыми от датчиков положения педали управления подачей топлива 21, частоты вращения двигателя 22, объема поступающего в цилиндры воздуха 23, положения поршня 24 и др. необходимые пропуски подачи импульсов к обмотке электромагнита 18.
Как видно, открытие и закрытие перепускного канала 16 разрезным кольцом 14 производятся при отсутствии давления топлива (подачи плунжера) на кольцо 14, а уплотняющий участок кольца работает без скольжения. Благодаря всему этому снижаются потребляемый электромагнитом ток, износ кольца и его гнезда в зоне окна перепускного канала и продлевается ресурс клапанного узла и, следовательно, обеспечивается высокая надежность работы в целом всей системы топливоподачи.
Источники информации
1. Патент РФ № 2258823, МКИ F02D 17/02, опубл. 20.08.2005 г.
Формула изобретения
Топливная система с электронно-управляемым кольцевым нагнетательным клапаном для автотракторных двигателей с регулированием режимов работы отключением подач топлива, содержащая форсунку, топливный насос высокого давления с электронно-управляемым разрезным кольцевым клапаном и с встроенным в него электромагнитом, управляемым контроллером-регулятором в соответствии с сигналами, поступающими от датчиков положения педали управления подачей топлива, частоты вращения двигателя, объема поступающего в цилиндры воздуха и положения поршня, отличающаяся тем, что клапан расположен между надплунжерным пространством и линией низкого давления и управляет их соединением и разъединением и его перепускной канал расположен напротив выреза кольца, т.е. в зоне перемещения кольца с минимальным скольжением, концы кольца не закреплены и само кольцо от проворачивания удерживается шпонкой, установленной между вырезами кольца.
РИСУНКИ
MM4A – Досрочное прекращение действия патента СССР или патента Российской Федерации на изобретение из-за неуплаты в установленный срок пошлины за поддержание патента в силе
Дата прекращения действия патента: 20.12.2007
Извещение опубликовано: 27.07.2009 БИ: 21/2009
|
|