|
|
(21), (22) Заявка: 2006100153/06, 10.01.2006
(24) Дата начала отсчета срока действия патента:
10.01.2006
(46) Опубликовано: 27.06.2007
(56) Список документов, цитированных в отчете о поиске:
RU 2159340 C1, 20.11.2000. JP 2005076456 A, 24.03.2005. SU 323983 A, 08.07.1977. US 4807439 A, 28.02.1989. JP 7238870 A, 12.09.1995. SU 1321860 A1, 07.07.1986. GB 1429493 A, 24.03.1976.
Адрес для переписки:
454080, г.Челябинск, пр. им. В.И. Ленина, 76, профессору кафедры ДВС Е.А.Лазареву
|
(72) Автор(ы):
Лазарев Евгений Анатольевич (RU), Малоземов Андрей Адиевич (RU), Бондарь Владимир Николаевич (RU), Казанцев Михаил Анатольевич (RU), Лазарев Владислав Евгеньевич (RU)
(73) Патентообладатель(и):
Общество с ограниченной ответственностью “Федеральный учебный межвузовский научный производственный центр” (RU)
|
(54) СПОСОБ И УСТРОЙСТВО УПРАВЛЕНИЯ ГАЗООБМЕНОМ В ДИЗЕЛЕ С ГАЗОТУРБИННЫМ НАДДУВОМ
(57) Реферат:
Изобретение относится к области двигателестроения, в частности дизелям с газотурбинным наддувом. Изобретение позволяет обеспечить совмещение функций эжекционного охлаждения наддувочного воздуха и байпасного регулирования турбины турбокомпрессора. Способ управления газообменом в дизеле с газотурбинным наддувом включает байпасное регулирование турбины турбокомпрессора, охлаждение наддувочного воздуха, рециркуляцию в цилиндр и эжектирование отработавших газов. Из полного потока отработавших газов на выходе из выпускного коллектора выделяют меньшую часть и направляют, минуя турбину, на режимах холостого хода и малых нагрузок в цилиндры для рециркуляции, на режимах средних и номинальных нагрузок – в атмосферу, а на режимах перегрузок, объединяя с большей частью, – в турбину. На режимах средних и номинальных нагрузок меньшую часть потока направляют в эжектор. На режимах перегрузок в эжектор направляют полный поток отработавших газов после турбины турбокомпрессора. Устройство управления газообменом в дизеле с газотурбинным наддувом содержит золотниковый механизм с цилиндрическим корпусом, в котором выполнены три канала, два из которых расположены противоположно третьему, а ось последнего находится между осями первых двух каналов, и регулирующий орган с двумя поршнями, соединенными штоком. В корпусе выполнены дополнительно два канала, один из которых расположен в торце корпуса и его ось совпадает с осью корпуса, а другой канал расположен на образующей корпуса и его ось перпендикулярна оси корпуса. 2 н. и 3 з.п. ф-лы, 4 ил.
Изобретение относится к области двигателестроения и предназначено для использования в дизеле с газотурбинным наддувом, содержащем охлаждение наддувочного воздуха, байпасное регулирование турбины, рециркуляцию в цилиндр и эжектирование отработавших газов.
Известен способ работы дизеля с газотурбинным наддувом и автономным использованием байпасного регулирования турбины турбокомпрессора и рециркуляции части потока отработавших газов в цилиндр (Dieselradialkolben-Verteilerinspritzpumpen VR. Technische Unterrichtung. 2. Ausgabe. U.Reuter, F.Eichhom, J.Mossinger und anderen. Stuttgart: Robert Bosch GmbH. – 1998. – 25 s.). При этом использованы автономные устройства, каждое из которых решает одну из задач: осуществление рециркуляции отработавших газов или байпасного регулирования турбины. Использование двух автономных устройств существенно усложняет систему их привода. При этом требуется иметь раздельный привод к каждому устройству.
Известен способ работы дизеля без наддува путем использования эжектирования отработавших газов для циркуляции окружающего воздуха через радиатор системы жидкостного охлаждения (Трактор ДЭТ-250 и его модификации. Под ред. А.С.Писаревского. Изд.2-е, перераб. и доп. – М.: Машиностроение. – 1975.- 424 с.). Известно также устройство для осуществления данного способа работы, содержащее эжектор, смесительную камеру и систему газо- и воздухопроводов. Основным недостатком такого способа и устройства его реализации является использование полного потока отработавших газов для осуществления процесса эжектирования, в том числе и на режимах холостого хода, малых и средних нагрузок. Указанное затрудняет обеспечение оптимального теплообмена и теплового состояния деталей дизеля на частичных режимах работы.
Наиболее близким к заявляемому способу работы дизеля является способ работы устройства с совмещением функций байпасного регулирования турбины и рециркуляции отработавших газов (Устройство для байпасного регулирования турбины и рециркуляции отработавших газов в дизеле с турбонаддувом. Патент РФ № 2159340 С1, 7 F02В 37/12, 37/18. Петухов Е.В., Лазарев Е.А., Лаврик А.Н., Павлов А.Н., Мицын Г.П., Редько И.Я. Опубл. 20.11.2000, Бюл. № 32). Упрощение системы привода устройства достигается использованием единого регулирующего органа, управляемого по заданной программе и осуществляющего рециркуляцию отработавших газов и байпасное регулирование турбины в определенной последовательности.
При этом на режимах холостого хода и малых нагрузок в цилиндр рециркулирует часть отработавших газов, направляемая помимо турбины в процессе байпасного регулирования. С увеличением нагрузки дизеля, когда рециркуляция отработавших газов в цилиндр становится экономически нецелесообразной, эта часть потока отработавших газов выбрасывается в атмосферу. Последнее является существенным недостатком рассматриваемого способа и устройства для его осуществления. Энергия части потока отработавших газов, выбрасываемой в атмосферу, еще достаточна высока, но в этом случае полезно не используется при работе дизеля на режимах средних и номинальных нагрузок. Недостатком рассмотренного устройства является также пониженная работоспособность возвратной пружины, расположенной в горячей зоне золотникового механизма со стороны подвода отработавших газов.
В основу предлагаемого изобретения положена техническая задача последовательного совмещения функций байпасного регулирования турбины турбокомпрессора и эжекционного охлаждения наддувочного воздуха за счет использования энергии потока отработавших газов, истекающего из байпасного патрубка при прекращении рециркуляции отработавших газов в цилиндр дизеля.
Указанная задача решается тем, что в способе управления газообменом в дизеле с газотурбинным наддувом, включающем байпасное регулирование турбины турбокомпрессора, охлаждение наддувочного воздуха, рециркуляцию в цилиндр и эжектирование отработавших газов, при котором из полного потока отработавших газов на выходе из выпускного коллектора выделяют меньшую часть и направляют, минуя турбину, на режимах холостого хода и малых нагрузок в цилиндры для рециркуляции, на режимах средних и номинальных нагрузок – в атмосферу, а на режимах перегрузок, объединяя с большей частью, – в турбину, согласно изобретению, на режимах средних и номинальных нагрузок меньшую часть потока направляют в эжектор, а на режимах перегрузок в эжектор направляют полный поток отработавших газов после турбины турбокомпрессора.
Другим отличием является, то что при значении отношения давления воздуха после компрессора к давлению отработавших газов перед турбиной меньше единицы осуществляют рециркуляцию меньшей части потока, а при значении этого отношения равным и больше единицы осуществляют эжектирование окружающего воздуха через охладитель.
Предлагаемый способ позволяет использовать энергию части потока отработавших газов для осуществления циркуляции окружающего воздуха через промежуточный охладитель наддувочного воздуха совмещением функций байпасного регулирования турбины турбокомпрессора и эжекционного охлаждения при прекращении рециркуляции отработавших газов в цилиндр. При последующем прекращении байпасного регулирования турбины данный способ управления позволяет использовать энергию полного потока отработавших газов после турбины для осуществления циркуляции окружающего воздуха через промежуточный охладитель наддувочного воздуха в процессе его эжекционного охлаждения.
Для осуществления способа предлагается устройство управления газообменом в дизеле с газотурбинным наддувом, содержащее золотниковый механизм с цилиндрическим корпусом, в котором выполнены три канала, два из которых расположены противоположно третьему, а ось последнего находится между осями первых двух каналов, и регулирующий орган с двумя поршнями, соединенными штоком. Согласно изобретению, в корпусе выполнены дополнительно два канала, один из которых расположен в торце корпуса и его ось совпадает с осью корпуса, а другой канал расположен на образующей корпуса и его ось перпендикулярна оси корпуса.
Кроме того, в устройстве управления газообменом торец корпуса золотникового механизма соединен с торцем расположенного также в корпусе золотникового механизма корпуса управляющего цилиндра, в котором размещена рабочая полость, соединенная с впускным коллектором. Регулирующий орган устройства снабжен дополнительным штоком с торцевым упором и возвратной пружиной, которая одним концом оперта в торцевой упор штока, а другим – в ограничительную перегородку.
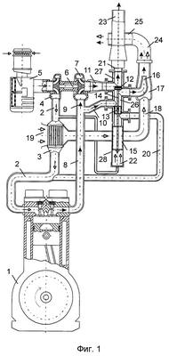
Сущность изобретения поясняется чертежами, где на фиг.1 дана общая схема системы газообмена дизеля; на фиг.2 изображено устройство управления газообменом в положении рециркуляции отработавших газов в цилиндр дизеля; на фиг.3 – то же, в положении байпасного перепуска и эжектирования меньшей части потока отработавших газов; на фиг.4 – то же, в положении эжектирования полного потока отработавших газов.
Устройство управления встроено в систему газообмена (Фиг.1). Дизель 1 соединен впускным коллектором 2 через промежуточный охладитель 3 наддувочного воздуха с компрессором 4 турбокомпресора. Перед входным устройством компрессора 4 установлен двухкаскадный воздухоочиститель 5, через который окружающий воздух поступает в компрессор. Компрессор 4 соединен общим валом 6 с турбиной 7 турбокомпрессора. Выпускной коллектор 8, соединяющий турбину турбокомпрессора с дизелем 1, перед входом в турбину 7 разделен на два патрубка. Патрубок 9 соединяет выпускной коллектор 8 с корпусом турбины 7. Патрубок 10 соединяет выпускной коллектор 8 с устройством управления газообменом, которое направляет движение газовых потоков, истекающих из патрубка 10 и патрубка 11 турбины. Устройство управления газообменом содержит золотник с двумя поршнями 12 и 13, соединенными штоком 14. Золотник от перемещения в корпусе удерживается пружиной 15. Корпус золотникового механизма имеет пять фланцев для соединения с подводящими трубопроводами и отводящими патрубками. На фланце одного из отводящих патрубков установлено сопло 16, образующее вместе со смесительной камерой 17 и воздуховодом 18 воздушный эжектор, в котором рабочим телом является поток отработавших газов, а окружающей средой – атмосферный воздух. Воздуховод 18, соединяющий смесительную камеру 17 эжектора с матрицей промежуточного охладителя 3 наддувочного воздуха, на входе в последнюю имеет входное устройство 19. Фланец другого отводящего патрубка соединен с рециркуляционным каналом 20.
Последовательность соединения подводящих патрубков 10 и 11 с отводящими патрубками такова, что сначала подводящий патрубок 10 сообщается с рециркуляционным каналом 20, при этом подводящий патрубок 11 сообщается с отводящим патрубком сопла 16 эжектора и отводящим патрубком 21. Затем подводящий патрубок 10 сообщается с отводящим патрубком сопла 16 эжектора, а подводящий патрубок 11 – с отводящим патрубком 21. Наконец далее осуществляется перекрытие подводящего патрубка 10 и отводящего патрубка 21. При этом подводящий патрубок 11 сообщается с отводящим патрубком сопла 16 эжектора.
Сущность способа управления газообменом в дизеле заключается в следующем. После запуска дизеля на режимах холостого хода и малых нагрузок воздушный поток из атмосферы поступает в двухкаскадный воздухоочиститель 5, где очищается от загрязнений, а затем под действием разряжения, создаваемого вращающимся рабочим колесом, поступает во входное устройство компрессора 4. В компрессоре воздушный поток сжимается, при этом его давление и температура возрастают, и направляется в промежуточный охладитель 3 наддувочного воздуха, где происходит теплообмен между наддувочным воздухом и окружающим воздухом, циркулирующим через охладитель, поступая в его входное устройство 19. Циркуляция окружающего воздуха осуществляется за счет эжекционного эффекта, создаваемого истечением части отработавших газов через сопло 16 эжектора. После охлаждения в промежуточном охладителе 3 воздушный поток направляется во впускной коллектор 2 и далее в цилиндры дизеля. При этом поток отработавших газов, вышедший из цилиндров дизеля, поступает в выпускной коллектор 8 и разделяется, осуществляя байпасное регулирование турбины, на две неравные части, большая из которых поступает в канал 9 и далее в корпус турбины 7 турбокомпрессора, а меньшая – в подводящий патрубок 10 устройства, регулирующего направление движения частей потока отработавших газов. В связи с малым давлением наддувочного воздуха на режимах холостого хода и малых нагрузок шток 14 с поршнями 12 и 13 находится в нижнем положении, при котором меньшая часть потока отработавших газов поступает в отводящий патрубок, соединенный с рециркуляционным каналом 20, и далее через впускной коллектор 2 эта часть потока отработавших газов поступает в цилиндры дизеля, осуществляя, таким образом, процесс рециркуляции рабочего тела.
С ростом нагрузки (режимы средних и номинальных нагрузок) дизеля давление наддувочного воздуха во впускном коллекторе возрастает. Растет давление в полости 22 управляющего цилиндра, соединенной с впускным коллектором. Под действием этого давления шток 14 с поршнями 12 и 13 перемещается вверх, перекрывая рециркуляционный канал 20 и соединяя подводящий патрубок 10 с отводящим патрубком сопла 16 эжектора. Подводящий патрубок 11 устройства при этом соединяется с отводящим патрубком 21 и большая часть потока отработавших газов после турбины направляется в выпускное устройство 23, а циркуляция окружающего воздуха, согласно изобретению, осуществляется за счет эжекционного эффекта, создаваемого истечением части потока отработавших газов из подводящего патрубка 10, осуществляя одновременно и байпасное регулирование турбины, через сопло 16, смесительную камеру 17 эжектора, канал 24 в выпускное устройство 25.
Изменение направления движения меньшей части потока отработавших газов, согласно изобретению, осуществляется в зависимости от отношения давления воздуха после компрессора к давлению отработавших газов перед турбиной. При значении этого отношения меньше единицы осуществляется рециркуляция меньшей части потока, а при значении этого отношения равным и больше единицы – эжектирование окружающего воздуха через охладитель.
При дальнейшем увеличении нагрузки (режим перегрузок) дизеля увеличение давления наддувочного воздуха перемещает шток 14 с поршнями 12 и 13 таким образом, что поршень 13 перекрывает подводящий патрубок 10, прекращая, таким образом, процесс байпасного регулирования турбины, а поршень 12 перекрывает отводящий патрубок 21, направляя таким образом, согласно изобретению, полный поток отработавших газов после турбины через отводящий патрубок сопла 16, смесительную камеру 17 эжектора, канал 24 в выпускное устройство 25. При этом интенсифицируется охлаждение наддувочного воздуха за счет увеличения расхода окружающего воздуха через промежуточный охладитель.
Реализация рассматриваемого способа работы дизеля с газотурбинным наддувом обеспечивается устройством 26 управления газообменом золотникового типа, которое направляет движение газовых потоков.
Сущность конструкции этого устройства поясняется чертежами на фиг.2, 3, 4. Устройство управления газообменом состоит из двух основных элементов: золотникового механизма 27 и, согласно изобретению, управляющего цилиндра 28.
Корпус 29 золотникового механизма 27 содержит три канала 30, 31 и 32, два из которых 31 и 32 расположены противоположно третьему байпасному каналу 30, а ось последнего находится между осями первых двух каналов 31 и 32 и регулирующим органом с двумя поршнями 12 и 13, соединенными штоком 14, согласно изобретению, снабжен еще двумя каналами 33 и 34. Ось канала 34, расположенного в торце корпуса, совпадает с его осью, а ось канала 33, расположенного на образующей корпуса 29, перпендикулярна оси корпуса.
Для подвода наддувочного воздуха в управляющий цилиндр 28 в крышке 36 установлен штуцер 35. Управляющий цилиндр 28 содержит дополнительный шток 37 с торцевым упором 38 и возвратную пружину 15. Под действием давления наддувочного воздуха с одной стороны и возвратной пружины 15 с другой в цилиндре перемещается дополнительный шток 37 с торцевым упором 38, соединенный с поршнем 13, основным штоком 14 и поршнем 12. Противоположный конец возвратной пружины 15 упирается в ограничительную перегородку 39, служащую одновременно днищем управляющего цилиндра 28. Размещение возвратной пружины 15 в относительно холодной рабочей полости 40 управляющего цилиндра 28 обусловлено стремлением повысить ее работоспособность.
Устройство работает следующим образом. Перед пуском дизеля и при работе его на режимах холостого хода и малых нагрузок регулирующий орган, включающий поршни 12 и 13, соединенные штоком 14, дополнительный шток 37 с торцевым упором 38, удерживается в положении I (Фиг.2) под действием усилия, создаваемого возвратной пружиной 15, поскольку в полости 40 управляющего цилиндра 28 давление наддувочного воздуха невелико. В этом положении байпасный канал 30 сообщается с каналом 32 и меньшая часть отработавших газов, ограниченная проходным сечением и перепадом давления между впускным и выпускным коллекторами, рециркулирует в цилиндры дизеля. Отношение давления наддувочного воздуха к давлению отработавших газов при этом меньше единицы. При этом канал 33 сообщается с каналами 34 и 31, что дает возможность большей части отработавших газов направляться через канал 34 в выпускное устройство 25, а через канал 31 – в сопло 16 эжектора на эжектирование окружающего воздуха через промежуточный охладитель 3 наддувочного воздуха.
При увеличении нагрузки дизеля (режимы средних и номинальных нагрузок) растет температура газов перед турбиной и мощность турбины, что приводит к повышению частоты вращения ротора турбокомпрессора и давления наддувочного воздуха, создаваемого компрессором. Повышение давления наддувочного воздуха в полости 40 управляющего цилиндра 28 заставляет перемещаться регулирующий орган, преодолевая сопротивление пружины 15. Отношение давления наддувочного воздуха к давлению отработавших газов становится равным, а затем и превышает единицу. При этом поршень 13 начнет перекрывать канал 32, а поршень 12 открывать канал 31. По завершении этого процесса регулирующий орган перейдет в положение II (Фиг.3), при котором байпасный канал 30 сообщается с каналом 31, а канал 33 – с каналом 34. Сообщение каналов 30 и 31 позволяет меньшей части отработавших газов направляться в сопло 16 эжектора на эжектирование окружающего воздуха через промежуточный охладитель 3 наддувочного воздуха, а сообщение каналов 33 и 34 дает возможность большей части отработавших газов направляться в выпускное устройство 25.
При дальнейшем увеличении нагрузки (режим перегрузки) дизеля продолжает расти мощность турбины и, соответственно, давление наддувочного воздуха, создаваемого компрессором. Продолжает повышаться давление наддувочного воздуха в полости 40 управляющего цилиндра 28, что заставляет регулирующий орган, преодолевая сопротивление пружины 15, перемещаться далее. Отношение давления наддувочного воздуха к давлению отработавших газов существенно превышает единицу. При этом поршень 13 начнет перекрывать байпасный канал 30, поршень 12 – перекрывать канал 34, а канал 33 – сообщаться с каналом 31. По завершении этого процесса регулирующий орган перейдет в положение III (Фиг.4). Таким образом, прекращается процесс байпасного регулирования и полный поток отработавших газов направляется на турбину турбокомпрессора, существенно повышая при этом мощность турбины. После турбины полный поток отработавших газов через каналы 33 и 31 направляется в сопло 16 эжектора на эжектирование окружающего воздуха через промежуточный охладитель 3 наддувочного воздуха.
Формула изобретения
1. Способ управления газообменом в дизеле с газотурбинным наддувом, включающий байпасное регулирование турбины турбокомпрессора, охлаждение наддувочного воздуха, рециркуляцию в цилиндр и эжектирование отработавших газов, при котором из полного потока отработавших газов на выходе из выпускного коллектора выделяют меньшую часть и направляют, минуя турбину, на режимах холостого хода и малых нагрузок в цилиндры для рециркуляции, на режимах средних и номинальных нагрузок – в атмосферу, а на режимах перегрузок, объединяя с большей частью, – в турбину, отличающийся тем, что на режимах средних и номинальных нагрузок меньшую часть потока направляют в эжектор, а на режимах перегрузок в эжектор направляют полный поток отработавших газов после турбины турбокомпрессора.
2. Способ по п.1, отличающийся тем, что при значении отношения давления воздуха после компрессора к давлению отработавших газов перед турбиной меньше единицы осуществляют рециркуляцию меньшей части потока, а при значении этого отношения равным и больше единицы осуществляют эжектирование окружающего воздуха через охладитель.
3. Устройство управления газообменом в дизеле с газотурбинным наддувом, содержащее золотниковый механизм с цилиндрическим корпусом, в котором выполнены три канала, два из которых расположены противоположно третьему, а ось последнего находится между осями первых двух каналов, и регулирующий орган с двумя поршнями, соединенными штоком, отличающееся тем, что в корпусе выполнены дополнительно два канала, один из которых расположен в торце корпуса и его ось совпадает с осью корпуса, а другой канал расположен на образующей корпуса и его ось перпендикулярна оси корпуса.
4. Устройство по п.3, отличающееся тем, что торец корпуса золотникового механизма соединен с торцом расположенного также в корпусе золотникового механизма корпуса управляющего цилиндра, в котором размещена рабочая полость, соединенная с впускным коллектором.
5. Устройство по п.3, отличающееся тем, что регулирующий орган снабжен дополнительным штоком с торцевым упором и возвратной пружиной, которая одним концом уперта в торцевой упор штока, а другим – в ограничительную перегородку.
РИСУНКИ
MM4A – Досрочное прекращение действия патента СССР или патента Российской Федерации на изобретение из-за неуплаты в установленный срок пошлины за поддержание патента в силе
Дата прекращения действия патента: 11.01.2008
Извещение опубликовано: 27.07.2009 БИ: 21/2009
|
|