|
|
(21), (22) Заявка: 2005115790/06, 24.05.2005
(24) Дата начала отсчета срока действия патента:
24.05.2005
(43) Дата публикации заявки: 27.11.2006
(46) Опубликовано: 27.06.2007
(56) Список документов, цитированных в отчете о поиске:
ОЛЬХОВСКИЙ Г.Г и др., ЭЛЕКТРИЧЕСКИЕ СТАНЦИИ, 2000, №1. DE 19506757 A1, 28.08.1996. RU 2116559 C1, 27.07.1998. RU 2251003 C1, 24.04.2005. SU 578482 A, 30.10.1977. DE 292950 B5, 14.08.1991.
Адрес для переписки:
420066, г.Казань, ул. Красносельская, 51, Казанский государственный энергетический университет (ОПНТИ)
|
(72) Автор(ы):
Таймаров Михаил Александрович (RU), Таймаров Валерий Михайлович (RU)
(73) Патентообладатель(и):
Казанский государственный энергетический университет (RU)
|
(54) ГАЗОТУРБИННЫЙ АГРЕГАТ
(57) Реферат:
Изобретение относится к области теплоэнергетических агрегатов. Газотурбинный агрегат включает соединенные между собой камеру сгорания, газовую турбину, паровой котел, паровую турбину с водяном конденсатором и насосом, аккумулирующую конденсатную емкость и узел водоподпитки, состоящий из соединенных между собой испарителя и резервуара подпиточной воды, при этом камера сгорания соединена с компрессором для подачи сжатого атмосферного воздуха и с источником подачи топлива, газовая турбина – с электрогенератором, с паровым котлом и через смонтированные на трубопроводах регуляторы с испарителем узла водоподпитки, который также соединен с паровым котлом. Технический результат направлен на повышение коэффициента использования топлива, суммарной электрической составляющей газотурбинной установки и тепловой составляющей в пределах использования физической теплоты продуктов сгорания за счет их охлаждения и конденсации в испарителе и последующего применения конденсата как рабочего тела в самом котле для обеспечения функционирования заявляемого газотурбинного агрегата. 2 з.п. ф-лы, 2 ил.
Изобретение относится к области теплоэнергетических агрегатов для получения электрической и тепловой энергии путем сжигания топлива.
Наиболее перспективными к настоящему времени являются газотурбинные агрегаты. Известен газотурбинный агрегат (Соколов Е.Я. Промышленные тепловые электростанции. М.: Энергия, 1979), включающий последовательно соединенные между собой камеру сгорания, газовую турбину, при этом камера сгорания соединена с компрессором для подачи сжатого атмосферного воздуха и с источником подачи топлива, а газовая турбина – с электрогенератором.
Работа такого агрегата осуществляется следующим образом.
В камеру сгорания одновременно подают топливо и сжатый компрессором атмосферный воздух. Происходит сгорание смеси и продукты сгорания поступают в газовую турбину, где они, расширяясь, приводят во вращение вал турбины, и механическая энергия преобразуется в электрическую в электрогенераторе, а продукты сгорания выбрасываются в атмосферу. При газотурбинных технологиях применяют большие коэффициенты избытка воздуха =2…6.
После расширения в турбине продукты сгорания с остаточной температурой 500…630°С выбрасывают в атмосферу. При этом потери тепловой энергии составляют 63,8% от первичной теплоты сгорания топлива, что является существенным недостатком данного газотурбинного агрегата.
В вышеназванном газотурбинном агрегате составляющая полезно использованной теплоты Qтеп. равна 0 и коэффициент использования топлива оценивается значением электрической составляющей Qэл. С учетом потерь в окружающую среду непосредственно в самой конструкции газотурбинного агрегата коэффициент использования топлива Кт составляет 34,2%.
В этом агрегате продукты сгорания из газовой турбины 2 подают в теплообменник 3, образовавшийся пар, полученный из воды, поступающей из трубопровода 10 питательной воды, направляют в паровую турбину 4, в которой получают механическую энергию и затем преобразуют ее в электрогенераторе 9 в электрическую энергию. Отработанный в турбине 4 пар конденсируют в конденсаторе 5 путем охлаждения конденсатора водой и насосом 6 направляют конденсат в трубопровод 10, соединенный с теплообменником 3.
Недостатками прототипа является то, что при снижении на 30% потребности в электроэнергии отключают теплообменник, паровую турбину и электрогенератор, а продукты сгорания полностью выбрасывают в атмосферу. При этом коэффициент использования топлива составляет 34,2%. Альтернативой функционирования прототипа при снижении на 30% потребности в электроэнергии является применение известных газотурбинных агрегатов, описанных выше со всеми их недостатками. Кроме того, в агрегате имеются дополнительные потери qт.a.д., обусловленные затратами теплоты на приготовление подпиточной воды для восполнения потерь пара в турбине и в конденсаторе и для восполнения потерь воды в насосе и питательном трубопроводе.
Заявляемым изобретением решается задача повышения коэффициента использования топлива газотурбинного агрегата суммарно как для электрической составляющей, так и для тепловой составляющей в пределах использования физической теплоты продуктов сгорания за счет их охлаждения и конденсации.
Технический результат в заявляемом газотурбинном агрегате, включающем соединенные между собой камеру сгорания, газовую турбину, теплообменник, выполненный в виде парового котла, паровую турбину с водяном конденсатором и насосом, при этом камера сгорания соединена с компрессором для подачи сжатого атмосферного воздуха и с источником подачи топлива, газовая турбина – с электрогенератором и с паровым котлом, который подключен к паровой турбине, соединенной с трубопроводом питательной воды, достигается тем, что он дополнительно снабжен аккумулирующей конденсатной емкостью и узлом водоподпитки, состоящим из соединенных между собой испарителя и резервуара подпиточной воды, который соединен с трубопроводом питательной воды и с аккумулирующей конденсатной емкостью, а испаритель через смонтированные на трубопроводах регуляторы, – с теплообменником и газовой турбиной, причем испаритель выполнен многосекционным, а регуляторы соединены электрической функциональной связью с датчиком уровня нагрузки на электрогенератор паровой турбины.
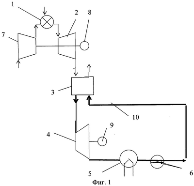
На фиг.2 приведена принципиальная схема предлагаемого газотурбинного агрегата.
Газотурбинный агрегат включает камеру сгорания 1, газовую турбину 2, паровой котел 3, паровую турбину 4 с водяном конденсатором 5, насосом 6, узел водоподпитки, состоящий из многосекционного испарителя 7 и резервуара подпиточной воды 8, аккумулирующую конденсатную емкость 9, при этом камера сгорания 1 соединена трубопроводами с компрессором 10 для подачи сжатого атмосферного воздуха и с источником подачи топлива (на фиг.2 не показан), газовая турбина – с электрогенератором 11, с паровым котлом 3 и через регулятор 12 первичной подачи продуктов сгорания – с испарителем 7 узла водоподпитки, резервуар 8 которого соединен с трубопроводом 13 питательной воды и с аккумулирующей конденсатной емкостью 9. Кроме того, паровой котел соединен с паровой турбиной 4, соединенной с электрогенератором 14 и с трубопроводом 13 питательной воды, подключенным к паровому котлу 3, и через трубопровод регулятора вторичной подачи 15 продуктов сгорания с многосекционным испарителем 7. Регуляторы первичной подачи 12 и вторичной подачи 15 продуктов сгорания в испаритель 7 соединены электрической функциональной связью с датчиком (на фиг.2 датчик не показан) уровня нагрузки на электрогенератор 14.
Газотурбинный агрегат работает следующим образом.
В камеру сгорания 1 одновременно подают топливо и сжатый компрессором 10 атмосферный воздух. Происходит сгорание смеси и продукты сгорания поступают в газовую турбину 2, где они, расширяясь, приводят во вращение вал турбины, и механическая энергия преобразуется в электрическую в электрогенераторе 11, а часть продуктов сгорания от 5 до 10% (по массе) через регулятор первичной подачи 12 подают непосредственно в испаритель 7, где их теплоту используют для дистилляции минерализованной неочищенной воды, поступающей в испаритель. Оставшуюся часть газообразных продуктов горения с выхода газовой турбины 2 подают в паровой котел 3 и после него охлажденные продукты горения направляют в секцию испарителя 7 (на фиг.2 испаритель показан в виде одной ступени). В испарителе 7 осуществляют конденсацию водяного пара из первично и вторично поступивших в испаритель продуктов горения. Конденсат собирают в резервуаре подпиточной воды 8 и затем направляют в трубопровод 13 питательной воды для подпитки парового котла 3. При понижении электрической нагрузки на газотурбинный агрегат, в первую очередь, уменьшается количество подаваемого топлива и воздуха в камеру сгорания, и вследствие этого уменьшается количество продуктов сгорания, поступающее на газовую турбину. При значительном снижении электрической нагрузки и поступлении сигнала с электрогенератора 14 открывается регулятор 15 вторичной подачи и избыток продуктов сгорания помимо котла 3 сразу поступает в секцию многосекционного испарителя 7, где конденсируется водяной пар и этот конденсат собирается в аккумулирующей конденсатной емкости 9. При отключении котла 3 из-за отсутствия электрической нагрузки на электрогенератор 14 поступает сигнал на регуляторы 12, 15, весь объем продуктов сгорания после газовой турбины направляется в испаритель 7. Этот конденсат собирают в аккумулирующей конденсатной емкости 9, из которой используют его на нужды котлотурбинного отделения при пиковых нагрузках и промышленно-хозяйственные нужды. Обеспечение работы многосекционного испарителя 7 при отключении котла 3 производят путем переключения регулирующих устройств испарителя, например соответствующим переключением секций испарителя с последовательного питания испарителя неочищенной минерализованной водой на параллельное.
Ниже проведены расчеты экономической эффективности заявляемого газотурбинного агрегата по отношению к 1 м3 газообразного топлива, сжигаемого в камере сгорания.
Расчеты проведены по книге: Кузнецов Н.В. Тепловой расчет котельных агрегатов (нормативный метод). М.: Энергия, 1973. – 296 с.
Экономический эффект в заявляемом газотурбинном агрегате, по сравнению с прототипом получают:
1. За счет более высокой степени утилизации теплоты уходящих после газовой турбины продуктов сгорания, так как охлаждение в заявляемом газотурбинном агрегате происходит до состояния конденсации водяного пара при температуре 90°С.
С учетом отвода теплоты к конденсату для заявляемого газотурбинного агрегата при температуре 90°С на 1 м сжигаемого топлива энтальпия (I90 выбр.г.) продуктов сгорания равна 317,7 ккал/ м3.
Энтальпия (I150 выбр.г.) продуктов сгорания для прототипа при 150°С на 1 м3 сжигаемого топлива равна 534,75 ккал/м3.
Повышение коэффициента ( Kт 90) использования 1 м3 газообразного топлива при переходе от охлаждения продуктов сгорания со 150°С в прототипе к охлаждению до 90°С в заявляемом агрегате:
Кт 90=100(I150 выбр.г-I90 выбр.г)/Qн р=100(534,75-317,7)/8550=2,5%, где
Qн р – низшая теплота сгорания топлива.
2. За счет прямой передачи теплоты продуктов сгорания нагреваемой минерализованной воде в испарителе без дополнительной поверхности нагрева в котле. Энтальпия (I565 г)продуктов сгорания при поступлении в котел при 565°С равна 2048 ккал/м3. Энтальпия (I90 выбр. г) при температуре 90°С равна 317,7 ккал/ м3. Дополнительные потери (qт.а.д) на одной поверхности нагрева в котле из-за ее термического сопротивления – 0,02.
Повышение коэффициента ( Кт. а.д) использования 1 м3 газообразного топлива при переходе от двух поверхностей охлаждения продуктов сгорания в прототипе к охлаждению на одной поверхности в заявляемом агрегате:
Кт. а.д=100×qт.а.д(I565 г-I90 выбр.г)/Qн р=100×0,02(2048-317,7)/8550=0,4%.
3. За счет использования конденсата водяного пара из продуктов сгорания для подпитки котла;
Кподп.конд.=100×rдист× в.п× в.п/Qн р=100×119,6×0,71×0,021/8550=2,1%, где
rдист. – удельный расход тепловой энергии на получение дистиллята в испарителе, равный 119,6 ккал/кг;
в.п и в.п – плотность и удельная доля водяного пара в продуктах сгорания.
4. За счет аккумуляции как физической теплоты, так и в виде подготовленного дистиллята в аккумулирующих емкостях в летний период:
Kаккум.=100×mдист.(rдист+Iист.) в.п в.п/Qн р=100×0,3(119,6+90)0,71×2,1/8550=1,1%, где mдист. – доля используемой теплоты продуктов сгорания в заявляемом агрегате при отключении паротурбинного блока и отопительной нагрузки летом равна 0,3. В прототипе и в аналогах mдист. равна 0;
Iдист. – энтальпия дистиллята, ккал/кг.
Суммарно увеличение коэффициента ( Кт) использования топлива в заявляемом газотурбинном агрегате по сравнению с прототипом, составляет:
Kт= Kт 90+ Kт. а.д+ Kподп.конд+ Kаккум=2,5+0,4+2,1+1,1=6,1%.
Таким образом в заявляемом газотурбинном агрегате достигаемое значение коэффициента (Kт) использования топлива составляет 91,4%.
Формула изобретения
1. Газотурбинный агрегат, включающий соединенные между собой камеру сгорания, газовую турбину, теплообменник, паровую турбину с водяным конденсатором и насосом, при этом камера сгорания соединена с компрессором для подачи атмосферного воздуха и с источником подачи топлива, газовая турбина – с электрогенератором и с теплообменником, который подключен к паровой турбине, соединенной с трубопроводом питательной воды, отличающийся тем, что он дополнительно снабжен аккумулирующей конденсатной емкостью и узлом водоподпитки, состоящим из соединенных между собой испарителя и резервуара подпиточной воды, который соединен с трубопроводом питательной воды и аккумулирующей конденсатной емкостью, а испаритель через смонтированные на трубопроводах регуляторы – с теплообменником и газовой турбиной, причем регуляторы соединены электрической функциональной связью с датчиком уровня нагрузки на электрогенератор паровой турбины.
2. Газотурбинный агрегат по п.1, отличающийся тем, что теплообменник выполнен в виде парового котла.
3. Газотурбинный агрегат по п.1, отличающийся тем, что испаритель выполнен многосекционным.
РИСУНКИ
|
|