|
|
(21), (22) Заявка: 2005137627/03, 02.12.2005
(24) Дата начала отсчета срока действия патента:
02.12.2005
(46) Опубликовано: 27.06.2007
(56) Список документов, цитированных в отчете о поиске:
RU 2231648 C1, 27.06.2004. SU 1677337 A1, 15.09.1991. SU 1789030 A1, 15.01.1993. SU 1802157 A1, 15.03.1993. RU 2001284 C1, 15.10.1993. RU 2129211 C1, 20.04.1999. US 5273344 A, 28.12.1993. DE 3821679 A1, 11.01.1990. DE 4440038 A1, 18.05.1995.
Адрес для переписки:
630900, г.Новосибирск-Пашино НСО, ул. Чекалина, 8А, ФГУП НМЗ “ИСКРА”
|
(72) Автор(ы):
Андреев Владимир Васильевич (RU), Зыков Виктор Аркадьевич (RU), Иванов Андрей Сергеевич (RU), Климов Валерий Ильич (RU), Неклюдов Александр Гаврилович (RU), Поздняков Сергей Александрович (RU), Поникарев Игорь Дмитриевич (RU), Садовников Александр Сергеевич (RU), Филонова Нина Михайловна (RU)
(73) Патентообладатель(и):
Федеральное государственное унитарное предприятие Новосибирский механический завод “ИСКРА” (RU)
|
(54) УСТРОЙСТВО ИНЕРТИЗАЦИИ ПРИЗАБОЙНОГО ПРОСТРАНСТВА
(57) Реферат:
Изобретение относится к области ведения буровзрывных работ в шахтах, опасных по взрыву метано-воздушных смесей (МВС) или угольной пыли (УП). Устройство инертизации призабойного пространства содержит контейнер с инертизирующим средством, заряд, распыляющий инертизирующее средство. Заряд, распыляющий инертизирующее средство, со всех сторон окружен инертизирующим средством. В контейнере с инертизирующим веществом выполнен узел соединения с замком для жесткой фиксации электродетонатора с зарядом. Применение такого устройства наряду с равномерным заполнением инертизуемого пространства инертизирующим средством исключает воспламенение газопылевой смеси продуктами детонации метательного заряда, а снаряжение устройства предохранительным электродетонатором непосредственно перед началом взрывных работ делает его существенно более безопасным при хранении и транспортировке. 2 ил.
Изобретение относится к области ведения буровзрывных работ в шахтах, опасных по взрыву метано-воздушных смесей (МВС) или угольной пыли (УП).
Известны устройства для подавления горения и взрыва метано-воздушных смесей в призабойном пространстве: а.с. СССР №1802157, патенты Германии №4440038, №3906792, №3908650, №3640958, №3821679, а.с. СССР №1677337, патент США №5273344 и др., патент России №2231648, применение которых исключает инициирование взрыва МВС и УП.
Наиболее близким аналогом заявляемого изобретения является устройство по патенту РФ №2231648. Это устройство инертизации призабойного пространства содержит петлю детонирующего шнура, обеспечивающего инициирование детонационного процесса в ударно-волновых трубках (УВТ) системы неэлектрического взрывания, применяемой для возбуждения детонации шпуровых зарядов, и контейнер с инертизующим веществом, распыляемым в момент инициирования УВТ. Однако конструкция этого устройства не исключает возможность инициирования одновременно с УВТ и газопылевых смесей, заполняющих полости заряда между трубками УВТ, потоком продуктов детонации метательного заряда, кроме того, электродетонатор жестко фиксируется с метательным зарядом, что повышает класс опасности устройства по обращению с ним, хранению и транспортировке до уровня по классификации ООН 1.1.В.
Задача, решаемая изобретением, – создание такой конструкции устройства, условия хранения и транспортировки которой соответствовали классу опасности 1.4.S, а продукты детонации метательного заряда, инициирующие УВТ, не воспламеняли газопылевые смеси.
Это достигается тем, что в устройстве, включающем контейнер с инертизирующим средством, распылительным зарядом, последний со всех сторон окружается инертизирующим средством, а в корпусе устройства, изготовленного из пластмассы, предусмотрено гнездо с фиксатором для размещения в нем предохранительного электродетонатора.
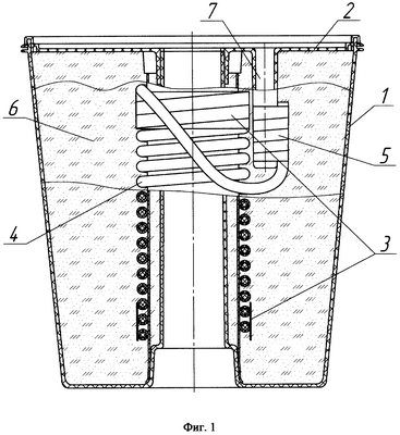
Описание устройства поясняется фиг.1, где 1 – пластмассовый контейнер устройства, 2 – герметизирующая крышка устройства, 3 – фиксатор распылительного заряда, 4 – распылительный заряд, 5 – соединительный узел (электродетонатора с распылительным зарядом), 6 – инертизирующее средство, 7 – гнездо с замком для предохранительного электродетонатора.
Принцип работы предлагаемой конструкции поясняется фиг.2, где 9 – пучок УВТ, а 8 – предохранительный электродетонатор, который размещается в устройстве на расходном складе непосредственно перед началом взрывных работ, и состоит он в следующем: через узел соединения 5 электродетонатором 8 инициируется метательный заряд 4, продуктами детонации которого производится метание инертизирующего средства 6, которое образует облако, равномерно заполняющее инертизируемое пространство, при этом инициирование волноводов происходит ударной волной, прошедшей слой инертизирующего порошка со стороны внутренней поверхности метательного заряда, при этом газопылевая взвесь, заключенная между трубками 9, сжимается потоком продуктов взрыва, смешанным с инертизирующим средством, исключающим воспламенение газопылевой смеси.
Применение такого устройства наряду с равномерным заполнением инертизируемого пространства инертизирующим средством исключает воспламенение газопылевой смеси продуктами детонации метательного заряда, а снаряжение устройства предохранительным электродетонатором непосредственно перед началом взрывных работ делает его существенно более безопасным при хранении и транспортировке.
Примером реализации такого устройства служит устройство инертизации призабойного пространства (фиг.2), в котором метательный заряд 4 выполнен из нескольких витков детонирующего шнура, охватывающих трубку, внутри которой размещается слой инертизирующего средства, в свою очередь контактирующий с соосной полимерной трубкой, внутри которой размещен пучок ударно-волновых трубок системы неэлектрического взрывания шпуровых зарядов, поверх детонирующего шнура (ДШЭ-12) в полиэтиленовом контейнере размещено инертизирующее средство (огнетушащий порошок П-АГС ТУ 2149-001-0019158-99).
Работает устройство следующим образом: предохранительным электродетонатором (ЭД-КЗ-ПКМ) 8, введенным перед взрыванием и зафиксированным замком в отверстие 7, инициируется через узел соединения 5, детонирующий шнур 4, инициирующий, в свою очередь, пучок волноводов 9, расположенных в полости трубки, и одновременно распыляющий инертизирующее средство. Испытания, проведенные с такой конструкцией устройств в метано-воздушной камере объемом 13 м3, при массе огнетушащего порошка 1 кг и массе метательного заряда 15 г, показали отсутствие воспламенения метана и надежное инициирование до 30 ударно-волновых трубок. Количество инертизирующего средства (М) выбиралось из условий:
M>P·V, где Р – предельная удельная концентрация инертизирующего средства П-АГС=10 г/м3, а V – объем полости устройства, в которое помещены инициируемые УВТ. Отсутствие в устройстве электродетонатора при хранении и транспортировке переводит его по классификации ООН в разряд 1.4.S, допускающий совместное хранение со вторичными взрывчатыми веществами и транспортировку любым видом транспорта.
Источники информации
1. Патент РФ №2231648.
2. Авторские свидетельства СССР №1802157, №1677337.
3. Патенты Германии №4440038, №3906792, №3908650, №3640958, №3821679.
4. Патент США №5273344.
Формула изобретения
Устройство инертизации призабойного пространства, содержащее контейнер с инертизирующим средством, заряд, распыляющий инертизирующее средство, отличающееся тем, что заряд, распыляющий инертизирующее средство, со всех сторон окружен инертизирующим средством, а в контейнере с инертизирующим веществом выполнен узел соединения с замком для жесткой фиксации электродетонатора с зарядом.
РИСУНКИ
|
|